|
|
(21), (22) Заявка: 2007128275/02, 23.07.2007
(24) Дата начала отсчета срока действия патента:
23.07.2007
(46) Опубликовано: 10.05.2009
(56) Список документов, цитированных в отчете о поиске:
RU 2149861 C1, 27.05.2000. RU 2174110 C2, 27.09.2001. US 3165057 A, 02.07.1962.
Адрес для переписки:
607188, Нижегородская обл., г. Саров, пр. Мира, 37, ФГУП “РФЯЦ-ВНИИЭФ”, начальнику ОПИНТИ
|
(72) Автор(ы):
Зотов Евгений Владимирович (RU), Клопов Борис Алексеевич (RU), Петушков Виталий Сергеевич (RU)
(73) Патентообладатель(и):
Российская Федерация, от имени которой выступает государственный заказчик- Федеральное агентство по атомной энергии (RU), Федеральное государственное унитарное преприятие “Российский федеральный ядерный центр-Всероссийский научно-исследовательский институт экспериментальной физики”-ФГУП “РФЯЦ-ВНИИЭФ” (RU)
|
(54) УСТРОЙСТВО ПЕРЕДАЧИ ДЕТОНАЦИОННОГО ИМПУЛЬСА ЗАРЯДУ ВЗРЫВЧАТОГО ВЕЩЕСТВА
(57) Реферат:
Изобретение предназначено для передачи детонационного импульса на определенное расстояние и может быть использовано для подрыва заряда взрывчатого вещества (ВВ). Детонирующий заряд и средство инициирования выполнены на основе двух или более компонентов жидкого ВВ, которые размещены в отдельных емкостях вне корпусов детонирующего заряда и средства инициирования с возможностью перемешивания и заполнения корпусов непосредственно перед подрывом. Корпус детонирующего заряда выполнен неразрушаемым и протяженным. Упрощается конструкция и повышается безопасность детонационного устройства. 1 з.п. ф-лы, 1 ил.
Изобретение относится к взрывным работам и конструкциям взрывных устройств, в частности к устройствам задействования взрывчатых веществ (ВВ).
Известно устройство передачи детонационного импульса заряду ВВ, представляющего собой детонационный шнур (ДШ), который формируют на месте ведения взрывных работ, при этом в качестве его сердцевины используют ВВ жидкого агрегатного состояния, которое формируют на месте проведения взрывных работ путем смешивания компонентов заданного процентного соотношения (Патент RU 2151758, МПК С06С 5/04, опубл. 27.06.2000 г.). Недостатком данного устройства является сложность инициирования, заключающаяся в необходимости применения дополнительного мощного ВВ с дополнительными средствами инициирования.
Известно другое устройство передачи детонационного импульса (Патент RU 2174110, МПК С06В 47/00, опубликован 27.09.2001 г.), представляющее собой детонирующий заряд, выполненный на основе двух компонентов ВВ жидкого агрегатного состояния, и средство инициирования детонирующего заряда. При этом компоненты размещены в разных объемах, разделенных герметичной перегородкой, которая разрушается взрывом металлической проволочки. Средство инициирования размещено в объеме с горючим и выполнено в виде тонкой металлической проволоки или пленки. Недостатками данной конструкции являются сложность изготовления, ненадежное перемешивание компонентов ввиду отсутствия физического процесса, гарантирующего надежное перемешивание компонентов, и ненадежность инициирования из-за использования двух параллельных взрывающихся металлических проволочек.
Наиболее близким устройством к заявляемому по решаемой задачи и наибольшему количеству сходных признаков является устройство передачи детонационного импульса заряду ВВ по патенту RU 2149861 (МПК С06С 5/04, опубл. 27.05.2000 г.). Данное устройство выбрано в качестве прототипа и представляет собой промежуточный детонатор, включающий детонирующий заряд, выполненный на основе двух или более компонентов ВВ жидкого агрегатного состояния (ЖВВ), размещенных вне корпуса детонирующего заряда с возможностью смешивания их при заполнении в заданном соотношении в корпусе на месте подрыва. В качестве ВВ используют окислитель на основе четырехокиси азота и углеводородное горючее. В качестве средства инициирования детонирующего заряда используют погружаемые в ЖВВ инициаторы детонации, содержащие в своем корпусе чувствительные составы. Недостатком прототипа является использование средств инициирования промежуточного детонатора, непосредственно с ним не связанных, что повышает опасность при использовании данного устройства из-за погружения в ЖВВ на месте подрыва. Другим недостатком прототипа являются большие габариты промежуточного заряда, а следовательно и его масса, что требует укрытия персонала во время проведения работ. Следует также отметить, что снаряжение средств инициирования осуществляют в производственных условиях с их последующим хранением и транспортировкой к месту применения, что повышает уровень опасности.
Одной из основных задач при проведении взрывных работ, на решение которой направлено заявляемое изобретение, является передача детонации на расстояние с возможно наименьшим ущербом для лабораторных приборов и оборудования.
Техническим результатом заявляемого устройства является упрощение и повышение безопасности производства и эксплуатации.
Указанный технический результат достигается за счет того, что в устройстве передачи детонационного импульса заряду ВВ, включающем следующие общие с прототипом признаки: детонирующий заряд, выполненный на основе компонентов ВВ жидкого агрегатного состояния, которые размещены вне корпуса детонирующего заряда, с возможностью заполнения корпуса на месте подрыва, и средство инициирования детонирующего заряда, отличительным является то, что детонирующий заряд выполнен протяженным, корпус его выполнен неразрушаемым, внутренним диаметром, не превышающим 10 критических диаметров взрывчатого вещества детонирующего заряда, и герметично соединенным со средством инициирования, в качестве ВВ средства инициирования используют те же компоненты, что и в детонирующем заряде, размещают их вне корпуса средства инициирования вместе с компонентами ВВ детонирующего заряда с возможностью заполнения корпуса средства инициирования на месте подрыва вместе с заполнением корпуса детонирующего заряда. В качестве ВВ детонирующего заряда и средства инициирования может быть использовано ВВ на основе тетранитрометана (ТНМ) с критическим диаметром 50 мкм.
Выполнение детонирующего заряда протяженным позволяет развести в пространстве средство инициирования на расстояние от заряда ВВ, которому передается детонирующий импульс. При этом во время прохождения детонационного импульса по протяженному заряду, который можно выполнить минимальным размером в поперечном сечении, можно практически исключить негативное влияние продуктов взрыва на приборы и оборудование, находящиеся рядом, что исключает принятие дополнительных мер по их защите. Тем самым упрощается эксплуатация устройства передачи детонации и повышается безопасность процесса. К тому же при разнесении в пространстве средства инициирования, являющегося зоной снаряжения, от заряда, принимающего детонирующий импульс, упрощается и повышается безопасность снаряжения, т.к. из-за удаленности упрощаются требования к необходимым мерам безопасности.
Следует также отметить, что размещение детонирующего заряда в неразрушаемом корпусе также позволяет передавать детонирующий импульс заряду ВВ, не повреждая в лабораторных условиях приборы и оборудование, что в отличие от прототипа расширяет функциональные возможности устройства передачи детонации, упрощает ведение взрывных работ и повышает их безопасность. Использование неразрушаемого корпуса повышает безопасность и упрощает его снаряжение.
Выполнение внутреннего диаметра корпуса детонирующего заряда не превышающим 10 критических диаметров взрывчатого вещества детонирующего заряда позволяет расширить и упростить выбор материала для обеспечения неразрушаемости корпуса и уменьшить внешний диаметр, что упрощает эксплуатацию, т.к. расширяет функциональные возможности данного устройства, которое в некоторых случаях требуется изгибать.
Герметичное соединение детонирующего заряда со средством инициирования увеличивает и упрощает безопасность проведения работ и снаряжения, так как средство инициирования и детонирующее устройство составляют единое целое и в отличие от прототипа не требуется погружения капсюля-детонатора в ЖВВ.
Идентичность компонентов ВВ детонирующего заряда и средства инициирования упрощает эксплуатацию, т.к. сведено к минимуму количество компонентов и операций по их использованию, также упрощает технологию сборки устройства и повышает безопасность производства и эксплуатации, так как позволяет применять бескапсюльное инициирование и исключает применение чувствительных ВВ.
Использование в качестве одного из компонентов ВВ – ТНМ дает возможность существенно уменьшить критический диаметр взрывчатого вещества, а это, в свою очередь, позволяет уменьшить габариты инициирующего устройства и диаметр детонирующего заряда. ТНМ также повышает текучесть ЖВВ и образует с широким рядом компонентов ЖВВ гомогенную смесь.
Размещение компонент ЖВВ средства инициирования вне корпуса позволяет размещать их вместе с компонентами ЖВВ детонирующего заряда или смешивать компоненты ЖВВ (при многокомпонентных составах) одновременно для детонирующего устройства и средства инициирования с последующим заполнением их корпусов на месте подрыва, что дает возможность исключить из процесса организации взрывных работ ряд операций, связанных с использованием средств инициирования, снаряженных в заводских условиях, что упрощает производство и эксплуатацию и повышает безопасность. К тому же это позволяет разделить процессы смешивания компонентов ВВ и заполнения ими корпуса детонирующего устройства и средства инициирования, позволяет улучшить качество смеси и увеличить безопасность из-за возможности уменьшения количества ВВ и диаметра детонирующего заряда вплоть до критического, равного 50 мкм.
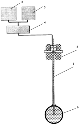
На чертеже схематично представлен один из конкретных примеров заявляемого устройства, где:
1 – детонирующий заряд; 2 – сосуд для хранения одного из компонентов ЖВВ; 3 – сосуд для хранения второго компонента ЖВВ; 4 – сосуд для смешивания компонентов ЖВВ; 5 – средство инициирования; 6 – заряд ВВ, принимающий детонационный импульс.
Примером конкретного выполнения заявляемого устройства служит устройство, применяемое авторами в лабораторных условиях, состоящее из детонирующего протяженного заряда, выполненного на основе двух компонентов жидкого агрегатного состояния: тетронитрометан и нитробензол, размещенных вне корпуса детонирующего заряда в емкостях 2 и 3, которые соединены с полой емкостью 4. Корпус детонирующего заряда представляет собой капилляр 1 из нержавеющей стали 12Х18Н10Т (ГОСТ 14162-79) с внешним диаметром 1 мм и внутренним диаметром 0,4 мм (критический диаметр используемого ЖВВ равен 50 мкм). Капилляр 1 герметично соединен (впрессован) со средством инициирования 5, представляющим собой электроискровой разрядник в виде корпуса из оргстекла с впрессованными в него металлическими (из нержавеющей стали 12Х18Н10Т) шпонками, расстояние между заостренными концами которых составляет 0,2 мм. В качестве ВВ средства инициирования используют ЖВВ на основе тех же компонентов, которые используются в детонирующем заряде, и размещают их в емкостях 2 и 3 с возможностью последующего перемешивания в емкости 4 и заполнения корпуса средства инициирования 5. Заряд ВВ, принимающий детонационный импульс, выполнен из того же ЖВВ, что и детонирующий заряд и средство инициирования, компоненты которого размещаются в емкостях 2 и 3 с возможностью последующего перемешивания в емкости 4 и перемещения в контейнер 6, который герметично соединен с капилляром 1.
Работает устройство следующим образом. Компоненты ЖВВ первоначально заливают в необходимых количествах в емкости 2 и 3, затем переливают в емкость 4 для перемешивания. Применение отдельной емкости для перемешивания позволяет достичь более качественной смеси и увеличить безопасность работ. При этом, применяя одни и те же компоненты ЖВВ для детонирующего заряда, средства инициирования и подрываемого заряда, упрощается технология проведения работ. Из емкости 4 ЖВВ заливается в средство инициирования 5, откуда самотеком заполняет капилляр детонирующего заряда 1 и контейнер принимающего детонационный импульс заряда 6. Для выхода воздуха при заполнении контейнера 6 в нем выполнено отверстие, которое после заполнения герметично закрывается. Подрыв осуществляется подачей электрического импульса амплитудой 40 кВ длительностью 1 мкс на электроискровой разрядник (средство инициирования) 5, откуда детонационный фронт движется по протяженному заряду 1 в капилляре и детонационный импульс на выходе из капилляра передается заряду 6, который можно разместить на достаточно большом расстоянии от средства инициирования. При движении детонационного фронта по капилляру 1 исключается негативное влияние продуктов взрыва на приборы и оборудование, размещенные рядом с ним, ввиду относительно небольшого диаметра капилляра и его неразрушаемости. Т.о. применение заявляемого устройства позволяет повысить безопасность проведения работ и сохранить в целостности лабораторное оборудование без дополнительных средств защиты.
Формула изобретения
1. Устройство передачи детонационного импульса заряду взрывчатого вещества (ВВ), включающее детонирующий заряд, выполненный на основе компонентов ВВ жидкого агрегатного состояния, которое размещено вне корпуса детонирующего заряда с возможностью заполнения корпуса на месте подрыва, и средства инициирования детонирующего заряда, отличающееся тем, что детонирующий заряд выполнен протяженным, с неразрушаемым корпусом, внутренний диаметр которого не превышает 10 критических диаметров ВВ детонирующего заряда, и герметично соединенным со средством инициирования, при этом в качестве ВВ средства инициирования использованы те же компоненты, что и в детонирующем заряде, которые размещены вне корпуса средства инициирования вместе с компонентами ВВ детонирующего заряда с возможностью заполнения корпуса средства инициирования вместе с корпусом детонирующего заряда на месте подрыва.
2. Устройство по п.1, отличающееся тем, что в качестве ВВ детонирующего заряда и средства его инициирования используют ВВ на основе тетранитрометана с критическим диаметром 50 мкм.
РИСУНКИ
|
|