|
|
(21), (22) Заявка: 2007125400/15, 05.07.2007
(24) Дата начала отсчета срока действия патента:
05.07.2007
(46) Опубликовано: 10.05.2009
(56) Список документов, цитированных в отчете о поиске:
ЕВИЛЕВИЧ А.З., ЕВИЛЕВИЧ М.А. Утилизация осадков сточных вод. – Л.: Стройиздат, 1988, с.109-123. RU 2004118645 A, 10.12.2005. RU 2109545 С1, 27.04.1998. SU 1548601 А1, 07.03.1990. SU 1561830 A3, 30.04.1990. ЕР 0282621 А, 21.09.1988.
Адрес для переписки:
119501, Москва, ул. Веерная, 1, корп.2, кв.99, С.А. Крупскому
|
(72) Автор(ы):
Крупский Сергей Александрович (RU), Тверьянович Эдуард Владимирович (RU), Щербань Григорий Андреевич (RU), Федосеев Юрий Васильевич (RU), Майоров Владимир Александрович (RU)
(73) Патентообладатель(и):
Крупский Сергей Александрович (RU), Тверьянович Эдуард Владимирович (RU)
|
(54) СПОСОБ ПЕРЕРАБОТКИ ОСАДКОВ СТОЧНЫХ ВОД И УСТРОЙСТВО ДЛЯ ЕГО ОСУЩЕСТВЛЕНИЯ
(57) Реферат:
Изобретение относится к технологии переработки и утилизации влажных низкокалорийных материалов органического происхождения, в частности обезвоженных осадков коммунальных и промышленных сточных вод. Способ включает сушку обезвоженных осадков, пиролиз без доступа воздуха, с удалением неорганических составляющих осадка в виде шлака и сжигание произведенного горючего газа для получения теплоты в данном процессе, при этом обезвоженный осадок сточных вод сначала превращают в слой толщиной 0,2-5 мм, который сушат, помещая его на нагретую поверхность при температуре 100-400°С, после чего высушенный осадок подвергают пиролизу на нагретой поверхности при температуре 600-800°С. Устройство содержит бункер, систему подачи осадка, которая на выходе имеет приспособление с технологической щелью для выдавливания осадка в виде тонкостенного слоя, камеру сушки и камеру пиролиза с наклонными нагреваемыми плоскостями, на которых проводят процессы сушки и пиролиза осадка, сформированного в виде тонкостенного слоя. Устройство имеет систему возврата в процесс производимого горючего газа, систему удаления отработанных газов и пара; на выходе камеры пиролиза установлен шлюз для удаления шлака. Технический эффект – создание безотходной экологичной технологии переработки осадка сточных вод. 2 н. и 4 з.п. ф-лы, 1 ил.
Изобретение относится к способам утилизации и переработки влажных низкокалорийных материалов органического происхождения, в частности обезвоженных осадков коммунальных и промышленных сточных вод, путем пиролиза органической части осадков и использования получаемого горючего газа для проведения всего процесса.
Проблема утилизации осадков сточных вод (ОСВ) для крупных городов приобретает характер трудноразрешимой задачи, т.к. переработка их для получения ценных товарных продуктов, таких как воск, фенол, гудрон и т.п., экономически не выгодна, а для их захоронения требуются большие площади, нарушающие экологию и требующие дополнительных затрат труда и средств. Поэтому предпринимаются многочисленные попытки переработать ОСВ таким образом, чтобы процесс стал безотходным.
Известен способ переработки обезвоженных осадков сточных вод (патент РФ 2211192), в котором обезвоженные ОСВ от коммунальных и промышленных сточных вод смешивают с углем, измельчают и одновременно сушат горячим воздухом с образованием твердого пылевидного топлива, сжигание которого ведут в топке промышленного котлоагрегата. Соотношение компонентов в смеси следующее: обезвоженного осадка 1-5%; угля – 95-99%.
Недостатками данного способа является малая доля ОСВ в горючей смеси (1-5%), что при переработке большого количества ОСВ требует сжигания большого количества угля. Другой недостаток заключается в том, что сам процесс сжигания ОСВ является экологически вредным, т.к. в дымовые газы попадает много вредных веществ, таких как кадмий, мышьяк, тяжелые металлы и др.
Известен способ переработки ОСВ с получением жидкого топлива (патент РФ 2104970), в котором осадок, нагретый до температуры 80-90°С, перемешивают с нагретым до 100-160°С нефтяным мазутом или гудроном в течение 15-35 минут. Соотношение ОСВ и нефтяных производных 75% и 25% соответственно. Получаемая эмульсия используется в качестве жидкого котельного топлива. Теплота сгорания такой смеси зависит от качества используемого нефтепродукта и составляет от 5523 кДж/кг (1320 ккал/кг) до 3600 кДж/кг.
Недостатки данного способа: процесс сжигания выносит в атмосферу вредные вещества; дополнительно расходуются нефтепродукты; при указанных соотношениях низка теплотворная способность горючей смеси.
Известен способ утилизации шлама сточных вод (патент РФ 2198141). В этом способе снижаются эксплуатационные затраты путем оптимизации процесса сжигания ОСВ в печи с дутьевой камерой за счет применения автоматизации контроля технологических процессов. Процесс включает обезвоживание ОСВ с помощью центрифуг и введения флокулянта, сжигание осадка в псевдоожиженном слое в дутьевой печи с подачей горячего воздуха, природного газа и использования тепла сгорания самого ОСВ.
Недостатки: вынос в атмосферу вредных продуктов сгорания ОСВ.
Наиболее близким к заявленному изобретению техническим решением, принятым нами за прототип, являются способ и устройство – “Получение ценных продуктов из осадков сточных вод и других отходов методом пиролиза” (А.З.Евилевич, М.А.Евилевич. Утилизация осадков сточных вод. Стройиздат, Л.О., 1988 г., с.109-123).
Способ включает сушку обезвоженных осадков, пиролиз без доступа воздуха с удалением неорганических составляющих осадка в виде шлака и сжиганием произведенного горючего газа для получения теплоты в данном процессе. Пиролиз высушенных ОСВ проводят при температуре 450°С, при этом получают 50% твердых остатков (уголь, полукокс или пирокарбонат), 25% жидких продуктов (смола или первичный деготь), 12-15% смеси газообразных продуктов. Продукты переработки могут быть в дальнейшем использованы для получения таких товарных продуктов, как воск, асфальтены, фенолы, гудрон и т.п.
Недостатками известного способа являются:
– проведение процесса низкотемпературного пиролиза при 450°С, при котором в газ превращаются только 12-15% высушенных осадков, а остальные составляющие результатов пиролиза требуют дальнейшей переработки для получения конечного товарного продукта, что удорожает их стоимость, и они не выдерживают конкуренции по стоимости с аналогичными продуктами, полученными другими менее сложными методами;
– малое количество производимого горючего газа при низкотемпературном пиролизе не обеспечивает теплотой проведение всего процесса, поэтому расходуются дополнительные виды топлива.
Задачи, на решение которых направлено данное изобретение, заключаются в создании экологичного способа переработки, при котором ОСВ являются источником энергии для проведения всего процесса, что обеспечивает уменьшение выбросов в атмосферу вредных веществ, при этом увеличивается экономичность за счет приближения к безотходной переработке осадков сточных вод.
Технический результат достигается тем, что в способе переработки осадков сточных вод, включающем сушку обезвоженных осадков, пиролиз без доступа воздуха с удалением неорганических составляющих осадка в виде шлака и сжиганием произведенного горючего газа для получения теплоты в данном процессе, обезвоженный осадок сточных вод сначала превращают в тонкостенный слой, который сушат, помещая его на нагретую поверхность, после чего высушенный осадок подвергают пиролизу на нагретой поверхности. Превращение осадка в тонкостенный слой осуществляют выдавливанием через технологические отверстия, например в виде полосы или «лапши» (круглой или плоской) с толщиной стенок 0,2-5 мм. Поверхность в камере сушки нагревают до 100-400°С, поверхность в камере пиролиза – до температуры 600-800°С. Тонкостенный слой осадка перемещают по нагретым поверхностям в камере сушки и камере пиролиза под действием силы тяжести за счет их наклона к горизонтальной плоскости.
Процесс сушки и пиролиза включает нагрев обрабатываемого материала (осадка) до указанных температур. Для полноты процесса необходимо прогреть все вещество, при этом на процесс прогрева сильно влияет теплопроводность вещества. Для обезвоженного осадка с влажностью 60 -80% теплопроводность составляет 0,48 Вт/м·град, а для высушенного того же осадка 0,05 Вт/м·град (Туровский И.С. Технология оборудования для биотермической обработки осадков сточных вод. М., ЦБНТИ Минводхоза, 1988 г.). Таким образом, при термической обработке осадков в больших массах процесс сушки и пиролиза сильно замедляется при возникновения начального сухого слоя с низкой теплопроводностью. Так, в эксперименте получены результаты: шарик из материала осадка диаметром 5 мм в среде, нагретой до 400°С, сохнет 5 минут, пленка из того же материала той же массы толщиной 0,3-0,5 мм при той же температуре сохнет 10 секунд. Поэтому первый этап предлагаемого способа состоит в превращении исходной массы осадка в тонкостенный слой путем выдавливания через технологические отверстия, например в виде лапши или полосы, с толщиной (диаметром) стенок 0,2-5 мм.
Выбор толщины выдавливаемого материала 0,2 мм обусловлен тем, что материал содержит частицы диаметром 0,2 в количестве до 92% от всей массы. Выбор толщины 5 мм обоснован экспериментально: при более высоких толщинах теряется преимущества в скорости сушки тонких слоев материала.
Тонкостенный слой (пленка) материала сушится на плоскости, нагретой до 100-400°С. Выбор температур определен следующими факторами: нижний предел – температура кипения воды, верхний предел (400°) определяет начало процесса низкотемпературного пиролиза. Промежуточные значения температур необходимо подбирать на конкретной установке с учетом тепловых потерь и заданной скорости процесса.
Выбор интервала температур в камере пиролиза обусловлен температурой газификации органических веществ в зависимости от свойств конкретного осадка, (600°С-800°С); дальнейшее повышение температуры выше 800°С приводит к дополнительным потерям затрачиваемой энергии.
Предлагаемая технология превращает в горючий газ практически все органические составляющие осадка, что позволяет провести весь процесс от сушки до пиролиза за счет получаемого газа. Полученный газ имеет более высокие показатели теплоты сгорания, чем при сжигании непосредственно сухого осадка: теплота сгорания пиролизного газа 23430 кДж/кг (5600 ккал/кг), в то время как при сжигании сухого осадка теплота сгорания составляет 16736 кДж/кг (4000 ккал/кг). Количество получаемого газа и его теплота сгорания позволяет весь процесс (сушку и пиролиз) провести за счет энергии, заключенной в ОСВ, что дает существенную экономию природного топлива.
Наиболее близким к изобретению техническим решением по совокупности существенных признаков является устройство, выбранное нами за прототип, содержащее бункер (сборник) исходного материала, систему подачи материала, камеру сушки с топкой, камеру пиролиза с топкой. Из камеры пиролиза произведенный горючий газ подается в топку камеры сушки. Устройство имеет систему удаления отработанных газов и пара (там же, с.119-121, рис.32).
Недостатком известного устройства переработки ОСВ являются вращающиеся камеры сушки и пиролиза, чем обуславливается сложность конструкции этих камер за счет механизмов проталкивания обрабатываемого осадка. Кроме того, нагрев обрабатываемого осадка производится продуваемым горячим воздухом со стороны свободной поверхности, что приводит к прилипанию осадка к поверхности, на которой он находится. Это усложняет продвижение осадка по камерам сушки и пиролиза. Производимого горючего газа из-за низкотемпературного пиролиза хватает только на использование его в качестве незначительной добавки к топливу в камере сушки.
Устройство переработки ОСВ, реализующее предложенный способ, лишено этих недостатков. Перемещение перерабатываемого материала не требует дополнительных механизмов, т.к. оно происходит под действием силы тяжести при скольжении его по наклонным поверхностям. Производимый при пиролизе горючий газ поступает в топки камеры сушки и камеры пиролиза, полностью обеспечивая их работу.
Технический результат достигается за счет того, что устройство по переработке осадков сточных вод содержит бункер, систему подачи осадка, камеру сушки и камеру пиролиза с соответствующими топками, систему отвода производимого горючего газа и систему удаления отработанных газов и пара. Кроме того, система подачи на выходе имеет приспособление с технологической щелью для выдавливания осадка в виде тонкостенного слоя в камеру сушки на наклонную поверхность, нагреваемую от топки камеры сушки. Камера сушки соединена с камерой пиролиза через шлюз, откуда осадок попадает на наклонную поверхность камеры пиролиза, нагреваемую от топки данной камеры. Камера пиролиза имеет систему отвода производимого горючего газа, соединенную через устройства очистки и распределения газа с топками камер сушки и пиролиза, и на выходе камеры пиролиза установлен шлюз для удаления шлака. Наклонные поверхности камеры сушки и камеры пиролиза наклонены к горизонтальной плоскости под углами 40°±10° и 35°±10° соответственно.
Для ускорения процессов в устройстве исходный осадок превращают в тонкостенные слои в виде лапши (круглой или плоской) или в виде полосы с помощью устройства с технологической щелью соответствующего профиля для продавливания материала.
Перемещение материала в камере сушки и камере пиролиза осуществляется по наклонным поверхностям под действием силы тяжести без использования дополнительных механизмов. Это становится возможным за счет того, что нагрев осадка ведется через поверхность, на которой он располагается, при этом сила трения осадка по поверхности сильно уменьшается благодаря образованию пара и газа, между осадком и поверхностью нагрева. Оптимальные углы наклона плоскостей подобраны экспериментально.
Камера пиролиза снабжена шлюзовыми камерами на входе и на выходе для проведения процесса пиролиза без доступа воздуха.
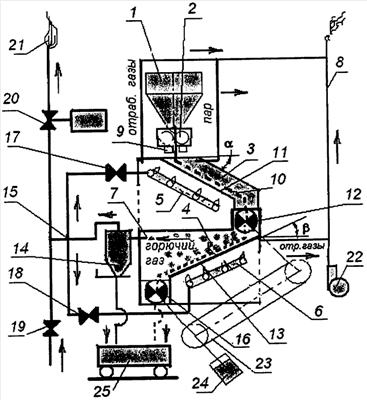
На чертеже представлена схема предлагаемого устройства.
Устройство по переработке осадков сточных вод содержит бункер 1, систему подачи осадка 2, камеру сушки 3 и камеру пиролиза 4 с соответствующими топками 5 и 6, систему отвода 7 производимого горючего газа и систему 8 удаления отработанных газов и пара. Система подачи осадка 2 на выходе имеет приспособление 9 с технологической щелью для выдавливания осадка в виде тонкостенного слоя 10 в камеру сушки 3 на наклонную поверхность 11, нагреваемую от топки 5 камеры сушки 3. Камера сушки 3 соединена с камерой пиролиза 4 через шлюз 12, откуда осадок попадает на наклонную поверхность 13 камеры пиролиза 4, нагреваемую от топки 6 данной камеры. Камера пиролиза 4 имеет систему отвода производимого горючего газа 7, соединенную через устройства очистки 14 и распределения 15 газа с топками камер сушки 5 и пиролиза 6. На выходе камеры пиролиза 4 установлен шлюз 16 для удаления шлака. Наклонные поверхности 11 и 13 камеры сушки 3 и камеры пиролиза 4 наклонены к горизонтальной плоскости на углы =40°±10° и =35°±10°.
Кроме того, на чертеже изображены вентили 17, 18, 19 газораспределительной системы 15; регулируемый вентиль 20 для поддержания в системе необходимого избыточного давления горючего газа; факел 21 сгорания избыточных горючих газов; вентилятор 22 системы удаления отработанных газов и пара; вал 23 привода механизмов шлюзовых камер 12 и 16; кинематическая связь 24 между шлюзовыми камерами; электропривод 25 кинематической связи 24.
Устройство переработки ОСВ работает следующим образом.
Обезвоженные ОСВ поступают в бункер 1, откуда они системой подачи 2, например насосом шестеренчатым или винтовым, продавливаются через технологическое отверстие приспособления 9 для получения тонкостенного слоя 10, например в виде «лапши» или полос толщиной 0,2-5 мм и шириной, обеспечивающей необходимую производительность установки. Осадок в виде сформированной тонкостенной полосы 10 поступает в камеру сушки 3 на наклонную поверхность 11, нагретую с помощью топки 5 до температур 100-400°С. Между слоем осадка 10 и нагретой поверхностью 11 возникает прослойка пара за счет испарения влаги, содержащейся с осадках. Пар исключает прилипание слоя 10 осадка к поверхности 11, наклон которой к горизонту составляет угол =40±10°, выбранный экспериментально. Наличие прослойки пара между слоем осадка 10 и нагретой поверхностью 11 уменьшает трение, и слой 10 скользит по поверхности 11 вниз за счет силы тяжести без дополнительных усилий проталкивания (на чертеже слой осадка 10 изображен толстой штриховой линией). За время прохождения камеры сушки 3 осадок высыхает до влажности 10-20%, при начальной влажности 70-80%.
Из камеры сушки слой осадка 10 поступает в шлюзовую камеру 12 на входе в камеру пиролиза 4. В шлюзовую камеру 12 осадок можно подавать дозами, которые сбрасываются через шлюз 12 в камеру пиролиза 4, препятствуя при этом попаданию туда кислорода воздуха.
В камере пиролиза 4 осадок поступает на наклонную поверхность 13, нагретую топкой 6 до температур 600-800°С. Наклон плоскости 13 к горизонту, определенный экспериментальным путем, составляет угол =35±10°, при котором происходит устойчивое движение осадка под действием силы тяжести по поверхности 13 к шлюзу 16, который служит для удаления шлаков из камеры пиролиза и препятствует проникновению в нее воздуха.
Механизм движения по наклонной поверхности 13 осадка под действием силы тяжести объясняется возникновением слоя горючего газа между слоем осадка и нагретой поверхностью 13, что уменьшаем трение. За время прохождения камеры пиролиза 4 органическая составляющая осадка при температурах 600°С-800°С превращается в горючий газ, который поступает в систему отвода горючего газа 7, затем проходит систему очистки 14 и затем в газораспределительную систему 15.
Через вентили 17 и 18 очищенный горючий газ поступает в топку 5 камеры сушки 4 и в топку 6 камеры пиролиза 4. Вентиль 19 служит для запуска работы всей установки в начальный период, когда еще нет наработанного горючего газа. Через этот вентиль в систему поступает заранее запасенный горючий газ или природный (баллонный) газ для нагрева плоскостей 11 и 13. После того как начнет выделяться в камере пиролиза 4 горючий газ, вентиль 19 закрывается. При необходимости через вентиль 19 газораспределительная система 15 может в процессе работы устройства получать дополнительный природный газ, если пойдут партии ОСВ с обедненным содержанием углеводородов.
Автоматический вентиль 20 поддерживает давление в системе (80-300 мм водяного столба), пригодное для использования в стандартных газовых горелках, установленных в топках 5 и 6 камер сушки 3 и камеры пиролиза 4. Избыточный горючий газ после вентиля 20 поступает на открытый факел 21.
Шлюзы 12 и 16 камеры пиролиза 4 приводятся в синхронное действие электродвигателем 24 через кинематическую связь 23.
Отработанные газы и пар из камеры сушки 3 и камеры пиролиза 4 поступают в систему удаления 8 (вытяжную систему) с вентилятором 22, из которой выбрасываются в атмосферу.
Из камеры пиролиза 4 на выходе через шлюз 16 удаляется шлак в шлакосборник 26.
Обоснование реализации способа.
Пример 1
Получение тонкостенного слоя ОСВ. Изучался процесс выдавливания материала через плоскую фильеру. Экспериментально получены характеристики формирования тонкостенного слоя исходного материала. Для выдавливания материала ОСВ через плоские фильеры получены следующие давления: для пленки толщиной 0,2 мм – 3,2 кг/см2, при продавливании через щель 1 мм – 2,7 кг/см2, через щель 2 мм – 2,1 кг/см2. При указанных размерах и давлениях материал выдавливается ровным слоем.
Пример 2.
Сушка тонких листов материала ОСВ. Материал в виде листа с заданной толщиной 1 мм при влажности 75-82% помещался на плоскую поверхность, нагретую до заданной температуры, при этом получены следующие скорости удаления влаги:
| Температура поверхности |
Скорость сушки |
| 200°С |
7,8 мг/с |
| 400°С |
15 мг/с |
Пример 3.
Самопроизвольное движение материала по нагретой поверхности. Материал в виде слоя толщиной 1-2 мм укладывался на поверхность, нагретую до 200°С, 400°С и 800°С, изменялся угол наклона поверхности к горизонту до устойчивого скатывания под действием силы тяжести. Получены следующие результаты: для температур до 400°С – необходимы углы 35±10°, а для при температуре 800°С – 30±10°. Угол наклона зависит от качества нагретой поверхности и влажности материала. В экспериментах прилипания материала к нагретой поверхности нигде не наблюдалось.
Пример 4. При производительности установки утилизации ОСВ 250 кг в час (69,4 г/с), влажности обезвоженного осадка 75%, содержание сухого вещества 25%, содержание шлаков 40%.
Теплотехнические данные ОСВ: теплоемкость сырого материала 2,97 Дж/г·град, теплоемкость сухого материала 1,59 Дж/г·град, теплопроводность влажный/сухой 0,48/005 Вт/м·град.
4.1. Теплота Qсуш для высушивания 69,4 г/с ОСВ с учетом нагрева и испарения требует теплоты Qнагр 138,2 Дж/с.
4.2. Теплота, необходимая для пиролиза массы высушенного 17,35 г/с осадка с содержанием органической составляющей 60% с нагревом от 150°С 800°С ( t=650°С), составляет Qпир=17,9 Дж/с.
4.3. Количество получаемого горючего газа из сухого осадка (25% от первоначальной массы) и 60% содержания в нем органических веществ составит mг/г=10,41 г/с.
4.4. Количество теплоты, получаемое при сжигании в горелках горючего газа, при его калорийности 5600 ккал/кг или 23,430 кДж/кг:
Qг/г=23,43×10,41=243,9 кДж/с.
4.5. Суммарные траты теплоты на процесс сушки и пиролиза при КПД тепловых процессов 0,7 составит:
Qзатр=(Qсуш+Qпир)/0,7=156,1/0,7=223 кДж/с.
4.6. Баланс энергий положительный: произведено 244 Дж/с, истрачено 223 Дж/с, положительный баланс 21 Дж/с или 75,6 кВт за час работы, что в сутки составит 1814 кВтч.
Эксперимент хорошо коррелирует с приведенным расчетом и показывает, что получаемого горючего газа хватает на проведение всего процесса.
Таким образом, предложенный способ и устройство полностью покрывают затраты на проведения процесса, что соответствует поставленной задаче. Технология обеспечивает экономию природного топлива, уменьшение вредных выбросов и улучшение экологии процесса, т.к. теплоту для процесса получают путем сжигания горючего газа, полученного при пиролизе из органических составляющих ОСВ и имеющего достаточно высокую теплоту сгорания 5600 ккал/кг. Вредные вещества остаются в шлаке. При пиролизе разрушаются токсичные вещества, происходит эффективное обезвреживание отходов; количество шлаков по объему составляет приблизительно 1/10 часть от перерабатываемых ОСВ. Шлаки могут быть использованы в качестве минерального наполнителя в строительстве, в дорожных покрытиях и т.п. Таким образом, изобретение позволяет создать безотходную переработку ОСВ.
Формула изобретения
1. Способ переработки осадков сточных вод, включающий сушку обезвоженных осадков, пиролиз без доступа воздуха с удалением неорганических составляющих осадка в виде шлака и сжиганием произведенного горючего газа для получения теплоты в данном процессе, отличающийся тем, что обезвоженный осадок сточных вод сначала превращают в тонкостенный слой, который сушат, помещая его на нагретую поверхность, после чего высушенный осадок подвергают пиролизу на нагретой поверхности.
2. Способ по п.1, отличающийся тем, что тонкостенный слой осадка формируют, в виде полосы или «лапши» (круглой или плоской) с толщиной стенок 0,2-5 мм.
3. Способ по п.1, отличающийся тем, что поверхность в камере сушки нагревают до 100-400°С, поверхность в камере пиролиза – до температуры 600-800°С.
4. Способ по п.1, отличающийся тем, что тонкостенный слой осадка перемещают по нагретым поверхностям при сушке и при пиролизе под действием силы тяжести за счет наклона поверхностей к горизонтальной плоскости.
5. Устройство для переработки осадков сточных вод, содержащее бункер, систему подачи осадка, камеру сушки и камеру пиролиза с соответствующими топками, систему отвода производимого горючего газа и систему удаления отработанных газов и пара, отличающееся тем, что система подачи осадка на выходе имеет приспособление с технологической щелью для выдавливания осадка в виде тонкостенного слоя в камеру сушки на наклонную поверхность, нагреваемую от топки камеры сушки, камера сушки соединена с камерой пиролиза через шлюз, подающий осадок на наклонную поверхность камеры пиролиза, нагреваемую от топки данной камеры, камера пиролиза сообщена с системой отвода производимого горючего газа, соединенной через устройства очистки и распределения газа с топками камер сушки и пиролиза, и на выходе камеры пиролиза установлен шлюз для удаления шлака.
6. Устройство по п.5, отличающееся тем, что наклонные поверхности камеры сушки и камеры пиролиза установлены под углами к горизонтальной плоскости 40±10° и 35±10° соответственно.
РИСУНКИ
|
|