|
|
(21), (22) Заявка: 2007148609/12, 27.12.2007
(24) Дата начала отсчета срока действия патента:
27.12.2007
(46) Опубликовано: 10.05.2009
(56) Список документов, цитированных в отчете о поиске:
WO 2007/071935 А, 28.06.2007. US 5328059 А, 12.07.1997. SU 195734 А, 01.01.1967. US 4699188 А, 13.10.1987. US 5567322 А, 22.10.1996.
Адрес для переписки:
141260, Московская обл., Пушкинский р-н, пос. Правдинский, ул. Фабричная, 8, ООО”Био Рэй”
|
(72) Автор(ы):
Козлов Сергей Евгеньевич (RU), Асташев Вячеслав Федорович (RU)
(73) Патентообладатель(и):
Общество с ограниченной ответственностью “Био Рэй” (RU)
|
(54) УСТРОЙСТВО ДЛЯ РОЗЛИВА БУТИЛИРОВАННОЙ ВОДЫ
(57) Реферат:
Изобретение относится к устройствам для розлива воды из пластиковых бутылей. Устройство для розлива содержит держатель для установки перевернутой пластмассовой бутыли, цилиндрический элемент для взаимодействия с горловиной бутыли, имеющий канал для слива воды в бак и канал подачи воздуха в бутыль, подключенный к воздушному насосу и регулировочному клапану через обратный клапан. Цилиндрический элемент установлен во фланце, являющемся крышкой бака, и выполнен в виде скошенного патрубка. Канал для слива воды в бак образован в полости патрубка и соединен с отверстиями на поверхности скоса и боковой поверхности патрубка. Канал подачи воздуха в бутыль расположен со стороны тупого угла, а упомянутые отверстия – со стороны острого угла и лежат в плоскости симметрии патрубка. Воздушный насос выполнен с производительностью, обеспечивающей возможность слива воды из бутыли без потери ее устойчивости при поддержании регулировочным клапаном избыточного давления 0,07-0,09 атм. Изобретение обеспечивает использование тонкостенных пластиковых бутылей в диспенсере без потери их устойчивости при сливе воды, а также устранение акустических шумов, связанных с противотоком воды и воздуха при разборе воды. 4 з.п. ф-лы, 2 ил.
Изобретение относится к устройствам для розлива бутилированной воды и может быть использовано в быту, офисах и на производстве.
Устройства для розлива бутилированной воды, т.н. диспенсеры, получили широкое распространение для выдачи очищенной питьевой воды малыми порциями. Они имеют средства для охлаждения и/или нагрева воды, накопительные емкости и краны для слива.
Известно большое число конструкций диспенсеров, предназначенных для розлива воды из жестких двадцатилитровых пластиковых бутылей многократного использования. Для обеспечения свободного слива бутыль устанавливается вверх дном, горло бутыли через цилиндрический элемент присоединяется к системам нагрева и/или охлаждения воды и ее выдачи (см., например, US 5328059, Campbell, 12.07.1994). Для замещения вытекаемой из бутыли воды воздухом предусмотрена воздухоподводящая трубка, снабженная воздушным фильтром, исключающим загрязнение воды из атмосферного воздуха при пробулькивании пузырей. В изобретении (WO 2007071935, WALTON et al., 28.06.2007 – ближайший аналог) описано устройство для слива жидкости из перевернутой бутыли, в котором подача сжатого воздуха инициируется посредством воздушного насоса, подключенного через воздушный фильтр и обратный клапан, что создает избыточное давление внутри бутыли. Устройство может содержать реле давления воздуха для выключения насоса, когда соответствующее давление будет достигнуто. В качестве альтернативы реле давления может быть заменено регулировочным клапаном. Назначение сжатого воздуха – расположение кранов слива воды на большей высоте.
Описанные выше диспенсеры предусматривают использование жестких бутылей. В то же время, рынок предлагает большое количество бутилированной воды, расфасованной в нежесткие бутыли, например, объемом 5 л, более удобные для потребителей. Однако такая тара, преимущественно разового использования, обладает существенным недостатком – потерей устойчивости, выражающейся схлопыванием бутылей при сливе содержимого.
Патентуется устройство для розлива бутилированной воды из пластиковых тонкостенных (0,15-0,5 мм) бутылей с объемом преимущественно до 10 л, исключающее деформацию и схлопывания стенок бутыли, а также обеспечивающее снижение звуков от пробулькивания воздушных пузырей при ее опорожнении. Патентуемый диспенсер снабжен средствами для принудительной компенсации разрежения в бутыли.
Устройство для розлива бутилированной воды содержит держатель для установки перевернутой пластмассовой бутыли, цилиндрический элемент для взаимодействия с горловиной бутыли, имеющий канал для слива воды в бак и канал подачи воздуха в бутыль, подключенный к воздушному насосу и регулировочному клапану через обратный клапан. Цилиндрический элемент установлен во фланце, являющемся крышкой бака, и выполнен в виде скошенного патрубка; канал для слива воды в бак образован в полости патрубка и соединен с отверстиями на поверхности скоса и боковой поверхности патрубка, причем канал подачи воздуха в бутыль расположен со стороны тупого угла, а упомянутые отверстия – со стороны острого угла и лежат в плоскости симметрии патрубка. При этом воздушный насос выполнен с производительностью, обеспечивающей возможность слива воды из бутыли без потери ее устойчивости при поддержании регулировочным клапаном избыточного давления 0,07-0,09 атм.
Устройство может характеризоваться тем, что воздушный насос создает избыточное давление 0,13-0,16 атм и обеспечивает производительность 4-5 л/мин, а также тем, что бутыли имеют объем от 1,0 до 20 л, толщину боковой стенки от 0,15 мм и выполнены из полиэтилентерефталата (ПЭТ).
Устройство может характеризоваться и тем, что фланец со стороны скошенного патрубка имеет углубление, к донной части которого присоединен штуцер, а также тем, что фланец установлен в баке через уплотнительный элемент и закреплен прижимным элементом в форме кольца с защелками.
Технический результат изобретения – возможность использования тонкостенных пластиковых бутылей в диспенсере без потери их устойчивости при сливе воды, а также устранение акустических шумов, связанных с противотоком воды и воздуха при разборе воды.
Сущность изобретения поясняется на чертежах, где:
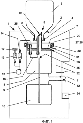
на фиг.1 показана конструкция устройства, на фиг.2 – скошенная часть патрубка (укрупненно).
Устройство содержит корпус 1, в верхней части которого имеется держатель 2 (показан схематично) для установки перевернутой бутыли 3 из пластика. Бутыль снабжена пробкой 4 (или адаптером), посредством которой в нее вводится цилиндрический элемент 5 для взаимодействия с горловиной 6 бутыли 3.
Цилиндрический элемент 5 установлен во фланце 7, являющемся крышкой бака 8 холодной воды. Бак 8 соединен трубкой 9 с баком 10 горячей воды. Средства для нагрева и охлаждения воды в баках 8, 10 на фиг.1 не показаны и известны для специалистов. Слив воды в бокалы осуществляется посредством кранов 11, 12.
Система содержит воздушный насос 13, связанный через обратный 14 и регулировочный 15 клапаны с трубкой 16 подачи воздуха в бутыль 3. Для очистки воздуха может использоваться воздушный фильтр 17.
Цилиндрический элемент 5 выполнен в виде патрубка со скосом 19. В патрубке выполнены продольный сквозной канал 20 и полость 21, которые не сообщаются. Полость 21 со стороны фланца 7 сообщена с баком 8, а со стороны элемента 5 имеет отверстие 23 на поверхности скоса 19 и отверстие 24 на боковой поверхности патрубка. Отверстия 23, 24, а также канал 20 находятся в плоскости симметрии элемента 5. Соответственно сквозной канал 20 расположен со стороны тупого угла, образованного скосом 19, а отверстия 23, 24 – со стороны острого угла. Экспериментально установлено, что оптимальные размеры диаметров отверстий 23, 24 для тонкостенных (0,15-0,5 мм) бутылей составляют 3,5 и 5 мм, соответственно. Если размеры отверстия 23 меньше, то через него при первичном заполнении бака 8 водой не будет проходить воздух. Если размеры отверстий 23, 24 больше указанных, то, как при первичном заполнении бака 8, так и текущем сливе возможно сжатие бутыли.
Канал 20 соединен с трубкой 16 подачи воздуха от воздушного насоса 13 через проходной штуцер 25, установленный во фланце 7.
Фланец 7 установлен в баке 8 с уплотнением 26, размещенным в канавке фланца. Горловина фланца 7 имеет выступающую кромку 27, которая опирается на отбортовку 28 бака 8. Фланец 7 закреплен прижимным элементом 29, имеющим форму кольца с защелками 30. В донной части фланца, имеющего имеет тарельчатую форму, расположен штуцер 31 с трубкой 32 для слива в поддон 34 возможных протечек воды при смене бутыли.
Воздушный насос 13 выполнен с производительностью, обеспечивающей возможность слива воды из бутыли без потери ее устойчивости (производительность 4-5 л/мин при избыточном давлении 0,13-0,16 атм). При этом регулировочный клапан 15 устанавливают на давление 0,07-0,09 атм.
Устройство работает следующим образом.
Если бутыль 3 имеет пробку 4, не согласованную по параметрам с элементом 5, то ее заменяют на адаптер. Бутыль устанавливают на диспенсер при подключенном насосе 13. При первичном заполнении кран 12 горячей воды открывают, вода через отверстие 24 и полость 21 перетекает в бак 8 и после наполнения последнего до торца 35 трубки 9 – в бак 10. При этом воздух из баков через открытый кран 12 выходит в атмосферу. В бутыль воздух подается через канал 20 от воздушного насоса 13, компенсируя создающееся разрежение. После наполнения бака 10 из крана 12 начинает течь вода, и кран закрывают. Далее заполнится бак 8 от торца 35 трубки 9, при этом воздух из бака 8 через полость 21 и отверстие 23 вытиснится в бутыль 3. В рабочем режиме избыточное давление в бутыли поддерживается воздушным насосом.
В результате такого процесса принудительного замещения воды воздухом, бутыль сохраняет товарный вид, не деформируется и не создает звуков потрескивания, характерных при наличии частичного вакуумирования. Это дает возможность, в том числе, использовать тонкостенные (0,15-0,5 мм) бутыли из ПЭТ (полиэтилентерефталата) разового использования. Кроме того, преимуществом данного устройства является то, что устраняются акустические шумы, связанные с противотоком воды и воздуха при разборе воды.
Патентуемая система, использующая принудительное заполнение воздухом бутыли при сливе воды (water-air replacement system WARS) с герметизацией воздухо-водяного контура, предназначена, прежде всего, для розлива воды из тонкостенных бутылей разового использования, однако может быть применима и для жестких пластиковых сосудов.
Формула изобретения
1. Устройство для розлива бутилированной воды, содержащее держатель для установки перевернутой пластиковой бутыли, цилиндрический элемент для взаимодействия с горловиной бутыли, имеющий канал для слива воды в бак и канал подачи воздуха в бутыль, подключенный к воздушному насосу и регулировочному клапану через обратный клапан, отличающееся тем, что цилиндрический элемент установлен во фланце, являющемся крышкой бака и выполнен в виде скошенного патрубка, канал для слива воды в бак образован в полости патрубка и соединен с отверстиями на поверхности скоса и боковой поверхности патрубка, причем канал подачи воздуха в бутыль расположен со стороны тупого угла, а упомянутые отверстия – со стороны острого угла и лежат в плоскости симметрии патрубка, при этом воздушный насос выполнен с производительностью, обеспечивающей возможность слива воды из бутыли без потери ее устойчивости при поддержании регулировочным клапаном избыточного давления 0,07-0,09 атм.
2. Устройство по п.1, отличающееся тем, что воздушный насос создает избыточное давление 0,13-0,16 атм и обеспечивает производительность 4-5 л/мин.
3. Устройство по п.1, отличающееся тем, что бутыли имеют объем от 1,0 до 20 л, толщину боковой стенки от 0,15 мм и выполнены из полиэтилентерефталата.
4. Устройство по п.1, отличающееся тем, что фланец со стороны скошенного патрубка имеет углубление, к донной части которого присоединен штуцер.
5. Устройство по п.1, отличающееся тем, что фланец установлен в баке через уплотнительный элемент и закреплен прижимным элементом в форме кольца с защелками.
РИСУНКИ
|
|