|
|
(21), (22) Заявка: 2006112588/12, 15.10.2004
(24) Дата начала отсчета срока действия патента:
15.10.2004
(30) Конвенционный приоритет:
17.10.2003 IT RM2003A000480
(43) Дата публикации заявки: 20.11.2007
(46) Опубликовано: 10.05.2009
(56) Список документов, цитированных в отчете о поиске:
US 4208235 A1, 17.06.1980. US 2002069963 A1, 13.06.2002. US 6068037 A1, 30.05.2000. SU 479665 A, 05.08.1975.
(85) Дата перевода заявки PCT на национальную фазу:
14.04.2006
(86) Заявка PCT:
IT 2004/000567 20041015
(87) Публикация PCT:
WO 2005/035260 20050421
Адрес для переписки:
129090, Москва, ул. Б.Спасская, 25, стр. 3, ООО “Юридическая фирма Городисский и Партнеры”, пат.пов. С.Р.Абубакирову, рег. 931
|
(72) Автор(ы):
БАЙОНИ Альдо (IT), ДЕ БЕНЕДЕТТИ Эдоардо (IL)
(73) Патентообладатель(и):
МАЛТИПЭЙТЕНТ ЛТД. (IE)
|
(54) МАШИНА ДЛЯ ИЗГОТОВЛЕНИЯ ЛИСТОВ, ГОТОВЫХ ДЛЯ НЕМЕДЛЕННОГО СКРЕПЛЕНИЯ
(57) Реферат:
Машина для изготовления листов, готовых для немедленного скрепления, имеющих полоску адгезивного вещества вдоль одной из их кромок и полоску силиконового материала, которая расположена с возможностью отклеивания на полоске адгезивного вещества. Листы состоят из бумажного материала в виде отдельных листов или в виде полосы, такой как рулонная бумага. Машина содержит по меньшей мере один аппликатор для нанесения неадгезивной ленты на бумажный материал, непрерывно продвигающейся вдоль плоскости подачи. При этом упомянутый аппликатор содержит вращающийся лентодержащий барабан в положении, расположенном над непрерывно продвигающимся бумажным материалом, средство, которое определяет путь перемещения для движения к непрерывно продвигаемому бумажному материалу, содержащее ролики и направляющие ленту шкивы. Также аппликатор содержит устройство дозирования жидкого адгезивного вещества, подаваемого из резервуара, оснащенного насосным устройством для нанесения адгезивного вещества в виде контролируемой струи на сторону ленты. И прижимной узел, который включает нижний приводной ролик, расположенный снизу бумажного материала, и прижимной ролик, консольно установленный выше в контакте с нижним приводным роликом, с расположением между ними несущей адгезивное вещество ленты и бумажного материала так, чтобы заставлять ленту приклеиваться к продвигающемуся бумажному материалу. Предложенная машина обеспечивает быстрое и недорогое изготовление листа, готового для немедленного скрепления. 14 з.п. ф-лы, 5 ил.
Настоящее изобретение относится к машине для изготовления листа, готового для немедленного скрепления.
Европейский Патент 0919400 описывает тип листа, который имеет полоску адгезивного вещества, или двухсторонней ленты вдоль по меньшей мере одной из своих кромок. Полоска из силиконового материала располагается с возможностью отделения на полоске адгезивного вещества или двухсторонней ленте и имеет по меньшей мере один участок, который не соединен с полоской адгезивного вещества или двухсторонней лентой. Когда один лист размещается на поверхности другого, этот участок полоски силиконового материала предназначен для его захватывания и натягивания, чтобы добиться удаления всей полоски силиконового материала и склеивания листа, с которого удалена эта полоска, с другим листом, который размещен поверх него. Если все полоски силиконового материала всех листов, размещенных один поверх другого, удалены, получают немедленное скрепление всех этих листов.
Цитируемый патент описывает лист как продукт, но не предусматривает какое-либо указание, как его изготовить, а именно, как нанести полоску адгезивного вещества или двухстороннюю ленту или как расположить полоску адгезивного материала поверх него.
Согласно второму его объекту, вышеупомянутый Европейский Патент 0919400 описывает адгезивную ленту, имеющую на одной ее стороне, попеременно, участки с адгезивным веществом, которое активируется в холодном состоянии, и более короткие участки без какого-либо адгезивного вещества. Лента также может состоять из двухсторонней ленты. В цитируемом патенте указано, что лента может наноситься на лист вручную или посредством специального устройства, имеющегося на выходе принтера. Однако, что касается этого устройства, в данном патенте указано, что оно не составляет часть этого изобретения.
Из приведенного выше краткого описания цитируемого Европейского Патента 0919400 можно понять, что обсуждаемый продукт может быть изготовлен, но только вручную и таким образом является полностью непрактичным вследствие требуемого количества времени. Фактически в данном патенте, начиная с листов, уже нарезанных в желаемом формате или образующих часть рулонной бумаги, указывается, что возможно нанести полоску адгезивного вещества на лист и покрыть ее полоской силиконового материала; или возможно нанести адгезивную ленту, которая может быть легко отделена, или двухстороннюю ленту с участками, лишенными адгезивного вещества, на отдельные листы.
В первом случае, а именно нанесения полоски адгезивного вещества и покрытия ее, не дано описание в отношении того, как это возможно, вручную, точно и без неровностей нанести полоску адгезивного вещества и затем точно покрыть ее полоской силиконового материала так, что не начнется эффект адгезии до нужного времени. Более того, что касается ленты, не ясно как возможно изготовить адгезивную ленту, которая переносит на лист, когда она приложена к нему, адгезивное вещество и как упомянутая адгезивная лента может быть удалена оттуда при необходимости без захватывания с ней также адгезивного вещества.
Кроме того, трудно представить принтер, который имеет возможность выдачи на выводимые из него листы участков ленты, чтобы изготовить лист, готовый для немедленного скрепления.
В итоге специалист в данной области бумагоделательной индустрии поймет, что цитируемый патент описывает продукт, который имеет положительные стороны, но который нуждается в значительном совершенствовании, чтобы иметь применение на промышленном уровне.
Строго говоря, задачей настоящего изобретения является изготовление листа, готового для немедленного скрепления, который является по настоящему эффективным.
Другой задачей изобретения является достижение быстрого и недорогого изготовления листа, готового для немедленного скрепления.
Дальнейшей задачей изобретения является разработка листа, готового для немедленного скрепления, который может быть использован в стандартном оборудовании, таком как принтеры, факсы и т.д., одинаковым способом как обычные листы.
Еще одной задачей изобретения является обеспечить изготовление листа, готового для немедленного скрепления, в различных необходимых форматах, точно и без затруднений или потерь времени.
Согласно настоящему изобретению предусматривается изготовление машины для изготовления описанного выше типа листов, готовых для немедленного скрепления, в которой аппликатор для нанесения неадгезивной ленты на бумажный материал, продвигающийся непрерывно вдоль плоскости подачи, содержит лентодержащий барабан, перемещающую систему для перемещения ленты к непрерывно продвигающемуся бумажному материалу, состоящую из роликов и направляющих ленту шкивов; устройство дозирования жидкого адгезивного вещества для нанесения адгезивного вещества в виде струи на сторону ленты, которая должна быть приведена в контакт с бумажным материалом, на заданной длине; прижимной узел, включающий симметрично относительно плоскости подачи бумажного материала нижний приводной ролик, расположенный снизу бумажного материала, и прижимной ролик, консольно установленный выше в контакте с нижним приводным роликом, с расположением между ними несущей адгезивное вещество ленты и бумажного материала так, чтобы заставлять ленту приклеиваться к продвигающемуся бумажному материалу.
Если лента прикладывается к отдельным листам, аппликатор для нанесения неадгезивной ленты также содержит нож ленты для отрезания ленты на конце каждого листа.
Преимущественно машина содержит датчик положения для активирования контакта ножа для разрезания полосы бумажного материала на листы.
Удобно, чтобы листы захватывались двумя конвейерными лентами, одной верхней и одной нижней, которые расположены зеркально-симметрично относительно плоскости подачи бумажного материала в виде листов, позади по ходу от контактного ножа и приводных роликов, причем указанная плоскость является копланарной с горизонтальной плоскостью подачи бумаги в виде полосы, при этом конвейерные ленты имеют поперечную ширину, меньшую чем ширина транспортируемых листов, и скорость, большую чем окружная скорость приводных роликов.
Машина согласно настоящему изобретению также содержит биговочное колесо и фотоэлемент для управления подачей бумажного материала.
Кроме того, она содержит электронное контрольное устройство и панель управления для ввода заданных параметров.
Настоящее изобретение будет теперь описано относительно его предпочтительного варианта осуществления, тем не менее понятно, что могут быть выполнены конструктивные варианты без отхода от объема защиты настоящего изобретения, и со ссылкой на фигуры сопроводительных чертежей, на которых:
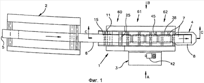
Фиг.1 показывает схематический вид сверху машины согласно настоящему изобретению для изготовления листов, готовых для немедленного скрепления, включающей бумагопитающее устройство;
Фиг.2 показывает схематический вид спереди со стороны, где готовые листы выводятся из машины согласно Фиг.1;
Фиг.3 показывает схематический вид сбоку, в направлении стрелки A, машины согласно Фиг.1;
Фиг.4 показывает схематический вид сбоку, в направлении стрелки B согласно Фиг.1, без бумагопитающего устройства;
Фиг.5 показывает схематическое продольное сечение вдоль плоскости C-C машины согласно Фиг.1, без бумагопитающего устройства.
Со ссылкой на чертежи, Фиг.1 показывает общий вид машины, обозначенный ссылочным номером 1, которая изготавливает листы, готовые для немедленного скрепления, при этом упомянутая машина соединена с устройством подачи бумаги с рулона или разматывателя тугонамотанной бумаги, обозначенного ссылочным номером 2. Разматыватель, который не описан детально, поскольку он может быть любого известного типа, приспособлен работать с бумажными рулонами различного типа.
С целью простоты описания, машина 1 показана сконструированной так, что имеется единственная производственная линия с одним каналом и так, что единственная стопка листов, готовых для немедленного скрепления, получается из единственного рулона питающего устройства 2. Очевидно, что машина может быть разработана так, чтобы иметь два и более параллельных каналов для изготовления стопок листов. В этом случае для подачи бумаги мог бы быть использован разматыватель известного типа для так называемых сдвоенных рулонов, продольное разделение полосы бумаги выполняется позади по ходу машины посредством специального центрального дискового ножа так, чтобы изготовить две и более полосы бумаги, из которых будут получены две и более стопки готовых листов. В машине могут быть сделаны модификации, чтобы получить два или более каналов и соответствующее увеличение производства.
Машина 1 показана без кожуха, который расположен над бумагой в процессе ее продвижения. В машине 1 можно отметить корпус, установленный на левой стороне, упомянутый корпус содержит устройство 3, подающее адгезивное вещество в жидком состоянии, и переднее устройство 4 для подборки листов, готовых для немедленного скрепления, т.е. готового продукта, в виде стопки бумаги. На Фиг.2, которая является видом спереди машины 1, с целью простоты иллюстрации переднее листоподборочное устройство 4 не показано. Фиг.3, которая является видом сбоку в направлении стрелки A Фиг.1, а именно с левой стороны, если смотреть на машину с точки, где предусмотрено листоподборочное устройство 4 для готового продукта, также показывает в очень схематическом виде питатель рулонной бумаги, который однако с целью простоты иллюстрации не показан на Фиг.4 и 5. Фиг.4 также не показывает устройство 4 для подборки конечного продукта.
Как показано на Фиг.1 и 3, питатель 2 рулонной бумаги является машиной, которая разматывает полосу бумаги 6 с рулона 5. Внутри питателя посредством соответствующих трансмиссий и устройства регулирования подачи (не показаны, поскольку они известны) полоса бумаги 6 достигает машины 1.
Готовым продуктом является лист, обозначенный ссылочным номером 7, к которому прикладывается лента 38 силиконового или полиэфирного материала и которая подбирается в стопу 8 вместе с другими листами последовательно внутри листоподборочного устройства 4. В оставшемся описании ленту силиконового материала или подобное нужно понимать в значении неадгезивной ленты, способной избежать адгезии между адгезивным веществом, которое соединяет вместе ленту и нижележащий лист бумаги, и листом бумаги, расположенным над упомянутой лентой.
Машина 1 имеет основание 9, содержащее электродвигатель 10, который является по существу только рабочим средством для подачи бумаги и ленты неадгезивного, например силиконового, материала.
В общем машина 1 содержит станцию 60 для приема полосы бумаги и разрезания ее на листы и станцию 61 для подачи листов и для нанесения на листы ленты неадгезивного, например силиконового, материала и его разрезания. Обе вышеупомянутые станции расположены на корпусе 9 машины 1. Внутри корпуса 9 электродвигатель 10 передает движение паре из верхнего и нижнего приводных роликов 11, 11 через шестерню 12, которая закреплена на оси электродвигателя 10, и зубчатый шкив 13, установленный коаксиально с нижним приводным роликом 11, посредством зубчатого ремня 14. Верхний и нижний ролики 11, 11 приводят полосу бумаги, подаваемую с рулона 5 питателя 2. Биговочное колесо 15, расположенное позади по ходу от верхнего и нижнего роликов 11, также образует часть станции 60 для приема и разрезания полосы бумаги, как и фотоэлемент 16 для контроля подачи бумаги.
Как показано на Фиг.3, кодирующее устройство 17 смонтировано на зубчатом шкиве 13. Это кодирующее устройство выполнено в форме кольца, имеющего вдоль его периферии, с длиной, равной высоте, желаемой для листов, резиновое кольцо для фрикционной подачи синхронно с, но в направлении, противоположном направлению вращения зубчатого шкива 13. Функция кодирующего устройства 17 будет обсуждена более детально ниже.
Вал 18 зубчатого шкива 13 также совмещен с валом нижнего ролика 11. Вал 18 на противолежащей стороне зубчатого шкива 13 поддерживает, как показано на Фиг.4, зубчатый шкив 19 и зубчатое колесо 20. Зубчатое колесо 20 зацепляется с цепью последовательно зацепляющихся зубчатых колес 21, 22, 23. Зубчатое колесо 23 имеет вал 24, на котором смонтированы контактный нож 25 (Фиг.5), расположенный над зоной, через которую проходит полоса бумаги 6, и металлическая опорная поверхность 26. В этой секции полоса бумаги 6 продвигается вдоль по существу горизонтальной плоскости.
Позади по ходу от контактного ножа 25 бумага продвигается в листы, как показано более отчетливо на Фиг.1. Листы снимаются станцией 61 для подачи листов и для нанесения и разрезания ленты силиконового материала. Как показано на Фиг.5, эта станция содержит две нижнюю и верхнюю конвейерные ленты 27′, 27”, которые расположены зеркально-симметрично относительно плоскости подачи листов, которая является копланарной с горизонтальной плоскостью подачи полосы 6 бумаги. Альтернативно листы могут подаваться транспортировкой посредством так называемых вакуумных лент, которые обеспечивают сохранение параллельности в процессе их движения подачи.
Ссылаясь снова на Фиг.1, поперечная ширина конвейерных лент 27′, 27” меньше чем ширина транспортируемых ими листов 7 так, что боковая кромка упомянутых листов остается свободной от контакта с конвейерными лентами. Конвейерные ленты 27′, 27” управляются соответственно верхним и нижним зубчатыми шкивами 28 и 29. Верхний шкив 28 соединен посредством зубчатого ремня 30 с зубчатым шкивом 31, составляющим одно целое с валом 24. Нижний зубчатый шкив 29 соединен посредством зубчатого ремня 32 с зубчатым шкивом 33, составляющим одно целое с валом 18. Две конвейерные ленты 27′ и 27” или двойная конвейерная лента 27′, 27” смонтированы на натяжных роликах, которые обозначены в целом 34. Некоторые из этих роликов 34, которые не имеют простую приводную функцию, могут быть регулируемыми на основе их положения посредством регулирующих средств, обозначенных в целом 35. Таким образом, подача листов бумаги может быть регулируема все время.
Конвейерные ленты 27′ и 27” имеют скорость, которая немного больше, чем скорость роликов 11, 11, приводящих полосу бумаги 6. Поэтому листы 7 расположены один от другого с тем, чтобы создавать свободный участок ленты 38, удобный для захвата рукой, когда осуществляется скрепление.
Конвейерные ленты 27′ и 27” имеют ширину, меньшую чем ширина полосы бумаги 6 и, следовательно, листов 7 так, что боковая кромка остается свободной для нанесения ленты силиконового материала.
Станция 61 для подачи листов и нанесения ленты силиконового материала имеет аппликатор 62 для нанесения ленты силиконового материала согласно изобретению. В случае, где машина имеет два или более канала, имеется одно наносящее ленту и аппликационное устройство на канал, выполненное с тем, чтобы обеспечить прикладывание как к правой, так и к левой стороне листа. Аппликатор 62 содержит в положении, расположенном над верхней частью машины, лентодержащий барабан 36, который свободно вращается и удерживает рулон 37, содержащий ленту 38. Лента 38, которая подается с рулона 37, следует по пути, где она движется к листам, которые продвигаются между конвейерными лентами. Вдоль этого пути имеются два направляющих ленту ролика 39, 39, которые передают ленту к, по существу, горизонтальной секции ее перемещаемого движения к листам. Горизонтальная секция имеет установленное над ней устройство 40 для выдачи жидкого адгезивного вещества, которое соединено с трубкой 41 для подачи в резервуар 3 адгезивного вещества (Фиг.3). Адгезивное вещество может быть выбрано по желанию. Резервуар 3 для адгезивного вещества предусмотрен с управляемым насосным устройством 42 для подачи адгезивного вещества с требуемыми скоростью потока, давлением и температурой, к дозирующему устройству 40. Резервуар 3, дозирующее устройство 40 и насосное устройство 42 являются типом, который обычно известен и далее не описан.
Дозирующее устройство 40 имеет функцию нанесения прерывистой дозированной струи адгезивного вещества на сторону ленты 38, предназначенную быть приведенной в контакт с листами бумаги 7. Движение ленты 38 снизу дозирующего устройства 40 направляется шкивами, которые обозначены в общем ссылочным номером 43 (Фиг.5) и которые передают ее в прижимной узел, расположенный симметрично относительно плоскости подачи листов 7. Узел 44 прессования содержит нижний приводной ролик 45, расположенный снизу листов, и прижимной ролик 46, который консольно установлен выше и заставляет ленту приклеиваться к листу бумаги 7, который продвигается посредством двойной конвейерной ленты 27′, 27”. Нижний приводной ролик 45 и прижимной ролик 46 принимают между ними листы и ленту силиконового материала, на которую адгезивное вещество выдается дозирующим устройством 40. Как показано на Фиг.4, нижний приводной ролик 45 приводится коаксиальным зубчатым шкивом 47, имеющим перемещаемый по нему зубчатый ремень 48, натянутый натяжным устройством 49 и приводимый зубчатым шкивом 50, который закреплен на упомянутом валу зубчатого шкива 29.
Если бумажный материал, на который воздействует аппликатор 62 ленты силиконового материала, состоит из листов, как описано выше, лента силиконового материала 38 разрезается ножом 51 (Фиг.5), который приводится в движение через гибкий ремень 52 (Фиг.4) зубчатым шкивом 53, коаксиальным с зубчатым шкивом 28, с расположением натяжного устройства 53′ между ними. Лоток 54 для подбора листов 7 в стопки 8 расположен на выходе машины 1 согласно настоящему изобретению. Лоток образует часть подборочного устройства 4, которое содержит вибрирующую пластину 55, приводимую электродвигателем 56 и расположенную наклонно на телескопической подставке 57.
Листы, которые имеют дефекты или во всяком случае не соответствуют введенным параметрам, контролируемые детекторами, не показанными детально, удаляются от других листов и отклоняются каналом в нижележащие карманы перед достижением лотка 54. Эти карманы также не показаны на чертежах. Продукт, соответствующий введенным параметрам, вместо этого транспортируется в подборочное устройство 4. Подборочное устройство 4 показано как имеющее только одну стадию. Однако она могла бы состоять из нескольких стадий с тем, чтобы создавать подряд блоки, каждый из которых образуется запрограммированным количеством листов. Большее число ступеней действует как промежуточный накопитель. Таким образом, машина могла бы функционировать автономно, без какого-либо оператора, который не обязан присутствовать для проверки, что полный блок листов сформирован, и удалять его так, чтобы немедленно могло начаться формирование следующего блока.
Если, с другой стороны, бумажный материал является рулонной бумагой, уже имеющей заданные ослабленные линии, которые разграничивают лист сверху и снизу от соседних листов, нож 51 не активирован, кроме как в конце рулонной бумаги. В этом случае подборочное устройство 4 может быть также образовано другим способом.
В основании 9 машины 1 размещается электронное контрольное устройство 58 и панель управления 59. Электронное контрольное устройство 58 управляет всеми составными частями машины, в то время как оператор вводит с панели управления 59 все необходимые параметры, такие как количество листов в минуту и характеристики, которые должен иметь лист, готовый для немедленного скрепления. Поскольку все регулировки конфигурации и управления машиной могут быть выполнены через панель управления, последняя составляет интерфейс между оператором и машиной. По этой причине контрольная панель может быть также преимущественно образована в виде панели или монитора с сенсорным экраном, которые, с одной стороны, непрерывно показывают состояние машины и, с другой стороны, позволили бы оператору управлять ею посредством простого давления пальцев. Электронное контрольное устройство 58 взаимодействует с технологической линией, будучи соединенным с одной стороны со всеми устройствами обнаружения, такими как, например, устройствами отрыва бумаги, конца бобины, диаметра бобины и скорости подачи, и, с другой стороны, со всеми составными частями машины для регулирования ими.
Принцип работы машины заключается в следующем.
От питающего устройства 2 полоса бумаги 6 подается на станцию 60 для приема полосы бумаги и разрезания ее на листы, причем она приводится верхним и нижним приводными роликами 11, 11 на станцию для приема и разрезания бумаги.
Перед тем как достигает приводных роликов 11, 11 полоса бумаги подвергается вблизи ее боковых кромок биговке устройством с биговочным колесом 15. Цель этой операции биговки заключается в устранении эффекта адгезии также вследствие статического электричества, листов на частях машины, с которыми они будут приходить в контакт. Фотоэлемент, также расположенный позади по ходу от приводных роликов 11, 11, проверяет правильность подачи полосы 6 бумаги и, если это не так, прерывает работу машины. Непосредственно позади по ходу от приводных роликов 11, 11 выполнен контактный нож 25 для воздействия на полосу бумаги 6, которая продвигается на опорной поверхности 32, посредством команд, подаваемых с кодирующего устройства 17, через которое устанавливается заданная длина листа.
Отдельные листы снимаются станцией 61 для подачи листов и нанесения на листы ленты с двойной конвейерной ленты 27′, 27”, которая имеет скорость, несколько большую чем окружная скорость приводных роликов 11, 11, так, что листы могут подаваться вперед на двойной конвейерной ленте 27′, 27” несколько разнесенными друг от друга. Лента силиконового материала 38, на которую дозирующее устройство 40 предварительно наносит струю адгезивного вещества, наносится на верхнюю сторону листов, в стороне от их кромок. Как упомянуто выше, адгезивное вещество наносится на сторону ленты, предназначенную для приведения в контакт с листами. Адгезивное вещество не наносится вдоль всей длины ленты, и один ее участок поддерживается периодически свободным, при этом упомянутый участок соответствует расстоянию между одним листом и следующим, плюс небольшой отрезок, удобный для улучшения захвата ленты. Лента отрезается ножом 51 точно в конце каждого листа, то есть в нижнем конце, или в случае другого бумажного материала, такого как рулонная бумага, в конце этой рулонной бумаги. Затем двойная конвейерная лента 27′, 27” выдает отдельные листы, снабженные лентой силиконового материала, предпочтительно выступающей из одного его конца, и эти листы складываются в стопу 8 на лотке 54 вибрирующего листоподборочного устройства 4.
Понятно, что может быть сделано множество вариантов вышеописанной машины. Например, возможно дублировать или изменять положение, где наносится лента из неадгезивного, например силикона, материала и таким образом изготавливать листы, готовые для немедленного скрепления, которые могут быть соединены вместе в различных точках. Также возможно варьировать размер листов изменением диаметра колеса, связанного с кодирующим устройством, которое выдает команды для приведения в действие ножа для разрезания полосы бумаги на листы. Очевидно, что ширина листов может также варьироваться установкой рулона различной высоты и конвейерных лент различной ширины.
Альтернативно, регулировки для изменения формата листов могут управляться специально разработанной электронной системой, которая взаимодействует со средствами для управления компонентами машины. Таким образом время, требуемое для настройки машины, уменьшается и механические операции для замены компонентов и для ручного регулирования их установкой не требуются.
Несмотря на то, что не все компоненты машины были проиллюстрированы в приведенном выше описании, специалист в данной области с очевидностью поймет, какие приспособления и устройства являются важными для ее функционирования. Они включают счетчики листов, такие как счетчик, сбрасываемый после каждой операции, основной сбрасываемый счетчик и несбрасываемый постоянный основной счетчик. Последний является особенно полезным для определения необходимости в ремонте и для определения технологических показателей, полезных, например, для изготовления, осуществляемого на основании франчайзинга или в различных местонахождениях.
Те же самые машины, описанные выше для нанесения полоски адгезивного вещества на отдельные листы, могут быть использованы с незначительными модификациями, для нанесения полоски адгезивного вещества также на рулонную бумагу. В случае двух ножей нож для листов бумаги в станции 60 должен быть удален, а нож для ленты силиконового материала в секции 61 должен функционировать так, чтобы отрезать только конец рулонной бумаги.
Формула изобретения
1. Машина для изготовления листов, готовых для немедленного скрепления, имеющих полоску адгезивного вещества вдоль одной из их кромок и полоску силиконового материала, расположенную с возможностью отклеивания на полоске адгезивного вещества, при этом листы состоят из бумажного материала в виде отдельных листов или в виде полосы, такой как рулонная бумага, снабженная поперечными линиями с заданным ослаблением, отличающаяся тем, что она содержит вдоль по меньшей мере одной своей технологической линии по меньшей мере один аппликатор для нанесения неадгезивной ленты на бумажный материал, непрерывно продвигающейся вдоль плоскости подачи, причем упомянутый по меньшей мере один аппликатор содержит: вращающийся лентодержащий барабан в положении, расположенном над непрерывно продвигающимся бумажным материалом; средство, которое определяет путь перемещения для движения к непрерывно продвигаемому бумажному материалу, содержащее ролики и направляющие ленту шкивы; устройство дозирования жидкого адгезивного вещества, подаваемого из резервуара, оснащенного насосным устройством для нанесения адгезивного вещества в виде контролируемой струи на сторону ленты, которая должна быть приведена в контакт с бумажным материалом, на заданной длине; прижимной узел, включающий симметрично относительно плоскости подачи бумажного материала нижний приводной ролик, расположенный снизу бумажного материала, и прижимной ролик, консольно установленный выше в контакте с нижним приводным роликом, с расположением между ними несущей адгезивное вещество ленты и бумажного материала так, чтобы заставлять ленту приклеиваться к продвигающемуся бумажному материалу.
2. Машина по п.1, отличающаяся тем, что аппликатор для нанесения неадгезивной ленты на бумажный материал также содержит нож ленты, который может быть активирован на конце продвигающегося бумажного материала.
3. Машина по п.1, отличающаяся тем, что она также содержит пару из верхнего и нижнего приводных роликов, способных приводить бумажный материал в виде полосы вдоль плоскости его подачи, подаваемый с рулона, расположенного внутри питающего устройства.
4. Машина по п.3, отличающаяся тем, что она также содержит кодирующее устройство, связанное с колесом, вращающимся синхронно с приводными роликами, при этом упомянутое колесо имеет окружность с длиной равной заданной высоте листов, и контактный нож для выполнения разрезания в листах, расположенных над зоной, где проходит полоса бумажного материала, и приводимый в движение посредством кодирующего устройства.
5. Машина по п.4, отличающаяся тем, что она также содержит две конвейерных ленты, одну верхнюю и одну нижнюю, которые расположены зеркально-симметрично относительно плоскости подачи бумажного материала в виде листов, позади по ходу от контактного ножа и приводных роликов, причем указанная плоскость является копланарной с горизонтальной плоскостью подачи бумаги в виде полосы, при этом конвейерные ленты имеют поперечную ширину меньшую, чем ширина транспортируемых листов, и скорость большую, чем окружная скорость приводных роликов.
6. Машина по п.1, отличающаяся тем, что она содержит так называемые вакуумные ленты для подачи бумажного материала в виде листов.
7. Машина по любому из предшествующих пунктов, отличающаяся тем, что она содержит биговочное колесо для бумажного материала.
8. Машина по любому из пп.1-6, отличающаяся тем, что она содержит фотоэлемент для управления подачей бумажного материала.
9. Машина по любому из пп.1-6, отличающаяся тем, что она также содержит электронное контрольное устройство и панель управления для ввода заданных параметров.
10. Машина по любому из пп.1-6, отличающаяся тем, что она также содержит устройство для подборки готового продукта.
11. Машина по любому из пп.1-6, отличающаяся тем, что она также содержит одноступенчатое устройство для подборки готового продукта.
12. Машина по любому из пп.1-6, отличающаяся тем, что также содержит многоступенчатое устройство для подборки готового продукта.
13. Машина по любому из пп.1-6, отличающаяся тем, что она содержит вдоль производственной линии два или более каналов с по меньшей мере одним устройством для подборки готового продукта в конце каждого канала.
14. Машина по любому из пп.1-6, отличающаяся тем, что упомянутая неадгезивная лента состоит из силиконового материала.
15. Машина по любому из пп.1-6, отличающаяся тем, что упомянутая неадгезивная лента состоит из полиэфира.
РИСУНКИ
|
|