|
|
(21), (22) Заявка: 2007140466/11, 31.10.2007
(24) Дата начала отсчета срока действия патента:
31.10.2007
(46) Опубликовано: 10.05.2009
(56) Список документов, цитированных в отчете о поиске:
SU 1830371 A1, 30.07.1993. SU 442976 A, 25.11.1974. RU 2145301 C1, 10.02.2000. SU 125759 A, 01.01.1960. JP 11059866 A, 02.03.1999.
Адрес для переписки:
199106, Санкт-Петербург, В.О., 21 линия, 2, СПГГИ(ТУ), патентный отдел
|
(72) Автор(ы):
Тарасов Юрий Дмитриевич (RU)
(73) Патентообладатель(и):
Государственное образовательное учреждение высшего профессионального образования “Санкт-Петербургский государственный горный институт имени Г.В. Плеханова (технический университет)” (RU)
|
(54) ЗАТВОР ДЛЯ РУДОСПУСКА
(57) Реферат:
Затвор для рудоспуска содержит размещенные под выпускным отверстием два закрепленных на кривошипах днища с возможностью их поворота в вертикальной плоскости в противоположные стороны относительно горизонтальных осей. Оси размещены с наружных сторон вертикальных стенок патрубка и параллельно им. Кинематическая связь между упомянутыми кривошипами выполнена в виде других кривошипов, свободные концы которых соединены со штоками двух силовых цилиндров, ориентированных горизонтально. Эти силовые цилиндры выполнены с двумя штоками и с возможностью поворота кривошипов упомянутой кинематической связи в разные стороны. В исходном положении при открытом затворе кривошипы днищ ориентированы горизонтально, а кривошипы упомянутой кинематической связи со стенками патрубка образуют угол 45 градусов. Внутри патрубка на уровне осей и параллельно им закреплен двухскатный козырек, перекрывающий в плане торцевые кромки днищ при закрытом затворе. На каждом кривошипе днищ закреплены два консольных штыря с возможностью их свободного размещения в отверстиях контргруза, который опирается на кривошип днища через размещенные на штырях сменные втулки. Изобретение обеспечивает повышение надежности работы затвора. 4 з.п. ф-лы, 7 ил.
Изобретение относится к вспомогательному транспортному оборудованию, а именно к затворам, и предназначено для использования преимущественно для перекрытия выпускных отверстий рудоспусков для мелко- и среднекусковой горной массы на горных предприятиях, а также может быть использовано для выпуска кускового груза из бункеров и складов.
Известен челюстной затвор (прототип), который может быть использован для перекрытия выпускного отверстия рудоспуска, содержащий размещенные под выпускным отверстием перегрузочного устройства два кривошипа в виде секторов с закрепленными на них цилиндрическими днищами, с возможностью их поворота в вертикальной плоскости в противоположные стороны относительно установленных на патрубке горизонтальных полуосей, а сектора кинематически связаны между собой и снабжены приводом (SU 1830371 А, опубл. 30.07.1993 г.).
Недостатками известного затвора являются ограниченная величина выпускного отверстия, которое может быть перекрыто затвором, и возможность заклинивания отдельных кусков транспортируемой горной массы как между самими секторами, так и смыкающимися кромками их цилиндрических днищ.
Техническим результатом изобретения является повышение надежности работы затвора при выпуске горной массы через выпускное отверстие рудоспуска увеличенных размеров и устранение возможности заклинивания отдельных кусков разгружаемого горной массы между цилиндрическими днищами и удерживающими их кривошипами.
Технический результат достигается тем, что в затворе для рудоспуска, содержащем размещенные под выпускным отверстием два закрепленных на кривошипах днища, образующих дугу и установленных с возможностью их поворота в вертикальной плоскости в противоположные стороны относительно горизонтальных осей, размещенных с наружных сторон вертикальных стенок патрубка, причем кривошипы кинематически связаны между собой, и силовой цилиндр, согласно изобретению оси размещены параллельно упомянутым стенкам патрубка, днища консольно закреплены на кривошипах и имеют длину дуги, соответствующую прямому углу с направлением свободных концов днищ вовнутрь патрубка, затвор снабжен вторым силовым цилиндром, а кинематическая связь между упомянутыми кривошипами выполнена в виде закрепленных на упомянутых осях других кривошипов, свободные концы которых соединены со штоками упомянутых двух силовых цилиндров, ориентированных горизонтально и размещенных с зазорами относительно двух других стенок патрубка, при этом силовые цилиндры выполнены с двумя штоками и с возможностью поворота кривошипов упомянутой кинематической связи в разные стороны, при этом в исходном положении при открытом затворе кривошипы днищ ориентированы горизонтально, а кривошипы упомянутой кинематической связи со стенками патрубка образуют угол 45 градусов, причем внутри патрубка на уровне осей и параллельно им закреплен двухскатный козырек, перекрывающий в плане торцевые кромки днищ при закрытом затворе, на каждом кривошипе закреплены нормально ориентированные к нему и направленные в сторону, противоположную от днища, два консольных штыря с возможностью их свободного размещения в отверстиях контргруза, который опирается на кривошип днища через размещенные на штырях сменные втулки, а с противоположной стороны контргруз зафиксирован гайками, размещенными на нарезанных концах штырей, при этом минимальная высота сменных втулок принята больше величины удаления оси кривошипа от внутренней поверхности стенки патрубка.
Штыри на кривошипе могут быть размещены на расстоянии от его оси, равном радиусу днища. Штыри на кривошипе могут быть размещены на расстоянии от его оси, большем радиуса днища. Контргруз может иметь форму прямоугольного параллелепипеда. Сменные втулки могут быть выполнены со щелевым вырезом по образующей цилиндрической поверхности при ширине выреза больше диаметра штыря.
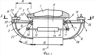
Затвор для рудоспуска показан на фиг.1 – вид сбоку при открытом затворе, на фиг.2 – вертикальный разрез при закрытом затворе, на фиг.3 – разрез А-А по фиг.1, на фиг.4 – вид сбоку при открытом затворе для варианта с размещением контргруза на увеличенном радиусе, на фиг.5 – продольный разрез по штырю, на фиг.6 – разрез Б-Б по фиг.5, на фиг.7 – то же, для втулки со щелевым вырезом.
Затвор содержит размещенные под выпускным отверстием 1 рудоспуска 2 два закрепленных на кривошипах 3 и 4 цилиндрических днища 5 и 6 с возможностью их поворота в вертикальной плоскости в противоположные стороны относительно горизонтальных осей 7 и 8. Оси 7 и 8 размещены с наружных сторон вертикальных стенок патрубка 9 и параллельно им. Цилиндрические днища 5 и 6 на кривошипах 3 и 4 закреплены консольно с длиной дуги, соответствующей прямому углу и с направлением свободных концов днищ 5 и 6 вовнутрь патрубка 9. Кинематическая связь между кривошипами 3 и 4 выполнена в виде закрепленных на осях 7 и 8 других кривошипов 10 и 11. Свободные концы кривошипов 10 и 11 соединены со штоками 12 и 13 двух силовых цилиндров 14, которые выполнены с двумя штоками.
Силовые цилиндры 14 ориентированы горизонтально и размещены с зазорами относительно двух других стенок патрубка 9. В исходном положении при открытом затворе кривошипы 3 и 4 ориентированы горизонтально, а другие кривошипы 10 и 11 со стенками патрубка 9 образуют угол =45 градусов.
Внутри патрубка 9 на уровне осей 7 и 8 и параллельно им закреплен двухскатный козырек 15 (фиг.2 и 3), перекрывающий в плане торцевые кромки цилиндрических днищ 5 и 6 при закрытом затворе. Двухскатный козырек 15 размещен с пересечением оси симметрии 16 патрубка 9. R – радиус кривошипа, r – радиус дополнительного кривошипа, В – ширина выпускного отверстия патрубка, -удаление оси кривошипа от внутренней поверхности стенки патрубка.
На каждом кривошипе 3, 4 закреплены нормально ориентированные к нему и направленные в сторону, противоположную от цилиндрического днища 5, 6, два консольных штыря 17 и 18. Штыри 17 и 18 закреплены с возможностью их свободного размещения в отверстиях контргруза 19, который имеет форму прямоугольного параллелепипеда.
Контргруз 19 опирается на кривошипы 3, 4 через размещенные на штырях 17, 18 сменные втулки 20 и 21. С противоположной стороны контргруз 19 фиксирован гайками 22 и 23, размещенными на нарезанных концах штырей 17 и 18. При этом минимальная высота сменных втулок 20 и 21 принята больше величины удаления оси кривошипа 3, 4 от внутренней поверхности стенки патрубка 9.
Штыри 17 и 18 на кривошипе 3, 4 могут быть размещены на расстоянии от его оси 7, 8, равном радиусу R цилиндрического днища 5, 6. Штыри 17 и 18 на кривошипе 3, 4 могут быть размещены на расстоянии R0 от его оси 7, 8, большем радиуса R цилиндрического днища 5, 6. Сменные втулки 20 и 21 могут быть выполнены со щелевым вырезом 24 по образующей цилиндрической поверхности при ширине выреза 24 больше диаметра штырей 17 и 18.
Кривошипы 3, 4 и цилиндрические днища 5, 6 выполнены с ребрами жесткости 25, 26 и 27, 28.
Затвор для рудоспуска действует следующим образом. При открытом затворе кривошипы 3 и 4 с закрепленными на них цилиндрическими днищами 5 и 6 занимают горизонтальное положение. Это положение соответствует максимально выдвинутым из силовых цилиндров 14 штокам 12 и 13 и размещению других кривошипов 10 и 11 под углом =45 градусов к вертикальным стенкам патрубка 9. Благодаря этому горная масса свободно разгружается из рудоспуска 2 через его выпускное отверстие 1.
Для закрытия затвора и перекрытия выпускного отверстия 1 рудоспуска 2 включают силовые цилиндры 14, при этом их выдвигаемые штоки 12 и 13 поворачивают в разные стороны кривошипы 10 и 11. При повороте кривошипов 10 и 11 вместе с ними поворачиваются оси 7 и 8, а вместе с ними поворачиваются на прямой угол навстречу друг другу и закрепленные на них кривошипы 3 и 4 с цилиндрическими днищами 5 и 6.
При этом за счет крутящих моментов, создаваемых контргрузами 19 и направленных в сторону патрубка 9, на всей дуге поворота кривошипов 3, 4 с цилиндрическими днищами 5 и 6 свободные кромки цилиндрических днищ дополнительно прижимаются к пересекаемой ими толще горной массы, разгружая силовые цилиндры 14.
Благодаря этому рабочие усилия на штоках 12 и 13 силовых цилиндров 14 существенно уменьшаются. За счет этого может быть соответственно уменьшен диаметр силовых цилиндров 14 и их прочные размеры и масса, а также повышается надежность перекрытия выпускного отверстия 1 затвора.
В положении, соответствующем вертикальному расположению кривошипов 3 и 4 с возможным их примыканием к стенкам патрубка 9, штоки 12 и 13 полностью вдвигаются в силовые цилиндры 14, которые выключаются. Цилиндрические днища 5 и 6, пересекая поток разгружаемой из рудоспуска 2 горной массы своими свободными кромками, к этому моменту оказываются под двухскатным козырьком 15, обеспечивая полное перекрытие выпускного отверстия 1 рудоспуска 2 и прекращение выпуска из него горной массы.
Для открытия затвора с обеспечением выпуска горной массы из рудоспуска штоки 12 и 13 силовых цилиндров 14 перемещают в обратном направлении, благодаря чему цилиндрические днища 5 и 6 выводятся за пределы патрубка 9. При этом силовые цилиндры 14 дополнительно нагружаются за счет крутящих моментов, создаваемых контргрузами 19. Однако за счет того, что при открытии затвора не происходит пересечения горной массы свободными кромками цилиндрических днищ 5 и 6, суммарная нагрузка на штоки 12 и 13 силовых цилиндров 14 оказывается не больше нагрузки на них при открытии затвора. Поэтому выполнение затвора с контргрузами 19 на кривошипах 3, 4 с соответствующей ориентацией штырей 17 и 18 относительно кривошипов 3, 4 позволяет рационально использовать нагрузочные возможности силовых цилиндров 14.
Благодаря тому, что при выпуске горной массы через затвор и в процессе перекрытия выпускного отверстия 1 выгружаемая из рудоспуска 2 горная масса раздваивается на два потока двухскатным козырьком 15, существенно снижаются сопротивления, оказываемые горной массой при ее пересечении цилиндрическими днищами 5 и 6. Более того, непосредственно под козырьком 15 оказывается свободная от горной массы зона, исключающая возможность заклинивания отдельных ее кусков между цилиндрическими днищами 5 и 6. Кроме того, за счет того, что консольно закрепленные на кривошипах 3 и 4 цилиндрические днища 5 и 6 в процессе пересечения потока горной массы смещаются с минимальными зазорами относительно неподвижных стенок патрубка 9, сопротивление их движения также дополнительно снижается по сравнению с затвором-прототипом, т.к. с горной массой взаимодействуют только передние свободные кромки цилиндрических днищ 5 и 6.
Сменные втулки 20 и 21 позволяют регулировать величину крутящего момента, создаваемого контргрузом 19, и величину усилия воздействия свободных кромок цилиндрических днищ 5 и 6 на горную массу при закрытии затвора за счет выбора втулок большей высоты.
Наличие двухскатного козырька 15 снижает также нагрузки на конструктивные элементы затвора в его закрытом состоянии. Конструкция затвора позволяет при заданных размерах поперечного сечения (В) его патрубка 9 обеспечить размещение силовых цилиндров 14 соответствующих размеров, позволяющих в свою очередь перекрывать патрубок 9 увеличенных размеров с помощью консольно закрепленных на кривошипах 3 и 4 цилиндрических днищ 5 и 6 также увеличенных размеров. Нагрузка (напряжения в элементах) от изгибающих моментов, действующих на кривошипы 3 и 4 и на цилиндрические днища 5 и 6, снижается за счет соответствующих ребер жесткости 25, 26 и 27, 28.
Использование сменных втулок 20 и 21 со щелевыми вырезами 24 позволяет снизить трудоемкость работ при замене втулок в процессе регулирования параметров затвора.
Отличительные признаки изобретения позволяют повысить надежность работы затвора при выпуске горной массы через выпускное отверстие рудоспуска увеличенных размеров и устранить возможность заклинивания отдельных кусков разгружаемой горной массы между цилиндрическими днищами и удерживающими их кривошипами.
Формула изобретения
1. Затвор для рудоспуска, содержащий размещенные под выпускным отверстием два закрепленных на кривошипах днища, образующих дугу и установленных с возможностью их поворота в вертикальной плоскости в противоположные стороны относительно горизонтальных осей, размещенных с наружных сторон вертикальных стенок патрубка, причем кривошипы кинематически связаны между собой, и силовой цилиндр, отличающийся тем, что оси размещены параллельно упомянутым стенкам патрубка, днища консольно закреплены на кривошипах и имеют длину дуги, соответствующую прямому углу с направлением свободных концов днищ внутрь патрубка, затвор снабжен вторым силовым цилиндром, а кинематическая связь между упомянутыми кривошипами выполнена в виде закрепленных на упомянутых осях других кривошипов, свободные концы которых соединены со штоками упомянутых двух силовых цилиндров, ориентированных горизонтально и размещенных с зазорами относительно двух других стенок патрубка, при этом силовые цилиндры выполнены с двумя штоками и с возможностью поворота кривошипов упомянутой кинематической связи в разные стороны, при этом в исходном положении при открытом затворе кривошипы днищ ориентированы горизонтально, а кривошипы упомянутой кинематической связи со стенками патрубка образуют угол 45 градусов, причем внутри патрубка на уровне осей и параллельно им закреплен двухскатный козырек, перекрывающий в плане торцевые кромки днищ при закрытом затворе, на каждом кривошипе днищ закреплены нормально ориентированные к нему и направленные в сторону противоположную от днища два консольных штыря с возможностью их свободного размещения в отверстиях контргруза, который опирается на кривошип днища через размещенные на штырях сменные втулки, а с противоположной стороны контргруз зафиксирован гайками, размещенными на нарезанных концах штырей, при этом минимальная высота сменных втулок принята больше величины удаления оси кривошипа от внутренней поверхности стенки патрубка.
2. Затвор по п.1, отличающийся тем, что штыри на кривошипе размещены на расстоянии от его оси, равном радиусу днища.
3. Затвор по п.1, отличающийся тем, что штыри на кривошипе размещены на расстоянии от его оси, большем радиуса днища.
4. Затвор по п.1, отличающийся тем, что контргруз имеет форму прямоугольного параллелепипеда.
5. Затвор по п.1, отличающийся тем, что сменные втулки выполнены со щелевым вырезом по образующей цилиндрической поверхности при ширине выреза больше диаметра штыря.
РИСУНКИ
|
|