|
(21), (22) Заявка: 2007136371/11, 01.10.2007
(24) Дата начала отсчета срока действия патента:
01.10.2007
(46) Опубликовано: 10.05.2009
(56) Список документов, цитированных в отчете о поиске:
Пономарев А.Н. Пилотируемые космические корабли. – М.: Воениздат, 1968, с.132-135. JP 2000247300 А, 12.09.2000. UA 24368U А, 25.06.2007. RU 2207289 C2, 27.06.2003. RU 2222459 C1, 27.01.2004.
Адрес для переписки:
443115, г.Самара, а/я 4783, С.Е.Варламову
|
(72) Автор(ы):
Варламов Сергей Евгеньевич (RU), Дурнева Юлия Маратовна (RU), Болотин Николай Борисович (RU)
(73) Патентообладатель(и):
Варламов Сергей Евгеньевич (RU), Дурнева Юлия Маратовна (RU), Болотин Николай Борисович (RU)
|
(54) УСТАНОВКА ДЛЯ ЗАПУСКА РАКЕТ С ЛУНЫ И СПОСОБ ПОДГОТОВКИ РАКЕТЫ К ЗАПУСКУ
(57) Реферат:
Изобретение относится к ракетно-космической технике. Установка для запуска ракеты с Луны включает основание платформы, установленное на лунном грунте. Установка снабжена мачтой обслуживания, пусковьм столом с отверстием для выхода выхлопных газов и газоотражателем под ним, герметичным контейнером для сборки и хранения ракеты в горизонтальном положении, к которому с торцов подсоединены входной и выходной шлюзы с двумя воротами каждый. К контейнеру и шлюзам подсоединены трубопроводы подвода воздуха от источника сжатого воздуха и дренажные трубопроводы с дренажными клапанами. Способ подготовки ракеты к запуску с Луны включает сборку в горизонтальном положении, подъем в вертикальное положение и установку на пусковой стол. Каждую ступень ракеты транспортируют на платформу на отдельных секциях, которые сгружают и транспортируют через входной шлюз в герметичный контейнер. Соединяют между собой в транспортную тележку, соединяют ступени ракеты. Через выходной шлюз вывозят ракету к стартовому столу и осуществляют подъем ракеты вместе с тележкой. После установки ракеты в вертикальное положение тележку опускают. Достигается уменьшение тяговооруженности ракет для дальних полетов при старте, уменьшение расхода топлива на полет и ускорение запуска ракеты. 2 н. и 7 з.п. ф-лы, 8 ил.
Изобретение относится к технике запуска ракет-носителей с Луны для межпланетных и межзвездных полетов.
Изобретение позволяет повысить надежность запуска ракеты-носителя с Луны за счет уменьшения необходимого импульса тяги двигателей для межпланетных и межзвездных перелетов, уменьшения воздействия на конструктивные элементы и оборудование платформы газодинамической струи двигателей ракеты.
Известны многочисленные способы и устройства запуска ракет с морских судов, подводных лодок и морских платформ. Если морская платформа установлена на экваторе или вблизи от него, то это позволяет уменьшить расход топлива на старте ракеты за счет использования окружной составляющей вращения Земли.
Также известна платформа для запуска ракет с морских плавсредств по патенту РФ 2131375, которая содержит пусковой стол с газоотражателем, установленным на основании платформы. Под столом размещено пневматическое средство для отрыва ракеты от пускового стола на первоначальном этапе запуска.
Несмотря на то, что задачей создания этого изобретения было уменьшение времени воздействия газодинамической струи двигателей ракеты на основание платформы, время воздействия составило 1,6 с, что недопустимо по условиям безопасности. Это время должно быть предельно сокращено, т.к. воздействие на оборудование платформы высокотемпературных продуктов сгорания и перегретого пара, образовавшегося при испарении морской воды, может привести к его повреждению или сокращению ресурса работы.
Известен способ запуска ракет весом до 100 т, разработанных на базе баллистических ракет подводных лодок, при котором запуск осуществляют из шахт подводных лодок (ПЛ), Российское ракетное оружие, 1943-1993. Справочник под редакцией Карпенко А.В. – СПб.: ПИКА Ltd, 1993. В известном способе запуска осуществляют разгон РН в шахте ПЛ с помощью поршневой силы, создаваемой пусковым устройством, а после выхода ракеты из шахты включают зажигание двигателей первой ступени.
Известен способ запуска ракеты, и устройство для его реализации с подводных лодок по патенту США N 3182554, НКИ 89-1.7, 1965 г. В известном способе ракету, центрированную относительно пусковой трубы стартовой шахты ПЛ, разгоняют в пусковой трубе с помощью парогазовой смеси, образующейся при прохождении выхлопной струи газов заряда твердого топлива через водяную камеру. Парогазовую смесь подают в нижнюю часть трубы под обтюратор ракеты. После выхода ракеты из воды включают зажигание двигателей ракеты.
Недостатком известных устройств является то, что они предполагают относительно высокие жесткостно-прочностные характеристики ракет. При этом эти ракеты могут доставить на орбиту высотой 200 км лишь 0,1-0,43 т полезной нагрузки, т.е. их возможности в данном смысле ограничены.
Известно устройство для запуска ракет с поверхности земли или из шахты, находящейся на земле по патенту РФ на изобретение 2242411.
Этот комплекс содержит центр управления запуском, башню обслуживания и другое оборудование, в том числе трубопроводы подачи воздуха для обеспечения тепловых режимов отсеков и блоков ракеты-носителя и космического аппарата. При этом комплекс снабжен системой мониторинга параметров воздуха, подаваемого по указанным трубопроводам. Данная система включает в себя расположенные на площадках башни обслуживания термоконтейнеры. Внутри каждого из них установлены блок контроля температуры и влажности и оптико-электронный аэрозольный счетчик. Блок и счетчик связаны, соответственно, через датчики температуры и влажности и пробоотборное устройство с указанными трубопроводами подачи воздуха. В помещении оператора установлена персональная ЭВМ, связанная с аппаратурой указанных термоконтейнеров через устройства сопряжения. К этой ЭВМ подключены монитор, принтер и источник бесперебойного питания с сетевым фильтром. Все составные части системы мониторинга соединены между собой кабельными линиями.
Известный способ запуска для ракет, которых отличает высокая тяговооруженность на старте с земли, что связано с преодолением силы притяжения земли и большого аэродинамического сопротивления атмосферы, что обуславливает протяженное во времени газодинамическое воздействие газопламенной струи на стартовую площадку, что объективно понижает надежность запуска ракет в этих условиях и приводит к большому расходу топлива. Прежде всего, это происходит из-за нарушения динамического равновесия системы, включающей судно и ракету, с момента включения зажигания двигателей первой ступени и до отрыва ракеты от пускового стола. При этом наиболее критичным является момент отрыва ракеты от пускового стола, т.е. момент когда скорость ракеты минимальная, а реакция на нарастающий газодинамический обдув газоотражателя приближается к максимуму. Все это увеличивает степень технического риска при запуске ракеты, следовательно, понижает его надежность.
Известна установка для запуска ракеты с Луны по книге А.Н. Пономарев. Пилотируемые космические корабли. М.: Воениздат, 1968, с.132-135, прототип устройства.
Известен также способ подготовки ракеты к запуску по патенту 2207289, прототип способа. Способ включает сборку ракеты в горизонтальном положении, подъем в вертикальное вместе с тележкой.
Недостатками устройства и способа является то, что они применимы только для наземного базирования таких комплексов, в лучшем случае на берегу небольшого водоема: речки или озера.
Задачи создания изобретения – уменьшение тяговооруженности ракет для дальних полетов при старте, уменьшение расхода топлива на полет, ускорение запуска ракеты и уменьшение вредного влияния газовой струи на конструкцию и оборудование платформы.
Решение указанной задачи достигнуто за счет того, что установка для запуска ракет с Луны включает основание платформы, установленное на лунном грунте, контейнер для хранения ракеты в горизонтальном положении, мачту обслуживания и пусковой стол с отверстием для выхода выхлопных газов и газоотражателем под ним, при этом контейнер для хранения ракеты в горизонтальном положении выполнен герметичным и многосекционным, к нему с обоих торцов подсоединены два герметичных шлюза: входной и выходной, каждый с двумя герметичными воротами, к контейнеру и шлюзам подсоединены трубопроводы подвода воздуха от источника сжатого воздуха и дренажные трубопроводы с дренажными клапанами. Под пусковым столом ниже отверстия для выхлопных газов установлен откатной пол и выполнены траншеи для отвода выхлопных газов. Траншеи выполнены взаимно перпендикулярно и под углом 45° к контейнеру для горизонтального хранения ракеты. Транспортная тележка выполнена из отдельных секций по числу ступеней ракеты, которые после стыковки образуют транспортную тележку. Транспортная тележка выполнена с возможностью состыковки с пусковым столом при помощи шарнира. Подъемное устройство выполнено в виде лебедки, расположенной на основании платформы, соединенной через блок, установленный на мачте с транспортной тележкой. Мачта выполнена с возможностью отклонения от вертикального положения при запуске ракеты. Каждую ступень ракеты транспортируют на платформу на отдельных секциях, которые сгружают, транспортируют через входной шлюз в контейнер, внутри которого соединяют между собой в транспортную тележку, потом соединяют ступени ракеты, через выходной шлюз вывозят ракету к стартовому столу и осуществляют подъем ракеты вместе с тележкой, которую после установки ракеты в вертикальное положение опускают. Перед запуском ракеты сдвигают откатной пол.
Предложенное техническое решение обладает новизной, изобретательским уровнем и промышленной применимостью.
Новизна подтверждается проведенными патентными исследованиями.
Сущность изобретения поясняется на чертежах фиг, 1…6, где:
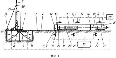
на фиг.1 приведена разгрузка ступени ракеты на платформу для запуска ракет с Луны,
на фиг.2 – ракета в контейнере для хранения в горизонтальном положении,
на фиг.3 – начало операции подъема ракеты,
на фиг.4 – завершение операции подъема ракеты,
на фиг.5 – операция опускания транспортной тележки,
на фиг.6 – операция ракета готова к запуску,
на фиг.7 – запуск ракеты с поверхности Луны,
на фиг.8 – разрез по А-А на фиг.7.
Предложена установка (фиг.1 7) для запуска ракет 1 с Луны, состоящих, в свою очередь из одной или нескольких ступеней 2, содержит основание платформы 3, закрепленное на лунном грунте 4. На основании платформы 3 установлен пусковой стол 5 и контейнер для хранения ракеты в горизонтальном положении 6. Рядом с пусковым столом 5 расположена мачта обслуживания 7. В основании платформы 3 под пусковым столом 5 выполнено отверстие «Б», под ним откатной пол 8 и газоотражатель 9, установленный ниже уровня основания платформы 3 в центре пересечения траншей «В», выполненных в лунном грунте 4. Газоотражатель 9 выполнен в виде многогранной пирамиды. Контейнер для хранения ракеты в горизонтальном положении 6 выполнен герметичным, к обоим его торцам присоединены входной и выходной шлюзы 10 и 11 соответственно. Шлюзы 10 и 11 оборудованы герметичными воротами 12…15. К внутренним полостям контейнера для горизонтального хранения ракеты «Г» и шлюзов «Д» и «Е» подсоединены трубопроводы подвода воздуха 16 с запорными клапанами 17 от емкости 18. К полостям «Г», «Д» и «Е» подсоединены дренажные клапаны 19.
До запуска ракета 1 находится внутри контейнера для хранения ракеты в горизонтальном положении 6 на транспортной тележке 20. Транспортная тележка 20 выполнена из отдельных секций 21 и содержит колеса 22 и шарнир 23 для стыковки с пусковым столом 5. С транспортной тележкой 20 соединен подъемный механизм 24, например лебедка, трос 25, который через блок 26, установленный в верхней части мачты обслуживания 7, может быть соединен с транспортной тележкой 20 для ее подъема.
Конструкция газоотражателя 9 может быть любой в рамках формулы изобретения, описания и чертежей, возможно выполнение граней вогнутыми (фиг.1)
Запорные клапаны 17 и дренажные клапаны 19 посредством электрических связей 27 соединены с боком управления 28.
Ракета 1 транспортируется ступенями 2 на транспортных ракетах с земли на Луну и далее по лунной поверхности 4 в горизонтальном положении на отдельных секциях 21 тележки 20. Через входной шлюз 10 ступень 2 ракеты 1 транспортируется в контейнер для хранения ракеты в горизонтальном положении 6 (фиг.1).
После доставки внутрь контейнера для хранения ракеты в горизонтальном положении 6 всех ступеней 2 ракеты 1 отдельные секции 21 тележки 20 соединяют между собой, после чего соединят ступени 2 ракеты 1 и проверяют работу всех систем в горизонтальном положении. Непосредственно перед запуском ракету 1 на транспортной тележке 20 через выходной шлюз 11 транспортируют в сторону пускового стола 5.
Для этого при помощи дренажных клапанов 19 сбрасывают воздух из полостей «Г» и «Д». Выкатывают тележку 20 с ракетой 1 непосредственно к пусковому столу 5. Осуществляют подъем ракеты 1 вместе с транспортной тележкой 20 при помощи подъемного механизма 24. После установки ракеты 1 в вертикальное положение транспортную тележку 20 опускают и ее откатывают от пускового стола 5. Ракету 1 заправляют компонентами топлива и повторно проверяют ее оборудование. Откатной пол 8 сдвигают в сторону и открывают отверстие «Б». Мачты обслуживания 7 отклоняют от вертикального положения для того, чтобы их сохранить для повторного запуска ракеты.
При запуске ракеты 1 образовавшаяся газовая струя попадает в отверстие «Б» и далее на газоотражатель 9. Выхлопные газы отводятся в сторону по траншеям «В».
Применение изобретения позволило:
1. Обеспечить удобство длительного хранения и подготовки ракеты в горизонтальном положении, исключив влияние на ее конструкцию метеоритов и лунной пыли.
2. Облегчить и ускорить перевод ракеты в вертикальное положение с минимальными затратами времени и средств за счет компактного размещения оборудования.
3. Уменьшить вредное воздействие выхлопных газов ракеты при старте на оборудование, в том числе предотвратить разрушение контейнера для горизонтального хранения ракеты, транспортной тележки и платформы за счет отвода выхлопных газов через траншеи, выполненные под основанием платформы.
4. Создать комфортные условия для обслуживающего персонала.
Формула изобретения
1. Установка для запуска ракеты с Луны, которая включает основание платформы, установленное на лунном грунте, отличающаяся тем, что установка снабжена мачтой обслуживания, пусковым столом с отверстием для выхода выхлопных газов и газоотражателем под ним, герметичным контейнером для сборки и хранения ракеты в горизонтальном положении, к которому с торцов подсоединены входной и выходной шлюзы, с двумя воротами каждый, при этом к контейнеру и шлюзам подсоединены трубопроводы подвода воздуха от источника сжатого воздуха и дренажные трубопроводы с дренажными клапанами.
2. Установка для запуска ракеты с Луны по п.1, отличающаяся тем, что под пусковым столом ниже отверстия для выхлопных газов установлен откатной пол и выполнены траншеи для отвода выхлопных газов.
3. Установка для запуска ракеты с Луны по п.1 или 2, отличающаяся тем, что траншеи выполнены взаимно перпендикулярно и под углом 45° к контейнеру для горизонтального хранения ракеты.
4. Установка для запуска ракеты с Луны по п.1 или 2, отличающаяся тем, что транспортная тележка выполнена из отдельных секций по числу ступеней ракеты, которые после стыковки образуют транспортную тележку.
5. Установка для запуска ракеты с Луны по п.1 или 2, отличающаяся тем, что транспортная тележка выполнена с возможностью состыковки с пусковым столом при помощи шарнира.
6. Установка для запуска ракеты с Луны по п.5, отличающаяся тем, что подъемное устройство выполнено в виде лебедки, расположенной на основании платформы, соединенной через блок, установленный на мачте, с транспортной тележкой.
7. Установка для запуска ракеты с Луны по п.1 или 2, отличающаяся тем, что мачта выполнена с возможностью отклонения от вертикального положения при запуске ракеты.
8. Способ подготовки ракеты к запуску с Луны, заключающийся в том, что ракету собирают в горизонтальном положении, поднимают в вертикальное положение и устанавливают на пусковой стол, при этом каждую ступень ракеты транспортируют на платформу на отдельных секциях, которые сгружают и транспортируют через входной шлюз в герметичный контейнер, внутри которого соединяют между собой в транспортную тележку, а затем соединяют ступени ракеты, через выходной шлюз вывозят ракету к стартовому столу и осуществляют подъем ракеты вместе с тележкой, которую после установки ракеты в вертикальное положение опускают.
9. Способ по п.8, отличающийся тем, что перед запуском ракеты сдвигают откатной пол.
РИСУНКИ
|