|
|
(21), (22) Заявка: 2006120706/11, 13.06.2006
(24) Дата начала отсчета срока действия патента:
13.06.2006
(43) Дата публикации заявки: 10.01.2008
(46) Опубликовано: 10.05.2009
(56) Список документов, цитированных в отчете о поиске:
RU 2202489 С2, 20.04.2003. RU 2099225 C1, 20.12.1997. GB 1563198 A, 19.03.1980. DE 393488 A, 11.04.1924.
Адрес для переписки:
344038, г.Ростов-на-Дону, пл. Полка народного ополчения, 2, РГУПС, НИЧ
|
(72) Автор(ы):
Шаповалов Владимир Владимирович (RU), Родин Александр Евгеньевич (RU), Воронин Владимир Николаевич (RU), Лубягов Александр Михайлович (RU), Розман Олег Анатольевич (RU), Требин Александр Петрович (RU)
(73) Патентообладатель(и):
Шаповалов Владимир Владимирович (RU)
|
(54) ПРОТИВОПОЛЗУННАЯ СИСТЕМА
(57) Реферат:
Изобретение относится к железнодорожному транспорту и может быть использовано при ручном торможении отцепов на сортировочных горках. Противоползунная система содержит тормозной башмак, установленный под одно из колес колесной пары. Система дополнительно содержит разгружающую балку, лежащую на упругодемпфирующем основании. Балка связана с шейкой основного рельса только в горизонтальной плоскости и взаимодействует с гребнем колесной пары подбашмаченного или неподбашмаченного колеса. Предотвращается образование ползуна путем смены поверхности контакта неподбашмаченного колеса подбашмаченной колесной пары с рельсом за счет его проворачивания до достижения критической величины юза. 2 ил.
Изобретение относится к железнодорожному транспорту и может быть использовано при ручном торможении отцепов на сортировочных горках.
Для управления скоростными характеристиками отцепа на сортировочных горках известно использование тормозного башмака, имеющего опорную колодку и полоз с двумя бортами, охватывающими головку рельса (см. Железнодорожный транспорт: энциклопедия. – М.: Большая Российская энциклопедия, 1994. – с.450).
Тормозной эффект башмака основан на замене трения качения колесных пар транспортного средства трением скольжения тормозного башмака по рельсу и второго колеса заторможенной колесной пары по другому рельсу.
Недостатком известной тормозной системы является то, что при скольжении заторможенного колеса по рельсу на круге катания возникает неравномерный износ. Возникновение неравномерного износа требует выбраковки колесной пары.
Скольжение на башмаке называется юзом и зависит от состояния поверхностей трения, нагрузки, скорости и т.д., при этом поверхность контакта неподбашмаченного колеса подбашмаченной пары с рельсом за счет его проворачивания до достижения критической величины юза.
Изобретением решается задача предотвращения образования ползуна путем смены поверхности контакта неподбашмаченного колеса подбашмаченной колесной пары с рельсом за счет его проворачивания до достижения критической величины юза.
Это достигается тем, что противоползунная система подвижного состава, содержащая тормозной башмак, установленный под одно из колес колесной пары, согласно изобретению дополнительно содержит разгружающую балку, лежащую на упругодеформированном основании, связанную с шейкой рельса только в горизонтальной плоскости, проворачивающую подбашмаченное или неподбашмаченное колесо. В момент удара гребня о разгружающую балку происходит всплеск коэффициента трения, и увеличение радиуса поверхности катания определяющего момент прокручивания, и превышение плеча этого момента, что дает возможность провернуть это колесо.
В случае взаимодействия с подбашмаченным колесом мы частично разгружаем поверхность контакта бандажа подбашмаченного колеса и опорной поверхности колеса за счет взаимодействия гребня подбашмаченного колеса с разгружающей балкой. При этом обеспечивается превышение момента трения неподбашмаченного колеса при взаимодействии его с рельсом над моментом трения подбашмаченного колеса.
В случае взаимодействия неподбашмаченного колеса с разгружающей балкой происходит взаимодействие гребня колеса с башмаком. При этом происходит разгружение бандажа данного колеса и возникает момент трения между гребнем неподбашмаченного колеса и разгружающей балки, превышающий момент трения подбашмаченного колеса.
Данное превышение моментов трения неподбашмаченного колеса в момент взаимодействия с разгружающей балкой происходит за счет увеличения плеча момента трения, т.к. происходит контактирование по внешнему диаметру гребня, который превышает диаметр бандажа, а также за счет повышения коэффициента трения при увеличении контактной нагрузки при взаимодействии гребня колеса с разгружающей балкой по сравнению с бандажом, взаимодействующим с рельсом.
Сущность изобретения поясняется графически на фиг.1-2.
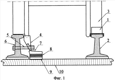
Пример 1. На фиг.1 показан пример конструктивного исполнения противоползунной системы подвижного состава, взаимодействующего с неподбашмаченным колесом подбашмаченной колесной пары, состоящей из тормозного башмака 1, установленного на рельсе 2, на которой опирается колесо 3 транспортного средства, и разгружающей балки 4, связанной стержнем 5 с шейкой рельса 6. Нижняя часть разгружающей балки представляет основание 7, опирающееся через упругий элемент (виброопору) 8 на лафет 9, установленный на шпалу 10.
Пример 2. На фиг.2 показан пример конструктивного исполнения противоползунной системы подвижного состава, взаимодействующего с подбашмаченным колесом подбашмаченной колесной пары, состоящей из тормозного башмака 1, установленного на рельсе 2, на которое опирается колесо 3 транспортного средства, и разгружающей балки 4, связанной стержнем 5 с шейкой рельса 2. Нижняя часть разгружающей балки представляет основание 7, опирающееся через упругий элемент (виброопору) 8 на лафет 9, установленный на шпалу 10.
Формула изобретения
Противоползунная система, содержащая тормозной башмак, установленный под одно из колес колесной пары, отличающаяся тем, что она дополнительно содержит разгружающую балку, лежащую на упругодемпфирующем основании, связанную с шейкой основного рельса только в горизонтальной плоскости, взаимодействующую с гребнем колесной пары подбашмаченного или неподбашмаченного колеса.
РИСУНКИ
|
|