|
|
(21), (22) Заявка: 2007117439/11, 10.05.2007
(24) Дата начала отсчета срока действия патента:
10.05.2007
(43) Дата публикации заявки: 20.11.2008
(46) Опубликовано: 10.05.2009
(56) Список документов, цитированных в отчете о поиске:
RU 34476 U1, 10.12.2003. RU 2207269 C1, 27.06.2003. EP 0987158 A1, 22.03.2000. EP 0063521 В1, 27,10.1982.
Адрес для переписки:
87500, Украина, Донецкая обл., г. Мариуполь, пл. Машиностроителей, 1, ООО “ГСКБВ”, директору В.М. Бубнову
|
(72) Автор(ы):
Бубнов Валерий Михайлович (UA), Тусиков Евгений Кондратьевич (UA), Маринюк Вячеслав Степанович (UA), Назаренко Александр Николаевич (UA), Супрун Алексей Романович (UA), Морозюк Олег Витальевич (UA), Лапандина Валентина Ивановна (UA), Никитченко Андрей Андреевич (UA), Лутаенко Иван Антонович (UA), Когут Ирина Викторовна (UA), Чапни-Шкондина Марина Леонтьевна (UA), Мосьпан Владимир Николаевич (UA)
(73) Патентообладатель(и):
ОБЩЕСТВО С ОГРАНИЧЕННОЙ ОТВЕТСТВЕННОСТЬЮ “Головное специализированное конструкторское бюро вагоностроения” (UA)
|
(54) ВАГОН-ПЛАТФОРМА
(57) Реферат:
Изобретение относится к железнодорожному транспорту. Вагон-платформа содержит установленную на тележки раму, на концевых балках (9) которой установлены плоские основания (10), выступающие в продольном направлении за пределы рамы, на выступающих частях (11) которых неподвижно закреплены торцевые стены (12) с плоскими боковыми подкреплениями (13), к которым приварены раскосы. Места соединения раскосов с рамой усилены в продольном и вертикальном направлениях. Торцевые стены выполнены в виде решетки из жестко соединенных между собой вертикальных и горизонтальных балок. Снизу торцевые стены подкреплены усилениями (27), установленными под крайними балками. Боковые стойки подкреплены усилениями с размещением на них ступенек лестницы, а также вертикальными ребрами с боковыми усилениями. На боковых балках рамы попарно установлены и жестко закреплены стаканы лесных стоек, а между ними – кольца крепления листового металлопроката. Для защиты перевозимого груза снизу от загрязнений на верхней поверхности рамы установлен защитный кожух из листового проката. Изобретение повышает прочность боковых стоек и торцевых стен, а также мест их соединения с рамой вагона-платформы. 7 з.п. ф-лы, 12 ил.
Изобретение относится к области железнодорожного транспорта, в частности к вагонам-платформам для перевозки длинномерных грузов, преимущественно труб, листового металлопроката, пиломатериалов и лесоматериалов.
Известны конструкции вагонов-платформ для перевозки длинномерных грузов (см. RU 2262458, B61F 1/00, 30.11.2004; RU 2270114, B61D 3/08, B61D 3/20, 26.01.2004; RU 54570, B61D 3/08, 07.02.2006; RU 50494, B61D 3/08, B60P 3/40,19.04.2002; RU 53637, B61D 3/08, B60P 3/40, 30.03.2005; RU 59005, B61D 3/08, B61D 3/16, 19.06.2006; платформы моделей 13-9743 и 13-9744 в журнале «Тяжелое машиностроение» 8, 2005 г., стр.21, 22).
Они включают несущую раму, установленную на две двухосные тележки, и торцевые стены, неподвижно закрепленные на концевых балках рамы.
Недостатком этих конструкций является их узкая специализация, поскольку они обеспечивают перевозку только тех видов грузов, для которых предназначены.
Наиболее близким техническим решением к заявляемому изобретению является конструкция вагона-платформы по патенту RU 53992, B61D 3/08, 25.03.2005, которая содержит несущую раму, установленную на две двухосные тележки, торцевые стены с плоскими боковыми подкреплениями, неподвижно закрепленные на концевых балках рамы, стойки, поверхности которых, контактирующие с грузом, облицованы эластичным материалом, попарно установленные на боковых балках и снабженные натяжными устройствами, механизмы которых размещены между вертикальными элементами стоек.
Недостатком этого вагона-платформы является его узкая специализация, не позволяющая перевозить листовой металлопрокат, пило- и лесоматериалы. Кроме того, при транспортировке перевозимый груз снизу загрязняется от воздействия вагона-платформы на путь.
Техническим результатом заявляемого изобретения является обеспечение возможности перевозки в вагоне-платформе труб, листового металлопроката, пило- и лесоматериалов, повышение прочности стоек, торцевых стен и мест их соединения с рамой, а также защита снизу перевозимого груза от загрязнений.
Указанный результат достигается тем, что в вагоне-платформе, включающем несущую раму, установленную на две двухосные тележки, торцевые стены с плоскими боковыми подкреплениями, неподвижно закрепленные на концевых балках рамы, стойки, попарно установленные на боковых балках и снабженные натяжными устройствами, механизмы которых размещены между вертикальными элементами стоек, а также эластичным материалом, закрепленным на поверхностях, контактирующих с перевозимым грузом, на концевых балках рамы установлены плоские основания, выступающие в продольном направлении за пределы рамы, на выступающих частях которых неподвижно закреплены торцевые стены, подкрепленные усилениями, расположенными под крайними балками. К внешней поверхности плоских боковых подкреплений торцевых стен приварены раскосы, верхние концы которых расположены напротив верхних концов крайних балок торцевых стен, нижние концы – на раме. На боковых балках рамы попарно установлены и жестко закреплены стаканы лесных стоек, между которыми равномерно установлены кольца крепления груза, под стойками рамы между внешними полками боковых балок установлено по паре ребер жесткости, к которым снаружи примыкают боковые усиления, а на верхней поверхности рамы установлен защитный кожух, над которым возвышаются ложементы, расположенные между противоположными стойками и в промежутках между ними.
Торцевые стены выполнены в виде решеток из жестко соединенных друг с другом вертикальных и горизонтальных балок, причем вертикальные балки выполнены из швеллера, обращенного в крайних из них в боковые стороны вагона-платформы и закрытого боковым подкреплением, в средних из них, снабженных резиновыми накладками, закрепленными на стенках с внутренней стороны вагона-платформы – в его торцевую часть, нижняя горизонтальная балка – из швеллера, приваренного к плоскому основанию, остальные горизонтальные балки – из коробчатого профиля, установленного большей стороной горизонтально, при этом на верхних горизонтальных балках установлены откосы, на которых закреплены концы резиновых накладок вертикальных балок.
В полках вертикальных балок торцевых стен в местах пересечения с горизонтальными балками выполнены вырезы, в которые установлены горизонтальные балки.
На верхних горизонтальных балках торцевых стен установлены откосы, на которых закреплены концы резиновых накладок вертикальных балок.
Раскосы выполнены из швеллера, обращенного полками внутрь вагона-платформы.
Места соединения раскосов с рамой усилены продольными П-образными и вертикальными Г-образными профилями, при этом вертикальные профили установлены снаружи между полками боковых балок.
На верхних частях боковых стоек с внутренней стороны вагона-платформы выполнены скосы.
Продольные усиления боковых стоек выполнены с возможностью установки на них нескольких ступенек.
Сравнение предлагаемого технического решения с прототипом позволило установить наличие отличительных от него признаков, следовательно, данное техническое решение соответствует критерию «новизна».
Сущность изобретения поясняется чертежами, где:
на фиг.1 изображен общий вид вагона-платформы,
на фиг.2 – вид А на фиг.1,
на фиг.3 – вид Б на фиг.1,
на фиг.4 – разрез В-В на фиг.1,
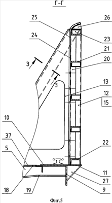
на фиг.5 – разрез Г-Г на фиг.2,
на фиг.6 – разрез Д-Д на фиг.1,
на фиг.7 – разрез Е-Е на фиг.2,
на фиг.8 – разрез Ж-Ж на фиг.2,
на фиг.9 – сечение З-З на фиг.5,
на фиг.10 – разрез И-И на фиг.2,
на фиг.11 – разрез К-К на фиг.2,
на фиг.12 – сечение Л-Л на фиг.3.
Предлагаемый вагон-платформа состоит из рамы 1, установленной на две двухосные тележки 2, тормозного 3 и автосцепного 4 оборудования. На боковых балках 5 рамы попарно установлены и неподвижно закреплены стойки 6. Каждая пара стоек снабжена натяжным устройством 7, а также эластичным материалом в виде резиновых накладок 8, закрепленных на поверхностях, контактирующих с перевозимым грузом.
На концевых балках 9 рамы установлены плоские основания 10, которые выступают за пределы рамы в продольном направлении. На выступающих частях 11 оснований 10 неподвижно закреплены торцевые стены 12 с плоскими боковыми подкреплениями 13. К внешней поверхности плоских боковых подкреплений приварены раскосы 14, верхние концы которых установлены напротив верхних концов крайних балок 15 торцевых стен, а нижние концы – на раме 1. Раскосы 14 выполнены из швеллера, обращенного полками внутрь вагона.
Места соединения раскосов с рамой усилены продольными П-образными 16 и вертикальными Г-образными профилями 17, при этом вертикальные профили установлены снаружи между полками 18 и 19 боковых балок 5 рамы.
Торцевая стена 12 выполнена в виде решетки из жестко соединенных между собой вертикальных 15, 20 и горизонтальных 21, 22, 23 балок. Вертикальные балки выполнены из швеллера, причем в крайних 15 балках швеллер обращен полками в боковые стороны вагона-платформы и закрыт боковым подкреплением 13. Средние 20 балки обращены полками в торцевую часть вагона-платформы. В их полках в местах пересечения с горизонтальными балками выполнены вырезы, в которые установлены горизонтальные балки. На стенках 24 этих балок с внутренней стороны вагона-платформы закреплены съемные резиновые накладки 25. Нижняя горизонтальная балка 22 выполнена из швеллера и приварена полками к плоскому основанию 10. Остальные горизонтальные балки выполнены из швеллера, закрытого полосами с образованием коробчатого профиля и установлены меньшей стороной в вырезы вертикальных балок. На верхней 23 горизонтальной балке установлены откосы 26, на которых закреплены концы резиновых накладок 25 средних вертикальных балок 20.
Торцевые стены 12 снизу подкреплены усилениями 27 в виде П-образных профилей, установленных на раме под крайними 15 балками.
На верхних полках 18 боковых балок 20 рамы по всей длине вагона-платформы установлены и жестко закреплены десять пар стаканов лесных стоек 28. Их стороны, контактирующие с грузом, снабжены съемными резиновыми накладками 29. Между стаканами лесных стоек установлены девять пар колец 30 крепления груза, в частности металлических листов.
Под стойками 6 рамы 1 между внешними полками 18 и 19 боковых балок 5 установлено по паре ребер жесткости 31 и 32, к которым снаружи примыкают боковые усиления 33.
На верхних частях 34 боковых стоек 6 с внутренней стороны вагона-платформы выполнены скосы, обеспечивающие прилегание концов резиновых накладок 25 к верхним поверхностям стоек.
Продольные усиления 35 боковых стоек 6 выполнены более мощными и развиты по высоте, что позволяет также разместить на них несколько ступенек 36.
На верхней поверхности рамы 1 установлен защитный кожух 37, набранный из листового проката. Над ним возвышаются ложементы 38, расположенные между противоположными стойками 6 и в промежутках между ними. Верхние поверхности ложементов закрыты съемными резиновыми накладками 39. Ширина крайних ложементов больше ширины промежуточных.
Приварка непосредственно к раме нижней горизонтальной балки 22 торцевой стены и установка дополнительных продольных подкреплений в виде раскосов 14, которые в местах соединения с рамой усилены продольными 16 и вертикальними 17 профилями, а также подкрепления торцевых стен усилениями 27, позволяет увеличить прочность торцевых стен в продольном направлении от воздействия продольных сил и перевозимого груза, что обеспечивает более надежную перевозку длинномерных грузов. Кроме того, использование швеллеров одного типоразмера в конструкциях раскосов, горизонтальных 21, 22, 23 и вертикальних 15, 20 балок упрощает изготовление торцевых стен.
Подкрепление боковых стоек 6 рамы более мощными продольными усилениями 35, а также вертикальними усилениями в виде ребер жесткости 31 и 32, к которым снаружи примыкают боковые усиления 33, также способствует более надежному креплению груза и его безопасной перевозке.
Конструкция кронштейнов 28 лесных стоек, их расположение и количество обеспечивает надежное крепление и перевозку пило- и лесоматериалов.
Кольца 30 крепления груза обеспечивают крепление листового металлопроката по всей длине вагона-платформы.
Защитный кожух вагона-платформы защищает перевозимый груз снизу от прямого попадания пыли и грязи.
Изготовленный по заявляемому техническому решению опытный образец успешно прошел все виды испытаний, и в настоящее время проходит подготовка к его серийному производству.
Формула изобретения
1. Вагон-платформа, включающий несущую раму, установленную на две двухосные тележки, тормозное и автосцепное оборудование, торцевые стены с плоскими боковыми подкреплениями, неподвижно закрепленные на концевых балках рамы, стойки, попарно установленные на боковых балках и снабженные натяжными устройствами, а также эластичным материалом, закрепленным на поверхностях, контактирующих с перевозимым грузом, отличающийся тем, что на концевых балках рамы установлены плоские основания, выступающие в продольном направлении за пределы рамы, на выступающих частях которых неподвижно закреплены торцевые стены, подкрепленные усилениями, расположенными под крайними балками, к внешней поверхности плоских боковых подкреплений торцевых стен приварены раскосы, верхние концы которых расположены напротив верхних концов крайних балок торцевых стен, нижние концы – на раме, на боковых балках рамы попарно установлены и жестко закреплены стаканы лесных стоек, между которыми равномерно установлены кольца крепления груза, под стойками рамы между внешними полками боковых балок установлено по паре ребер жесткости, к которым снаружи примыкают боковые усиления, а на верхней поверхности рамы установлен защитный кожух, над которым возвышаются ложементы, расположенные между противоположными стойками и в промежутках между ними.
2. Вагон-платформа по п.1, отличающийся тем, что торцевые стены выполнены в виде решеток из жестко соединенных друг с другом вертикальных и горизонтальных балок, причем вертикальные балки выполнены из швеллера, который в крайних из них обращен полками в боковые стороны вагона-платформы и закрыт плоскими боковыми подкреплениями, а в средних из них, снабженных резиновыми накладками, закрепленными на стенках с внутренней стороны вагона-платформы – в его торцевую часть, нижняя горизонтальная балка – из швеллера, приваренного к плоскому основанию, остальные горизонтальные балки – из коробчатого профиля, установленного большей стороной горизонтально, при этом на верхних горизонтальных балках установлены откосы, к которым закреплены концы резиновых накладок.
3. Вагон-платформа по п.1 или 2, отличающийся тем, что в средних вертикальных балках торцевых стен в местах пересечения с горизонтальными балками выполнены вырезы, в которые установлены горизонтальные балки.
4. Вагон-платформа по п.1 или 2, отличающийся тем, что на верхних горизонтальных балках торцевых стен установлены откосы, на которых закреплены концы резиновых накладок вертикальных балок.
5. Вагон-платформа по п.1, отличающийся тем, что раскосы выполнены из швеллера, обращенного полками внутрь вагона-платформы.
6. Вагон-платформа по п.1, отличающийся тем, что места соединения раскосов с рамой усилены продольными П-образными профилями и вертикальными Г-образными профилями, при этом вертикальные профили установлены снаружи между полками боковых балок.
7. Вагон-платформа по п.1, отличающийся тем, что на верхних частях боковых стоек с внутренней стороны вагона-платформы выполнены скосы.
8. Вагон-платформа по п.1, отличающийся тем, что продольные усиления боковых стоек выполнены с возможностью установки на них нескольких ступенек.
РИСУНКИ
|
|