|
|
(21), (22) Заявка: 2007131023/11, 14.08.2007
(24) Дата начала отсчета срока действия патента:
14.08.2007
(46) Опубликовано: 10.05.2009
(56) Список документов, цитированных в отчете о поиске:
SU 1216047 A1, 07.03.1986. SU 1049291 A1, 23.10.1983. JP 2000343522 A1, 12.12.2000. GB 2369097 A1, 22.05.2002.
Адрес для переписки:
220021, Республика Беларусь, г. Минск, ул. Социалистическая, 2, РУП “МАЗ”, ОНТиТ
|
(72) Автор(ы):
Корсаков Владимир Владимирович (BY), Добринец Владимир Константинович (BY), Захарик Андрей Михайлович (BY), Минюкович Сергей Михайлович (BY), Рипинский Михаил Сергеевич (BY)
(73) Патентообладатель(и):
Производственное республиканское унитарное предприятие “Минский автомобильный завод” (РУП “МАЗ”) (BY)
|
(54) УСТРОЙСТВО ДЛЯ ПОДЪЕМА ПЛАТФОРМЫ АВТОМОБИЛЯ-САМОСВАЛА
(57) Реферат:
Изобретение относится к транспортному машиностроению, в частности к устройствам для подъема платформы автомобилей-самосвалов. Устройство для подъема платформы автомобиля-самосвала содержит насос (1), масляный бак (4), клапан управления (7), регулировочный клапан (8) и гидроцилиндр (9). Корпус (10) регулировочного клапана (8) выполнен в виде переходника наконечника (13) и закреплен на гидроцилиндре (9). Клапан управления (7) сообщен с выполненными в корпусе (10) радиальными каналами (12) и ступенчатым осевым каналом (11), в котором размещен плунжер (15) с центральным отверстием (16) заданного диаметра, поджатый к торцу (21) ступенчатого осевого канала пружиной (17), входящей в центральные каналы (18, 19) соответственно плунжера (15) и пробки (20), ввернутой в корпус (10). Усилие сжатия пружины (17) регулируется. Между пробкой (20) и корпусом установлены регулировочные прокладки (24). Опускание груженой платформы замедляется за счет смещения плунжера (15) давлением жидкости в полости (27) и поступления жидкости через каналы (23). Изобретение повышает надежность и безопасность устройства. 1 з.п. ф-лы, 2 ил.
Изобретение относится к области транспортного машиностроения, в частности к устройствам для подъема платформы автомобилей-самосвалов.
Известно устройство для подъема платформы автомобиля-самосвала, содержащее насос с обратным клапаном, клапан расхода и давления рабочей жидкости, масляный бак с фильтром и предохранительным клапаном, клапан управления и гидроцилиндр [1].
К недостаткам известного устройства относятся низкая надежность и невозможность обеспечения безопасных условий труда, вызванные высокой скоростью опускания платформы при различной степени ее загрузки в случае возникшей необходимости ее опускания, когда груз не ссыпается или произошло одностороннее осыпание груза, и в случае самопроизвольного опускания (падения) платформы при разрушении трубопровода, соединяющего клапан управления и гидроцилиндр.
Наиболее близким к заявляемому техническому решению, принятым за прототип является устройство для подъема платформы автомобиля-самосвала, содержащее насос с обратным клапаном, клапан расхода и давления рабочей жидкости, масляный бак с фильтром и предохранительным клапаном, клапан управления, регулировочный клапан и гидроцилиндр [2].
К недостаткам данного устройства относятся сложность конструкции, низкая надежность и невозможность обеспечения безопасных условий труда. Сложность конструкции вызвана выполнением клапана управления и регулировочного клапана в одном корпусе и применением пневматического устройства с ручным приводом для управления скоростью опускания платформы при исправной гидросистеме. Низкая надежность и невозможность обеспечения безопасных условий труда объясняются высокой скоростью опускания платформы при различной степени ее загрузки в случае самопроизвольного опускания (падения) платформы при разрушении трубопровода, соединяющего гидроцилиндр с клапаном управления и регулировочным клапаном, которые выполнены в одном корпусе.
Задачей заявляемого изобретения является упрощение конструкции, повышение надежности и обеспечение безопасных условий труда при разгрузке платформы.
Технический результат заключается в автоматическом снижении скорости опускания платформы до безопасной величины регулировочным клапаном, корпус которого является одновременно и переходником наконечника трубопровода, закрепленным непосредственно на гидроцилиндре, независимо от степени загрузки платформы и при разрушении трубопровода, соединяющего гидроцилиндр с клапаном управления.
Поставленная задача достигается за счет того, что в устройстве для подъема платформы автомобиля-самосвала, содержащем насос с обратным клапаном, клапан расхода и давления, масляный бак с фильтром и предохранительным клапаном, клапан управления, регулировочный клапан и гидроцилиндр, корпус регулировочного клапана выполнен в виде переходника наконечника трубопровода и закреплен непосредственно на гидроцилиндре, для соединения с клапаном управления в корпусе регулировочного клапана выполнены радиальные каналы и ступенчатый осевой канал, в котором размещен плунжер с центральным отверстием заданного диаметра, поджатый к торцу ступенчатого осевого канала пружиной, входящей в центральные каналы плунжера и пробки, ввернутой в корпус регулировочного клапана, наружная поверхность плунжера снабжена кольцевой проточкой с выполненным в ней дроссельным радиальным каналом с возможностью соединения в рабочем положении центрального канала плунжера с радиальными каналами в корпусе регулировочного клапана, при этом между пробкой и корпусом регулировочного клапана установлены регулировочные прокладки.
В центральном канале пробки размещена подвижная опора пружины плунжера, на которую воздействует ввернутый в резьбовое отверстие пробки регулировочный болт, обеспечивающий регулировку усилия сжатия пружины.
В отличие от прототипа, в котором регулировочный клапан и клапан управления выполнены в одном корпусе и соединены трубопроводом с гидроцилиндром, в заявляемом устройстве корпус регулировочного клапана, являющийся одновременно и переходником наконечника трубопровода, закреплен непосредственно на гидроцилиндре, а в корпусе установлен подпружиненный плунжер с центральным отверстием заданного диаметра, который за счет разности давлений создаваемой потоком рабочей жидкости перемещается в осевом направлении и в автоматическом режиме в рабочем положении частично перекрывает радиальные отверстия, обеспечивая снижение скорости опускания платформы до безопасной величины независимо от степени ее загрузки и исключая опускание (падение) платформы в случае разрушения трубопровода, соединяющего регулировочный клапан и клапан управления.
Сущность изобретения поясняется чертежами:
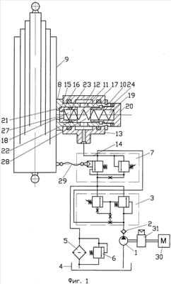
На Фиг.1 изображена конструктивная схема устройства для подъема платформы автомобиля-самосвала.
На Фиг.2 – регулировочный клапан с регулировкой усилия пружины плунжера регулировочным болтом.
Устройство для подъема платформы автомобиля-самосвала содержит насос 1 с обратным клапаном 2, клапан расхода и давления рабочей жидкости 3, масляный бак 4 с фильтром 5 и предохранительным клапаном 6, клапан управления 7, регулировочный клапан 8, гидроцилиндр 9 (Фиг.1).
Корпус 10 регулировочного клапана 8 установлен непосредственно на гидроцилиндре 9, и в нем выполнены ступенчатый осевой канал 11 и радиальные каналы 12, соединяющие его через наконечник 13 и трубопровод 14 с клапаном управления 7. Корпус 10 регулировочного клапана 8 является одновременно и переходником наконечника 13 (Фиг.1). В ступенчатом осевом канале 11 корпуса 10 размещен плунжер 15 с центральным отверстием 16 заданного диаметра, поджатый пружиной 17, входящей в центральные каналы 18 и 19 соответственно плунжера 15 и пробки 20, ввернутой в корпус 10, к торцу 21 ступенчатого осевого канала 11. Наружная поверхность плунжера 15 снабжена кольцевой проточкой 22 с выполненным в ней дроссельным радиальным каналом 23, соединяющим при рабочем положении плунжера 15 его центральный канал 18 с радиальными каналами 12 в корпусе 10. Между пробкой 20 и корпусом 10 установлены регулировочные прокладки 24. Вместо регулировочных прокладок в центральном канале 19 пробки 20 может быть размещена подвижная опора 25 пружины 17, на которую воздействует регулировочный болт 26, ввернутый в резьбовое отверстие пробки 20, обеспечивающий регулировку усилия сжатия пружины 17 плунжера 15 (Фиг.2). Плунжер 15 в корпусе 10 образует полость 27, сообщающуюся с гидроцилиндром 9, и полость 28, сообщающуюся с радиальными каналами 12. Клапан управления 7 тросом 29 соединен с гидроцилиндром 9. Привод насоса 1 осуществляется от двигателя 30 через коробку отбора мощности 31.
Работа устройства для подъема платформы автомобиля-самосвала осуществляется следующим образом.
Для подъема платформы автомобиля-самосвала включается в работу коробка отбора мощности 31 и насос 1. Рабочая жидкость от насоса 1 через обратный клапан 2, клапан расхода и давления 3, клапан управления 7 поступает к наконечнику 13 регулировочного клапана 8 и далее через радиальные каналы 12, центральное отверстие 16 заданного диаметра в плунжере 15 к гидроцилиндру 9. Звенья гидроцилиндра 9 выдвигаются, и платформа автомобиля-самосвала поднимается. При достижении платформой крайнего верхнего положения трос 29 натягивается и приоткрывает клапан управления 7, ограничивая угол подъема платформы. Рабочая жидкость от насоса через клапан управления 7 и фильтр 5 поступает в масляный бак 4.
Для опускания платформы выключается коробка отбора мощности 31 и воздух подается в пневмокамеру клапана управления 7, открывая его.
При опускании порожней платформы гидроцилиндр 9 складывается медленно, рабочая жидкость из гидроцилиндра 9 через центральное отверстие 16 заданного диаметра в плунжере 15 и радиальные каналы 12 регулировочного клапана 8, клапан управления 7, фильтр 5 поступает в масляный бак 4. Так как разность давлений в полостях 27 и 28 незначительная, плунжер 15 не перекрывает радиальные каналы 12 в корпусе 10 и замедления опускания порожней платформы не происходит.
При опускании частично и максимально груженой платформы количество рабочей жидкости, поступающей из гидроцилиндра 9 и проходящей через центральное отверстие 16 заданного диаметра в плунжере 15 регулировочного клапана 8, резко увеличивается. Разность давлений в полостях 27 и 28 увеличивается настолько, что плунжер 15, сжимая пружину 17, в рабочем положении перекрывает радиальные каналы 12. Рабочая жидкость из полости 28 через кольцевую проточку 22, дроссельный радиальный канал 23, радиальные каналы 12 регулировочного клапана 8, клапан управления 7, фильтр 5 поступает в масляный бак 4. Опускание груженой платформы замедляется. Разность давлений в полостях 27 и 28 уменьшается, плунжер 15 под действием пружины 17 приоткрывает радиальные каналы 12, обеспечивая снижение скорости опускания платформы в транспортное положение до безопасной величины.
В зависимости от степени загрузки платформы разность давлений в полостях 27 и 28 изменяется (при увеличении загрузки разность давлений увеличивается, при уменьшении загрузки разность давлений уменьшается), в результате чего плунжер 15 приоткрывает радиальные каналы 12 соответственно на меньшую или большую величину.
В случае подъема частично и максимально груженой платформы и разрушения трубопровода 14, соединяющего регулировочный клапан 8 с клапаном управления 7 и, следовательно, с насосом 1, количество рабочей жидкости, поступающей из гидроцилиндра 9 и проходящей через центральное отверстие 16 заданного диаметра в плунжере 15 регулировочного клапана 8, резко увеличивается. Разность давлений в полостях 27 и 28 увеличивается настолько, что плунжер 15, сжимая пружину 17, перекрывает радиальные каналы 12. Рабочая жидкость из полости 28 поступает через кольцевую проточку 22, дроссельный радиальный канал 23 в радиальные каналы 12 и далее через разрушенный трубопровод 14 в атмосферу. Опускание груженой платформы замедляется. Разность давлений в полостях 27 и 28 уменьшается, плунжер 15 под действием пружины 17 приоткрывает радиальные каналы 12, обеспечивая снижение скорости опускания платформы в транспортное положение до безопасной величины.
Клапан расхода и давления 3 регулирует подачу рабочей жидкости к гидроцилиндру 9 и предохраняет гидросистему от перегрузок. При засорении фильтра 5 срабатывает предохранительный клапан 6 и перепускает рабочую жидкость в масляный бак 4.
Источники информации
1. Автомобили МАЗ. Руководство по эксплуатации. Минск, 2005, МАЗ Полиграф, с.169, рис.83.
2. Самосвалы «HYVA». Инструкция по эксплуатации и техническому обслуживанию. 1990 г.
Формула изобретения
1. Устройство для подъема платформы автомобиля-самосвала, содержащее насос с обратным клапаном, клапан расхода и давления, масляный бак с фильтром и предохранительным клапаном, клапан управления, регулировочный клапан и гидроцилиндр, отличающееся тем, что корпус регулировочного клапана выполнен в виде переходника наконечника трубопровода и закреплен непосредственно на гидроцилиндре, для соединения с клапаном управления в корпусе регулировочного клапана выполнены радиальные каналы и ступенчатый осевой канал, в котором размещен плунжер с центральным отверстием заданного диаметра, поджатый к торцу ступенчатого осевого канала пружиной, входящей в центральные каналы плунжера и пробки, ввернутой в корпус регулировочного клапана, наружная поверхность плунжера снабжена кольцевой проточкой с выполненным в ней дроссельным радиальным каналом с возможностью соединения в рабочем положении центрального канала плунжера с радиальными каналами в корпусе регулировочного клапана, при этом между пробкой и корпусом регулировочного клапана установлены регулировочные прокладки.
2. Устройство для подъема платформы автомобиля-самосвала по п.1, отличающееся тем, что в центральном канале пробки размещена подвижная опора пружины плунжера, на которую воздействует ввернутый в резьбовое отверстие пробки регулировочный болт, обеспечивающий регулировку усилия сжатия пружины.
РИСУНКИ
|
|