|
|
(21), (22) Заявка: 2007110210/02, 12.04.2007
(24) Дата начала отсчета срока действия патента:
12.04.2007
(43) Дата публикации заявки: 20.10.2008
(46) Опубликовано: 10.05.2009
(56) Список документов, цитированных в отчете о поиске:
RU 2143968 C1, 10.01.2000. RU 2228260 C2, 10.05.2004. SU 123865 A1, 01.01.1959. US 4544366 A, 01.10.1985. US 2662412 A, 15.12.1953.
Адрес для переписки:
123242, Москва, ул. Конюшковская, 30, стр.3, ОАО Сельхозмеханизация, А.Ю. Жукову
|
(72) Автор(ы):
Тургенбаев Малик Сейсенбаевич (RU), Суюнчалиев Роберт Саматович (RU)
(73) Патентообладатель(и):
ОТКРЫТОЕ АКЦИОНЕРНОЕ ОБЩЕСТВО “СЕЛЬХОЗМЕХАНИЗАЦИЯ” (RU)
|
(54) УСТРОЙСТВО ДЛЯ СТРИЖКИ ЖИВОТНЫХ
(57) Реферат:
Изобретение относится к животноводству и может быть использовано для стрижки животных. Устройство содержит стригальную машинку с редуктором, промежуточный вал, диэлектрическую втулку, бронированный гибкий вал, высокооборотный приводной электродвигатель, П-образный неподвижный опорный кронштейн с поперечиной и направляющую обойму с верхним и нижним профилированными роликами. Бронированный гибкий вал имеет диаметр 2,8-4 мм и выполнен с возможностью передвижения вдоль продольной оси промежуточного вала. Бронированный гибкий вал связан через диэлектрическую втулку с валом высокооборотного приводного электродвигателя. Редуктор посредством промежуточного вала кинематически соединен с выходным концом бронированного гибкого вала, концы брони последнего жестко закреплены соответственно на опорной втулке и фланце, расположенном на корпусе высокооборотного приводного электродвигателя. Направляющая обойма шарнирно закреплена на корпусе высокооборотного приводного электродвигателя. Верхние и нижние профилированные ролики выполнены с возможностью схватывания поперечины неподвижного опорного кронштейна. Бронированный гибкий вал имеет длину, превышающую длину поперечины неподвижного опорного кронштейна в 1,1-1,7 раза. Каждый профилированный ролик имеет диаметр, превышающий диаметр поперечного сечения поперечины неподвижного опорного кронштейна в 3-5 раз, в результате чего увеличивается срок службы бронированного гибкого вала и обеспечивается удобство работы персонала. 1 ил.
Изобретение относится к сельскому хозяйству, в частности к животноводству, и может быть использовано для стрижки овец и других животных.
Известно из технической литературы устройство для стрижки овец, содержащее машинку, редуктор, гибкий вал диаметром 6 10 мм и электродвигатель с питанием от сети 220 В. Причем броня гибкого вала соединена с корпусом машинки посредством шарнирного механизма так, что машинка имеет возможность проворачиваться вокруг продольной оси, см. “Стрижка овец и вычесывание пуха у коз”, Суюнчалиев Р.С. – М.: Росагропромиздат, 1989, с, 12 14, 22 24.
Недостатком данного устройства является наличие реактивного момента, выкручивающего руку, большая масса и жесткость гибкого вала, повышенная электроопастность при эксплуатации во влажных условиях.
Наиболее близким по своей технической сущности к предложенному является известное из патента Российской Федерации 2143968, кл.7 В26В 19/24 1998 г., устройство для стрижки животных, преимущественно овец, содержащее стригальную машинку, редуктор которой посредством размещенного в подшипниках опорной втулки корпуса стригальной машинки промежуточного вала кинематически соединен с выходным концом подвижного вдоль продольной оси последнего бронированного гибкого вала, имеющего диаметр 2,8-4 мм и связанного через диэлектрическую втулку с валом высокооборотного приводного электродвигателя, при этом концы брони гибкого вала жестко закреплены соответственно на опорной втулке стригальной машинки и фланце корпуса приводного электродвигателя.
Недостатками указанного устройства является быстрый износ гибкого вала вследствие его взаимодействия с охватывающей его и зафиксированной концами на корпусе стригальной машинки и корпусе приводного электродвигателя бронью ввиду того, что в процессе эксплуатации устройства для стрижки животных, преимущественно овец, бронированный гибкий вал должен в процессе вращения на повышенных скоростях подвергается изгибам под большими углами.
Задачей предлагаемого изобретения является увеличение срока службы бронированного гибкого вала и обеспечение удобства работы обслуживающего персонала.
Поставленные задачи достигаются тем, что устройство для стрижки животных, содержащее стригальную машинку, редуктор которой посредством размещенного в подшипниках опорной втулки корпуса стригальной машинки промежуточного вала, кинематически соединенного с выходным концом подвижного вдоль продольной оси последнего бронированного гибкого вала, имеющего диаметр 2,8-4 мм и связанного через диэлектрическую втулку с валом высокооборотного приводного электродвигателя, при этом концы брони гибкого вала жестко закреплены соответственно на опорной втулке стригальной машинки и фланце корпуса приводного электродвигателя, снабжено П-образным неподвижным опорным кронштейном, приводной высокооборотный электродвигатель – снабжен закрепленной шарнирно на его корпусе направляющей обоймой с верхними и нижним профилированными направляющими роликами, охватывающими поперечину неподвижного опорного кронштейна, при этом длина L бронированного гибкого вала превышает длину L1 поперечины неподвижного опорного кронштейна в 1,1-1,7 раза, а диаметр D каждого профилированного направляющего ролика превышает диаметр d поперечного сечения поперечины неподвижного опорного кронштейна в 3-5 раз.
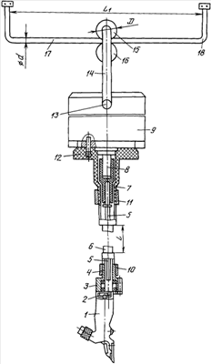
Сущность изобретения поясняется чертежом, где схематично в разрезе изображен общий вид устройства для стрижки животных, преимущественно овец.
Устройство для стрижки животных, преимущественно овец, состоит из стригальной машинки 1, редуктор 2 которой посредством размещенного в подшипниках опорной втулки 3 корпуса стригальной машинки 1 промежуточного вала 4 кинематически соединен с выходным концом бронированного гибкого вала 5. Бронированный гибкий вал 5 имеет диаметр 2,8-4 мм и размещен в охватывающей его брони 6. Бронированный гибкий вал 5 соединен с диэлектрической втулкой 7, которая закреплена посредством шпильки 8 на валу высокооборотного приводного электродвигателя 9. С помощью накидных гаек 10 и 11 концы брони 6 закреплены на опорной втулке 3 корпуса стригальной машинки 1 и фланце 12 корпуса приводного электродвигателя 9. На корпусе высокооборотного приводного электродвигателя 9 посредством шарнира 13 установлена направляющая обойма 14 с верхними 15 и нижними 16 профилированными роликами, охватывающими размещенную между ними поперечину горизонтальную 17 П-образного неподвижного опорного кронштейна 18. Длина L бронированного гибкого вала 5 превышает длину L1 горизонтальной поперечины 17 неподвижного опорного кронштейна 18 в 1,1-1,7 раза. Диаметр D каждого профилированного ролика 15 и 16 превышает диаметр d поперечного сечения горизонтальной поперечины 17 неподвижного опорного кронштейна 18 в 3-5 раз.
Устройство для стрижки животных, преимущественно овец, работает следующим образом. При включении вращение вала высокооборотного приводного электродвигателя 9 через диэлектрическую втулку 7 передается бронированному гибкому валу 5 и через промежуточный вал 4, соединенный с редуктором 2 стригальной машинки 1, – ее режущему аппарату.
При пуске и повышенных нагрузках бронированный гибкий вал 5 скручивается, что обуславливает уменьшение его длины L. Указанное уменьшение длины бронированного гибкого вала 5 компенсируется скольжением конца последнего в прорези промежуточный вал 4. В процессе работы стригальной машинки 1 для уменьшения реактивного момента, выкручивающего ее относительно высокооборотного приводного электродвигателя 9, концы брони 6 закреплены неподвижно на стригальной машинке 1 и высокооборотном приводном электродвигателе 9. Диэлектрическая втулка 7 изолирует бронированный гибкий вал 5 от высокооборотного приводного электродвигателя 9.
Для уменьшения физических нагрузок на оператора устройства для стрижки животных, преимущественно овец, в процессе стрижки последнего высокооборотный приводной электродвигатель 9 соединен при помощи шарнира 13. Между верхними 15 и нижним 16 профилированными роликами пропущена горизонтальная поперечина 17 П-образного неподвижного опорного кронштейна 18, вдоль продольной оси которой с возможностью поворота относительно нее имеет возможность перемещаться направляющая обоймой 14 с высокооборотным приводным электродвигателем 9. Возможность перемещения высокооборотного приводного электродвигателя 9 относительно оси горизонтальной поперечины 17 в процессе стрижки животного обеспечивает минимальные длину L и угол изгиба бронированного гибкого вала 5, что обуславливает увеличение срока его службы благодаря резкому уменьшению изнашивающих его воздействий.
Формула изобретения
Устройство для стрижки животных, содержащее стригальную машинку с редуктором, в корпусе которой расположена опорная втулка с подшипниками, промежуточный вал, размещенный в подшипниках опорной втулки, диэлектрическую втулку, бронированный гибкий вал, имеющий диаметр 2,8-4 мм и выполненный с возможностью передвижения вдоль продольной оси промежуточного вала, и высокооборотный приводной электродвигатель с валом, на корпусе которого расположен фланец, при этом бронированный гибкий вал связан через диэлектрическую втулку с валом высокооборотного приводного электродвигателя, а редуктор посредством промежуточного вала кинематически соединен с выходным концом бронированного гибкого вала, концы брони последнего жестко закреплены, соответственно, на опорной втулке и фланце, отличающееся тем, что оно снабжено П-образным неподвижным опорным кронштейном с поперечиной и направляющей обоймой с верхним и нижним профилированными роликами, шарнирно закрепленной на корпусе высокооборотного приводного электродвигателя, упомянутые верхний и нижний профилированные ролики выполнены с обеспечением схватывания поперечины неподвижного опорного кронштейна, при этом бронированный гибкий вал имеет длину, превышающую длину поперечины неподвижного опорного кронштейна в 1,1-1,7 раза, а каждый упомянутый профилированный ролик имеет диаметр, превышающий диаметр поперечного сечения поперечины неподвижного опорного кронштейна в 3-5 раз.
РИСУНКИ
|
|