|
|
(21), (22) Заявка: 2007120868/02, 05.06.2007
(24) Дата начала отсчета срока действия патента:
05.06.2007
(43) Дата публикации заявки: 10.12.2008
(46) Опубликовано: 10.05.2009
(56) Список документов, цитированных в отчете о поиске:
RU 15092 U1, 20.09.2000. SU 416448 A1, 05.07.1974. SU 659777 A1, 30.04.1979. SU 1726836 A1, 15.04.1992. DE 19517374 A, 16.11.1995.
Адрес для переписки:
125319, Москва, Ленинградский пр., 64, МАДИ (ГТУ), патентный отдел
|
(72) Автор(ы):
Приходько Вячеслав Михайлович (RU), Калачев Юрий Николаевич (RU), Нигметзянов Равиль Исламович (RU), Фатюхин Дмитрий Сергеевич (RU), Филиппов Михаил Сергеевич (RU)
(73) Патентообладатель(и):
Московский автомобильно-дорожный институт (государственный технический университет) (RU)
|
(54) УСТРОЙСТВО ДЛЯ РАЗБОРКИ РАСПЫЛИТЕЛЕЙ ФОРСУНОК
(57) Реферат:
Изобретение относится к техническим средствам механизации технологических процессов разборки заклиненных распылителей форсунок дизельных двигателей. Устройство содержит расположенные соосно источник ультразвуковых колебаний с концентратором, имеющим осевой канал, и упор, контактирующий с корпусом распылителя форсунки, а также технологическую камеру для моющего раствора, выполненную с возможностью изменения объема, и механизм его изменения. Упор размещен над корпусом распылителя. Распылитель в сборе с иглой ориентирован хвостовиком иглы вниз с обеспечением возможности свободного выхода последней из корпуса распылителя в осевой канал концентратора под собственным весом. Нижняя часть технологической камеры закреплена с уплотнением на корпусе источника ультразвуковых колебаний. Верхняя часть технологической камеры жестко связана с механизмом изменения ее объема с возможностью размещения разбираемого распылителя форсунки, упора и концентратора в полости технологической камеры. В концентраторе выполнено поперечное сквозное отверстие, сообщающее осевой канал концентратора с полостью технологической камеры, в результате чего обеспечивается возможность совмещения процессов разборки и очистки распылителей форсунок при достижении простоты их монтажа в устройстве. 2 з.п. ф-лы, 2 ил.
Изобретение относится к техническим средствам механизации технологических процессов разборки заклиненных распылителей форсунок дизельных двигателей.
Известны устройства для разборки соединения типа “вал-втулка”, содержащие ванну с моющим раствором, где соосно расположены источник ультразвуковых колебаний и упор, на опорной поверхности которого установлено разбираемое соединение. При этом источник ультразвуковых колебаний расположен над разбираемым соединением, а упор – под ним [1, 2]. При работе устройств колебания от ультразвукового преобразователя передаются корпусу распылителя и в моющий раствор, где возникает кавитация. Ультразвуковые колебания корпуса распылителя обеспечивают большую подвижность иглы распылителя и, следовательно, разборку соединения, а кавитация – очистку разбираемого узла. Недостатком обоих описанных устройств является невысокий уровень интенсивности процесса разборки.
Известно также наиболее близкое техническое решение, принятое за прототип, а именно устройство для разборки распылителя форсунки, которое содержит расположенные по вертикали соосно источник ультразвуковых колебаний, воздействующий с одной стороны на корпус разбираемого распылителя в сборе с иглой, имеющей хвостовик, и упор, контактирующий с корпусом распылителя с другой стороны. Упор расположен над корпусом распылителя форсунки, а источник ультразвуковых колебаний – под корпусом распылителя, при этом распылитель форсунки в сборе ориентирован хвостовиком иглы вниз с обеспечением возможности свободного выхода последней из корпуса распылителя под собственным весом [3].
Недостатками прототипа являются невозможность совмещения процессов разборки и очистки и сложность приспособления и процесса установки и снятия распылителя, влияющая на производительность процесса в целом.
Технической задачей, на решение которой направлено изобретение, является совмещение процессов разборки и очистки распылителей форсунки при упрощении процесса их монтажа в устройстве.
Для решения поставленной технической задачи в известном устройстве для разборки распылителей форсунок, содержащем расположенные по вертикали соосно источник ультразвуковых колебаний, закрепленный на раме и снабженный концентратором, воздействующим с одной стороны на корпус разбираемого распылителя форсунки в сборе с иглой, и упор, контактирующий с корпусом распылителя с другой стороны посредством поджатия, при этом упор размещен над корпусом распылителя, а сам распылитель в сборе с иглой ориентирован хвостовиком иглы вниз с обеспечением возможности свободного выхода последней из корпуса распылителя в осевой канал концентратора под собственным весом, согласно изобретению устройство дополнительно снабжено технологической камерой для моющего раствора, выполненной с изменяемым объемом, и механизмом изменения последнего, причем нижняя часть технологической камеры закреплена с уплотнением на корпусе источника ультразвуковых колебаний, а верхняя часть жестко связана с механизмом изменения ее объема с возможностью размещения разбираемого распылителя форсунки, упора и концентратора в полости технологической камеры, при этом в концентраторе дополнительно выполнено поперечное сквозное отверстие, сообщающее осевой канал концентратора с полостью технологической камеры.
На решение поставленной технической задачи направлено и то, что технологическая камера выполнена из упругого неметаллического материала.
Решение поставленной технической задачи достигается и тем, что поджатие разбираемого распылителя выполнено посредством резьбового соединения упора с концентратором.
Решение поставленной технической задачи, а именно совмещение процессов разборки и очистки распылителей форсунок при достижении простоты процесса их монтажа в устройстве, становится возможным благодаря введению в состав устройства технологической камеры для моющего раствора, выполненной с изменяемым объемом и механизмом изменения последнего, а также благодаря тому, что в концентраторе дополнительно выполнено поперечное сквозное отверстие, что позволяет подвести моющий раствор в зону разбираемого соединения.
В результате конструктивных дополнений появилась возможность размещения разбираемого распылителя форсунки, упора и концентратора источника ультразвуковых колебаний в полости камеры, в которую на последующем этапе осуществляют подачу моющего раствора, то есть процесс разборки проходит в среде моющего раствора и с его участием в процессе промывки разбираемого соединения. Простота достигается за счет упрощения механизма “установки-снятия” изделия благодаря поджатию разбираемого распылителя, выполненного посредством резьбового соединения упора с концентратором.
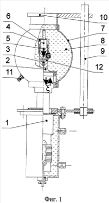
Изобретение поясняется чертежом, где на фиг.1 показана конструкция устройства, реализующего одновременно процессы разборки и очистки распылителей форсунок; на фиг.2 представлена конструкция на этапе монтажа.
На чертеже использованы следующие обозначения: G – сила тяжести иглы распылителя форсунки, – амплитуда колебательных смещений.
Устройство для разборки распылителей форсунок (см. фиг.1) содержит источник 1 ультразвуковых колебаний, выполненный в виде стержневой колебательной системы, которая крепится вертикально на специально изготовленную раму (на чертеже не показана). Источник 1 ультразвуковых колебаний снабжен входящим в его состав концентратором 2, предназначенным для воздействия ультразвуковыми колебаниями на разбираемое соединение. В концентраторе 2 выполнен осевой канал 3. Разбираемый распылитель форсунки, состоящий из корпуса 4 в сборе с иглой 5, установлен на рабочем торце (на чертеже не обозначен) концентратора 2 так, что игла 5 своим хвостовиком (на чертеже не обозначен) входит внутрь осевого канала 3. В устройстве предусмотрен упор 6, надетый сверху на корпус 4 распылителя форсунки и который, контактируя с корпусом 4, прижимает последний к рабочему торцу концентратора 2 и обеспечивает соосное положение по вертикали корпуса 4 и иглы 5 распылителя форсунки с концентратором 2. Таким образом, концентратор 2 воздействует на корпус 4 форсунки с одной стороны, а упор 6 – с другой. При этом упор 6 расположен над корпусом 4 разбираемого распылителя, источник 1 ультразвуковых колебаний с концентратором 2 – под корпусом 4 распылителя, а распылитель форсунки в сборе ориентирован хвостовиком иглы 5 вниз с обеспечением возможности свободного выхода последней из корпуса 4 распылителя под действием собственного веса при ультразвуковом воздействии.
Устройство дополнительно снабжено технологической камерой 7 для моющего раствора 8, выполненной с изменяемым объемом, а также механизмом (на чертеже не обозначен) изменения последнего. Причем нижняя часть технологической камеры 7 закреплена с уплотнением на корпусе (на чертеже не обозначен) источника 1 ультразвуковых колебаний с использованием боковой поверхности (на чертеже не обозначена) концентратора 2. Верхняя часть технологической камеры 7 жестко связана с механизмом изменения ее объема с возможностью размещения разбираемого распылителя форсунки, упора 6 и концентратора 2 в полости технологической камеры 7. При этом механизм изменения объема последней может, например, включать траверсу 9 с кронштейном 10, к которому крепится своей верхней частью технологическая камера 7 и который имеет возможность перемещаться вдоль траверсы 9. Для заполнения полости технологической камеры 7 моющим раствором 8 предусмотрен заливной штуцер 11. В концентраторе 2 дополнительно выполнено поперечное сквозное отверстие 12, сообщающее осевой канал 3 концентратора 2 с полостью технологической камеры 7.
Технологическая камера 7 может быть выполнена, например, из упругого неметаллического материала.
Поджатие разбираемого распылителя может быть выполнено посредством резьбового соединения упора 6 с концентратором 2.
Устройство работает следующим образом.
В подготовительном положении (см. фиг.2) кронштейн 10 находится в крайнем нижнем положении. Для осуществления совмещенного процесса разборки и очистки распылитель форсунки устанавливается на рабочий торец концентратора 2 так, чтобы игла 5 распылителя своим хвостовиком была ориентирована вниз, а ее хвостовик входил в осевой канал 3 концентратора 2. На корпус 4 распылителя форсунки сверху легко и быстро закрепляется упор 6, в частном случае благодаря резьбовому соединению концентратора 2 и упора 6. При этом корпус 4 распылителя прижимается к рабочему торцу концентратора 2. После установки все перечисленные элементы устройства автоматически оказываются расположенными вдоль вертикальной оси, совпадающей с осью источника 1 ультразвуковых колебаний в виде стержневой колебательной системы. Кронштейн 10 поднимается по траверсе 9 в крайнее верхнее положение. Концентратор 2, корпус 4 и игла 5 оказываются внутри технологической камеры 7. Через штуцер 11 камера 7 заполняется моющим раствором 8. При работе стержневой колебательной системы ультразвуковые колебания с амплитудой передаются от концентратора 2 корпусу 4 распылителя и моющему раствору 8. Вследствие этих ультразвуковых колебаний на иглу 5 распылителя периодически действует сила инерции, направленная вертикально вниз и вместе с силой тяжести G иглы 5 распылителя стремящаяся удалить иглу 5 распылителя из корпуса 4 распылителя. Кроме того, наложение колебаний на соединение “корпус 4 распылителя – игла 5 распылителя” снижает значение силы трения между этими деталями. Сочетание указанных процессов вызывает направленное движение иглы 5 распылителя вниз и постепенный выход ее из корпуса 4 распылителя, что приводит к разборке данного соединения. В процессе разборки игла 5 распылителя имеет возможность свободно опускаться в отверстие 3 концентратора 2. Одновременно с процессом разборки происходит и очистка корпуса 4 и иглы 5. При этом моющий раствор 8 свободно проникает в зону разбираемого соединения к осевому каналу 3 в концентраторе 2 благодаря сквозному отверстию 12.
В случае, когда технологическая камера 7 выполнена из упругого неметаллического материала, облегчается процесс изменения ее объема, ускоряется сборка и разборка устройства в целом, а также благодаря резьбовому соединению упора 6 и концентратора 2.
Таким образом, изобретение позволяет совместить процессы разборки и очистки распылителей форсунок при достижении простоты процесса их монтажа в устройстве.
Источники информации
1. А.с. 1468705, кл. В23Р 19/04, 1989.
2. А.с. 659777, кл. F02M 59/48, 1979.
3. Свидетельство на полезную модель 15092, кл. В23Р 19/04, 2000 (прототип).
Формула изобретения
1. Устройство для разборки распылителей форсунок, содержащее расположенные по вертикали соосно источник ультразвуковых колебаний, закрепленный на раме и снабженный концентратором с осевым каналом, воздействующим с одной стороны на корпус разбираемого распылителя форсунки в сборе с иглой, и упор, контактирующий с корпусом распылителя с другой стороны посредством поджатия, при этом упор размещен над корпусом распылителя, а сам распылитель в сборе с иглой ориентирован хвостовиком иглы вниз с обеспечением возможности свободного выхода последней из корпуса распылителя в осевой канал концентратора под собственным весом, отличающееся тем, что оно снабжено технологической камерой для моющего раствора, выполненной с возможностью изменения объема, и механизмом его изменения, причем нижняя часть технологической камеры закреплена с уплотнением на корпусе источника ультразвуковых колебаний, а верхняя часть жестко связана с механизмом изменения ее объема с возможностью размещения разбираемого распылителя форсунки, упора и концентратора в полости технологической камеры, при этом в концентраторе дополнительно выполнено поперечное сквозное отверстие, сообщающее осевой канал концентратора с полостью технологической камеры.
2. Устройство по п.1, отличающееся тем, что технологическая камера выполнена из упругого неметаллического материала.
3. Устройство по п.1, отличающееся тем, что для поджатия корпуса распылителя упор с концентратором соединены посредством резьбы.
РИСУНКИ
|
|