|
|
(21), (22) Заявка: 2006147179/02, 28.12.2006
(24) Дата начала отсчета срока действия патента:
28.12.2006
(43) Дата публикации заявки: 10.07.2008
(46) Опубликовано: 10.05.2009
(56) Список документов, цитированных в отчете о поиске:
SU 1540984 A1, 07.02.1990. SU 62922 A, 1943. SU 496132 A1, 25.12.1975. SU 496132 A1, 25.12.1975. JP 61283485 A1, 13.12.1986.
Адрес для переписки:
460795, г.Оренбург, ул. Челюскинцев, 18, ОГАУ
|
(72) Автор(ы):
Чернышев Виктор Павлович (RU), Гусев Андрей Владимирович (RU), Подковыров Алексей Алексеевич (RU)
(73) Патентообладатель(и):
ФГОУ ВПО “Оренбургский государственный аграрный университет” (RU)
|
(54) СПОСОБ НАПЛАВКИ КЛАПАНА
(57) Реферат:
Изобретение может быть использовано при индукционной наплавке клапанов. Клапан предварительно устанавливают в форму, которую размещают в электромагнитном поле индуктора высокочастотной установки. Насыпают на периферию тарелки клапана самофлюсующийся порошок на никелевой основе. Частоту тока в индукторе выбирают в зависимости от диаметра тарелки клапана в зоне цилиндрического пояска и шага намотки индуктора. Способ обеспечивает улучшение качества наплавки, уменьшение общего времени ремонта клапана при значительно меньших затратах. 1 ил.
Изобретение относится к машиностроению, а именно к наплавке клапана.
Известен способ наплавки клапана металлом, заключающийся в погружении подогретого клапана в расплавленный металл /1/.
Однако после наплавки клапана возникает необходимость убирать лишний металл с днища тарелки клапана, что существенно увеличивает общее время ремонта клапана и расход дорогостоящего порошка. Также необходимо откачивать воздух из пространства, в которое помещен клапан.
Известен также способ наплавки клапана, принятый за прототип, в индукторе установки ТВЧ путем одновременного воздействия на расплав направленным магнитным полем и центробежной силы /2/.
Однако изготовление индуктора с двумя неполными витками токопровода так, чтобы центр сечения одного из них совпадал с центром радиуса галтели, а центр сечения другого – был ниже торца клапана в точке пересечения плоскости, параллельной торцу клапана, и плоскости, проходящей через центр сечения верхнего витка несколько, затруднительно. Причем витки выполняются разных диаметров.
Также есть необходимость вращать клапан с определенной угловой скоростью, в противном же случае расплавленный металл не удержится на фаске клапана.
Применение самофлюсующегося порошка на никелевой основе ПГ-12Н-01 нецелесообразно, так как твердость фаски клапана должна быть меньше твердости седла клапана
Задача изобретения заключается в улучшении качества наплавки, восстановлении высоты цилиндрического пояска фаски тарелки клапана, исключении дополнительной операции после наплавки и уменьшении общего времени ремонта клапана при значительно меньших затратах наплавляемого порошка.
Сущность изобретения заключается в том, что клапан размещают в огнеупорной форме, на периферию тарелки клапана наносят самофлюсующийся порошок на никелевой основе, форму с клапаном помещают в индуктор высокочастотной установки, который создает электромагнитное поле. Электромагнитное поле, проходя через тарелку клапана, нагревает ее, порошок, нагреваясь от тарелки клапана, оплавляется и сплавляется с ней.
Значение величины частоты тока f в индукторе выбирают в зависимости от диаметра d тарелки клапана (в зоне ее цилиндрического пояска), см, и шага намотки t индуктора, см, из выражения 1000·d3/t. Параметрический коэффициент, использованный в приведенной зависимости, отражает корреляционную связь между упомянутыми исходными параметрами d и t и выходным параметром f. При этом размерности исходных и полученного параметров не имеют физической взаимосвязи.
Для наплавки используют самофлюсующийся порошок на никелевой основе (ПГ-СР2), который позволяет получить сплав с высокой жаропрочностью, теплостойкостью и износостойкостью в парах трения с чугуном, а также хорошую прочность сцепления со сталями.
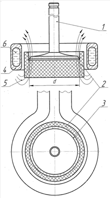
На чертеже изображена схема наплавки клапана.
Клапан 1 помещают в форму 2, на периферию тарелки клапана насыпают самофлюсующийся порошок на никелевой основе 3. Форму с клапаном устанавливают в индуктор 4 высокочастотной установки, который создает электромагнитное поле 5. Индуктор имеет водяную рубашку 6 для охлаждения проточной водой.
Электромагнитное поле, возникающее вокруг индуктора, проходя через тарелку клапана, нагревает ее на 90-110°С ниже точки плавления клапана, вследствие чего нагревается и оплавляется порошок. Сплавляясь, порошок сплавляется с тарелкой клапана.
После завершения процесса наплавки клапан охлаждают на воздухе.
Источники информации
1. SU 62922, 1943, БИ 6.
2. SU 1540984 A1, 1990, БИ 5.
Формула изобретения
Способ наплавки клапана, при котором его размещают в электромагнитном поле индуктора высокочастотной установки и насыпают на периферию тарелки самофлюсующийся порошок на никелевой основе, отличающийся тем, что клапан предварительно устанавливают в форму, которую размещают в поле индуктора, при этом частоту тока f в индукторе выбирают в зависимости от диаметра d тарелки клапана и шага намотки t индуктора как 1000·d3/t.
РИСУНКИ
MM4A – Досрочное прекращение действия патента СССР или патента Российской Федерации на изобретение из-за неуплаты в установленный срок пошлины за поддержание патента в силе
Дата прекращения действия патента: 29.12.2008
Извещение опубликовано: 10.11.2009 БИ: 31/2009
|
|