|
|
(21), (22) Заявка: 2006109038/02, 07.09.2004
(24) Дата начала отсчета срока действия патента:
07.09.2004
(30) Конвенционный приоритет:
24.09.2003 IL 158098
(43) Дата публикации заявки: 27.10.2007
(46) Опубликовано: 10.05.2009
(56) Список документов, цитированных в отчете о поиске:
ЕР 0769341 А1, 23.04.1997. SU 416172 А, 12.07.1974. SU 908541 А, 28.02.1982. SU 1168354 А, 23.07.1985. SU 1423291 А1, 15.09.1988.
(85) Дата перевода заявки PCT на национальную фазу:
24.04.2006
(86) Заявка PCT:
IL 2004/000808 20040907
(87) Публикация PCT:
WO 2005/028149 20050331
Адрес для переписки:
103062, Москва, ул. Покровка, д.33/22, стр.1, агентство “ИНТЭЛС”, пат.пов. О.М.Дьяконовой
|
(72) Автор(ы):
САТРАН Амир (IL)
(73) Патентообладатель(и):
ИСКАР ЛТД. (IL)
|
(54) ТАНГЕНЦИАЛЬНАЯ РЕЖУЩАЯ ПЛАСТИНА И ФРЕЗА
(57) Реферат:
Режущая пластина включает две противолежащие торцовые поверхности, две противолежащие главные боковые поверхности, имеющие в основном равнобедренную трапецеидальную форму на главных видах сбоку на режущую пластину, каждая торцовая поверхность имеет четыре угла, два диагонально противолежащих приподнятых и два диагонально противолежащих заниженных угла, расположенных ближе к средней плоскости режущей пластины. При этом на каждой торцовой поверхности выполнена опорная поверхность. Фреза содержит по крайней мере одну описанную выше режущую пластину и корпус, имеющий по крайней мере одно гнездо, ограниченное смежными боковой и задней стенками, расположенными в основном поперечно к основанию. При этом задняя стенка выполнена в основном выпуклой, боковая стенка выполнена с осевой базирующей поверхностью, предназначенной для взаимодействия со вспомогательной боковой поверхностью режущей пластины. Задняя стенка выполнена с двумя тангенциальными базирующими поверхностями, расположенными по разные стороны от ее центрального участка для взаимодействия тангенциальными опорными поверхностями, расположенными на опорной поверхности режущей пластины. Технический результат: расширение технологических возможностей за счет возможности работы с правым и левым направлением вращения. 2 н. и 18 з.п. ф-лы, 19 ил.
Область техники
Настоящее изобретение относится к тангенциальной индексируемой режущей пластине и фрезе для использования в основном в процессах обработки металла резанием, и в частности для фрезерования прямоугольных уступов на заготовке.
Уровень техники
Тангенциальные режущие пластины, также известные как режущие пластины, установленные по задней грани, ориентированы в державке таким образом, что в процессе операции обработки резанием заготовки силы резания направлены вдоль главного (большего) размера режущей пластины. Преимущество такого устройства состоит в том, что режущая пластина может выдерживать большие силы резания, чем когда она ориентирована так, что силы резания направлены вдоль вспомогательного (меньшего) размера режущей пластины.
В заявке ЕР 0769341 раскрыта торцовая фреза с двухсторонней индексируемой тангенциальной режущей пластиной, имеющей призмоидальную форму с двумя противолежащими в основном прямоугольными передними поверхностями, соединенными боковыми поверхностями. Режущая пластина имеет базовую «негативную» геометрию, и, следовательно, для того чтобы обеспечить необходимый задний угол между режущей пластиной и заготовкой при установке на торцевой фрезе, режущая пластина ориентирована с негативным осевым передним углом. Однако негативные осевые передние углы являются недостатком, например, установлено, что они нежелательны в операциях обработки резанием труднообрабатываемых материалов.
Двухсторонняя индексируемая тангенциальная режущая пластина для расточной головки раскрыта в патенте США 5333972. С каждого конца пластина имеет выступающий плоский участок. Каждая длинная режущая кромка наклонена под углом 3° по отношению к выступающему плоскому участку, определяющим «осевой передний угол пластины». Внутрь от каждой режущей кромки спускается поверхность фаски, сопрягающаяся с поверхностью, имеющей увеличенный угол наклона, для образования стружколомающей канавки. Каждая поверхность, имеющая увеличенный угол наклона, проходит от соответствующей спускающейся поверхности фаски к выступу как сверху, так и снизу по отношению к режущей пластине. Следует отметить, что величина осевого переднего угла пластины ограничена вследствие практических причин. Любое увеличение осевого переднего угла пластины вызовет увеличение «вертикального» размера поверхности с увеличенным углом наклона (см. фиг.3 патента США 5333972), что будет иметь отрицательный эффект на образование стружки и ее отвод.
В международной заявке WO 96/35536 раскрыта двухсторонняя индексируемая тангенциальная режущая пластина, которая при установке на торцовую фрезу имеет позитивный осевой передний угол даже при необходимом заднем угле между ней и заготовкой. Эта режущая пластина имеет две периферийные режущие кромки для правой торцовой фрезы и две периферийные режущие кромки для левой торцовой фрезы. На виде сбоку (см. фиг.9) режущая пластина имеет в основном ромбоидальную форму. Главные режущие кромки 10 каждой торцовой поверхности расположены параллельно друг другу (см. также фиг.7 и 8), а по центру расположен выступающий опорный элемент 12. Режущая пластина удерживается в гнезде при контакте опорного элемента нерабочей торцовой поверхности и смежной нерабочей задней поверхности с соответствующими опорными поверхностями гнезда. Опорный элемент нерабочей торцовой поверхности и смежная нерабочая задняя поверхность образуют острый установочный угол. Для того чтобы изменить осевой передний угол рабочей режущей кромки, должно быть повернуто гнездо либо использованы режущие пластины с различными по величине установочными углами. В любом случае должна быть использована другая фреза. Более того, осевой передний угол и задние углы являются взаимозависимыми и любое изменение осевого переднего угла приводит к определенному изменению заднего угла, которое не всегда является требуемым.
В заявке Израиля 153252 раскрыты двухсторонняя индексируемая тангенциальная режущая пластина и фреза, в которых значительно преодолены вышеупомянутые проблемы. Однако раскрытая режущая пластина может работать только с одним направлением вращения, поскольку она является либо правой, либо левой. В определенных условиях целесообразно иметь режущую пластину с возможностями, раскрытыми в заявке Израиля 153252, но которая могла бы использоваться в операциях фрезерования как с правым, так и с левым вращением.
Задача настоящего изобретения состоит в создании двухсторонней индексируемой тангенциальной режущей пластины, в которой существенно преодолены вышеупомянутые проблемы.
Сущность изобретения
В соответствии с настоящим изобретением предложена тангенциальная режущая пластина для фрезы, имеющая две идентичные противолежащие торцовые поверхности, имеющие в основном прямоугольную форму на виде сверху на режущую пластину, периферийную боковую поверхность, расположенную между двумя противолежащими торцовыми поверхностями, и периферийную кромку, образованную на пересечении каждой торцовой поверхности с периферийной боковой поверхностью, по крайней мере, два участка каждой периферийной кромки являются режущими кромками;
периферийная боковая поверхность включает две противолежащие главные боковые поверхности, имеющие в основном равнобедренную трапецеидальную форму на главных видах сбоку на режущую пластину, каждая торцовая поверхность имеет четыре угла, два диагонально противолежащих приподнятых угла и два диагонально противолежащих заниженных угла, при этом заниженные углы расположены ближе к средней плоскости М режущей пластины, чем приподнятые углы, средняя плоскость М проходит между двумя противолежащими торцовыми поверхностями режущей пластины, каждая торцовая поверхность выполнена с опорной поверхностью.
В соответствии с настоящим изобретением периферийная боковая поверхность режущей пластины включает две противолежащие вспомогательные боковые поверхности, в основном расположенные поперечно к главным боковым поверхностям и торцовым поверхностям, каждая вспомогательная боковая поверхность имеет в основном прямоугольную форму с двумя срезанными углами на вспомогательном виде сбоку на режущую пластину.
Также в соответствии с настоящим изобретением режущая пластина имеет зеркальную симметрию по отношению к средней плоскости М.
Предпочтительно на главных видах сбоку на режущую пластину опорные поверхности лежат на вогнутой поверхности.
В соответствии с настоящим изобретением опорная поверхность включает три плоские части, две наружные плоские части и внутреннюю плоскую часть между ними.
Также в соответствии с настоящим изобретением каждая режущая кромка включает главную режущую кромку, вспомогательную режущую кромку и угловую режущую кромку между ними. Главная вспомогательная и угловая кромки образованы на пересечении главных боковых поверхностей, вспомогательных боковых поверхностей и длинных угловых боковых поверхностей соответственно с каждой торцовой поверхностью. Каждая угловая режущая кромка относится к определенному приподнятому углу; каждая главная режущая кромка проходит вдоль практически всей длины соответствующей главной кромки, а каждая вспомогательная режущая кромка проходит вдоль, по крайней мере, половины длины соответствующей вспомогательной кромки.
В соответствии с первым предпочтительным вариантом настоящего изобретения на виде сверху на режущую пластину определены две средние линии, по одной для каждой наружной плоской части, средние линии не перекрываются и не лежат на общей прямой линии.
Предпочтительно две средние линии расположены параллельно.
Предпочтительно также две средние линии расположены параллельно главным боковым поверхностям режущей пластины.
В соответствии со вторым вариантом настоящего изобретения в поперечном сечении режущей пластины плоскостью, перпендикулярной средней плоскости М режущей пластины, опорная поверхность данной торцовой поверхности расположена ближе к средней плоскости М, чем передний участок одной из главных режущих кромок данной торцовой поверхности.
В соответствии с настоящим изобретением предложена также фреза, содержащая по крайней мере одну режущую пластину и корпус, имеющий по крайней мере одно гнездо для установки режущей пластины, ограниченное смежными боковой и задней стенками, расположенными в основном поперечно к основанию, задняя стенка выполнена в основном выпуклой, боковая стенка выполнена с осевой базирующей поверхностью, взаимодействующей со вспомогательной боковой поверхностью режущей пластины на заданном осевом опорном участке; задняя стенка выполнена с двумя базирующими поверхностями, расположенными по разные стороны от ее центрального участка; первая из двух базирующих поверхностей взаимодействует с одной из двух тангенциальных опорных поверхностей, расположенных на опорной поверхности, вторая из двух базирующих поверхностей взаимодействует с другой из двух тангенциальных опорных поверхностей, расположенных на опорной поверхности.
В соответствии с настоящим изобретением данный осевой опорный участок расположен на переднем участке радиально наружной короткой боковой поверхности соответствующей вспомогательной боковой поверхности, удаленном от задней стенки гнезда.
Краткое описание чертежей
Для лучшего понимания, но только в качестве примера, изобретение будет описано со ссылками к приложенным чертежам, на которых:
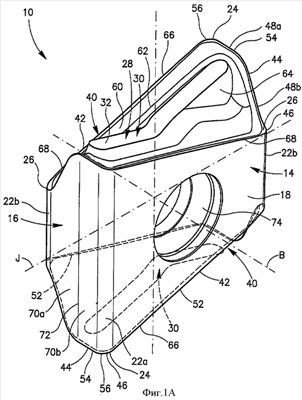
на фиг.1А в перспективе показан вид на режущую пластину в соответствии с первым вариантом настоящего изобретения;
на фиг.1В показан дополнительный вид в перспективе на режущую пластину на фиг.1А;
на фиг.2 показан главный вид сбоку на режущую пластину, представленную на фиг.1А и 1В;
на фиг.3 показано поперечное сечение режущей пластины, представленной на фиг.1А и 1В по линии III-III на фиг.2;
на фиг.4 показан вид сверху на режущую пластину, представленную на фиг.1А и 1В;
на фиг.5 показан вспомогательный вид сбоку на режущую пластину, представленную на фиг.1А и 1В;
на фиг.6 показано поперечное сечение режущей пластины, представленной на фиг.1А и 1В по линии VI-VI на фиг.4;
на фиг.7 показано поперечное сечение режущей пластины, представленной на фиг.1А и 1В по линии VII-VII на фиг.4;
на фиг.8 показано поперечное сечение режущей пластины, представленной на фиг.1А и 1В по линии VIII-VIII на фиг.4;
на фиг.9 показан вид сбоку на фрезу в соответствии с настоящим изобретением;
на фиг.10 показан вид в перспективе на часть корпуса фрезы на фиг.9, представляющий детально гнездо под пластину;
на фиг.11 в перспективе показан вид на режущую пластину в соответствии со вторым вариантом настоящего изобретения;
на фиг.12 показан главный вид сбоку на режущую пластину, представленную на фиг.11;
на фиг.13 показано поперечное сечение на режущую пластину, представленную на фиг.11 по линии XIII-XIII на фиг.12;
на фиг.14 показан вид сверху на режущую пластину, представленную на фиг.11;
на фиг.15 показан вспомогательный вид сбоку на режущую пластину, представленную на фиг.11;
на фиг.16 показано поперечное сечение на режущую пластину, представленную на фиг.11 по линии XVI-XVI на фиг.14;
на фиг.17 показано поперечное сечение на режущую пластину, представленную на фиг.11 по линии XVII-XVII на фиг.14; и
на фиг.18 показано поперечное сечение на режущую пластину, представленную на фиг.11 по линии XVIII-XVIII на фиг.14.
Детальное описание предпочтительных вариантов
Рассмотрим вначале фиг.1-5, показывающие индексируемую тангенциальную режущую пластину 10 в соответствии с первым вариантом настоящего изобретения. Режущая пластина 10, как правило, изготавливается путем фасонного прессования и спекания карбидных порошков. Однако другие способы изготовления, например инжекционное прессование, могут быть использованы. Режущая пластина 10 является в основном прямоугольной на виде сверху и имеет две идентичные противолежащие торцовые поверхности 12. Каждая торцовая поверхность 12 имеет 180° поворотную симметрию вокруг оси симметрии Е, проходящей через две торцовые поверхности 12. Режущая пластина 10 является зеркально симметричной по отношению к ее средней плоскости М. Средняя плоскость М расположена перпендикулярно к оси симметрии Е и проходит между торцовыми поверхностями 12.
Периферийная боковая поверхность 14 расположена между двумя противолежащими торцовыми поверхностями 12 и включает две противолежащие идентичные вспомогательные боковые поверхности 16, две противолежащие идентичные главные боковые поверхности 18, две диагонально противолежащие длинные угловые боковые поверхности 22а и две диагонально противолежащие короткие угловые боковые поверхности 22b. Главная и вспомогательная оси J, B режущей пластины 10 расположены перпендикулярно друг к другу и перпендикулярно к оси симметрии Е. Ось симметрии Е и вспомогательная ось В определяют вспомогательную плоскость Р1 режущей пластины 10. Аналогично ось симметрии Е и главная ось J определяют главную плоскость Р2 режущей пластины. Главная плоскость Р2 выполнена параллельной и расположена посередине между двумя главными боковыми поверхностями 18 режущей пластины 10. Смежные вспомогательная и главная боковые поверхности 16, 18 соединяются через общую угловую боковую поверхность 22а, 22b. Режущая пластина 10 имеет первый главный размер D1, измеряемый между торцовыми поверхностями 12, который больше, чем вспомогательный размер D2, измеренный между главными боковыми поверхностями 18. Второй главный размер D3, измеренный между вспомогательными поверхностями 16 также больше, чем вспомогательный размер D2.
Каждая торцовая поверхность 12 имеет четыре угла, два диагонально противолежащих приподнятых угла 24 и два диагонально противолежащих заниженных угла 26, заниженные углы 26 расположены ближе к средней плоскости М, чем приподнятые углы 24. Каждая из длинных угловых боковых поверхностей 22а расположена между приподнятым углом 24 одной из двух противолежащих торцовых поверхностей 12 и противолежащим приподнятым углом 24 другой из двух противолежащих торцовых поверхностей 12. Аналогично каждая из коротких угловых боковых поверхностей 22b расположена между заниженным углом 26 одной из двух противолежащих торцовых поверхностей 12 и противолежащим заниженным углом 26 другой из двух противолежащих торцовых поверхностей 12.
Каждая торцовая поверхность 12 выполнена с выступающим опорным элементом 28, имеющим выступающую опорную поверхность 30, причем на главном виде сбоку на режущую пластину (т.е. на виде сбоку на любую из двух идентичных противолежащих главных боковых поверхностей 18) выступающий опорный элемент 28 имеет в основном вогнутую форму. Выступающая опорная поверхность 30 включает три в основном плоские части, две наружные плоские части 32 и внутреннюю плоскую часть 34, расположенную между ними. Следовательно, на главном виде сбоку на режущую пластину 10 каждая выступающая опорная поверхность 30 лежит на вогнутой поверхности S, имеющей в основном V-образную форму.
Периферийная кромка 40 образована на пересечении каждой торцовой поверхности 12 и периферийной боковой поверхности 14. Периферийная кромка 40 включает две главные кромки 42, образованные при пересечении главных боковых поверхностей 18 с торцовой поверхностью 12; две вспомогательные кромки 44, образованные при пересечении вспомогательных боковых поверхностей 16 с торцовой поверхностью 12; и четыре угловые кромки 46, образованные при пересечении как длинных, так и коротких угловых боковых поверхностей 22а, 22b с торцовой поверхностью 12. Как может быть видно на фиг.2, на главном виде сбоку на режущую пластину 10 главная боковая поверхность 18 имеет в основном равнобедренную трапецеидальную форму, ограниченную парой противолежащих главных кромок 42 и противолежащими параллельными длинной и короткой угловыми боковыми поверхностями 22а, 22b.
По крайней мере два участка каждой периферийной кромки 40 режущей пластины 10 являются режущими кромками 50. Каждая режущая кромка 50 включает главную режущую кромку 52, проходящую вдоль практически всей длины соответствующей главной кромки 42; вспомогательную режущую кромку 54, проходящую вдоль, по крайней мере, половины длины соответствующей вспомогательной кромки 44; и соответствующую приподнятому углу 24 угловую режущую кромку 56, по которой соединяются главная и вспомогательная режущие кромки 52, 54. К каждой режущей кромке 50 на торцовых поверхностях 12 примыкает передняя поверхность 60, вдоль которой сходит стружка, удаляемая с заготовки в процессе операции фрезерования. Между передней поверхностью 60 и выступающим опорным элементом 28 расположена стружкообразующая канавка 62. Часть выступающего опорного элемента 28, обращенная к стружкообразующей канавке составляет стружколом 64.
Рассмотрим фиг.5, как видно, каждая вспомогательная боковая поверхность 16 имеет в основном прямоугольную форму с двумя усеченными углами и разделена на две вспомогательные боковые подповерхности 70а, 70b (длинная вспомогательная боковая подповерхность 70а и короткая вспомогательная боковая подповерхность 70b) ребром 72, расположенным на пересечении вспомогательной боковой поверхности 16 с главной плоскостью Р2 режущей пластины 10. Длинная вспомогательная боковая подповерхность 70а имеет в основном прямоугольную форму, тогда как короткая вспомогательная боковая подповерхность 70b может рассматриваться аналогичной длинной вспомогательной боковой подповерхности 70а, но с двумя срезанными углами. На виде сверху на режущую пластину 10 каждая вспомогательная боковая подповерхность 70а, 70b проходит от ребра 72 под углом по отношению к плоскости Р3, проходящей через ребро 72 и расположенной перпендикулярно к главной плоскости Р2 (см. фиг.4). В соответствии со специфическим исполнением угол составляет приблизительно 1,5°. Сквозное отверстие 74, ось которого совпадает со вспомогательной осью В режущей пластины 10, расположено между главными боковыми поверхностями 18.
Как станет понятно ниже при рассмотрении фрезы в соответствии с настоящим изобретением, участок главной режущей кромки 52, примыкающий к приподнятому углу 24, составляет передний участок 66 главной режущей кромки 52, тогда как участок главной режущей кромки 52, примыкающий к заниженному углу 26, составляет задний участок 68 главной режущей кромки 52. Как может быть видно на фиг.2, на главном виде сбоку на режущую пластину 10 выступающий опорный элемент 28 в области переднего участка 66 главной режущей кромки 52 и вплоть до и немного за внутреннюю плоскую часть 34 выступающей опорной поверхности 30 не выступает значительно над главной режущей кромкой 52. Поэтому стружки, образованные на этом участке в процессе операции фрезерования, почти не подвергаются воздействию выступающего опорного элемента 28 и, следовательно, нормально образуются. Однако в области заднего участка 68 главной режущей кромки 52 стружколом 64 выступает значительно больше по отношению к главной режущей кромке 52, чем в области переднего участка 66, и может воздействовать на образование стружки.
Для того чтобы уменьшить влияние выступающего стружколома 64 в области заднего участка 68, он спроектирован с расположением дальше от главной режущей кромки 52 в этой области, чем в области переднего участка 66. Поэтому, как может быть видно на фиг.4, на виде сверху на режущую пластину 10 выступающий опорный элемент 28 и соответственно выступающая опорная поверхность 30 имеют вытянутую S-образную форму. Каждая наружная плоская часть 32 выступающей опорной поверхности 30 ограничена двумя параллельными длинными кромками 36, расположенными между двумя короткими кромками 38. Следовательно, каждая наружная плоская часть 32 выступающей опорной поверхности 30 проходит от соответствующей короткой кромки 38 к внутренней плоской части 34. Каждая из двух наружных плоских частей 32 имеет среднюю линию L1, L2, которые параллельны и смещены от главной плоскости Р2. Одна средняя линия L1 смещена в одну сторону от главной плоскости Р2, а другая средняя линия L2 смещена в другую сторону от главной плоскости Р2, при этом внутренняя плоская часть 34 расположена поперечно к главной плоскости Р2. Вследствие этого на виде сверху на режущую пластину 10, как может быть видно на фиг.4, средние линии L1, L2 двух наружных плоских частей 32 расположены параллельно на расстоянии одна от другой. Другими словами, средние линии L1, L2 двух наружных плоских частей 32 параллельны, не перекрываются и не лежат на одной общей прямой линии. Вследствие такой конструкции расстояние между стружколомом 64 и противолежащей главной режущей кромкой 52 остается постоянным вдоль каждой наружной плоской части 32. Это является преимуществом в областях, где стружколом 64 значительно выступает над противолежащей главной режущей кромкой 52, как показано справа на фиг.6 и слева на фиг.8.
Хотя показанная форма главной режущей кромки является в основном прямой, она может иметь любую требуемую форму на любой длине и наклонена в основном вниз от приподнятого угла 24 к заниженному углу 26, как показано на фиг.2. Рассмотрим фиг.5, как может быть видно на вспомогательном виде сбоку на режущую пластину 10 (т.е. на виде сбоку на вспомогательные боковые поверхности 16), вспомогательная кромка 44 четко разделена на два участка: первый участок 48а, соответствующий длинной боковой поверхности 70а, проходит от приподнятого угла 24 приблизительно до главной плоскости Р2, а второй участок 48b, соответствующий короткой боковой поверхности 70b, проходит от главной плоскости Р2 к заниженному углу 26. Первый участок 48а выполнен приблизительно прямым и расположен перпендикулярно к главной боковой поверхности 18 на главном виде сбоку (см. фиг.5) и ориентирован под углом по отношению к плоскости РЗ на виде сверху (см. фиг.4). Второй участок 48b проходит приблизительно от главной плоскости Р2 наклонно к заниженному углу 26 на вспомогательном виде сбоку (см. фиг.5) и ориентирован под углом по отношению к плоскости Р3 на виде сверху (см. фиг.4). Первый участок 48а вспомогательной кромки 44 образует вспомогательную режущую кромку 54. В соответствии со специфическим исполнением угол равен приблизительно 1,5°.
Рассмотрим фиг.9, показывающую фрезу 80 с осью вращения R, имеющую корпус 82 с множеством гнезд 84 под режущие пластины. Показанная фреза является пазовой и представляет одно из преимуществ режущей пластины 10 в соответствии с настоящим изобретением. Хотя такая фреза требует как правосторонних, так и левосторонних режущих пластин, используется одна режущая пластина, поскольку режущая пластина 10 является как право-, так и левосторонней. Каждая режущая пластина 10 устанавливается на корпусе 82 с осевым передним углом в основном в диапазоне от 5° до 20° и закрепляется в гнезде 84 посредством крепежного винта (не показан). Каждая режущая пластина установлена так, чтобы был задний угол между заготовкой (не показана) и ее вспомогательной боковой поверхностью 16, расположенной со стороны торца 86 фрезы.
Конструкция гнезда 84 под пластину детально показана на фиг.10. Гнездо 84 ограничено смежными осевой и задней стенками 88, 90, расположенными в основном поперечно к основанию 92. Задняя стенка 90 выполнена в основном выпуклой, а осевая стенка 88 выполнена с осевой базирующей поверхностью 94 для взаимодействия с короткой боковой поверхностью 70b вспомогательной боковой поверхности 16 режущей пластины 10 на осевом опорном участке 96. Задняя стенка 90 выполнена с двумя тангенциальными базирующими поверхностями: верхней тангенциальной базирующей поверхностью 98, примыкающей к осевой стенке 88 гнезда 84, и нижней тангенциальной базирующей поверхностью 100, примыкающей к торцу фрезы 86. Две тангенциальные базирующие поверхности 98, 100 выступают наружу из задней стенки 90 и расположены по разные стороны от ее центрального участка 102, который соответственно занижен по отношению к тангенциальным базирующим поверхностям 98, 100. Верхняя тангенциальная базирующая поверхность 98 взаимодействует с одной из двух тангенциальных опорных поверхностей 104, расположенной на одной из двух наружных поверхностей 32 опорной поверхности 30. Аналогично нижняя тангенциальная базирующая поверхность 100 взаимодействует с другой из двух тангенциальных опорных поверхностей 104, расположенной на другой из двух наружных поверхностей 32 опорной поверхности 30.
Осевой опорный участок 96 расположен на короткой боковой поверхности 70b, которая является радиально наружной вспомогательной боковой подповерхностью вспомогательной боковой поверхности 16. Каждая короткая боковая поверхность 70b выполнена с двумя осевыми опорными участками 96, примыкающими к заниженным углам 26 (см. фиг.5), одним – для правосторонних операций и другим – для левосторонних операций. На основании 92 гнезда 84 выполнено резьбовое отверстие для установки крепежного винта. Когда режущая пластина 10 закреплена в гнезде 84, радиально внутренняя главная боковая поверхность 20 взаимодействует с основанием 92 гнезда 84. Главная боковая поверхность 18 и вспомогательные боковые подповерхности 70а, 70b предпочтительно шлифованы, чтобы гарантировать правильное позиционирование режущей пластины 10 в гнезде 84.
Хотя режущая пластина 10 была описана как имеющая выступающий опорный элемент 28, удлиненный и S-образный, очевидно, что другие варианты формы выступающего элемента 28 и опорной поверхности 30 возможны в соответствии с настоящим изобретением с обеспечением того, что на главном виде сбоку, как на фиг.2, опорная поверхность 30 выполнена вогнутой, а задняя стенка 90 гнезда 84 спроектирована соответственно выпуклой с двумя выступающими тангенциальными базирующими поверхностями 98, 100 для взаимодействия с вогнутой поверхностью 30.
На фиг.11-18 показана индексируемая тангенциальная режущая пластина 210 в соответствии со вторым вариантом настоящего изобретения, имеющая оси (В, Е, и J) и плоскости (P1, P2, Р3 и М), определяемые так же, как для режущей пластины 10 по первому варианту настоящего изобретения. Поскольку режущая пластина 210 в соответствии со вторым вариантом настоящего изобретения имеет много элементов, сходных с режущей пластиной 10 в соответствии с первым вариантом, похожие элементы будут просто обозначены ниже позициями, начинающимися с 200, по сравнению с позициями для режущей пластины 10 в соответствии с первым вариантом.
Периферийная боковая поверхность 214 расположена между двумя противолежащими торцовыми поверхностями 212 режущей пластины 210 и включает две противолежащие идентичные вспомогательные боковые поверхности 216, две противолежащие идентичные главные боковые поверхности 218, две диагонально противолежащие длинные угловые боковые поверхности 222а и две диагонально противолежащие короткие угловые боковые поверхности 222b. Смежные вспомогательная и главная боковые поверхности 216, 218 соединяются по общей угловой боковой поверхности 222а, 222b. Каждая торцовая поверхность 212 имеет четыре угла, два диагонально противолежащих приподнятых угла 224 и два диагонально противолежащих заниженных угла 226, расположенных ближе к средней плоскости М, чем приподнятые углы 224. Каждая из длинных угловых боковых поверхностей 222а расположена между приподнятым углом 224 одной из двух противолежащих торцовых поверхностей 212 и противолежащим приподнятым углом 224 другой из двух противолежащих торцовых поверхностей 212. Аналогично каждая из коротких угловых боковых поверхностей 222b расположена между заниженным углом 226 одной из двух противолежащих торцовых поверхностей 212 и противолежащим заниженным углом 226 другой из двух противолежащих торцовых поверхностей 212.
Периферийная кромка 240 образована на пересечении каждой торцовой поверхности 212 с периферийной боковой поверхностью 214. Периферийная кромка 240 включает две главные кромки 242, образованные на пересечении главных боковых поверхностей 218 с торцовой поверхностью 212; две вспомогательные кромки 244, образованные при пересечении вспомогательных боковых поверхностей 216 с торцовой поверхностью 212; и четыре угловые кромки 246, образованные на пересечении длинных и коротких угловых боковых поверхностей 222а, 222b с торцовой поверхностью 212. Как может быть видно на фиг.12, на главном виде сбоку на режущую пластину 210 главная боковая поверхность 218 имеет в основном равнобедренную трапецеидальную форму, ограниченную парой противолежащих главных кромок 242 и противолежащими параллельными длинной и короткой угловыми боковыми поверхностями 222а, 222b.
По крайней мере два участка каждой периферийной кромки 240 режущей пластины 210 составляют режущие кромки 250. Каждая режущая кромка 250 включает главную режущую кромку 252, проходящую вдоль практически всей длины соответствующей главной кромки 242; вспомогательную режущую кромку 254, проходящую вдоль по крайней мере половины длины соответствующей вспомогательной кромки 244; и угловую режущую кромку 256 на приподнятом угле 224, соединяющую главную и вспомогательную режущие кромки 252, 254.
На фиг.14 показан вид сверху на второй вариант режущей пластины, на котором, в частности, видна торцовая поверхность 212, включающая две параллельные главные режущие кромки 252. Между двумя главными режущими кромками 252 расположен опорный элемент 228, имеющий опорную поверхность 230. Опорная поверхность 230 включает три в основном плоские части, две наружные плоские части 232 с внутренней плоской частью 234 между ними. Каждая наружная плоская часть 232 опорной поверхности 230 ограничена с одной стороны параллельной длинной кромкой 236, которая параллельна и расположена напротив переднего участка 266 главной режущей кромки 252. Передний участок 266 проходит вдоль главной режущей кромки 252 от угловой режущей кромки 256, по крайней мере, за вспомогательную плоскость Р1, остающаяся длина режущей кромки 252 составляет задний участок 268. Стружколом 264 выступает на главном виде сбоку (фиг.12) над задним участком 268 главной режущей кромки 252. Стружколом 264 и соответствующая ему наружная плоская часть 232 опорной поверхности 230 пересекаются по диагональной кромке 237, которая ограничивает наружную плоскую часть 232 с противоположной стороны от параллельной длинной кромки 236, диагональная кромка 237 расположена напротив заднего участка 268 главной режущей кромки 252. Каждая наружная плоская часть 232 опорной поверхности 230 дополнительно ограничивается внутренней плоской частью 234 опорной поверхности 230 и короткой кромкой 238, которая параллельна вспомогательной режущей кромке 254 режущей пластины 210. Каждая опорная поверхность 230 лежит на вогнутой поверхности S, которая в основном имеет V-образную форму, посредством чего минимизируются любые препятствия для стружкообразования в процессе фрезерования. Более того, в отличие от режущей пластины 10 в соответствии с первым вариантом на главных видах сбоку на режущую пластину 210 в соответствии со вторым вариантом опорная поверхность 230 не выступает над передним участком 266 главной режущей кромки 252 (см. фиг.12), что еще более уменьшает препятствия для стружкообразования.
Рассмотрим теперь фиг.16, 17 и 18, как видно, в каждом поперечном сечении по плоскости, параллельной вспомогательной плоскости Р1 режущей пластины 210, опорная поверхность 230 торцовой поверхности 212 расположена ближе средней плоскости М, чем передний участок 266 одной из главных режущих кромок 252 на той же торцовой поверхности 212. Например, в поперечном сечении, показанном на фиг.16, передний участок 266 главной режущей кромки 252, размещенный слева на чертеже, расположен на расстоянии H1 от средней плоскости М, тогда как соответствующая опорная поверхность 230 расположена на расстоянии h1, где H1 больше, чем h1. Аналогично в поперечном сечении, показанном на фиг.17, передний участок 266 главной режущей кромки 252 расположен на расстоянии Н2 от средней плоскости М, тогда как опорная поверхность 230 расположена на расстоянии h2, где H2 больше, чем h2. Аналогично в поперечном сечении, показанном на фиг.18, проходящем по вспомогательной плоскости Р1, передний участок 266 главной режущей кромки 252 расположен на расстоянии Н3 от средней плоскости М, тогда как опорная поверхность 230 расположена на расстоянии h3, где Н3 больше, чем h3. Другими словами, опорный элемент 228 в области переднего участка 266 главной режущей кромки 252 и до и слегка за вспомогательную плоскость Р1 (как может быть видно на фиг.12) не выступает над главной режущей кромкой 252. Как следствие этого, стружки, срезанные с заготовки в области переднего участка 266 главной режущей кромки 252 свободно образуются в процессе фрезерования. Однако в области заднего участка 268 главной режущей кромки 252 стружколом 264 выступает выше главной режущей кромки 252 (как может быть видно на фиг.12 и с правой стороны на фиг.16 и 17) и может препятствовать образованию стружек.
Для того чтобы уменьшить влияние стружколома 264 в области заднего участка 268, опорный элемент 228 спроектирован так, чтобы быть расположенным на большем расстоянии от главной режущей кромки 252 в области заднего участка 268, чем в области переднего участка 266. Поэтому на виде сверху на режущую пластину 210 продольная ось С опорного элемента 228 расположена под острым углом по отношению к главной плоскости Р2.
Режущая пластина 210 в соответствии со вторым вариантом устанавливается в корпусе 82 фрезы таким же образом, как режущая пластина 10 в соответствии с первым вариантом, причем две наружно выступающие тангенциальные базирующие поверхности 98, 100 задней стенки 90 гнезда 84 взаимодействуют с двумя тангенциальными опорными поверхностями 304, расположенными на наружных поверхностях 232 опорной поверхности 230, а осевой опорный участок 296, расположенный на радиально наружной короткой боковой поверхности 270b вспомогательной боковой поверхности 216, взаимодействует с осевой базирующей поверхностью 94 в гнезде 84 корпуса 82. Опорные поверхности 304 и осевой опорный участок 296 режущей пластины 210 могут быть видны на фиг.14 и 15 соответственно.
Хотя настоящее изобретение было описано с определенной степенью детализации, следует понимать, что различные изменения и модификации могут быть выполнены без отхода от объема притязаний изобретения, изложенных в приведенной ниже формуле.
Формула изобретения
1. Тангенциальная режущая пластина (10, 210), включающая две противолежащие торцовые поверхности (12, 212), имеющие в основном прямоугольную форму на виде сверху на режущую пластину (10, 210) и расположенные зеркально симметрично по отношению к средней плоскости (М), проходящей между ними, периферийную боковую поверхность (14, 214), расположенную между двумя противолежащими торцовыми поверхностями (12, 212), и периферийную кромку (40, 240), образованную на пересечении каждой торцовой поверхности (12, 212) с периферийной боковой поверхностью (14, 214), при этом по крайней мере два участка каждой периферийной кромки составляют режущие кромки (50, 250), периферийная боковая поверхность (14, 214) включает две противолежащие главные боковые поверхности (18, 218), имеющие в основном равнобедренную трапецеидальную форму на главных видах сбоку на режущую пластину (10, 210), каждая торцовая поверхность (12, 212) имеет четыре угла (24, 26, 224, 226), два диагонально противолежащих приподнятых угла (24, 224) и два диагонально противолежащих заниженных угла (26, 226), расположенных ближе к средней плоскости (М) режущей пластины (10, 210), чем приподнятые углы (24, 224), а на каждой торцовой поверхности (12, 212) выполнена опорная поверхность (30, 230).
2. Режущая пластина (10, 210) по п.1, в которой периферийная боковая поверхность (12, 212) включает две противолежащие вспомогательные боковые поверхности (16, 216), расположенные в основном поперечно к главным боковым поверхностям (18, 218) и торцовым поверхностям (12, 212), каждая вспомогательная боковая поверхность (16, 216) имеет в основном прямоугольную форму с двумя срезанными углами на вспомогательном виде сбоку на режущую пластину (10, 210).
3. Режущая пластина (10, 210) по п.2, которая выполнена зеркально симметричной по отношению к средней плоскости (М).
4. Режущая пластина (10) по п.3, в которой на виде сбоку на каждую главную боковую поверхность (18) опорная поверхность (30) выполнена в основном V-образно.
5. Режущая пластина (10) по п.3, в которой на виде сбоку на каждую главную боковую поверхность (18) опорная поверхность лежит на вогнутой поверхности (S).
6. Режущая пластина по п.5, в которой опорная поверхность (30) включает три плоские части (32, 34), две наружные плоские части (32) с внутренней плоской частью (34) между ними.
7. Режущая пластина (10) по п.6, в которой на виде сверху определены две средние линии (L1, L2) по одной для каждой наружной плоской части (32), средние линии (L1, L2) не перекрываются и не лежат на одной общей прямой линии.
8. Режущая пластина (10) по п.7, в которой две средние линии (L1, L2) расположены параллельно.
9. Режущая пластина (10) по п.8, в которой две средние линии (L1, L2) расположены параллельно к главным боковым поверхностям (18).
10. Режущая пластина (10) по п.6, в которой на виде сверху опорная поверхность (30) имеет вытянутую S-образную форму.
11. Режущая пластина (10) по любому из пп.1-10, в которой каждая режущая кромка (50) включает главную режущую кромку (52), вспомогательную режущую кромку (54) и угловую режущую кромку (56) между ними.
12. Режущая пластина (10) по п.11, в которой главная, вспомогательная и угловые кромки (42, 44, 46) образованы на пересечении главных боковых поверхностей (18), вспомогательных боковых поверхностей (16) и длинных угловых боковых поверхностей (22а) соответственно с каждой торцовой поверхностью (12).
13. Режущая пластина (10) по п.11, в которой каждая угловая режущая кромка (56) соответствует приподнятому углу (24).
14. Режущая пластина (10) по п.11, в которой каждая главная режущая кромка (52) проходит вдоль практически всей длины соответствующей главной кромки (42).
15. Режущая пластина (10) по п.11, в которой каждая вспомогательная режущая кромка (54) проходит вдоль, по крайней мере, половины длины соответствующей вспомогательной кромки (16).
16. Режущая пластина (210) по любому из пп.1-3, в которой в каждом поперечном сечении плоскостью перпендикулярной к средней плоскости (М) опорная поверхность (230) торцовой поверхности (212) расположена ближе к средней плоскости (М), чем передний участок (266) одной из главных режущих кромок (252) торцовой поверхности (212).
17. Режущая пластина (210) по п.16, в которой главная, вспомогательная и угловые кромки (242, 244, 246) образованы на пересечении главных боковых поверхностей (218), вспомогательных боковых поверхностей (216) и длинных угловых боковых поверхностей (222а) соответственно с каждой торцовой поверхностью (212).
18. Режущая пластина (210) по п.16, в которой каждая угловая режущая кромка (256) соответствует каждому приподнятому углу (224),
19. Фреза (80), содержащая по крайней мере одну режущую пластину (10, 210) по п.1 и корпус (82), имеющий по крайней мере одно гнездо (84) для установки режущей пластины (10, 210), ограниченное смежными боковой и задней стенками (88, 90), расположенными в основном поперечно к основанию (92), при этом задняя стенка выполнена в основном выпуклой, боковая стенка (88) выполнена с осевой базирующей поверхностью (94), предназначенной для взаимодействия со вспомогательной боковой поверхностью (16, 216) режущей пластины (10, 210) на осевом опорном участке (96, 296), а задняя стенка (90) выполнена с двумя тангенциальными базирующими поверхностями (98, 100), расположенными по разные стороны от ее центрального участка (102), причем первая из двух тангенциальных базирующих поверхностей (98) предназначена для взаимодействия с одной из двух тангенциальных опорных поверхностей (104, 304), вторая из двух тангенциальных базирующих поверхностей (100) предназначена для взаимодействия с другой из двух тангенциальных опорных поверхностей (104, 304), расположенных на опорной поверхности (30, 230) режущей пластины (10, 210).
20. Фреза (80) по п.19, в которой осевой опорный участок (96, 296) расположен на переднем участке радиально наружной короткой боковой поверхности (70b, 270b) соответствующей вспомогательной боковой поверхности (16, 216), удаленном от задней стенки (90) гнезда (84).
РИСУНКИ
|
|