|
|
(21), (22) Заявка: 2006106285/02, 17.06.2004
(24) Дата начала отсчета срока действия патента:
17.06.2004
(30) Конвенционный приоритет:
31.07.2003 DE 10335527.8
(43) Дата публикации заявки: 27.06.2006
(46) Опубликовано: 10.05.2009
(56) Список документов, цитированных в отчете о поиске:
US 6450693 B1, 17.09.2002. DE 19945070 A, 22.03.2001. US 4813113 A, 21.03.1989. SU 1831388 A3, 30.07.1993.
(85) Дата перевода заявки PCT на национальную фазу:
28.02.2006
(86) Заявка PCT:
EP 2004/006523 20040617
(87) Публикация PCT:
WO 2005/021175 20050310
Адрес для переписки:
129090, Москва, ул.Б.Спасская, 25, строение 3, ООО “Юридическая фирма Городисский и Партнеры”, пат.пов. Е.И.Емельянову, рег. 174
|
(72) Автор(ы):
КЕЛЛЕР Карл (DE), РЕИНГ Конрад (DE)
(73) Патентообладатель(и):
СМС ДЕМАГ АКЦИЕНГЕЗЕЛЛЬШАФТ (DE)
|
(54) УСТРОЙСТВО ДЛЯ УСТАНОВКИ И СНЯТИЯ ПОДШИПНИКОВОГО УЗЛА ОПОРНОГО ВАЛКА
(57) Реферат:
Изобретение относится к обработке металлов давлением, а именно к конструкции прокатной клети. Устройство содержит подушку клети с расположенным в ней подшипником шейки валка и имеет натяжной анкер. Анкер проходит в осевом направлении валка, воздействует на шейку валка и имеет накидную шайбу. Накидная шайба расположена с возможностью перемещения по анкеру в осевом направлении и с одной стороны опирается на гайку, расположенную с возможностью перемещения по резьбе по натяжному анкеру, а с другой стороны – на подшипниковый узел. Устройство выполнено с возможностью временного воздействия гидравлического инструмента на анкер с созданием его предварительного натяжения и установочного усилия между натяжным анкером и опирающейся на подшипниковый узел накидной шайбой. Устройство для снятия выполнено с возможностью временного соединения с подшипниковым узлом. Гидравлический цилиндр устройства для снятия опирается на натяжной анкер, жестко соединенный с шейкой валка. Изобретение обеспечивает увеличение работоспособности подшипникового узла и его безопасное снятие с шейки валка. 8 з.п. ф-лы, 2 ил.
Изобретение касается устройства для установки и снятия подшипникового узла шейки валка опорного валка прокатной клети, состоящего из подушки клети с расположенным в ней подшипником шейки валка.
Достаточно давно известна установка опорных валков прокатной клети в подшипниковом узле, например, масляных подшипниках. Для установки или, соответственно, снятия подшипниковых узлов на шейках валков все еще широко используются гайки, с помощью которых подшипниковый узел может быть механическим путем установлен на коренной шейке. Для снятия подшипникового узла после отвинчивания механических гаек подшипниковый узел с помощью рычага, клина и подобного инструмента, установленного между узлом и боковой стороной валка, или путем воздействия большим весом, например, другим валком на подушку клети узел отделяется от шейки валка.
Однако также известно, что подшипниковый узел оснащен выступами, окружающими обе боковые стороны гайки, так что при навинчивании гайки происходит затягивание подшипникового узла, а при отвинчивании гайки его снятие. При этом часто требуется прилагать значительные усилия, чтобы гайку зацепить тросом, а затем с помощью крана снять ее. Эти методы для затягивания и снятия гаек чрезвычайно опасны, так как это может привести к травмам обслуживающего персонала при обрыве находящегося под нагрузкой троса.
Известны также гидравлические устройства для установки и снятия подшипникового узла с шейки валка, которые встраиваются в подшипниковый узел, которые постоянно находятся в каждом подшипниковом узле и при установке или снятии подключаются к источнику, питающему рабочей жидкостью. Однако эти устройства для установки и снятия подшипникового узла очень дороги и требуют высоких затрат. Дополнительное оборудование существующих валков, которые имеют только механические гайки для установки и снятия, подобного рода устройствами для установки и снятия возможны только при внесении значительных и требующих затрат изменений в конструкцию шейки валка и поэтому не могут быть реализованы с точки зрения рентабельности.
Далее, известны устройства для установки и снятия, которые могут соединяться с подшипниковым узлом только на время, для фланцевого соединения с которыми также необходимо специальное выполнение шейки валка.
Предлагается также заменить механические гайки для установки и снятия подшипникового узла на гидравлические гайки. Однако и в данном случае после отвинчивания гидравлических гаек для снятия подшипникового узла с шейки валка также необходимо применение рычагов, клиньев, описанного забивного воздействия.
Описанные в начале механические гайки для установки и снятия подшипникового узла на шейке опорного валка все еще имеют очень широкое распространение. Однако эти гайки не соответствуют требуемому стандарту безопасности относительно их подъема краном, а также относительно снятия с помощью рычагов, клиньев, забивного воздействия и т.д.
Задачей изобретения является замена подобного рода устройств для установки и снятия на безопасные в работе устройства, которая не должна повлечь за собой изменения или, соответственно, значительные изменения имеющихся шеек валков. В частности, воспроизводимые установочные усилия должны обеспечивать продолжительное, по возможности не создающее износа функционирование и вращение без радиального биения для надежной работы прокатной клети при одновременном управлении силами, необходимыми для снятия подшипникового узла.
С этой целью предлагается гайка, закрепляемая на шейке валка, которая с предварительным натяжением опирается на подшипниковый узел. Такая установочная единица одна дает преимущество, заключающееся в том, что подшипниковый узел устанавливается на шейке валка с определимым предварительным натяжением, так что между подшипниковым узлом и шейкой валка при работе отсутствует какой-либо зазор, благодаря чему обеспечивается вращение без радиального биения и таким образом минимальный износ, если он вообще будет иметь место.
При применении известных механических гаек для установки подшипникового узла на шейке валка или механических предохранительных гаек, гидравлических гаек гайки сначала прочно навинчивались на шейку валка. Чтобы не могло произойти отвинчивание гайки во время работы, через гайку устанавливался предохранительный элемент во фланец с отверстием, предусмотренный в подшипниковом узле. Чтобы совпадали отверстия гайки и отверстия в подшипниковом узле, часто делали так, что гайку нужно было немного отвернуть назад, чтобы появилась возможность установить предохранительный элемент. При этом между подшипниковым узлом и шейкой валка образовывался зазор, который приводил к возникновению биения при вращении, а также к нежелательному износу во время работы.
Предложенная согласно изобретению гайка с предварительным натяжением устанавливается следующим образом. Сначала с помощью гидравлического инструмента предварительного натяжения подшипниковый узел устанавливается на шейке валка. Усилие, развиваемое гидравлическим инструментом предварительного натяжения, определяется таким образом, что производится предварительное натяжение натяжного анкера. После того как гайка установлена, гидравлическое устройство для предварительного натяжения отключается от давления. Предварительное натяжение натяжного анкера теперь от натяжного анкера, соединенного жестко с шейкой валка, через гайку передается на подшипниковый узел.
Для снятия подшипникового узла с шейки валка опорного валка прокатной клети согласно изобретению предлагается устройство для снятия, которое на время может соединяться с подшипниковым узлом и гидравлический цилиндр которого может опираться на шейку валка или на жестко соединенный с ней натяжной анкер.
При этом устройство для снятия может свинчиваться, например, с концевой пластиной подшипникового узла. Имеется также возможность снабдить подшипниковый узел и устройство для снятия байонетным замком или снабдить устройство для снятия когтевыми захватами, которые захватывают подшипниковый узел сзади.
В качестве преимущества при этом оказывается, что устройство для снятия захватывает подшипниковый узел таким образом, что имеется унифицированная возможность соединения с обоими, как правило, имеющими различные внутренние размеры подшипниковыми узлами валка, так что устройство для снятия может универсально применяться на обеих сторонах валка.
Имеется также возможность использовать устройство для снятия с известными гидравлическими гайками или даже с известными механическими гайками для установки подшипника на шейку валка. Особо предпочтительным является, когда наряду с предложенным устройством для снятия применяется также предложенное согласно изобретению устройство для установки.
Изобретение подробнее поясняется с помощью чертежей, показывающих:
фиг.1 – предложенное устройство для установки и снятия и
фиг.2 – предложенное устройство для снятия в комбинации с известной гидравлической гайкой.
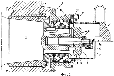
На фиг.1 можно видеть шейку 1 валка, на которой надета букса 2 шейки подшипникового узла 3. В концевой области шейки 1 валка она имеет отверстие 4, в котором выполнена внутренняя резьба. Натяжной анкер 5 жестко своей наружной резьбой ввинчен во внутреннюю резьбу отверстия 4. При этом, в частности, при шейке валка, выполненного литьем, для исключения ошибок при установке может найти применение специальная резьба, с помощью которой достигается равномерное распределение усилий растяжения на отдельные витки резьбы. На натяжном анкере 5 расположена с возможностью осевого смещения накидная шайба 6, выполненная в форме стакана, при этом край 7 имеющей форму стакана накидной шайбы 6 опирается на подшипниковый узел 3, здесь на осевой подшипник подшипникового узла 3. На конце натяжного анкера 5, противоположном тому, который ввинчивается в шейку 1 валка, имеется другая наружная резьба, на которую навинчивается гайка 8. К гайке 8 на время может быть приложен изображенный на фиг.1 гидравлический инструмент 16 для предварительного натяжения.
Это устройство для установки, способное создавать предварительное натяжение, работает следующим образом: гидравлический инструмент 16 для предварительного натяжения опирается на натяжной анкер 5 и перемещает накидную шайбу 6 относительно подшипникового узла 3. При этом букса 2 шейки подшипникового узла 3 надвигается на шейку 1 валка. Когда букса 2 шейки жестко садится на шейку 1 валка, то к гидравлическому инструменту 16 для предварительного натяжения продолжают прикладывать давление, так что натяжной анкер 5 испытывает упругое растяжение. После достижения заранее заданного упругого растяжения гайка 8 подводится к накидной шайбе 6. После того как гидравлический инструмент 16 для предварительного натяжения будет отключен от гидравлического давления, натяжной анкер 5 натягивает подшипниковый узел 3, жестко соединенный с шейкой 1 валка, через гайку 8 и накидную шайбу 6, на шейку 1 валка с усилием, соответствующим установленному упругому предварительному натяжению натяжного анкера. Усилие предварительного натяжения, постоянно действующее во время работы между натяжным анкером 5 и гайкой 8, способствует тому, что гайка 8 предохраняется от отвинчивания самоторможением.
Накидная шайба 6 имеет предохранительное устройство 9 от проворачивания, так что во время прокатки ни накидная шайба 6, ни гайка 8 не могут отвернуться. Таким образом создается воспроизводимое усилие установки с помощью натяжного анкера 5, которому гидравлическим способом придано предварительное натяжение. Гидравлический инструмент 16 для предварительного натяжения просто и надежно приводится в действие с помощью внешнего гидравлического насоса. Соединение между шейкой 1 валка и подшипниковым узлом 3 остается благодаря натяжному анкеру 5 под силовым замыканием. Благодаря этому достигается более качественное закрепление подшипникового узла на шейке валка, чем это имеет место в соответствии с уровнем техники, кроме того, обеспечивается вращение без биения, а также соединение, при котором не имеется износа.
Изменение внешнего контура оболочки шейки валка при оборудовании ее, например, установочным устройством, снабженным механической или гидравлической гайкой, применительно к предложенному устройству для установки не требуется.
На фиг.1 далее показан кожух 10, который во время работы защищает подшипниковый узел 3 и который может откидываться или сниматься при установке или снятии подшипникового узла 3.
Далее, показано устройство 11 для снятия, которое выполнено в виде стакана и чей край 12 может быть закреплен с помощью винтов 13 на подшипниковом узле 3 с целью снятия подшипникового узла с шейки 1 валка. Здесь также возможны другие решения. Край 12 может быть оборудован, например, здесь не показанными когтевыми захватами, которые захватывают подшипниковый узел 3 за область спинки 14.
Устройство 11 для снятия имеет гидравлический цилиндр 15, который на фиг.1 опирается на жестко соединенный с шейкой 1 валка натяжной анкер 5.
После отвинчивания гайки 8 усилие снятия с помощью гидравлического цилиндра 15 прикладывается между шейкой 1 валка и подшипниковым узлом 3. Благодаря этому возможно надежное и простое снятие подшипникового узла 3 с шейки валка. Неконтролируемый процесс забивки отпадает.
На фиг.2 показано устройство 11 для снятия в соединении со стандартной гидравлической гайкой 17, которая вместо натяжного анкера 5 может быть закреплена на шейке 1 валка. При ее применении нет необходимости в изменении шейки 1 валка, а также на ее торцевой стороне. Известные гайки для установки подшипникового узла на шейке валка, которые еще могут, разумеется, применяться, должны здесь заменяться на гидравлическую гайку 17. При снятии гидравлический цилиндр 15 захватывает здесь за торцевую сторону шейки 1 валка.
Перечень позиций
1. Шейка валка
2. Букса шейки
3. Подшипниковый узел
4. Отверстие
5. Натяжной анкер
6. Накидная шайба
7. Край
8. Гидравлическая гайка
9. Предохранительное устройство против проворачивания
10. Кожух
11. Устройство для снятия
12. Край
13. Винт
14. Спинка
15. Гидравлический цилиндр
16. Гидравлический инструмент для предварительного натяжения
17. Гидравлическая гайка
Формула изобретения
1. Устройство для установки подшипникового узла (3) на шейку (1) опорного валка прокатной клети или снятия подшипникового узла (3) с шейки (1) опорного валка прокатной клети, состоящего из подушки клети с расположенным в ней подшипником шейки валка, отличающееся тем, что оно имеет натяжной анкер (5), проходящий в осевом направлении валка, воздействующий на шейку (1) валка и имеющий накидную шайбу (6), расположенную с возможностью перемещения по анкеру в осевом направлении, которая с одной стороны опирается на гайку (8), расположенную с возможностью перемещения по резьбе по натяжному анкеру (5), и с другой стороны – на подшипниковый узел (3), при этом устройство выполнено с возможностью временного воздействия гидравлического инструмента на анкер с созданием его предварительного натяжения и установочного усилия между натяжным анкером и опирающейся на подшипниковый узел накидной шайбой, устройство (11) для снятия выполнено с возможностью временного соединения с подшипниковым узлом (3), при этом гидравлический цилиндр (15) устройства (11) для снятия опирается на натяжной анкер (5), жестко соединенный с шейкой (1) валка.
2. Устройство по п.1, отличающееся тем, что гайка (8) выполнена с возможностью установки на накидной шайбе (6) при имеющем предварительное натяжение натяжном анкере (5) и благодаря силам натяжения между натяжным анкером (5) и гайкой (8) защищена от проворачивания за счет самоторможения.
3. Устройство по п.2, отличающееся тем, что накидная шайба (6) снабжена устройством (9), предохраняющим ее от проворачивания.
4. Устройство по п.3, отличающееся тем, что гидравлический инструмент (16) для предварительного натяжения выполнен с возможностью присоединения к натяжному анкеру (5) при неподвижном валке и с возможностью установки на накидной шайбе (6) при приведении его в действие от внешнего источника рабочей жидкости.
5. Устройство по п.4, отличающееся тем, что устройство (11) для снятия выполнено с возможностью универсального применения для обоих подшипников валка.
6. Устройство по п.5, отличающееся тем, что устройство (11) для снятия выполнено с возможностью соединения с подшипниковым узлом (3) с помощью винтов.
7. Устройство по п.5, отличающееся тем, что устройство (11) для снятия выполнено с возможностью соединения с подшипниковым узлом (3) с помощью байонетного замка.
8. Устройство по п.5, отличающееся тем, что устройство (11) для снятия подшипникового узла (3) имеет когтевые захваты для захватывания сзади.
9. Устройство по п.1, отличающееся тем, что инструмент (16) для предварительного натяжения и устройство (11) для снятия выполнены с возможностью соединения с подшипниковым узлом (3) отдельно друг от друга.
РИСУНКИ
|
|