|
|
(21), (22) Заявка: 2007128277/02, 23.07.2007
(24) Дата начала отсчета срока действия патента:
23.07.2007
(46) Опубликовано: 10.05.2009
(56) Список документов, цитированных в отчете о поиске:
SU 1546183 A1, 28.02.1990. ФИНКЕЛЬШТЕЙН Я.С. Справочник по прокатному и трубному производству. – М.: Металлургия, 1975, с.183, рис.2. SU 687668 А, 10.07.1981. SU 293398 А, 03.01.1974. US 2003167818 A, 11.09.2003.
Адрес для переписки:
455002, Челябинская обл., г. Магнитогорск, ул. Кирова, 93, ОАО “ММК”, отдел рационализации, изобретательства и патентной работы
|
(72) Автор(ы):
Антипанов Вадим Григорьевич (RU), Солодова Евгения Михайловна (RU), Корнилов Владимир Леонидович (RU), Шемшурова Нина Георгиевна (RU)
(73) Патентообладатель(и):
Открытое акционерное общество “Магнитогорский металлургический комбинат” (RU)
|
(54) СПОСОБ ХОЛОДНОЙ ПРОКАТКИ УГЛЕРОДИСТОЙ ПОЛОСОВОЙ СТАЛИ И СТАН ДЛЯ ЕГО ОСУЩЕСТВЛЕНИЯ
(57) Реферат:
Изобретение предназначено для повышения качества проката и снижения стоимости его передела в процессе холодной прокатки углеродистой полосовой стали (ленты). Способ заключается в последовательном по проходам обжатии металла на заданную толщину. Повышение плоскостности проката, расширение его сортамента при неизменных затратах на производство обеспечивается за счет того, что при прокатке полос шириной 200 300 мм с исходной толщиной Н=8 11 мм в первом проходе осуществляют обжатие на величину (0,75 0,85) Н, а во втором проходе – на конечную толщину 0,8 2,0 мм с частичным огибанием полосой трех валков. Стан холодной прокатки содержит разматыватель, задающие валки, маятниковую клеть с кривошипным механизмом и с двумя рабочими холостыми валками и моталку, дополнительно он содержит промежуточный ролик и четырехвалковую клеть с Y-образным расположением валков и с двумя приводными валками, лежащими в общей вертикальной плоскости, при суммарном угле охвата прокатываемой полосой трех валков в пределах 500° 560°. 2 н.п. ф-лы, 1 ил.
Изобретение относится к обработке металлов давлением и может быть использовано при прокатке углеродистой полосовой стали (ленты).
Технология холодной прокатки такой стали заключается в последовательном по проходам обжатии горячекатаной полосовой заготовки в клетях стана холодной прокатки. Особенности этой технологии и конструкции применяемых станов достаточно подробно описаны, например, в книге П.И.Полухина и др. «Прокатные станы», М., «Металлургия», 1982, с.491-518. Конструкция используемого стана определяется сортаментом и заданными свойствами получаемого полосового проката, а последние, в свою очередь, во многом зависят от применяемых режимов обжатий (например, от суммарной их величины).
Известен способ холодной прокатки полос из жаропрочных и коррозионно-стойких сталей, при котором прокатку до суммарной степени деформации 57% ведут при одинаковых окружных скоростях валков, а при указанной деформации более 57% – с рассогласованием окружных скоростей (см. a.c. CCCP 1093368, Кл. В21В 1/22, опубл. в БИ 19, 1984 г.).
Однако этот способ требует сравнительно большого числа проходов, что повышает стоимость передела проката.
Наиболее близким аналогом к заявляемому способу является способ холодной прокатки по а.с. СССР 1546183, кл. В21в 1/22, опубл. в БИ 8, 1990 г.
Этот способ заключается в последовательном по проходам обжатии металла на заданную толщину и характеризуется тем, что степень суммарной относительной деформации определяется из математического выражения.
Известный способ также требует повышенного числа проходов и увеличения стоимости передела проката.
Известен стан для холодной прокатки тонких полос, у которого имеются натяжные ролики, установленные с обеих сторон рабочей клети, и соответствующая CAP (система автоматического регулирования), осуществляющая слежение за сварным швом и другие операции (см. япон. заявку 62-54512, кл. В21В 37/00, опубл. 10.03.87 г.). Этот стан – одноклетевой, что значительно сужает его технологические возможности.
Наиболее близким аналогом к заявляемому стану является стан холодной прокатки, описанный в книге Я.С.Финкельштейна «Справочник по прокатному и трубному производству», М., Металлургия, 1975, с.183 и рис.2.
Этот стан для прокатки углеродистой полосовой стали содержит разматыватель, задающие валки, маятниковую клеть с кривошипным механизмом и с двумя рабочими холостыми валками и моталку.
Недостатком такой конструкции стана является возможность появления продольной разнотолщинности (поперечной волнистости) на готовом полосовом прокате, что ухудшает его потребительские свойства. Действительно, при неудовлетворительной настройке стана (рассогласования продольной скорости движения полосы с частотой соприкосновения рабочих валков и металла) на поверхности полосы могут появляться периодически чередующиеся утолщенные и утоненные участки, неисправляемые в дальнейшем.
Технической задачей настоящего изобретения является повышение качества получаемого полосового проката (ленты), что улучшает его потребительские свойства, а также снижение стоимости передела такого проката.
Для решения этой задачи в предлагаемом способе холодной прокатки, заключающемся в последовательном по проходам обжатии металла на заданную толщину, при прокатке полос шириной 200 300 мм с исходной толщиной Н=8 11 мм в первом проходе осуществляют обжатие на величину (0,75 0,85)Н, а во втором проходе – на конечную толщину 0,8 2,0 мм с частичным огибанием полосой трех валков; предлагаемый для осуществления этого способа стан содержит разматыватель, задающие валки, маятниковую клеть с кривошипным механизмом и с двумя рабочими холостыми валками и моталку, дополнительно содержит промежуточный ролик и четырехвалковую клеть с Y-образным расположением валков и с двумя приводными валками, лежащими в общей вертикальной плоскости, при суммарном угле охвата прокатываемой полосой трех валков в пределах 500° 560°.
Приведенные параметры способа и устройства получены в результате обработки опытных данных и являются эмпирическими.
Сущность заявляемых технических решений заключается в дополнительной деформации растяжения-обжатия полученной в маятниковой клети полосы с помощью четырехвалковой клети. При этом, во-первых, расширяются технологические возможности процесса, что снижает стоимость передела (практически неизменные затраты при расширении сортамента холоднокатаной ленты), и, во-вторых повышается качество проката (улучшается его плоскостность) за счет дополнительной деформации валками.
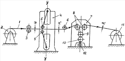
Предлагаемый стан холодной прокатки схематично показан на чертеже (стрелка – направление движения полосы).
Стан содержит разматыватель 2, задающие валки 3, маятниковую клеть 4 с кривошипным механизмом и с двумя рабочими холостыми валками 5, промежуточный ролик 6, четырехвалковую клеть 7 с Y-образным расположением валков 8, 9 и 10 и с двумя приводными валками 9 и 10, лежащими в общей вертикальной плоскости, моталку 11. Величина обжатия между валками 9 и 10 регулируется с помощью нажимного устройства 12, изменяющего межвалковый зазор.
Работает устройство следующим образом.
Прокатываемая полосовая заготовка 1 с исходной толщиной Н из разматывателя 2 с помощью задающих валков 3 поступает в маятниковую клеть 4 стана, где металл обжимается на величину (0,75 0,85)Н рабочими холостыми валками 5, совершающими возвратно-поступательное движение в вертикальной плоскости относительно оси y-y. Затем полоса толщиной Н огибает промежуточный ролик 6 и поступает в четырехвалковую клеть 7, где огибает три валка 8 и 9. Обжатие полосы осуществляется при прохождении ее между приводными валками 9 и 10, лежащими в общей осевой (вертикальной) плоскости, а величина этого обжатия регулируется с помощью нажимного устройства 12, изменяющего межвалковый зазор. Суммарный угол огибания полосой валков 8, 9 – 500° 560°.
Из клети 7 полоса толщиной h=0,8 2,0 мм поступает на моталку 11 стана, где и сматывается в рулон.
Опытную проверку предлагаемых способа и стана осуществляли на опытно-промышленной установке Магнитогорского государственного технического университета (МГТУ). С этой целью при прокатке полос толщиной 0,8 2,0 мм (ленты) и шириной 200 300 мм из горячекатаной заготовки толщиной Н=8 11 мм из различных углеродистых сталей варьировали величины обжатий в обеих клетях стана, а также величину угла охвата прокатываемой полосой валков четырехвалковой клети. Результаты опытов оценивали по качеству получаемого проката.
Наилучшие результаты (выход качественной ленты с минимальной продольной разнотолщинностью до 99.3 99,8%) получены с применением заявляемого способа на предлагаемом стане. Отклонения от рекомендуемых параметров ухудшали достигнутые показатели.
Так, уменьшение величины обжатий в первом проходе (менее 0,75Н) приводило к необходимости увеличения обжатий во втором проходе, что приводило к ускоренному износу валков четырехвалковой клети. При обжатиях же в первом проходе более 0,85Н на части полос появлялась продольная разнотолщинность сверх допускаемой величина, которая не устранялась во втором проходе. При суммарном угле охвата прокатываемой полосой валков в этом проходе менее 500° наблюдалось проскальзывание полос в валках с появлением продольных рисок и царапин, а при угле охвата более 560° величина мощности привода четырехвалковой клети оказывалась недостаточной (особенно – для конечных толщин 0,8 1,2 мм), что приводило к его перегрузкам с известными отрицательными последствиями.
Стан, выбранный в качестве ближайшего аналога (см. выше), в опытах не проверялся, так как по сути – это предлагаемый стан, но без четырехвалковой клети (т.е. с необходимостью слишком больших обжатий в первом проходе, недостаток которых описан выше).
Известный способ (ближайший аналог) также не проверялся ввиду очевидных его недостатков (повышенное число проходов и увеличение в связи с этим стоимости передела).
Таким образом, опытная проверка подтвердила приемлемость найденных технических решений для достижения поставленной цели и преимущество их перед известными объектами.
По данным технико-экономических исследований, проведенных в МГТУ, использование предлагаемого изобретения для получения холоднокатаных полос 0,8 2,0×200 300 мм повысит их качество при одновременном снижении производственных расходов не менее, чем в 1,5 раза.
Пример конкретного выполнения
Стан холодной прокатки полосовой стали толщиной 0,8 2,0 мм и шириной 200 300 мм из заготовки толщиной Н=8 11 мм имеет вид, показанный на чертеже.
Для получения полос с h=1,4 мм из заготовки с Н=9,5 мм в I проходе величина обжатия составляет: 0,8Н=0,8·9,5=7,6 мм, т.е. в 4-валковую клеть входит полоса толщиной H1=9,5-1,6=1,9 мм, которая обжимается до толщины 1,4 при суммарном угле охвата полосой трех валков, равном 530°.
Формула изобретения
1. Способ холодной прокатки полос из углеродистой стали шириной 200 300 мм и исходной толщиной Н=8 11 мм, включающий последовательное по проходам обжатие валками металла на заданную толщину, характеризующийся тем, что в первом проходе осуществляют обжатие полосы на величину (0,75 0,85)Н, а во втором проходе – на конечную толщину 0,8 2,0 мм с частичным огибанием полосой трех валков.
2. Стан холодной прокатки полос из углеродистой полосовой стали, содержащий разматыватель, задающие валки, маятниковую клеть с кривошипным механизмом и с двумя рабочими холостыми валками, моталку, отличающийся тем, что он содержит промежуточный ролик и четырехвалковую клеть с Y-образным расположением валков и с двумя приводными валками, расположенными в общей вертикальной плоскости, выполненную с возможностью охвата полосой трех валков с суммарным углом охвата в пределах 500 560°.
РИСУНКИ
|
|