|
|
(21), (22) Заявка: 2007111962/02, 02.04.2007
(24) Дата начала отсчета срока действия патента:
02.04.2007
(43) Дата публикации заявки: 10.10.2008
(46) Опубликовано: 10.05.2009
(56) Список документов, цитированных в отчете о поиске:
RU 2112635 C1, 20.06.1997. RU 2089665 C1, 10.09.1997. RU 2038410 C1, 27.06.1995. WO 996609 A, 23.12.1999. JP 07188891 A, 25.07.1995. JP 03173758 A, 29.07.1991. JP 60-241959 A, 30.11.1985. КУДИНОВ B.B. и др. Нанесение плазмой тугоплавких покрытий. – М.: Машиностроение, 1981, с.20-28.
Адрес для переписки:
656057, Алтайский край, г.Барнаул, ул. Панфиловцев, 20, кв.199, А.М.Маркову
|
(72) Автор(ы):
Марков Андрей Михайлович (RU), Балашов Александр Владимирович (RU), Фёдоров Владислав Анатольевич (RU)
(73) Патентообладатель(и):
Обшество с ограниченной ответственностью “ПЛАЗМА” (ООО “ПЛАЗМА”) (RU)
|
(54) ПОРТАТИВНЫЙ ПЛАЗМОТРОН ДЛЯ НАПЫЛЕНИЯ И НАПЛАВКИ ПОКРЫТИЙ
(57) Реферат:
Изобретение относится к плазменно-дуговым процессам обработки материалов, в частности к портативному плазмотрону для напыления и наплавки покрытий, и может быть использовано в машиностроении и других отраслях промышленности. В корпусе плазмотрона соосно установлены сопло-анод и катод. Катод закреплен в катододержателе, размещенном с возможностью аксиального перемещения в электроизоляционной трубке. Эта трубка установлена в теплопроводной трубке-испарителе с развитой наружной поверхностью. К корпусу присоединен резервуар с облицовкой для жидкости, заполненный пористым проницаемым материалом. Катододержатель, электроизоляционная трубка и трубка-испаритель проходят через резервуар. Трубка-испаритель соприкасается со стороны резервуара для приема пара с пористым проницаемым материалом. Между катододержателем и электроизоляционной трубкой коаксиально размещены контактно-крепежные элементы. Механизм перемещения катододержателя состоит из мотор-редуктора, закрепленного на облицовке резервуара, на конце вала которого выполнена резьба. Катододержатель установлен на резьбовом конце этого вала. На корпусе установлен питатель с дозатором порошка со шнековым механизмом и его мотор-редуктором. Такая конструкция устройства позволяет обеспечить равномерную подачу порошка при осуществлении процессов напыления или наплавки, существенно снизить время прогрева горелки перед началом работы и повысить продолжительность установившегося режима работы. 1 ил.
Изобретение относится к плазменно-дуговым процессам обработки материалов и может быть использовано в машиностроении и других отраслях промышленности для напыления и наплавки покрытий из порошков различных материалов. Изобретение касается, в частности, генераторов низкотемпературной плазмы (плазмотронов) с подвижным катодом.
Известны плазмотроны с подвижным катодом, содержащие корпус с соосно установленными в нем соплом-анодом и стержневым катодом, закрепленным в держателе, связанном с пружинным механизмом осевого перемещения катода, выполненным в виде установленной соосно с ним крышки, перемещающейся по резьбе относительно корпуса, с центральным отверстием, в котором расположена подпружиненная кнопка, имеющая фланец, опирающийся на внутреннюю стенку крышки, и соединенная с держателем катода (патент RU 2040124, кл. Н05В 7/22, 1995).
Такая конструкция плазмотрона не позволяет производить напыление и наплавку порошковых покрытий, требует постоянной поднастройки межэлектродного расстояния вручную, имеет малый (около 15 мин) ресурс непрерывной работы без дозаправки испаряемой жидкостью.
Наиболее близким техническим решением из известных (прототипом) является плазменная горелка, содержащая корпус с разрядной камерой и присоединенный к нему резервуар для жидкости, заполненный влаговпитывающим материалом, с соосно установленными в разрядной камере соплом-анодом и катодом, закрепленным в катододержателе, размещенном с возможностью аксиального перемещения в электроизоляционной трубке, которая установлена в теплопроводной трубке-испарителе с развитой наружной поверхностью, причем катододержатель, электроизоляционная трубка и трубка-испаритель проходят через резервуар, при этом последняя соприкасается со стороны резервуара с влаговпитывающим материалом, а со стороны корпуса – с кольцом из теплопроводного материала, имеющим каналы, выходящие в разрядную камеру, и соприкасающимся с соплом-анодом, между катододержателем и электроизоляционной трубкой коаксиально размещены упругодеформируемые в радиальном направлении элементы, соединенные с катододержателем и введенные в контакт с электроизоляционной трубкой, что обеспечивает упругую фиксацию катода по оси выходного отверстия сопла-анода и выдерживает зазор между катододержателем и электроизоляционной трубкой, необходимый для перемещения, компенсации теплового расширения и охлаждения катода. Упругодеформируемый элемент выполнен в виде свернутой в кольцо ленты из металла с вырезами, причем средняя часть ленты выгнута в радиальном направлении кольца. Между электроизоляционной трубкой и трубкой-испарителем размещены коаксиально два разнесенных упругодеформируемых в радиальном направлении элемента, соединенных с трубкой-испарителем и введенных в контакт с электроизоляционной трубкой. Плазменная горелка снабжена механизмом перемещения катододержателя, выполненным, в частности, в виде установленной соосно ему крышки, перемещающейся по резьбе относительно резервуара, с центральным отверстием, в котором размещена электроизолированная от катододержателя кнопка, имеющая фланец, опирающийся на внутреннюю стенку упомянутой крышки, при этом катододержатель снабжен пружиной, прижимающей его торцевую поверхность к упомянутой кнопке. Для обеспечения надежности контакта кнопки и катододержателя при уменьшении его длины в процессе работы горелки на его конце, обращенном в сторону крышки, размещена глухая цанговая гайка с одной плоской, а другой – конической поверхностями, при этом плоская поверхность гайки контактирует с кнопкой, а коническая – с пружиной, взаимодействующей с катододержателем. Гайка связана с катододержателем по резьбе и перемещается по ней в сторону крышки по мере необходимости. Охлаждение катододержателя осуществляется паром, образующимся при взаимодействии жидкости с поверхностью трубки-испарителя, нагретой до высокой температуры, для чего резервуар, содержащий жидкость, сообщен с полостью между катододержателем и электроизоляционной трубкой. Поверхность катододержателя снабжена ребрами, выполненными по спирали относительно оси катододержателя (патент RU 2112635, кл. В23К 10/00, 1998).
Недостатками такой конструкции плазмотрона являются невозможность производить напыление и наплавку порошковых покрытий, необходимость постоянной поднастройки межэлектродного расстояния вручную, малый (15 минут) ресурс непрерывной работы без дозаправки испаряемой жидкостью, а также значительное (2 минуты) время прогрева перед началом работы.
Портативный плазмотрон для напыления и наплавки покрытий содержит корпус с установленным на нем питателем в сборе с дозатором, резервуар для приема пара, сопло-анод и катод, размещенный в электроизоляционной трубке с помощью контактно-крепежных элементов, установленной внутри теплопроводной трубки, контактирующей с соплом-анодом и проходящей через резервуар для приема пара, на аналогичных контактно-крепежных элементах, с возможностью перемещения катода вручную и автоматической поднастройки его положения относительно сопла-анода с помощью специального механизма, представляющего собой мотор-редуктор механизма сервопривода катода. Такая конструкция портативного плазмотрона для напыления и наплавки покрытий позволяет обеспечить равномерную подачу порошка при осуществлении процессов напыления или наплавки, существенно снизить время прогрева горелки перед началом работы и повысить продолжительность установившегося режима работы.
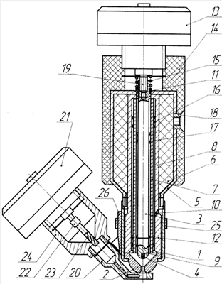
На чертеже изображен портативный плазмотрон для напыления и наплавки покрытий, вид сбоку в разрезе.
Портативный плазмотрон для напыления и наплавки покрытий имеет корпус 1, в котором соосно установлены сопло-анод 2 и катододержатель 3 со стержневым центральным катодом 9 с активной вставкой 4. Корпус 1 соединен с резервуаром 5 для приема пара, заполненным пористым проницаемым материалом 6. Стержневой катододержатель 3 установлен с возможностью аксиального перемещения внутри влаго- и термостойкой электроизоляционной трубки 7 при помощи коаксиально размещенных крепежно-контактных упругих элементов 17, которая, в свою очередь, при помощи коаксиально размещенных крепежно-контактных упругих элементов 16, помещена соосно в теплопроводную трубку-испаритель 8 с развитой наружной поверхностью в виде ребер, проходящую через резервуар 5 и входящую в корпус 1. Трубка-испаритель 8 внешней поверхностью контактирует с пористым проницаемым материалом 6, а на конце, обращенном в сторону сопла-анода, имеет отверстия 10, выходящие в разрядную камеру и тепловую трубу 12, контактирующую с соплом-анодом 2. Портативный плазмотрон для напыления и наплавки покрытий снабжен механизмом перемещения катодо-держателя, состоящим из установленного соосно ему мотора-редуктора 13 с покрытием из электроизоляционного материала, перемещающегося по резьбе относительно резервуара 5. Выходной вал 19 мотора-редуктора 13 выполнен с трапецеидальной резьбой, на которой установлен с возможностью свободного осевого перемещения катододержатель 3. Уплотнение зазора между катододержателем 3 и резервуар 5 выполнено резиновым кольцом 11 при помощи спиральной пружины 15. Наружная поверхность катододержателя 3 снабжена ребрами. Резервуар 5 для приема пара от парогенератора или другого источника имеет резьбовое отверстие 18. Подвод рабочего электрического напряжения от источника питания осуществляется с помощью проводов, проходящих под пластмассовой облицовкой 14 к электродам горелки. На корпусе 1 с помощью разъемного хомута 25 установлен кронштейн 26, к которому приварен питатель 20. На наружной резьбе питателя 20 установлен дозатор 24 с установленным на резьбе мотор-редуктором 21. На выходном валу мотор-редуктора 21 с помощью упругой муфты 22 закреплен шнек 23, винтовая часть которого размещена в выходном отверстии дозатора 24. Провода, подводящие электрическое напряжение к мотор-редукторам, собраны в единый жгут с проводами, подводящими напряжение, питающее дуговой разряд, и гибким трубопроводом подачи пара.
Портативный плазмотрон для напыления и наплавки покрытий работает следующим образом. В емкость дозатора 24 засыпают порошок для осуществления процесса напыления или наплавки. Через отверстие для подачи пара 18 с помощью гибкого трубопровода подают пар рабочей жидкости, например воды, и подают пар, который равномерно распределяется в резервуаре для приема пара 5 в среде пористого проницаемого материала 6, например минерального войлока. Пар проходит через зону плазмообразования между катодом 9 и соплом-анодом 2, а затем выходит через отверстие сопла-анода 2 и проходит через отверстие питателя 20. На пару электродов катод 9 и сопло-анод 2 подают осциллирующее напряжение, пробивающее межэлектродный зазор, а затем рабочее напряжение, которое вызывает образование рабочей дуги. Дуга сжимается и вытягивается потоком пара, образуя плазменный факел. Оптимальный межэлектродный зазор устанавливается оператором вручную поворотом по часовой стрелке или против часовой стрелки мотор-редуктора 13 по резьбе с натягом пластмассовой облицовки 14. Это приводит, соответственно, к увеличению или уменьшению межэлектродного зазора, что контролируется по величине изменяющегося напряжения между катодом и соплом-анодом. Установив требуемое напряжение, оператор включает напряжение механизма сервопривода катода, который при падении или повышении напряжения дуги, происходящего вследствие выгорания электродов, тепловой деформации деталей портативного плазматрона, а также изменения напряжения на источнике питания, приводит во вращение по часовой стрелке или против часовой стрелки выходного вала 19 мотор-редуктора 13 с трапецеидальной резьбой с зазором, на которой установлен катододержатель, что в свою очередь вызывает перемещение в осевом направлении катододержателя 25 с закрепленным на нем катодом 3, поддерживая установленный межэлектродный зазор по величине напряжения дуги. После прогрева в течение 10-20 секунд портативного плазмотрона подают напряжение на мотор-редуктор 21, установленный на дозаторе 24, крутящий момент с выходного вала мотор-редуктора 21 передается через упругую муфту 22, выполненную, например из резины, на шнек 23. Частицы порошка захватываются канавками шнека 23 и попадают через выходное отверстие дозатора 24 в питатель 20, откуда за счет эффекта эжекции, возникающего в рабочем отверстии питателя 20, вытягиваются из его полости через канал в рабочее отверстие, где попадают в плазменный факел, разогреваются, ускоряются и выносятся на напыляемую или наплавляемую поверхность. Подача порошка плавно и точно регулируется изменением величины напряжения, подаваемого на мотор-редуктор 21, грубо и дискретно сменой шнека с другим количеством, глубиной или углом наклона винтовых канавок. При осуществлении процесса напыления расстояние от рабочего отверстия питателя 20 до напыляемой поверхности составляет 15-30 миллиметров, а при осуществлении процесса наплавки 4-8 миллиметров, при этом скорость подачи порошка уменьшается.
Изобретение обеспечивает благоприятные условия продолжительного формирования столба дуги, равномерную подачу порошка. При проведении испытаний плазмотрона, выполненного в соответствии с изобретением, получено устойчивое возбуждение и горение дуги, обеспечение стабильного режима напыления или наплавки в течение 60-90 минут.
Формула изобретения
Портативный плазмотрон для напыления и наплавки покрытий, содержащий корпус, соосно установленные в нем сопло-анод и катод, закрепленный в катододержателе, размещенном с возможностью аксиального перемещения в электроизоляционной трубке, которая установлена в теплопроводной трубке-испарителе с развитой наружной поверхностью, механизм перемещения катододержателя и присоединенный к корпусу резервуар для жидкости, заполненный пористым проницаемым материалом, при этом катододержатель, электроизоляционная трубка и трубка-испаритель проходят через резервуар, трубка-испаритель соприкасается со стороны резервуара для приема пара с пористым проницаемым материалом, а между катододержателем и электроизоляционной трубкой коаксиально размещены контактно-крепежные элементы, отличающийся тем, что резервуар снабжен облицовкой, механизм перемещения катододержателя состоит из мотор-редуктора, закрепленного на облицовке резервуара, на конце вала мотор-редуктора выполнена резьба, катододержатель установлен на резьбовом конце вала мотор-редуктора, а плазмотрон снабжен установленным на корпусе питателем с дозатором порошка, оснащенным шнековым механизмом, и дополнительным мотор-редуктором для приведения в действие шнекового механизма.
РИСУНКИ
|
|