|
|
(21), (22) Заявка: 2005128614/12, 14.09.2005
(24) Дата начала отсчета срока действия патента:
14.09.2005
(43) Дата публикации заявки: 20.03.2007
(46) Опубликовано: 10.05.2009
(56) Список документов, цитированных в отчете о поиске:
RU 2272678 А, 10.01.2005. SU 1242248 A1, 07.07.1986. SU 1388097 A1, 15.04.1988. SU 1426642 A2, 30.09.1988. RU 2206409 C2, 20.06.2003. RU 2206410 C2, 20.06.2003. RU 2212282 C2, 20.09.2003. WO 03/25379 A1, 27.03.2003.
Адрес для переписки:
111141, Москва, ул. Перовская, 35, кв.24, Н.А.Шестеренко
|
(72) Автор(ы):
Шестеренко Николай Алексеевич (RU)
(73) Патентообладатель(и):
Лобашинская Алла Владимировна (RU), Шестеренко Николай Алексеевич (RU), Шестеренко Сергей Николаевич (RU), Шестеренко Ольга Николаевна (RU)
|
(54) НАСАДОК ШЕСТЕРЕНКО
(57) Реферат:
Изобретение относится к области газоразгонных и газотранспортирующих устройств, а также может быть использовано в качестве устройств для транспорта жидкостей (газожидкостей) и во многих других отраслях техники, где необходимо разогнать газ. Оно может служить для очистки воздуха от частиц аэрозоля и для стерилизации воздуха. Также это устройство может служить для нагрева газожидкостной смеси и превращения ее в пар. Технической задачей является повышение эффективности очистки газов от частиц аэрозоля и расширение области применения устройства. Техническая задача выполняется тем, что не менее чем однократно или насадок, или часть насадка или выполнен, или выполнена в виде или конструкции не менее чем из двух разных металлов, или в виде катода и анода, подключенных к электроисточнику и разделенных диэлектриком, или в виде того и другого одновременно. Технический эффект заключается в том, что за счет электрических полей усиливается эффект вакуумного крекинга и эффект улавливания различных аэрозолей. Технический эффект также заключается в том, что за счет повышения эффекта крекинга предлагаемое изобретение может успешно использоваться в области газоразгонных и газотранспортирующих устройств, а также может быть использовано в качестве устройств для транспорта жидкостей (газожидкостей) по трубопроводу. Технический эффект также заключается в том, что за счет расширения и улучшения технологических возможностей расширяется область применения (например, улавливание бактерий и вирусов для экспресс-анализа или сверхэффективной очистки газов и воздуха). 9 з.п. ф-лы, 4 ил.
Изобретение относится к области газоразгонных и газотранспортирующих устройств, а также может быть использовано в качестве устройств для транспорта жидкостей (газожидкостей) и во многих других отраслях техники, где необходимо разогнать газ. Оно может служить для очистки воздуха от частиц аэрозоля и для стерилизации воздуха. Также это устройство может служить для нагрева газожидкостной смеси и превращения ее в пар.
Прототипы
1. Известен насадок Шестеренко, содержащий сопла, герметично соединенные между собой, причем каждое сопло имеет критическое сечение не меньше, чем расходоопределяющее сопло.
2. Известен насадок Шестеренко, содержащий не менее чем один насадок Шестеренко, который выполнен из герметично установленных между собой сопел, критические сечения которых не меньше наименьшего критического сечения не последнего сопла по ходу движения газодинамического потока (газа аэрозоля газожидкостной смеси и жидкости, которая в вакуумном крекинге превращается в газожидкостную смесь), и еще содержащее ось вращения и плечо, соединяющее ось вращения с насадком Шестеренко, при этом входное сечение первого сопла по ходу движения рабочего тела находится ближе всех остальных частей насадка к оси вращения.
3. Известен насадок Шестеренко, содержащий герметично соединенные между собой сопла, критическое сечение каждого из которых не меньше критического расходоопределяющего сечения не последнего по ходу движения сопла, причем не менее чем одно сопло коаксиально введено в последующее с образованием между ними полости, причем не менее чем однократно последнее сопло сообщено эжекторно с первым соплом последующего за ним насадка Шестеренко, но у которого расходоопределяющее критическое сечение больше, чем у предыдущего насадка.
4. Известен насадок Шестеренко, содержащий герметично соединенные между собой сопла, критическое сечение каждого из которых не меньше критического расходоопределяющего сечения не последнего по ходу движения сопла, причем не менее чем одно сопло коаксиально введено в последующее с образованием между ними полости, причем не менее чем однократно последнее сопло сообщено эжекторно с первым соплом последующего за ним насадка Шестеренко, но у которого расходоопределяющее критическое сечение больше, чем у предыдущего насадка, причем самое первое по ходу движения сопло первого насадка размещено ближе остальных сопел к оси вращения, с которой связан кронштейном (Н.А.Шестеренко. ««НОУ-ХАУ» извлечения энергии из физического вакуума. Христос творящий». Москва. Дружба народов. 2005. стр.42 и 43, рис.12, 13, 14 и 15; стр.45, рис.19; стр.88, рис.1).
Недостаток прототипов заключается в том, что они не используют эффект гальванического элемента.
Аналог 1
Известно устройство, содержащее сверхзвуковые сопла, герметично соединенные между собой, причем каждое последующее сверхзвуковое сопло имеет критическое сечение не меньше, чем первое сопло по ходу газа.
(Авторское свидетельство СССР 1426642 под названием “Аэрозолеконцентрирующий насадок”, автор Н.А.Шестеренко)
Недостаток аналога 1 заключается в том, что он не использует эффект гальванического элемента.
Аналог 2
Известно устройство, содержащее сопла, герметично соединенные между собой, причем каждое последующее сопло имеет критическое сечение не меньше, чем предыдущее сопло
(Авторское свидетельство СССР 1242248 под названием “Аэрозолеконцентрирующий насадок Шестеренко”, автор Н.А.Шестеренко)
Недостаток аналога 2 заключается в том, что он не использует эффект гальванического элемента.
Аналог 3
Известно устройство, содержащее сверхзвуковые сопла, герметично соединенные между собой. Эти устройства не менее одного установлены друг за другом с прогрессивным уменьшением с зазором между собой.
(Авторское свидетельство СССР 1388097 под названием “Аэрозольный концентратор”, автор Н.А.Шестеренко)
Недостаток аналога 3 заключается в том, что он не использует эффект гальванического элемента.
Технической задачей является повышение эффективности очистки газов от частиц аэрозоля и расширение области применения устройства.
Техническая задача выполняется следующим образом:
1. Насадок Шестеренко, содержащий сопла, герметично соединенные между собой, причем каждое сопло имеет критическое сечение не меньше, чем расходоопределяющее сопло, отличающийся тем, что не менее чем однократно или насадок, или часть насадка или выполнен, или выполнена в виде или конструкции не менее чем из двух разных металлов, или в виде катода и анода, подключенных к электроисточнику и разделенных диэлектриком, или в виде того и другого одновременно.
2. Насадок по пункту 1, отличающийся тем, что он выполнен в виде щелевого тракта.
3. Насадок по пункту 1, отличающийся тем, что насадок выполнен в виде проекции на плоскости.
4. Насадок по пункту 3, отличающийся тем, что не менее чем два насадка ограничивают образованный им щелевой тракт.
5. Насадок по пункту 2, отличающийся тем, что в нем установлен не менее чем один насадок по пункту 3.
6. Насадок по пункту 1, отличающийся тем, что насадок снабжен не менее чем одним источником физического воздействия, причем он установлен так, что участок действия электрического поля находится в зоне воздействия этого источника.
7. Насадок по пункту 2, отличающийся тем, что насадок снабжен не менее чем одним источником физического воздействия, причем он установлен так, что участок действия электрического поля находится в зоне воздействия этого источника.
8. Насадок по пункту 3, отличающийся тем, что насадок снабжен не менее чем одним источником физического воздействия, причем он установлен так, что участок действия электрического поля находится в зоне воздействия этого источника.
9. Насадок по пункту 4, отличающийся тем, что насадок снабжен не менее чем одним источником физического воздействия, причем он установлен так, что участок действия электрического поля находится в зоне воздействия этого источника.
10. Насадок по пункту 5, отличающийся тем, что насадок снабжен не менее чем одним источником физического воздействия, причем он установлен так, что участок действия электрического поля находится в зоне воздействия этого источника.
Предлагаемый насадок изображен на фиг.1, 2, 3 и 4.
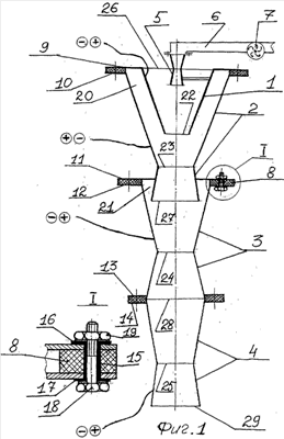
На фиг.1 изображен насадок, содержащий сопла 1, 2, 3 и 4. Сопло Лаваля 5, сообщенное с газоводом 6, который снабжен компрессором 7. Сопло Лаваля 5 установлено с зазором на сопле 1 при помощи кронштейна. Сопла 1, 2, 3 и 4 друг на друге установлены герметично при помощи резиновых прокладок 8, плоскостей 9, 10, 11, 12, 13, 14, резиновых втулок 15, резиновых шайб 16, 17, болтов 18 и гаек 19. Резиновыми прокладками, втулками и шайбами осуществлен электропроводный разрыв между частями насадка, которые изготовлены из различных металлов, обеспечивающих гальванический эффект. Подбор этих металлов необходимо осуществлять так, чтобы по ходу газодинамического потока первым был донор отрицательного заряда. Каждое сопло имеет критическое сечение не меньше, чем расходоопределяющее сопло, которым может быть сопло 1 или сопло 2. Между соплами 1 и 2 имеется полость 20. Между соплами 2 и 3 имеется полость 21. Сопла 1, 2, 3 и 4 имеют критические сечения 22, 23, 24 и 25 соответственно. Сопло 1 имеет входное сечение 26. Сопло 2 имеет выходное сечение 27, Сопло 3 имеет выходное сечение 28. Сопло 4 имеет выходное сечение 29. На фиг.1 сопло 1 – сужающееся дозвуковое, а сопла 2, 3 и 4 – сопла Лаваля.
На фиг.2 изображен насадок, в котором сопла 1, 2, 4 и 30 выполнены в виде сопел Лаваля, а сопло 3 выполнено в виде сверхзвукового сопла Шестеренко. Герметичное соединение между соплом Шестеренко 3 и соплом Лаваля 4 осуществлено в виде емкости 31, снабженной шлюзовым отводом частиц аэрозоля 32 (его подробная конструкция не изображена). Сверхзвуковое сопло Шестеренко имеет выпуклый козырек 33. Резиновыми (диэлектриками) уплотнениями 34, 35, 36 и 37, которые подробно изображены на фиг.1, осуществлен электропроводный разрыв между частями насадка, к которым подведен тот или иной электрический заряд (в зависимости от технологических задач).
На фиг.3 изображен насадок, у которого имеется ось вращения 38, которая имеет привод вращения (не показан). К оси вращения 38 прикреплена рама 39, на которой установлены сопла 1 и 2. На сопле 2 установлен кронштейн 40, на котором установлено сопло 4. Электропроводность прерывается диэлектриками 41, 42, 43 и 44. Все металлические конструкции на фиг.3, как и на других чертежах, или полностью изготовлены, или имеют на внутренней поверхности покрытия из разных металлов. Эти металлы подбираются так, чтобы донор электронов всегда являлся первым по ходу движения газодинамического потока в электродвижущемся потоке. Сопла 4 и 30 на фиг.3 представляют собой второй насадок, у которого критическое сечение 25 является расходоопределяющим. Критическое сечение 25 имеет большую площадь, чем критическое расходоопределяющее сечение 22.
На фиг.4 изображен насадок, у которого сопло 2 имеет части 45 и 46, выполненные в виде или гальванического элемента или его части, является катодом и анодом, подключенными к электроисточнику тока. Между частями 45 и 46 установлена часть 46 сопла 2, которая имеет критическое сечение 23.
На всех чертежах насадок может иметь не менее чем один источник физического воздействия, причем он установлен так, что участок действия электрического поля находится в зоне воздействия этого источника.
Источник физического воздействия может быть выполнен в виде источника торсионного поля 54, или источника различных частот 55, или источника магнитного поля 56, или источника лазерного облучения 57, или источника плазменного облучения 58 (условно – открытый огонь) и т.д.
Насадки, изображенные на всех чертежах, могут быть выполнены в виде тел вращения и могут быть выполнены в виде щелевых газовых трактов. В последнем случае все чертежи надо рассматривать как разрезы насадков.
Возможен вариант, когда насадок выполнен в виде проекции на плоскости. Такой вариант может быть использован в качестве внутренней вставки в известный прототип. Возможно использование этого варианта, когда эта проекция ограничивает образованный ею щелевой тракт или в щелевых насадках играет роль перемычек и ограничивающих плоскостей (этот вариант из-за очевидности исполнения не рассматривается).
Возможен вариант, когда к одному из сопел подведена система зажигания (не показано). Возможен вариант, когда сопла 1, 2, 3, 4 и 30 (рассмотренные на фиг.3) или соосны, или имеют оси, параллельные между собой (такой вариант из-за очевидности его исполнения также не рассматривается).
Предлагаемый насадок работает следующим образом.
На фиг.1 компрессор 7 подает газодинамический поток (аэрозоль, газожидкостную смесь, нефть, природные газы, и т.д.) в сопло Лаваля 5 под давлением, которое обеспечивает сверхзвуковую скорость потоку. Сопло 1 и сопло Лаваля 5 образуют эжекторную пару. Через входное сечение 26 за счет эжекции в сопло 1 идет другой газодинамический поток, который, смешавшись перед критическим сечением 22 с первым газодинамическим потоком, проходит критическое сечение 22 со скоростью, или близкой к звуковой, или звуковой, или сверхзвуковой, что создает в полости 20 разрежение, которое в сопле 1 гарантированно обеспечивает сверхзвуковой перепад давления, что, в свою очередь, позволяет газодинамическому потоку за критическим сечением 22 расшириться в сверхзвуковую бочку (т.е. перейти на сверхзуковую скорость). В самом же сечении 22 скорость потока равна звуку (если сопло 1 расходоопределяющее). Критические сечения 23, 24 и 25 в этом случае больше критического сечения 22. Сопла 2, 3 и 4 выполнены в виде сопел Лаваля с геометрией, обеспечивающей прохождение критических сечений на сверхзвуковой скорости. При этом за критическим сечением происходит крекинг газодинамического потока с увеличением объема газа и изменения показателя адиабаты потока (или компонентов газодинамического потока). Это обстоятельство необходимо учитывать при выборе соотношений критических сечений. За счет эжекции вакуумируются полость 21 и в сечении 28 часть периферийной области, которая при запуске насадка была вне зоны движения газодинамического потока. В результате усиливается эффект крекинга, и газ разгоняется до больших скоростей в соплах Лаваля 2, 3 и 4.
Все сопла могут быть изготовлены из различных металлов, обеспечивающих гальванический эффект.
Подбор этих металлов необходимо при вакуумном крекинге осуществлять так, чтобы по ходу газодинамического потока первым был донор отрицательного заряда. Все сопла на фиг.1 могут являться катодом и анодом, подключенными к электроисточнику. Возможно сочетание сопел, изготовленных из разных металлов, с подключением сопел к электроисточнику, что обусловлено технологическими целями. Насыщение электронами потока перед критическими сечениями 22, 23, 24 и 25 дает ослабление межмолекулярных связей и способствует разрыву крупных молекул. Притягивание к расширяющейся части сопел Лаваля 2, 3 и 4 электронов при сверхзвуковом расширении потока и больших инерционных силах по ходу движения усиливает дальнейший разрыв молекул. А это все усиливает эффект вакуумного крекинга. Такой насадок хорошо использовать при получении высокодисперсных смесей перед камерой сгорания в двигателях с жидким топливом или для получения устойчивых суспензий. Если насадок используется для концентрации частиц аэрозоля, то необходимо учитывать физические свойства частиц аэрозоля (разные материалы при трении о воздух заряжаются разными электрическими зарядами).
На фиг.2 показан насадок, который можно использовать для улавливания микробов и даже вирусов, которые, как живые организмы, имеют отрицательный заряд. В этом варианте сопло 3 выполнено в виде сверхзвукового сопла Шестеренко, которое должно быть донором электронов (отрицательного заряда). Емкость 31 должна быть положительно заряжена. Сопла 4 и 4а должны быть донорами отрицательного заряда. Поток газа, поворачиваясь по закону Прантля-Майера, следуя за выпуклым козырьком сверхзвукового сопла Шестеренко 3, освобождается от микробов и вирусов под действием инерционных сил и электрического поля. Для других аэрозолей необходимо учитывать их физические свойства, чтобы правильно решить, где и какие электрические поля необходимо создавать.
На фиг.3 показан насадок, который в моих книгах условно назван ЦУШП (центробежно-установленный насадок Шестеренко). При вращении оси по стрелке газодинамический поток, пройдя сопло 1, за счет центробежных сил разгоняется до больших скоростей. Эжекторно вакуумируемая полость 20 способствует созданию вакуумного крекинга. Из сопла 3 поток, создавая эффект эжекции в сопле 4, поступает в критическое сечение 25 вместе с другим газодинамическим потоком (газом), который поступает через сечение 28 извне. Гальванические элементы в этом случае в соплах 1, 2 и 3 работают аналогично варианту, изображенному на фиг.1. Если сопло 4 или 30 имеет систему зажигания, а в сопло 1 поступает топливо, то мы имеем двигатель с высокой степенью сгорания топлива, причем частички аэрозоля за счет центробежных сил за соплом 30 осаждаются в емкости-ловушке (не показана). Если вместо топлива (и, естественно, при отсутствии системы зажигания) в сопло 1 поступает газожидкостная смесь, а в сопло 4 извне поступает аэрозоль, то это устройство позволяет постоянно улавливать мельчайшие частицы аэрозоля при их постоянном смыве (удалении) со стенок емкости-ловушки (аналогично фиг.2 и 4). Высокодисперсный газожидкостной поток, идущий из сопла 3, способствует наилучшему очищению газа от частиц аэрозоля. На фиг.4 показан вариант, когда сопло Лаваля 2 имеет разделяющую диэлектрическую вставку 47, которая позволяет подводить к частям 45 и 46 различные электрические знаки извне. Если части 45 и 46 сделаны из разных металлов, то они могут быть герметично запрессованы друг в друга без вставки 47 (на фиг.4 такой вариант не показан). На всех чертежах, если сопла сделаны из разных металлов, то они могут быть соединены герметично методом запрессовки друг в друга, или спайки, или сварки друг с другом (на чертежах этот вариант не показан). Насадки, изображенные на всех чертежах, могут быть выполнены в виде тел вращения и могут быть выполнены в виде щелевых газовых трактов. В последнем случае все чертежи надо рассматривать как проекции разреза насадков. Это позволяет расширить конструктивные возможности и область применения насадков.
Возможен вариант, когда насадок выполнен в виде проекции на плоскости. Такой вариант может быть использован в качестве внутренней вставки в известный прототип, что расширяет конструктивные возможности насадков. Возможно использование этого варианта, когда эта проекция ограничивает образованный ею щелевой тракт или в щелевых насадках играет роль перемычек и ограничивающих плоскостей (этот вариант из-за очевидности исполнения не рассматривается), что также расширяет конструктивные возможности насадков и повышает вышеописанные эффекты. На всех чертежах насадок может быть снабжен не менее чем одним источником физического воздействия, причем он установлен так, что участок действия электрического поля находится в зоне воздействия этого источника.
Источник торсионного поля 54, или источник различных частот 55, или источник магнитного поля 56, или источник лазерного облучения 57, или источник плазменного облучения 58 (условно – открытый огонь) и другие позволяют в широком диапазоне воздействовать на газодинамические потоки непосредственно в зоне действия электрического поля в насадке. Это позволяет вносить дополнительные эффекты, которые в некоторых случаях могут иметь непредсказуемые последствия. Такие насадки могут служить в качестве испытательного стенда для получения новых видов искусственных материалов и придания им новых свойств, что значительно расширит технологические возможности процессов и аппаратов химической технологии.
Следует обратить внимание на то, что показанные на фиг.4 источники физического воздействия изображены условно, и их местоположение, количество и разнообразие диктуется теми или иными технологическими или экспериментальными условиями. Размеры и геометрия, а также материалы разделительных диэлектрических вставок (47 и др.) определяются технологическими соображениями. Эти вставки могут быть выполнены как из резины или из оргстекла, так и из керамики или сделаны из др. материалов и их сочетаний, а также представлять собой не только часть сопла, но и часть насадка, т.е. выполнены в виде нескольких сопел, герметично соединенных между собой, или в виде емкости 31. Специальных чертежей с этими вариантами нет, т.к. конфигурация насадков не меняется, а меняется только материал, из которого изготовлены эти части насадка. Причем следует обратить внимание на то, что наличие магнита 56 или обмотки переменного магнита с заданными частотными характеристиками тоже определяются условиями экспериментов и условиями технологических режимов. Причем подача плюса или минуса на разные сопла или их части и величины электрических полей могут меняться во времени, по знаку, по характеру импульса и прочим параметрам. Что же касается насадка, изображенного на фиг.3, следует отметить, что сопла 3 и 4 с негерметичным зазором 44 между ними могут быть и в эжекторной паре без вращения вокруг оси 38 (т.е. в стационарном режиме). Причем во входное сечение 28 во всех случаях может подаваться газодинамический поток из других химических элементов, что расширяет возможности синтеза новых химических материалов. Число таких эжекторных пар не ограничено. Если в сопло 22 подается топливо, а в входное сечение 28 – окислитель (или воздух), то мы получим прямоточный двигатель.
Как рама 39 и ось 38, которые стоят на входе в сопло 1 и которые могут быть подсоединены к источнику тока (фиг.3), так и в стационарном варианте в насадке могут быть установлены рамы 39 (или решетка, или сито), также подключенные к источнику тока и стоящие на входе сопел или 1, или 4, или 1 и 4 одновременно, что позволяет либо насыщать, либо обеднять газодинамический поток электронами (в зависимости от технологических задач).
Если нефтепродукты или смесь природных газов прогнать через сопла 1, 2 и 3 и т.д. в насадке, изображенном на фиг.2, то мы можем разложить исходный материал до самых легких фракций (вплоть до отделения углерода от водорода). Это возможно благодаря наличия в насадке зон вакуума (полости 20, 21 и емкость 31) и электрических полей с подачей в газодинамическом потоке (смеси газов, аэрозолей или газожидкостной смеси). При этом за счет протяженности разделительных диэлектрических вставок (47 и др.), величины и характера электрического поля, а также воздействия на газодинамический поток на этих участках теми или другими физическими полями можно регулировать в широком диапазоне физико-химические процессы, происходящие в этом потоке. Возможен вариант, когда в насадке, изображенном на фиг.2, сопла 1, 2, 3 выполнены в виде сопел Лаваля, которые герметично соединены без образования полостей 20 и 21, а сопла 30, 30а и 4, 4а выполнены в виде сопел 30 и 4, но с суммарными проходными сечениями, при этом сопло 4 выполнено в виде сопла Шестеренко (с выпуклым козырьком 33) или сопла Лаваля. Тогда газодинамический поток в насадке может двигаться в обратном направлении: из кольцевого сопла Шестеренко 4 в сопло Лаваля 3 (на чертежах этот вариант не показан). Причем в этом варианте расходоопределяющим соплом может быть или сопло Лаваля 30, или сопло Шестеренко (или Лаваля) 4.
Все эти факторы резко расширяют технологические возможности процессов и аппаратов химической технологии.
Электрическое поле может на определенных участках давать дополнительную кинетическую энергию молекулам газодинамического потока, а прирост этой энергии в зависимости от напряжения намного выше, чем это дает обычный перепад давления, что усиливает эффект крекинга.
Усиление кинетических характеристик газодинамического потока способствует повышению эффективности аэрозольных технологий (пескоструйки, дробления частиц аэрозоля для приготовления высококачественного цемента или гипса) и повышению эффективности аппаратов очистки газов от частиц аэрозоля и пр., где необходима высокая скорость потока газа.
Все это вместе создает уникальный инструмент для создания новых материалов со свойствами, которые другими способами и устройствами получить невозможно.
Технический эффект заключается в том, что за счет электрических полей усиливается эффект вакуумного крекинга и эффект улавливания различных аэрозолей.
Технический эффект также заключается в том, что за счет повышения эффекта крекинга предлагаемое изобретение может успешно использоватся в области газоразгонных и газотранспортирующих устройств, а также может быть использовано в качестве устройств для транспорта жидкостей (газожидкостей) по трубопроводу.
Технический эффект также заключается в том, что за счет расширения и улучшения технологических возможностей расширяется область применения (например, улавливание бактерий и вирусов для экспресс-анализа или сверхэффективной очистки газов и воздуха).
Формула изобретения
1. Насадок, содержащий сопла, герметично соединенные между собой, причем каждое сопло имеет критическое сечение не меньше, чем расходоопределяющее сопло, отличающийся тем, что не менее чем однократно или насадок, или часть насадка или выполнен, или выполнена в виде или конструкции не менее чем из двух разных металлов, или в виде катода и анода, подключенных к электроисточнику и разделенных диэлектриком, или в виде того и другого одновременно.
2. Насадок по п.1, отличающийся тем, что он выполнен в виде щелевого тракта.
3. Насадок по п.1, отличающийся тем, что насадок выполнен в виде проекции на плоскости.
4. Насадок по п.3, отличающийся тем, что не менее чем два насадка ограничивают образованный им щелевой тракт.
5. Насадок по п.2, отличающийся тем, что в нем установлен не менее чем один насадок по п.3.
6. Насадок по п.1, отличающийся тем, что насадок снабжен не менее чем одним источником физического воздействия, причем он установлен так, что участок действия электрического поля находится в зоне воздействия этого источника.
7. Насадок по п.2, отличающийся тем, что насадок снабжен не менее чем одним источником физического воздействия, причем он установлен так, что участок действия электрического поля находится в зоне воздействия этого источника.
8. Насадок по п.3, отличающийся тем, что насадок снабжен не менее чем одним источником физического воздействия, причем он установлен так, что участок действия электрического поля находится в зоне воздействия этого источника.
9. Насадок по п.4, отличающийся тем, что насадок снабжен не менее чем одним источником физического воздействия, причем он установлен так, что участок действия электрического поля находится в зоне воздействия этого источника.
10. Насадок по п.5, отличающийся тем, что насадок снабжен не менее чем одним источником физического воздействия, причем он установлен так, что участок действия электрического поля находится в зоне воздействия этого источника.
РИСУНКИ
|
|