|
|
(21), (22) Заявка: 2007144099/03, 27.11.2007
(24) Дата начала отсчета срока действия патента:
27.11.2007
(46) Опубликовано: 10.05.2009
(56) Список документов, цитированных в отчете о поиске:
RU 2205700 C2, 10.06.2003. SU 1681961 A2, 07.10.1991. RU 2165796 С1, 27.04.2001. RU 2047385 C1, 10.11.1995. RU 2004980 С1, 30.12.1993. US 5316151 А1, 31.05.1994. US 4750996 A1, 14.06.1988.
Адрес для переписки:
603116, г.Нижний Новгород, ул. Гордеевская, 59е, ЗАО “Стромизмеритель”
|
(72) Автор(ы):
Ефременков Валерий Вячеславович (RU), Субботин Константин Юрьевич (RU)
(73) Патентообладатель(и):
Закрытое акционерное общество “Стромизмеритель” (RU)
|
(54) МАГНИТНЫЙ СЕПАРАТОР
(57) Реферат:
Изобретение относится к области магнитной сепарации тонкодисперсных материалов и мелких частиц в виде сухого порошка. Магнитный сепаратор включает корпус, состоящий из камеры осаждения и камеры регенерации, магнитные стержни, установленные внутри полых трубчатых осадительных элементов с возможностью возвратно-поступательного движения, устройство перемещения магнитных стержней и устройство удаления магнитных примесей. Дополнительно сепаратор содержит камеру предварительного разделения осажденных магнитных примесей от сепарируемого материала, установленную между камерой осаждения и камерой регенерации. Каждый из участков трубчатых осадительных элементов, находящихся в камере предварительного разделения, снабжен двумя спиралевидными неподвижными ножами. Начальные участки ножей соединены и расположены на верхних поверхностях полых осадительных элементов в зоне перехода осажденных магнитных примесей из камеры осаждения в камеру предварительного разделения. Конечные участки спиралевидных ножей радиально развернуты в разные стороны относительно начальных участков на 90° и расположены на боковых поверхностях полых осадительных элементов в зоне перехода осажденных магнитных примесей из камеры предварительного разделения в камеру регенерации. Техническим результатом является повышение эффективности сепарации и сокращение потерь материала. 3 ил.
Изобретение относится к области магнитной сепарации тонкодисперсных материалов и может быть использовано в пищевой, химической, стекольной и других отраслях промышленности для извлечения из сыпучих материалов магнитных включений.
Известен решетчатый магнитный сепаратор [1], который состоит из корпуса, функционально разделенного на камеры осаждения и регенерации, установленные перпендикулярно потоку сепарируемой среды рядов осадительных элементов с намагничивающей системой внутри них, устройства удаления примесей, размещенного на осадительном элементе с возможностью перемещения в камере регенерации при возвратно-поступательном движении осадительных элементов.
Одним из недостатков этого сепаратора является то, что в процессе регенерации часть уловленных примесей остается на верхней поверхности осадительных элементов в силу различных причин, например из-за их повышенной влажности и склонности к налипанию, и после регенерации повторно попадает в сепарируемый поток материала, снижая эффективность работы сепаратора в целом.
Наиболее близким техническим решением к заявляемому является магнитный сепаратор [2], включающий корпус, состоящий из камеры осаждения и камеры регенерации, магнитные стержни, размещенные внутри полых трубчатых осадительных элементов с возможностью возвратно-поступательного перемещения в них, и устройство удаления примесей, причем намагничивающие стержни дополнительно снабжены торцевой фигурной ферромагнитной шайбой с выборкой материала в верхней части осадительного элемента, а устройство удаления примесей может иметь два варианта конструкции. По первому варианту устройство удаления примесей установлено снаружи осадительного элемента с возможностью перемещения в камере регенерации за счет взаимодействия с магнитным стержнем, а по второму варианту устройство извлечения магнитных примесей выполнено составным, причем одна часть установлена с возможностью перемещения в камере регенерации, а другая – вне ее и связана с устройством перемещения магнитных стержней.
Недостатком этого магнитного сепаратора является то, что при движении магнитных стержней в процессе регенерации магнитные примеси материала в верхней ее части увлекают за собой в камеру регенерации часть сепарируемого материала, находящегося на верхней поверхности осадительного элемента с противоположной стороны от торцевой фигурной ферромагнитной шайбы, что снижает эффективность ее действия и приводит к попаданию части сепарируемого материала в удаляемые магнитные примеси.
Другим недостатком данного технического решения является то, что в момент регенерации устройство удаления примесей, выполняемое в виде кольцевой фигурной шайбы-уплотнителя, открывает отверстия, связывающие камеры осаждения и регенерации, и позволяет части сепарируемого материала, падающего с большой скоростью, попадать в камеру регенерации за счет отражения отдельных частиц от осадительных элементов.
Решаемая задача – исключение попадания сепарируемого материала в камеру регенерации за счет повышения эффективности разделения сепарируемого материала и магнитных примесей.
Этот технический результат достигается тем, что в магнитном сепараторе, включающем корпус, состоящий из камеры осаждения и камеры регенерации, магнитные стержни с торцевыми фигурными ферромагнитными шайбами, установленные внутри полых трубчатых осадительных элементов с возможностью возвратно-поступательного движения, устройство перемещения магнитных стержней и устройство удаления магнитных примесей, дополнительно размещена камера предварительного разделения осажденных магнитных примесей от сепарируемого материала, установленная между камерой осаждения и камерой регенерации, причем каждый из участков трубчатых осадительных элементов, находящихся в камере предварительного разделения, снабжен двумя спиралевидными неподвижными ножами, начальные участки которых соединены и расположены на верхней поверхности полых осадительных элементов в зоне перехода осажденных магнитных примесей из камеры осаждения в камеру предварительного разделения, а конечные участки спиралевидных ножей радиально развернуты в разные стороны относительно начальных участков на 90° и расположены на боковых поверхностях полых осадительных элементов в зоне перехода осажденных магнитных примесей из камеры предварительного разделения в камеру регенерации.
Отличием данного технического решения от известного уровня техники является наличие камеры предварительного разделения осажденных магнитных примесей от сепарируемого материала, установленной между камерой осаждения и камерой регенерации.
Наличие дополнительной камеры предотвращает случайное попадание осаждаемого материала в камеру регенерации за счет существенного снижения скорости материала, попавшего при осаждении из камеры осаждения в камеру предварительного разделения.
Другим отличием является наличие спиралевидных неподвижных ножей, установленных на участках трубчатых осадительных элементов, находящихся в камере предварительного разделения.
Спиралевидная конструкция ножей позволяет при спиралевидном движении в сторону камеры регенерации осажденных на верхней поверхности осадительных элементов магнитных примесей захватывать часть осажденного материала и сбрасывать его в камере предварительного разделения.
Спиралевидная конструкция ножей позволяет изменять в процессе регенерации линейное движение магнитных примесей, осажденных на верхней поверхности осадительных элементов в осадительной камере, на спиралевидное в камере предварительного разделения. При этом часть осажденного материала захватывается двигающимися по спирали магнитными примесями и сбрасывается в камере предварительного разделения, не попадая в камеру регенерации.
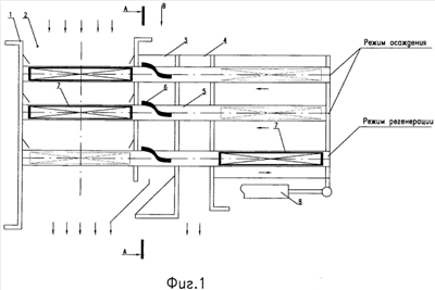
На фиг.1 показан общий вид магнитного сепаратора; на фиг.2 – сечение А-А фиг.1; на фиг.3 – вид В фиг.1.
Магнитный сепаратор состоит из корпуса 1, который включает камеры осаждения 2, предварительного разделения 3 и регенерации 4; параллельных рядов осадительных элементов 5, выполненных из полых труб; спиралевидных ножей 6, установленных на осадительных элементах 5 в камере 3 предварительного разделения; магнитных стержней 7, расположенных внутри полых осадительных элементов 5; пневмопривода 8 перемещения магнитных стержней 7 и разделительной стенки.
Магнитный сепаратор работает следующим образом. Сепарируемый материал подается в камеру осаждения 2 и попадает на осадительные элементы 5, разделяясь на потоки. Удаляемые примеси с помощью магнитного поля, создаваемого магнитными стержнями 7, захватываются и локализуются на поверхности полых осадительных элементов 5. Очищенный от магнитных примесей материал падает вниз и отводится из корпуса 1. Часть мелкодисперсного материала вместе с магнитными примесями задерживается на верхней поверхности цилиндрических осадительных элементов 5. Уловленные магнитные примеси удаляются с поверхности осадительных элементов 5 в процессе регенерации. Для этого магнитные стержни 7 с помощью пневмопривода 8 отводятся из камеры осаждения 2 через камеру предварительного разделения 3 и камеру регенерации 4 за пределы корпуса 1. При этом удаляемые магнитные примеси, сосредоточенные на нижних поверхностях осадительных элементов, перемещаются через камеру 3 предварительного разделения в камеру 4 регенерации, где счищаются стенкой.
Магнитные примеси, расположенные на верхней поверхности элементов 5, при регенерации также смещаются в сторону камеры 3 предварительного разделения и захватывают с собой часть сепарируемого материала.
При отсутствии камеры 3 этот материал попадал бы в камеру 4 и вместе с магнитными примесями удалялся, что недопустимо.
В данном устройстве магнитные примеси вместе с частью осажденного на верхней поверхности элементов 5 сепарируемого материала перемещаются в процессе регенерации в камеру 3 и упираются в начальные участки 6 спиралевидных ножей. Под действием магнитного поля перемещаемого магнитного стержня 7 смесь материала и примесей разделяется на два потока и смещается по спиралевидным траекториям, определяемым формой ножей 6, на боковые стенки элементов 5. При этом очищаемый материал падает и отводится из камеры 3 через выходное отверстие корпуса 1 в дальнейшую технологию вместе с основным потоком материала, а магнитные примеси, локализуясь на нижней поверхности элементов 5, продолжают движение в камеру 4 регенерации, где счищаются стенкой. Попадание сепарируемого материала из камеры 2 в камеру 4 вследствие большой скорости и хаотичного падения отдельных частиц в данной конструкции также исключается, так как скорость этих частиц гасится в камере 3, из которой они отводятся в основной поток очищенного материала.
Таким образом, наличие камеры 3 предварительного разделения и спиралевидных ножей 6, установленных на осадительных элементах 5, позволяет более эффективно осуществлять магнитную сепарацию материала и исключает частичное попадание его в камеру регенерации 4 с удаляемыми магнитными примесями.
Источники информации
1. Self-cleaning grate magnet and bushing, United States Patent 5190159, 3/1993, Barker, В03С 1/00.
2. Патент РФ 2205700, кл.7 В03С 1/00, публ. 2003 г. (прототип).
Формула изобретения
Магнитный сепаратор, включающий корпус, состоящий из камеры осаждения и камеры регенерации, магнитные стержни, установленные внутри полых трубчатых осадительных элементов с возможностью возвратно-поступательного движения, устройство перемещения магнитных стержней и устройство удаления магнитных примесей, отличающийся тем, что дополнительно содержит камеру предварительного разделения осажденных магнитных примесей от сепарируемого материала, установленную между камерой осаждения и камерой регенерации, причем каждый из участков трубчатых осадительных элементов, находящихся в камере предварительного разделения, снабжен двумя спиралевидными неподвижными ножами, начальные участки которых соединены и расположены на верхних поверхностях полых осадительных элементов в зоне перехода осажденных магнитных примесей из камеры осаждения в камеру предварительного разделения, а конечные участки спиралевидных ножей радиально развернуты в разные стороны относительно начальных участков на 90° и расположены на боковых поверхностях полых осадительных элементов в зоне перехода осажденных магнитных примесей из камеры предварительного разделения в камеру регенерации.
РИСУНКИ
|
|