|
|
(21), (22) Заявка: 2004134653/03, 26.11.2004
(24) Дата начала отсчета срока действия патента:
26.11.2004
(30) Конвенционный приоритет:
28.11.2003 KZ 2003/1628.1
(43) Дата публикации заявки: 10.05.2006
(46) Опубликовано: 10.05.2009
(56) Список документов, цитированных в отчете о поиске:
SU 897294 А, 15.01.1982. SU 103119 А, 02.08.1956. RU 2101090 С1, 10.01.1998. RU 2094123 С1, 27.10.1997. RU 2019295 С1, 15.09.1994. US 3152074 А, 06.10.1964.
Адрес для переписки:
480035, г.Алматы, 10 мкр., 11, кв.21, О.В. Пастуховой
|
(72) Автор(ы):
Нехорошев Леонид Алексеевич (KZ)
(73) Патентообладатель(и):
Нехорошев Леонид Алексеевич (KZ)
|
(54) РОТОР ЦЕНТРОБЕЖНОГО СЕПАРАТОРА
(57) Реферат:
Изобретение относится к устройствам для разделения твердых материалов и может быть использовано, в частности, при обогащении руд и песков, содержащих золото и другие благородные металлы. Ротор центробежного сепаратора содержит чашу с выходным открытым срезом, соединенную с приводом. Чаша снабжена направленным вовнутрь нее кольцевым порогом, который расположен таким образом, что между торцом боковых стенок чаши и кольцевым порогом образована щель. Края боковых стенок чаши отогнуты наружу чаши, а в щели между отогнутыми краями боковых стенок чаши и кольцевым порогом закреплено кольцо, в котором выполнены радиальные сквозные отверстия. Кольцевой порог выполнен П-образным или Г-образным в сечении, причем его полки направлены наружу. Технический результат – повышение эффективности сепарации материала, упрощение конструкции и упрощение выгрузки тяжелой фракции материала. 2 з.п. ф-лы, 3 ил.
Изобретение относится к устройствам для разделения твердых материалов и может быть использовано, в частности, при обогащении руд и песков, содержащих золото и другие благородные металлы.
Известен ротор для разделения высокодисперсных материалов (А.с. СССР 359051, МПК В03В 5/32, опубл. 21.11.1972 г.). Ротор выполнен в виде системы коаксильно установленных цилиндров, имеющих индивидуальные приводные механизмы и патрубки для вывода фракций материала из каждого цилиндра. Боковые стенки цилиндров ротора выполнены перфорированными, причем сквозные отверстия расположены по всей поверхности боковых стенок.
Твердые частицы под действием центробежной силы проходят через сквозные отверстия боковых стенок цилиндров и накапливаются между стенками цилиндров, причем самые крупные – между крайними цилиндрами ротора. Для выгрузки цилиндры последовательно останавливают и пропускают чистую жидкость.
Известное устройство позволяет получить несколько фракций материала, но конструкция его сложна. Недостатком ротора является также сложность выгрузки полученных фракций.
Известен ротор центробежного сепаратора, используемого для обогащения руд и песков, содержащих мелкое золото (А.с. СССР 878339, МПК В03В 5/32, опубл. 07.11.1981 г.). Ротор выполнен в виде внутренней конусообразной чаши с выходным открытым срезом, установленной в наружную конусообразную чашу, соединенную с приводом. Боковые стенки внутренней чаши выполнены с нарифлениями и сквозными отверстиями, расположенными по всей поверхности боковых стенок и представляющими собой кольцевые щели. Ротор содержит патрубок для подачи воды в пространство между наружной и внутренней чашами, механизм для перемещения внутренней чаши в осевом направлении.
Легкая фракция удаляется через выходной открытый срез внутренней чаши, а тяжелая фракция выводится через сквозные отверстия в боковых стенках чаши в пространство между внутренней и наружной чашами. При подъеме внутренней чаши вода из патрубка смывает тяжелую фракцию в приемный желоб. К недостаткам этого ротора можно отнести недостаточную эффективность сепарации, низкую производительность, сложность его конструкции и сложность разгрузки тяжелой фракции из него.
Известен ротор центробежного концентратора, раскрытый в пат. России 2123884 (МПК В03В 5/32, опубл. 27.12.1998 г.).
Он содержит концентрично установленные внутреннюю и внешнюю чаши, выполненные в виде усеченных конусов, имеющие самостоятельные приводы. На наружной поверхности внутренней чаши выполнен шнек. Наружная чаша выполнена со сквозными отверстиями со стороны меньшего основания, служащими для выгрузки тяжелой фракции, а со стороны большего основания закреплен кольцевой порог, причем таким образом, что между порогом и торцом внутренней чаши образованы кольцевые щели для вывода тяжелой фракции материала из внутренней чаши.
В щели расположены рыхлители в виде пальцев, закрепленных на торце внутренней чаши. При работе тяжелая фракция материала оседает на внутренней чаше, сползает к щели, захватывается шнеком и выгружается через отверстие во внешней чаше. Легкая фракция материала удаляется через выходной открытый срез внутренней чаши.
Известный ротор имеет сложную конструкцию и отличается сложной выгрузкой тяжелой фракции материала.
В качестве ближайшего аналога заявляемого ротора центробежного сепаратора выбран ротор, описанный в пат. России 2019295, МПК В03В 5/32, опубл. 15.09.1994 г.
Ротор содержит конусообразную чашу с выходным открытым срезом, которая соединена с приводом. В боковых стенках чаши по всей их поверхности выполнены сквозные отверстия в виде кольцевых щелей. На внутренней поверхности чаши установлена решетка. Конусообразная чаша установлена во внешнем конусе, выполненном с возможностью возвратно-поступательного движения и снабженном патрубком для подачи воды в пространство между корпусом и чашей.
Под действием центробежной силы в чаше ротора на решетке накапливается тяжелая фракция. При помощи воды и возвратно-поступательных движений внешнего конуса слой тяжелой фракции материала разрыхляется, и тяжелая фракция под действием центробежной силы выводится во внешний конус через сквозные отверстия в боковых стенках чаши. Легкая фракция выводится из ротора через выходной открытый срез чаши при выгрузке.
Известный ротор сепаратора имеет сложную конструкцию. Сепарация в нем недостаточно эффективна из-за возможности попадания частиц легкой фракции в тяжелую фракцию через отверстия в боковых стенках чаши, расположенных вблизи днища, а также попадания частиц тяжелой фракции в легкую фракцию через выходной открытый срез чаши.
В основу изобретения положена задача создания ротора сепаратора, обладающего большей эффективностью сепарации материала, более простой конструкцией и позволяющей упростить выгрузку тяжелой фракции материала.
Технический результат: повышение эффективности сепарации материала, упрощение конструкции, упрощение выгрузки тяжелой фракции материала.
Для достижения указанного технического результата в роторе центробежного сепаратора, содержащем чашу с выходным срезом, которая соединена с приводом и в боковых стенках которой выполнены сквозные отверстия, согласно изобретению сквозные отверстия в боковых стенках чаши выполнены по окружности в один или несколько рядов и расположены в половине чаши, смежной с выходным открытым срезом, причем чаша снабжена кольцевым порогом, направленным внутрь чаши и расположенным на боковых стенках чаши после сквозных отверстий в направлении выходного открытого среза.
В предпочтительном варианте осуществления ротора сквозные отверстия выполнены в боковых стенках чаши около их торца, а кольцевой порог расположен на торце боковых стенок чаши.
Кроме того, кольцевой порог может быть образован согнутыми вовнутрь чаши краями боковых стенок чаши. Кольцевой порог может быть выполнен П-образным или Г-образным в сечении, с полками, направленными наружу.
Технический результат достигается также тем, что в роторе центробежного сепаратора, содержащем чашу с выходным открытым срезом, соединенную с приводом, в соответствии с изобретением чаша снабжена направленным внутрь нее кольцевым порогом, который расположен таким образом, что между торцом боковых стенок чаши и кольцевым порогом образована щель.
В предпочтительном варианте осуществления изобретения края боковых стенок чаши отогнуты наружу чаши, в щели между отогнутыми краями боковой стенки чаши и кольцевым порогом закреплено кольцо, в котором выполнены радиальные сквозные отверстия.
Кроме того, порог может быть выполнен П-образным или Г-образным в сечении, с полками, направленными наружу.
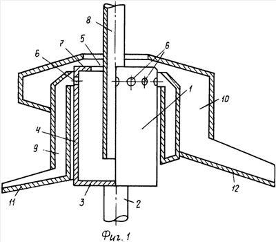
Изобретение поясняется чертежами. На фиг.1 представлен центробежный сепаратор с ротором, изображенным с частичным разрезом, вариант; на фиг.2 изображен ротор центробежного сепаратора с частичным разрезом; на фиг.3 – центробежный сепаратор с ротором, изображенным с частичным разрезом.
Ротор центробежного сепаратора выполнен в виде чаши 1, установленной на валу 2, соединенном с приводом (не показан). Чаша 1 имеет днище 3, боковые стенки 4 и выполнена с выходным открытым срезом 5. Форма чаши 1 может быть цилиндрической или в виде усеченного конуса. В боковых стенках 4 чаши в один или несколько рядов по окружности выполнены сквозные отверстия 6 (фиг.1). Они расположены в половине чаши, смежной с выходным открытым срезом 5, около торца боковых стенок 4. За сквозными отверстиями 6 в направлении открытого выходного среза на торце боковых стенок выполнен кольцевой порог 7, направленный внутрь чаши. На фиг.1 изображен вариант выполнения ротора, в котором кольцевой порог 7 образован согнутыми вовнутрь чаши краями боковых стенок 4 чаши. Центробежный сепаратор снабжен питающим патрубком 8 для подачи исходного материала и приспособлениями для выгрузки тяжелой и легкой фракции материала, выполненным в виде коробов 9 и 10 с желобами 11 и 12.
В варианте исполнения на фиг.2 кольцевой порог 7 расположен таким образом, что между торцом боковых стенок 4 чаши и кольцевым порогом 7 образована щель 13. Края 14 боковых стенок 4 отогнуты наружу чаши и в щели 13 между кольцевым порогом и краем 14 боковых стенок чаши закреплено кольцо 15. В нем выполнены сквозные радиальные отверстия 16. Кольцевой порог 7 может быть выполнен П-образной или Г-образной формы в сечении (фиг.3). Его полки 17,18 направлены наружу, а основания образуют горлышко 19 для прохода легкой фракции материала.
Рабочий процесс в роторе центробежного сепаратора происходит следующим образом. Чаша 1 приводится приводом во вращение. Исходный материал, например пульпа, по питающему патрубку 8 поступает к днищу 3 чаши. В полости чаши формируется вращающийся поток пульпы, который под действием центробежной силы разделяется на фракции. Тяжелая фракция отбрасывается на периферию чаши к боковым стенкам 4. Легкая фракция материала располагается в центральной части чаши. По мере движения потока пульпы от днища 3 к выходному открытому срезу 5 чаши у боковых стенок 4 чаши не остается частиц легкой фракции. Происходит концентрация только частиц тяжелой фракции, причем благодаря расположению сквозных отверстий 6 в половине чаши, смежной с выходным открытым срезом, зона сепарации увеличивается. Частицы тяжелой фракции удаляются из ротора через сквозные отверстия 6 в короб 9 и выгружаются по желобу 10. В варианте исполнения на фиг.2 тяжелая фракция материала продвигается к щели 13 и через сквозные отверстия 16 в кольце 15 удаляется из ротора. Легкая фракция материала удаляется из чаши через открытый выходной срез 5. При этом кольцевой порог 7 служит преградой для попадания частиц тяжелой фракции в поток легкой фракции и облегчает попадание частиц тяжелой фракции в отверстия 6 или щель 13. П-образный или Г-образный порог наилучшим образом препятствует смешиванию частиц тяжелой фракции с частицами легкой фракции. Через выходной открытый срез 5 чаши по горлышку 19 легкая фракция материала попадает в короб 10 и выгружается по желобу 12 из сепаратора. В варианте на фиг.2, 3 легкая фракция материала через открытый выходной срез 5 чаши по горлышку 19 удаляется из ротора.
Формула изобретения
1. Ротор центробежного сепаратора, содержащий чашу с выходным открытым срезом, соединенную с приводом, отличающийся тем, что чаша снабжена направленным вовнутрь нее кольцевым порогом, который расположен таким образом, что между торцом боковых стенок чаши и кольцевым порогом образована щель.
2. Ротор по п.1, отличающийся тем, что края боковых стенок чаши отогнуты наружу чаши, а в щели между отогнутыми краями боковых стенок чаши и кольцевым порогом закреплено кольцо, в котором выполнены радиальные сквозные отверстия.
3. Ротор по п.1 или 2, отличающийся тем, что кольцевой порог выполнен П-образным или Г-образным в сечении, причем его полки направлены наружу.
РИСУНКИ
|
|