|
|
(21), (22) Заявка: 2005132678/03, 24.10.2005
(24) Дата начала отсчета срока действия патента:
24.10.2005
(43) Дата публикации заявки: 27.04.2007
(46) Опубликовано: 10.05.2009
(56) Список документов, цитированных в отчете о поиске:
SU 927300 А, 25.05.1982. SU 975062 А, 23.11.1982. SU 701705 А, 15.12.1979. SU 1629093 А1, 23.02.1991. SU 36266 U1, 10.03.2004.
Адрес для переписки:
446010, Самарская обл., г. Сызрань, Гидротурбинная, 13, ОАО “ТЯЖМАШ”, ОГК, группа защиты ИПС
|
(72) Автор(ы):
Абыденников Вячеслав Викторович (RU)
(73) Патентообладатель(и):
Открытое акционерное общество “ТЯЖМАШ” (RU)
|
(54) РОТОР МЕЛЬНИЦЫ-ВЕНТИЛЯТОРА
(57) Реферат:
Изобретение относится к устройствам для измельчения материалов, в частности к роторам мельниц-вентиляторов, и может быть применено в горно-рудной, строительной и других отраслях промышленности. Ротор мельницы-вентилятора включает основной и покрывающий диски, на которых размещены мелющие лопатки, и установленный на основном диске конический отбойный диск с образующей, наклонной к вертикали. На основном диске имеется, по крайней мере, один дополнительный конический отбойный диск, угол наклона образующей которого не равен углу наклона образующей первого отбойного диска. Изобретение позволяет снизить износ основного диска, повысить равномерность распределения материала по размольным лопаткам и увеличить их износостойкость. 1 з.п. ф-лы, 1 ил.
Изобретение относится к устройствам для измельчения материалов, в частности к роторам мельниц-вентиляторов, и может быть применено в горно-рудной, строительной и других отраслях промышленности.
Известен ротор мельницы-вентилятора, содержащий распределяющий отбойный диск в виде сегментов, располагающихся по спирали (PL 272648; В02С; 19.05.88).
Недостатком решения является сложность конструкции и низкая вентиляционная способность мельницы, содержащей такой ротор.
Наиболее близким решением является ротор мельницы-вентилятора, содержащий установленный на основном диске отбойный диск в виде конической обечайки, образующая которой наклонена к вертикали под углом (SU 927300; В02С 13/26; 20.05.80).
Недостатком указанного известного устройства является большой износ основного диска в месте нахождения отбойного диска и недостаточность распределяющей функции диска у мельниц крупных и сверхкрупных размеров.
Задачей изобретения является снижение износа основного диска, повышение равномерности распределения материала по размольным лопаткам, особенно на мельницах крупных размеров, и увеличение тем самым их износостойкости при простоте конструкции и удовлетворительной вентилирующей способности мельницы.
Указанная задача достигается за счет того, что на роторе мельницы-вентилятора, включающем основной и покрывающий диски, на которых размещены мелющие лопатки, и установленный на основном диске конический отбойный диск с образующей, наклоненной к вертикали, основной диск содержит по крайней мере один дополнительный конический отбойный диск, угол наклона образующей которого не равен углу наклона образующей первого конического отбойного диска.
Предпочтительным исполнением является такое, при котором угол наклона образующих конических отбойных дисков к вертикали увеличивается в направлении от центра ротора к мелющим лопаткам.
Пример исполнения изобретения поясняется чертежом.
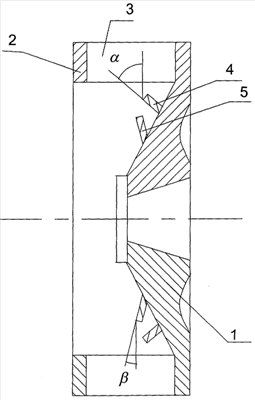
Ротор мельницы-вентилятора содержит основной диск 1, покрывающий диск 2, мелющие лопатки 3. На основном диске 1 установлены конический отбойный диск 4 и дополнительный отбойный диск 5, причем угол наклона образующей конуса диска 4 не равен углу наклона образующей конуса диска 5.
Устройство работает следующим образом.
Размалываемый материал, поступающий через подающий патрубок (не показан) в область центральной части основного диска 1, попадает на мелющие лопатки 3 и ими размалывается. При своем движении в сторону размольных лопаток 3 материал перемещается вблизи внутренней стенки основного диска 1. На пути следования материал встречает отбойные диски 5 и 4. Ударяясь о диски 4 и 5, частицы материала дополнительно размалываются и, изменяя свое направление, перемещаются по длине мелющей лопатки 3 равномерно. Благодаря тому, что отбойных дисков по меньшей мере два и угол наклона образующей диска 4 к вертикали не равен углу наклона образующей диска 5 к вертикали, распределение материала по длине мелющей лопатки 3 происходит более эффективно, что особенно важно для мельниц крупных размеров. Кроме этого, достигается дополнительный сепарационный эффект, т.к. материал, проходя с одного отбойного диска к другому, провеивается вентилируемым компонентом, который увлекает мелкие частицы размолотого материала в сторону потока готовой пыли. При этом при установке дисков 4 и 5 с углами образующих к вертикали и , увеличивающимися от центра к лопаткам, сходящие по инерции с отбойных дисков достаточно крупные частицы вследствие пересечения траекторий их движения дополнительно размалываются. Ротор износостоек, компактен, не мешает вентиляции и увеличивает эффективность работы мельницы.
Формула изобретения
1. Ротор мельницы-вентилятора, содержащий основной и покрывающий диски, на которых размещены мелющие лопатки, и установленный на основном диске конический отбойный диск с образующей, наклонной к вертикали, отличающийся тем, что на основном диске имеется, по крайней мере, один дополнительный конический отбойный диск, угол наклона образующей которого не равен углу наклона образующей первого отбойного диска.
2. Ротор по п.1, отличающийся тем, что углы наклона образующих конических отбойных дисков к вертикали увеличиваются в направлении от центра ротора к мелющим лопаткам.
РИСУНКИ
|
|