|
(21), (22) Заявка: 2007124611/03, 22.06.2007
(24) Дата начала отсчета срока действия патента:
22.06.2007
(43) Дата публикации заявки: 27.12.2008
(46) Опубликовано: 10.05.2009
(56) Список документов, цитированных в отчете о поиске:
(56)RU 2033857 С1, 30.04.1995. SU 477206 А, 03.10.1975. RU 2291746 C1, 20.01.2007. SU 1209278 А, 07.02.1986. US 4592517 А, 03.06.1986. US 4452401 А, 05.06.1984.
Адрес для переписки:
197227, Санкт-Петербург, а/я 405, С.А. Воропаю
|
(72) Автор(ы):
Ермолаева Рогнеда Ярославна (RU), Ермолаев Михаил Михайлович (RU), Ульянов Владимир Николаевич (RU)
(73) Патентообладатель(и):
Ермолаева Рогнеда Ярославна (RU)
|
(54) ИНЕРЦИОННАЯ МЕЛЬНИЦА ДЛЯ ТВЕРДЫХ МАТЕРИАЛОВ
(57) Реферат:
Изобретение относится к технике для тонкого измельчения материалов. Инерционная мельница для твердых материалов включает полый статор, загрузочное и разгрузочное устройства, а также совокупность мелющих тел. Мелющие тела укреплены на размещенном в полости статора и снабженном приводом вращающемся роторе и выполнены в виде свободно вращающихся роликов, оси которых укреплены с возможностью перемещения под действием центробежных сил в положение, при котором обеспечивается сближение или взаимодействие наружной поверхности ролика с внутренней поверхностью статора. Изобретение позволяет повысить производительность, изменять дисперсность помола, уменьшить зависимость помола от влажности исходного материала. 3 з.п. ф-лы, 3 ил.
Изобретение относится к технике для тонкого измельчения материалов и может найти применение в энергетической, химической, горно-обогатительной отраслях промышленности, а также в индустрии строительных материалов.
Для оценки новизны и технического уровня заявленного решения рассмотрим ряд известных заявителю технических средств аналогичного назначения, характеризуемых совокупностью сходных с заявленным изобретением признаков, известных из сведений, ставших общедоступными до даты приоритета изобретения.
Известны инерционные конусные мельницы, в которых применен дебалансный ротор-вибратор, центробежная сила которого регулируется и соответственно регулируется амплитуда внутреннего конуса. Такая схема привода является динамической и не имеет препятствий для сжатия слоя дробимого материала, кроме сопротивления самого слоя, поэтому степень дробления таких дробилок достигает 20. Этому способствует почти двукратное увеличение числа качаний внутреннего конуса и отсутствие повреждений привода даже при заклинивании конуса.
Известна инерционная конусная мельница (патент США N4592517, В02С 2/04, 3 июня 1986 г.), содержащая опертый на фундамент через эластичные амортизаторы корпус с наружным конусом и размещенным внутри него на сферической опоре внутренним конусом, на валу которого с помощью подшипников смонтирован приводной неуравновешенный ротор, шарнирно подвешенный к сферической опоре внутреннего конуса и соединенный с двигателем через компенсационную муфту.
Недостатками такой мельницы являются: отсутствие ее динамического уравновешивания, потеря 15% дробящей силы из-за малого момента инерции корпуса относительно центра сферической опоры внутреннего конуса (отсутствие массивного дна корпуса) и невозможность оптимальной регулировки дробящей силы.
Известна инерционная конусная мельница (патент США N4452401, В02С 2/04, 5 июня 1987 г.), содержащая опертый на фундамент через эластичные амортизаторы корпус, снабженный наружным конусом и размещенный внутри него на сферической опоре внутренний конус, на валу которого с помощью подшипника смонтирован приводной неуравновешенный ротор, подвешенный с возможностью вращения к валу внутреннего конуса и соединенной компенсационной муфтой с приводным двигателем.
При упрощении конструкции за счет устранения крупногабаритного шарнирного подвеса неуравновешенного ротора к сферической опоре внутреннего конуса упомянутая мельница сохранила все недостатки, присущие предыдущему аналогу.
Известна конусная инерционная мельница, содержащая корпус, внутренний дробящий конус с приводным валом, опора которого выполнена в виде сферического подпятника, размещенного на корпусе с возможностью перемещения по опорной поверхности, дебаланс, смонтированный на хвостовике вала дробящего конуса и привод дебаланса. Внутренний дробящий конус дополнительно снабжен дебалансом, установленным на верхнем конце приводного вала и сопряженным с нижним дебалансом посредством промежуточного вала, смонтированного внутри приводного вала дробящего конуса. В этом устройстве камера дробления образована поверхностями с прямолинейными образующими соответственно корпуса и дробящего конуса (патент SU 1209278, 07.02.1986).
При работе устройства дробящий конус обкатывается по корпусу, причем контакт обеспечивается по всей линии образующих камеры дробления, что повышает степень сокращения материала, т.е. эффективность дробления.
Недостатком этого устройства является сложность конструкции устройства, заключающегося в наличии второго дебалансного узла и промежуточного вала, соединяющего дебалансы, а также размещение верхнего дебаланса в зоне загрузки материала, что создает неудобства в обслуживании устройства.
В настоящее время наиболее распространенным типом мельниц в промышленности являются мельницы шарового типа, которые размельчают исходный продукт в закрытых камерах.
Однако эти мельницы имеют ряд общих существенных недостатков, а именно трудности классификации и градации конечного продукта, высокое потребление электричества, высокая стоимость обслуживания этих дробилок и необходимость частой замены, дорогостоящих дробящих шаров, разнообразную, случайную форму конечного продукта, а также его высокая влажность.
Известна, например, шаровая барабанная мельница, содержащая полый футерованный барабан, загрузочное и разгрузочное устройства, разгрузочную перфорированную решетку, установленную на выходе барабана и жестко прикрепленную к нему, трубу рецикла, расположенную коаксиально барабану, а также совокупность мелющих тел (патент РФ 2291746).
Данному аналогу присуща совокупность признаков, наиболее близкая к совокупности существенных признаков изобретения, в связи с чем данное известное техническое решение выбрано в качестве прототипа заявляемого изобретения.
В основу настоящего изобретения положено решение технической задачи получения более унифицированного по форме конечного продукта с меньшей влажностью, а также облегчения классификации конечного продукта.
Сущность заявляемого изобретения как технического решения выражается в следующей совокупности существенных признаков, достаточной для достижения указанного выше обеспечиваемого изобретением технического результата.
Инерционная мельница для твердых материалов, содержащая полый статор, загрузочное и разгрузочное устройства, а также совокупность мелющих тел, характеризуется тем, что мелющие тела укреплены на размещенном в полости статора и снабженном приводом вращающемся роторе и выполнены в виде свободно вращающихся роликов, оси которых укреплены с возможностью перемещения под действием центробежных сил в положение, при котором обеспечивается сближение или взаимодействие наружной поверхности ролика с внутренней поверхностью статора.
В этом заключается совокупность существенных признаков, обеспечивающая получение технического результата во всех случаях, на которые распространяется испрашиваемый объем правовой охраны.
Кроме того, заявленное техническое решение имеет ряд факультативных признаков, а именно:
– оси роликов могут быть размещены в вилках, установленных между щеками по меньшей мере одной жестко закрепленной на роторе катушки с возможностью перемещения относительно них под действием центробежных сил;
– наружные поверхности роликов в верхней и нижней частях могут быть выполнены конусообразными;
– устройство может быть снабжено средствами, обеспечивающими минимальный зазор между наружной поверхностью роликов и внутренней поверхностью статора.
Заявителем не выявлены источники, содержащие информацию о технических решениях, совокупности признаков которых совпадают с совокупностью отличительных признаков заявленного изобретения, что позволяет сделать вывод о его соответствии условию “новизна”.
Отдельные отличительные признаки заявленного изобретения, такие как ролики, вращающийся ротор, известны из уровня техник, однако заявителю не известны какие-либо публикации, которые содержали бы сведения о влиянии данных отличительных признаков изобретения на достигаемый технический результат, который заключается в том, что первичное измельчение исходного материала происходит за счет отбрасывания его элементами ротора на внутреннюю стенку статора и ударного воздействия роликов, а основное измельчение производится между поверхностью роликов и внутренней поверхностью статора за счет усилия прижима роликов, создаваемого центробежными силами при вращении ротора.
В связи с этим, по мнению заявителя, можно сделать вывод о соответствии заявляемого технического решения условию “изобретательский уровень”.
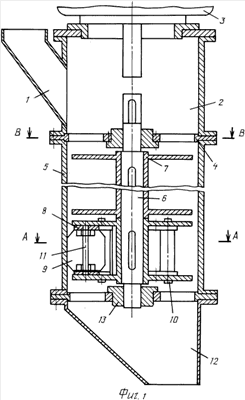
Сущность изобретения поясняется чертежами, где на фиг.1 изображен разрез заявленного устройства, на фиг.2 – разрез А-А по фиг.1, на фиг.3 – разрез В-В по фиг 1.
На чертежах позициями обозначены основные детали заявленного устройства: загрузочный парубок 1, бункер 2, электродвигатель 3, опорный фланец 4, статор 5, ось ротора 6, катушка 7, вилка 8, ролик 9, ось 10 вилки, ось 11 ролика, выходная воронка 12, блок подшипников 13 оси ротора, ограничитель 14 поворота вилки.
Устройство работает следующим образом.
Электродвигатель 3, расположенный сверху бункера 2, вращает ротор 6, на котором закреплены катушки 7. Ось ротора 6 с помощью блоков подшипников 13, закрепленных в опорных фланцах 4, центрирована и закреплена относительно статора 5. На щеках катушек 7 закреплены оси 10 вилок 8. Каждая катушка 7 несет несколько вилок 8 с роликами 9, количество которых определяется конструкцией мельницы и требованиями к качеству конечного продукта. Наиболее рациональным является закрепление на каждой катушке по три вилки 8 с роликами 9. Ролики 9 свободно вращаются на осях 11, закрепленных на вилках 8.
При вращении ротора центробежные силы поворачивают вилки 8, при этом ролики 9 вплотную приближаются или прижимаются к внутренней поверхности статора 5, внутренний диаметр которого меньше, чем диаметр окружности, описываемой максимально возможный выход роликов 9. Наличие ограничителей 14 поворота вилки 8 в виде эксцентричных упоров позволяет уменьшить поворот вилок 8 в тех случаях, когда необходимо обеспечить заданный зазор между внутренней поверхностью статора 5 и роликом 9. При скорости вращения ротора около 1500 об/мин усилие прижима ролика 9 к внутренней поверхности статора 5 может превышать вес ролика в тысячу раз и может измеряться тысячами килограммов силы.
Исходный материал непрерывно подается в загрузочный патрубок 1 и под действием собственного веса падает в бункер 2. Далее через окна опорного фланца 4 материал поступает на внешнюю сторону катушек 7, отбрасывается центробежными силами на внутреннюю поверхность статора 5 и поступает к роликам 9, которые вращаются со скоростью нескольких десятков м/с. Первичное измельчение исходного материала происходит в результате ударного воздействия роликов 9 на исходный материал. Далее исходный материал попадает между поверхностью роликов 9 и внутренней поверхностью статора 5, где происходит основное его измельчение за счет центробежного усилия прижима ролика 9. Все ролики 9 закреплены на вилках 8 независимо друг от друга, поэтому неравномерность толщины слоя измельчаемого материала на одном ролике 9 не сказывается на работе других роликов 9.
Для получения более тонкого помола внутри статора может быть установлено несколько аналогичным образом выполненных катушек 7 с роликами 9. Постепенно просыпаясь между ними, исходный материал приобретает требуемую дисперсность, попадает в выходную воронку 12 и покидает мельницу.
Возможность промышленного применения заявленного технического решения подтверждается известными и описанными в заявке средствами, с помощью которых возможно осуществление изобретения в том виде, как оно охарактеризовано в формуле изобретения. Заявленный способ может быть реализован с использованием известных технических средств, что обусловливает, по мнению заявителя, его соответствие условию «промышленная применимость».
Использование заявленного решения по сравнению со всеми известными средствами аналогичного назначения обеспечивает следующие преимущества;
– большую производительность;
– возможность изменения дисперсности помола:
– меньшую зависимость помола от влажности исходного материала;
– надежность и большой срок наработки на отказ.
Формула изобретения
1. Инерционная мельница для твердых материалов, содержащая полый статор, загрузочное и разгрузочное устройства, а также совокупность мелющих тел, отличающаяся тем, что мелющие тела укреплены на размещенном в полости статора и снабженном приводом вращающемся роторе и выполнены в виде свободно вращающихся роликов, оси которых укреплены с возможностью перемещения под действием центробежных сил в положение, при котором обеспечивается сближение или взаимодействие наружной поверхности ролика с внутренней поверхностью статора.
2. Мельница по п.1, отличающаяся тем, что оси роликов размещены в вилках, установленных между щеками по меньшей мере одной жестко закрепленной на роторе катушки с возможностью перемещения относительно них под действием центробежных сил.
3. Мельница по п.1, отличающаяся тем, что наружные поверхности роликов в верхней и нижней частях выполнены конусообразными.
4. Мельница по п.1, отличающаяся тем, что она снабжена средствами, обеспечивающими минимальный зазор между наружной поверхностью роликов и внутренней поверхностью статора.
РИСУНКИ
|