|
(21), (22) Заявка: 2006102872/12, 21.12.2004
(24) Дата начала отсчета срока действия патента:
21.12.2004
(30) Конвенционный приоритет:
12.02.2004 EP 04003164.3
(43) Дата публикации заявки: 20.03.2008
(46) Опубликовано: 10.05.2009
(56) Список документов, цитированных в отчете о поиске:
US 5869011 A, 09.02.1999. RU 1468150 С, 30.09.1994. SU 1774148 А1, 07.11.1992. RU 2237676 С2, 10.10.1992. WO 94/12274 А1, 09.06.1994.
(85) Дата перевода заявки PCT на национальную фазу:
12.09.2006
(86) Заявка PCT:
EP 2004/014520 20041221
(87) Публикация PCT:
WO 2005/077519 20050825
Адрес для переписки:
101000, Москва, М.Златоустинский пер., 10, кв.15, “ЕВРОМАРКПАТ”, пат.пов. И.А.Веселицкой, рег. 11
|
(72) Автор(ы):
ФИЛИППИ Эрманно (CH), РИЦЦИ Энрико (IT), ТАРОЦЦО Мирко (CH)
(73) Патентообладатель(и):
МЕТАНОЛ КАСАЛЕ С.А. (CH)
|
(54) ПСЕВДОИЗОТЕРМИЧЕСКИЙ ХИМИЧЕСКИЙ РЕАКТОР ДЛЯ ПРОВЕДЕНИЯ ГЕТЕРОГЕННЫХ ХИМИЧЕСКИХ РЕАКЦИЙ
(57) Реферат:
Изобретение относится к аппаратам химической промышленности, а именно псевдоизотермическому химическому реактору для проведения гетерогенных химических реакций. Реактор содержит цилиндрический корпус, закрытый с противоположных концов днищами. В зоне реакции расположен, по меньшей мере, один слой катализатора и, по меньшей мере, один погруженный в него теплообменный блок. Блок состоит из множества радиально расположенных теплообменников и имеет форму цилиндра. По меньшей мере, один из теплообменников выполнен в виде змеевика, изготовленного из одной трубы в форме уплощенного параллелепипеда. Теплообменники такого теплообменного блока способны выдерживать большую разность между давлением текучего теплоносителя внутри него и наружным давлением в зоне реакции. 10 з.п. ф-лы, 7 ил.
Настоящее изобретение относится к псевдоизотермическому химическому реактору для проведения гетерогенных химических реакций, имеющему, по существу, цилиндрический корпус, закрытый с противоположных концов соответственно верхним и нижним днищами, расположенную в корпусе зону реакции со слоем катализатора и по меньшей мере один закрепленный в зоне реакции теплообменный блок, состоящий из нескольких теплообменников.
Известно, что для оптимального завершения экзотермических или эндотермических химических реакций необходимо отводить из зоны реакции или соответственно подводить в зону реакции тепло и таким путем поддерживать температуру реакции вблизи заданного теоретического значения.
Известно также, что для этой цели широко используют расположенные в зоне реакции (обычно в слое катализатора) теплообменники самого разного типа, через которые непрерывно пропускают соответствующий рабочий текучий теплоноситель.
Хорошие результаты, в частности, были подучены при использовании так называемых “пластинчатых” теплообменников, т.е. теплообменников, состоящих из двух параллельных, обычно прямоугольных, отстоящих друг от друга и сваренных по периметру листов, образующих внутреннюю полость теплообменника, через которую пропускают текучий теплоноситель.
При всех своих несомненных преимуществах такие пластинчатые теплообменники обладают и определенным недостатком, заключающимся в том, что они не выдерживают большой разности внутреннего и наружного давлений и поэтому во время работы деформируются и гнутся. При этом достаточно часто в результате деформации происходит изменение размеров поперечного сечения внутренней полости теплообменника и, как следствие этого, изменение по сравнению с расчетной его теплообменной способности, снижение точности регулирования псевдоизотермичности реакции и в конечном итоге соответствующее снижение выхода реакции.
В основу настоящего изобретения была положена задача разработать псевдоизотермический химический реактор с теплообменным блоком, конструктивные и функциональные характеристики которого позволяли бы устранить перечисленные выше недостатки известных теплообменников, или, иными словами, с теплообменным блоком, теплообменники которого были бы способны выдерживать расчетную или случайно возникающую большую разность между давлением текучего теплоносителя внутри теплообменника и наружным давлением в зоне реакции.
Указанная выше задача решается с помощью псевдоизотермического химического реактора для проведения гетерогенных химических реакций, имеющего, по существу, цилиндрический корпус с продольной осью (Z-Z), расположенную внутри корпуса зону реакции и по меньшей мере один теплообменный блок, удерживаемый в зоне реакции и состоящий из множества теплообменников, по меньшей мере один из которых состоит из змеевика, изготовленного из одной трубы, габаритные размеры которого соответствуют телу в форме уплощенного параллелепипеда (телу плоской формы), причем теплообменный блок, состоящий из множества змеевиковых теплообменников, имеет форму цилиндра, расположенного концентрично по оси зоны реакции, в которой он удерживается, причем теплообменники расположены в теплообменном блоке радиально.
В предпочтительном варианте такой змеевиковый теплообменник состоит из множества параллельных трубчатых прямолинейных участков, последовательно соединенных друг с другом соответствующими изогнутыми коленами.
В подобном змеевиковом теплообменнике его отдельные прямолинейные участки имеют одну и ту же длину и их продольные оси лежат в одной и той же плоскости. Изогнутые колена могут иметь полукруглую форму.
Прямолинейные участки теплообменников могут быть расположены в зоне реакции радиально или параллельно оси корпуса.
В одном из вариантов теплообменники в теплообменном блоке расположены радиально объединенными в несколько концентричных, расположенных на одной оси групп.
По меньшей мере один теплообменник может имеет дополнительную трубу для подачи в него текучего теплоносителя, соединенную со змеевиком в заданном промежуточном месте.
Прямолинейные участки теплообменников могут быть также расположены параллельно диаметру корпуса и теплообменники расположены в воображаемых эквидистантных параллельных плоскостях. При этом колена теплообменников расположены по касательной к воображаемым цилиндрическим поверхностям, и их радиус кривизны равен внутреннему радиусу корпуса, а центры расположены на внутреннем диаметре корпуса.
Другие отличительные особенности и преимущества изобретения более подробно рассмотрены ниже со ссылкой на прилагаемые к описанию чертежи на примере одного из иллюстрирующих, но не ограничивающих объем изобретения вариантов возможного выполнения предлагаемого в изобретении химического реактора.
На прилагаемых к описанию чертежах показано:
на фиг.1 – вид в аксонометрии и в разрезе предлагаемого в изобретении реактора,
на фиг.2 – аналогичный приведенному на фиг.1 вид в аксонометрии реактора, выполненного по другому варианту,
на фиг.3 – схематичный вид в увеличенном масштабе теплообменника реактора, изображенного на фиг.1,
на фиг.4 – схематичный вид в сечении плоскостью IV-IV изображенного на фиг.3 теплообменника предлагаемого в изобретении реактора,
на фиг.5 – аналогичный приведенному на фиг.3 схематичный вид теплообменника, выполненного по другому варианту,
на фиг.6 – схематичный вид в разрезе реактора, выполненного по другому варианту, и
на фиг.7 – схематичный вид фрагмента реактора, выполненного в соответствии с показанным на фиг.6 вариантом.
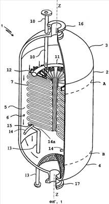
На фиг.1 показан обозначенный позицией 1 псевдоизотермический химический реактор, предлагаемый в настоящем изобретении.
Реактор 1 имеет цилиндрический корпус 2, закрытый с противоположных концов соответственно верхним 3 и нижним 4 днищами с патрубками 16 и 17 соответственно для подачи в реактор исходных, в частности газообразных, реагентов и отбора из реактора продуктов реакции. В корпусе 2 реактора находится зона 5 реакции, в которой расположен (не показанный на чертеже) слой катализатора с теплообменным блоком 6, состоящим из нескольких теплообменников 7 и определенным образом закрепленным внутри реактора.
В соответствии с первой отличительной особенностью настоящего изобретения каждый теплообменник 7 выполнен в виде змеевика (фиг.3, 4), изготовленного из одной трубы определенного диаметра в форме, по существу, плоского параллелепипеда. Змеевик имеет параллельные прямолинейные участки 8 равной длины, последовательно соединенные друг с другом полукруглыми коленами 9. Прямолинейные участки 8 теплообменника предпочтительно должны быть расположены в одной плоскости на равном расстоянии друг от друга.
В соответствии с другой отличительной особенностью настоящего изобретения змеевиковые теплообменники 7 должны быть расположены в зоне 5 реакции таким образом, чтобы их соответствующие прямолинейные участки 8 лежали в одной радиальной плоскости корпуса 2 реактора.
Состоящий из радиально расположенных теплообменников 7 теплообменный блок 6 реактора имеет, по существу, форму цилиндра, расположенного концентрично вокруг центральной оси зоны 5 реакции.
В реакторе, выполненном по другому варианту (фиг.2), теплообменный блок 6 состоит из нескольких (в данном примере трех) концентричных групп радиальных теплообменников 7, расположенных одна внутри другой вокруг продольной оси зоны реакции.
Во время работы реактора через змеевиковые теплообменники 7 пропускают соответствующий текучий теплоноситель. Текучий теплоноситель в теплообменники подают через подводящие трубки 12, соединенные с кольцевым распределительным коллектором 11, который, в свою очередь, соединен с подводящей трубой 10, конец которой выходит из реактора 1 наружу через верхнее днище 3.
Снизу теплообменники 7 соединены с отводящими трубками 15, которые через кольцевой коллектор 14 (фиг.1) или соответствующие кольцевые трубы 14 (фиг.2) соединены трубой 14а с отводящей трубой 13, конец которой выходит из реактора 1 наружу через его нижнее днище 4.
Выполненные таким образом в псевдоизотермических химических реакторах теплообменники, которые по своим габаритам не отличаются от известных в настоящее время пластинчатых теплообменников, могут надежно работать при большой разнице внутреннего и внешнего давлений в зоне реакции.
Другим преимуществом предлагаемых в изобретении теплообменников, которые по габаритным размерам не отличаются от обычных пластинчатых теплообменников, является их сравнительно большая поверхность теплообмена и, как следствие этого, большая эффективность теплообмена между текучим теплоносителем и зоной реакции.
В другом варианте, показанном на фиг.5, каждый трубчатый змеевиковый теплообменник 7 имеет трубу 18, предназначенную для подачи в него по меньшей мере в одном фиксированном месте дополнительного количества текучего теплоносителя. Труба 18 предпочтительно соединяется с коленом 9 теплообменника 7. Дополнительная подача текучего теплоносителя позволяет более точно регулировать температуру внутри теплообменников 7 и, как следствие этого, более точно контролировать процесс теплообмена и псевдоизотермичность протекающей в зоне 5 реакции и в конечном итоге повысить выход реактора.
Еще в одном варианте выполнения реактора прямолинейные участки 8 его змеевиковых теплообменников 7 расположены в зоне 5 реакции не радиально, как в описанных выше вариантах, а параллельно диаметру корпуса 2 (фиг.6 и 7).
Изображенные на этих чертежах реакторы не требуют отдельного описания, поскольку конструктивно и функционально не отличаются от описанных выше реакторов, а их основные детали и элементы обозначены теми же позициями, что и на предыдущих чертежах.
В этом варианте (фиг.6) теплообменники 7 расположены в воображаемых эквидистантных параллельных плоскостях.
Кроме того (фиг.7), в этом варианте колена 9 теплообменников расположены по касательной к цилиндрическим поверхностям 22, 23, 24, 25, 26, 27, и их радиус кривизны равен внутреннему радиусу корпуса 2, а центры расположены на внутреннем диаметре D1 корпуса.
В реакторе, предлагаемом в этом варианте осуществления изобретения, при одинаковых размерах всех змеевиковых теплообменников 7 можно более эффективно контролировать псевдоизотермичность протекающей в нем химической реакции при большой разности давления внутри теплообменников и давления в зоне реакции.
Изобретение не ограничено рассмотренными выше вариантами его осуществления и не исключает возможности внесения в них различных изменений и усовершенствований в объеме формулы изобретения.
Еще в одном не показанном на чертежах варианте осуществления изобретения прямолинейные участки 8 змеевиковых теплообменников 7 могут располагаться параллельно продольной оси Z-Z корпуса 2 реактора.
Такое расположение теплообменников в реакторе 1 позволяет эффективно контролировать псевдоизотермичность реакции при прохождении исходных реагентов через зону реакции не в осевом, а в радиальном направлении.
В реакторе, предлагаемом в этом варианте осуществления изобретения, распределительный коллектор 11 и отводящий коллектор 14 расположены на концентричных окружностях, а соединенные с ними подводящими трубками 12 и отводящими трубками 15 теплообменники 7 могут свободно перемещаться в противоположных направлениях относительно коллекторов 11 и 14.
Такая конструкция позволяет значительно уменьшить механические напряжения, возникающие в коллекторах 11 и 14 при тепловых деформациях работающих при высоких температурах теплообменников 7.
Формула изобретения
1. Псевдоизотермический химический реактор (1) для проведения гетерогенных химических реакций, имеющий, по существу, цилиндрический корпус (2) с продольной осью (Z-Z), расположенную внутри корпуса (2) зону (5) реакции, и, по меньшей мере, один теплообменный блок (6), удерживаемый в зоне (5) реакции и состоящий из множества теплообменников (7), по меньшей мере, один из которых состоит из змеевика, изготовленного из одной трубы, габаритные размеры которого соответствуют телу в форме уплощенного параллелепипеда, отличающийся тем, что теплообменный блок (6), состоящий из множества упомянутых теплообменников (7), имеет форму цилиндра, расположенного концентрично по оси зоны (5) реакции, в которой он удерживается, причем теплообменники (7) расположены в теплообменном блоке (6) радиально.
2. Химический реактор по п.1, отличающийся тем, что теплообменник (7) состоит из множества трубчатых параллельных прямолинейных участков (8), последовательно соединенных соответствующим множеством изогнутых колен (9).
3. Химический реактор по п.2, отличающийся тем, что прямолинейные участки (8) имеют равную длину и расположенные в одной плоскости продольные оси.
4. Химический реактор по п.3, отличающийся тем, что изогнутые колена (9) имеют полукруглую форму.
5. Химический реактор по п.3, отличающийся тем, что прямолинейные участки (8) теплообменников (7) расположены в зоне (5) реакции радиально.
6. Химический реактор по п.3, отличающийся тем, что прямолинейные участки (8) теплообменников (7) расположены в зоне (5) реакции параллельно оси (Z-Z) корпуса (2).
7. Химический реактор по п.1, отличающийся тем, что теплообменники (7) в теплообменном блоке (6) расположены радиально объединенными в несколько концентричных, расположенных на одной оси групп.
8. Химический реактор по любому из предыдущих пунктов, отличающийся тем, что, по меньшей мере, один теплообменник (7) имеет дополнительную трубу (18) для подачи в него текучего теплоносителя, соединенную со змеевиком в заданном промежуточном месте.
9. Химический реактор по п.3, отличающийся тем, что прямолинейные участки (8) теплообменников (7) расположены параллельно диаметру корпуса (2).
10. Химический реактор по п.9, отличающийся тем, что теплообменники (7) расположены в воображаемых эквидистантных параллельных плоскостях.
11. Химический реактор по п.10, отличающийся тем, что колена (9) теплообменников расположены по касательной к воображаемым цилиндрическим поверхностям (22, 23, 24, 25, 26, 27) и их радиус кривизны равен внутреннему радиусу корпуса (2), а центры расположены на внутреннем диаметре (D1) корпуса (2).
РИСУНКИ
|