|
|
(21), (22) Заявка: 2007144745/28, 03.12.2007
(24) Дата начала отсчета срока действия патента:
03.12.2007
(46) Опубликовано: 10.05.2009
(56) Список документов, цитированных в отчете о поиске:
SU 967541 A1, 23.10.1982. SU 1646616 A1, 07.05.1991. SU 1808741 A1, 15.04.1993.
Адрес для переписки:
656038, г.Барнаул, ул. Димитрова, 41, кв.101, Д.Н. Пирожкову
|
(72) Автор(ы):
Федоренко Иван Ярославович (RU), Желтунов Михаил Григорьевич (RU), Васильев Сергей Николаевич (RU), Пирожков Дмитрий Николаевич (RU)
(73) Патентообладатель(и):
Федоренко Иван Ярославович (RU)
|
(54) ПРИВОД ВИБРАЦИОННОЙ ТЕХНОЛОГИЧЕСКОЙ МАШИНЫ
(57) Реферат:
Изобретение относится к устройствам, которые используются в качестве вибропривода в вибрационных машинах. Технический результат направлен на упрощение конструкции вибратора, создание уравновешенной системы «вибропривод-вибромашина». Привод вибрационной технологической машины содержит электродвигатель, дебалансный вал, соосно соединенный посредством муфты с валом электродвигателя и закрепленный в шарнире шатуна. Опора дебалансного вала совмещена с шарниром шатуна. Причем муфта выполнена в виде фланцев, соединенных лентами из упругого материала. При этом в качестве упругого материала использована армированная резина. 1 ил.
Изобретение относится к устройствам, которые используются в качестве вибропривода в вибрационных машинах, совершающих горизонтальные прямолинейные колебания.
Известны дебалансные вибраторы, работа которых основана на использовании электродвигателей с неуравновешенными массами на оси вращения (см., например, описание к патенту РФ 2133142 Устройство для смешивания сыпучих материалов. B01F 3/18, 11/00 [1], описание к А.с. СССР 443675 Вибросмеситель непрерывного действия B01F 11/00). Недостатком указанных вибраторов является наличие повышенного уровня шума, а также жесткого крепления дебалансов на валу ротора электродвигателя, что создает повышенные динамические нагрузки на ось двигателя, приводит к быстрому его износу и уменьшению времени эксплуатации.
Описанные устройства могут генерировать колебания только в вертикальной плоскости.
Для генерирования прямолинейных колебаний в горизонтальной плоскости необходимо использовать как минимум два дебалансных вибратора, но оси вращения которых должны быть вертикальными, а дебалансы должны вращаться в горизонтальной плоскости навстречу друг другу.
Известно устройство, содержащее основание, шарнирно закрепленный на основании маятник, дебалансный вибровозбудитель и систему сбалансированных упругопластичных элементов (Вибрации в технике. Справочник: в 6 т. Т.4: Вибрационные машины и процессы. – М.: Машиностроение, 1981. – Стр.237), способное генерировать линейные колебания вдоль любой оси, в том числе и горизонтальной. Недостатком подобного устройства является сложность конструкции, а также большое количество и сложность точного подбора уравновешивающих упругопластичных элементов.
Известен вибратор в реакционном аппарате с виброперемешиванием, являющийся наиболее близким по своей сущности к предлагаемому техническому решению, содержащий электродвигатель, дебалансный вал, соосно соединенный посредством муфты с валом электродвигателя, опору дебалансного вала (к А.с. СССР 967541, B01F 11/00). На одной оси между двигателем и дебалансным валом расположено устройство развязки, состоящее из двухшарнирной муфты со шлицевым валом, имеющее три степени свободы и уменьшающее передачу вибрации от дебалансного вала к двигателю.
Недостатком указанного вибратора является сложность конструкции двухшарнирной муфты, для которой требуется высокая точность изготовления деталей, высокая точность сборки и настройки. В описанной конструкции имеется жесткое механическое соединение элементов вибратора с электродвигателем, поэтому в момент пуска двигатель испытывают большую динамическую нагрузку, что ведет к дополнительному его износу.
Задачей изобретения является упрощение конструкции вибратора, создание уравновешенной системы «вибропривод-вибромашина» при любой загрузке вибромашины, генерация прямолинейных горизонтальных колебаний, уменьшение шума, снижение динамических нагрузок на все элементы конструкции: электродвигатель, вибропривод, вибромашина.
Поставленная задача решается тем, что в приводе вибрационной технологической машины, содержащем электродвигатель, дебалансный вал, соосно соединенный посредством муфты с валом электродвигателя и закрепленный в шарнире шатуна, опору дебалансного вала, совмещенную с шарниром шатуна, муфта выполнена в виде фланцев, соединенных лентами из упругого материала, при этом в качестве упругого материала использована армированная резина.
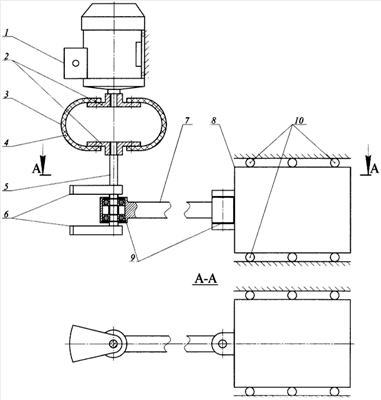
На чертеже показана принципиальная схема привода к вибрационной технологической машине.
Привод содержит электродвигатель 1, подвеску, состоящую из двух параллельных друг другу фланцев 2 муфты 3 с гибкими соединительными элементами 4, выполненных в виде лент из армированной резины или другого упругого материала, дебалансный вал 5, соосный валу электродвигателя, с жестко закрепленными на нем дебалансами 6, шатун 7, соединяющий дебалансный вал 5 с корпусом вибромашины 8 через шарниры 9. Крепление корпуса вибромашины 8 осуществляется опорными роликами 10, расположенными как в вертикальной, так и в горизонтальной плоскости.
Работает привод следующим образом. При включении электродвигателя 1 его ротор начинает вращаться и увлекает за собой ведущий фланец 2. Вращение от ведущего фланца 2 передается на ведомый фланец мягко без ударов через гибкие элементы 4, так как они могут получать достаточно большие упругие деформации. Ведомый фланец 2, жестко закрепленный на дебалансном валу 5, раскручивает его вместе с дебалансами 6. По мере возрастания частоты вращения дебалансный вал 5 за счет неуравновешенности дебалансов 6 относительно оси вращения начинает совершать круговые колебания. Шатун 7, связанный шарниром 9 с дебалансным валом 5 и корпусом вибромашины 8, превращает круговые колебания дебалансного вала 5 в линейные колебания корпуса вибромашины 8, закрепленного посредством опорных роликов 10.
Предлагаемая конструкция привода проста по устройству. Использование в приводе соединения электродвигателя с дебалансным валом посредством гибких элементов позволяет избегать резких ударов и наличия повышенных динамических нагрузок на валу электродвигателя, вследствие чего увеличивается его срок службы и уменьшается уровень шума. Кроме того, конструкция позволяет создать уравновешенную систему «вибропривод – вибромашина», так как в ней практически отсутствуют реактивные колебательные усилия на опорах электродвигателя и вибромашины, то есть генерируемые приводом колебания поглощаются вибромашиной исключительно для осуществления рабочего процесса, что позволяет уменьшить энергопотребление.
Формула изобретения
Привод вибрационной технологической машины, содержащий электродвигатель, дебалансный вал, соосно соединенный посредством муфты с валом электродвигателя и закрепленный в шарнире шатуна, опору дебалансного вала, совмещенную с шарниром шатуна, отличающийся тем, что муфта выполнена в виде фланцев, соединенных лентами из упругого материала, при этом в качестве упругого материала использована армированная резина.
РИСУНКИ
|
|