|
|
(21), (22) Заявка: 2007132601/15, 29.08.2007
(24) Дата начала отсчета срока действия патента:
29.08.2007
(46) Опубликовано: 10.05.2009
(56) Список документов, цитированных в отчете о поиске:
RU 2140813 C1, 10.11.1999. RU 2090253 C1, 20.09.1997. RU 2162732 C1, 10.02.2001. RU 2257948 C1, 10.08.2005. US 4194843 A, 25.03.1980. WO 8700448 A1, 29.01.1987.
Адрес для переписки:
420101, г.Казань, ул. Мавлютова, 9, ГОС 101, до востребования, В.М. Фомину
|
(72) Автор(ы):
Фомин Владимир Михайлович (RU), Туртанов Александр Алексеевич (RU), Садриев Айдар Рафаилович (RU), Понькин Владимир Николаевич (RU), Аюпов Ринат Шайхиевич (RU), Корноухов Александр Анатольевич (RU), Макаева Розалия Хабибулловна (RU), Царева Альбина Маратовна (RU), Фомин Максим Владимирович (RU), Хамидуллин Ринат Фаритович (RU), Каримов Альберт Хамзович (RU)
(73) Патентообладатель(и):
Фомин Владимир Михайлович (RU), Туртанов Александр Алексеевич (RU), Садриев Айдар Рафаилович (RU), Понькин Владимир Николаевич (RU), Аюпов Ринат Шайхиевич (RU), Корноухов Александр Анатольевич (RU), Макаева Розалия Хабибулловна (RU), Царева Альбина Маратовна (RU), Фомин Максим Владимирович (RU), Хамидуллин Ринат Фаритович (RU), Каримов Альберт Хамзович (RU)
|
(54) АКУСТИЧЕСКИЙ СПОСОБ ОБРАБОТКИ ЖИДКОТЕКУЧИХ СРЕД И РОТОРНО-ПУЛЬСАЦИОННЫЙ АКУСТИЧЕСКИЙ АППАРАТ ДЛЯ ЕГО ОСУЩЕСТВЛЕНИЯ
(57) Реферат:
Изобретение может быть использовано в химической, нефтедобывающей, нефтеперерабатывающей, микробиологической, фармацевтической, пищевой, кормовой и других отраслях промышленности. Способ обработки жидкотекучих сред заключается в гидромеханическом и акустическом воздействии на обрабатываемую среду рядами плохообтекаемых лопаток ротора и статоров с акустическим воздействием на нее в периферийной части аппарата со стороны бесканальных дискообразных ободов диска ротора и бесканальных дискообразных ободов дисков статоров, совершающих различные колебания. В аппарате периферийная часть ротора выполнена в виде бесканального дискообразного обода, а периферийная часть статоров выполнена в виде бесканальных дискообразных ободов, расположенных напротив бесканального дискообразного обода ротора. Бесканальные дискообразные ободы статоров могут быть выполнены с большим диаметром, чем диаметр бесканального дискообразного обода ротора. 2 н. и 1 з.п. ф-лы, 14 ил., 1 табл.
Изобретение относится к области обработки различных жидкотекучих сред в роторно-пульсационном акустическом аппарате. В первую очередь оно может найти применение в нефтедобывающей отрасли для подготовки нефти, в частности для обессоливания и обезвоживания водонефтяных эмульсий, добываемых из недр.
Известен способ обработки жидкотекучих сред (патент РФ 2090253, кл. B01F 7/00, бюл. 26, 20.09.97) в роторно-пульсационном аппарате, заключающийся в том, что обработку ведут в условиях дополнительного акустического воздействия статора на среду колебаниями различной частоты и амплитуды, частоту при этом регулируют числом оборотов ротора, а амплитуду – моментом инерции массы диска вращающегося ротора. Недостатком этого способа является то, что кроме дополнительного акустического воздействия статора на обрабатываемую среду статор оказывает и гидромеханическое воздействие на нее плохообтекаемыми лопатками, концентрично установленными на торце статоров, обращенных к диску ротора, образованных коаксиальными цилиндрами и проточными каналами. Эти плохообтекаемые лопатки значительно турбулизируют жидкотекучую обрабатываемую среду (ЖОС). Кроме того, точно такие же плохообтекаемые лопатки размещены на торцах диска ротора, которые также турбулизируют ЖОС. Эта излишняя турбулизация ЖОС отрицательно сказывается на процессе, например, коагуляции эмульсий и, в частности, отрицательно влияет на процесс разрушения водонефтяных эмульсий, т.е. на процесс обезвоживания нефти, т.к. приводит к разрушению, дроблению, диспергированию частиц водной фазы в нефтяной среде. Кроме того, при столкновении частиц дисперсной фазы с плохообтекаемыми лопатками ротора и статора также происходит их разрушение, дробление, диспергирование в среде, что является обратным процессом процессу коагуляции, коалисценции.
Известен акустический способ обработки жидкотекучих сред в роторно-пульсационном акустическом аппарате (патент РФ 2162363, кл. B01F 7/00, бюл. 3, 27.01.2001), заключающийся в том, что обработку жидкотекучих сред, как и в предыдущем случаи, ведут одновременно акустическим воздействием со стороны вращающегося ротора, являющегося генератором акустических колебаний за счет того, что диск ротора совершает веерные, и/или зонтичные, и/или комбинированные веерно-зонтичные колебания, а также такими же колебаниями дисков статоров, расположенных по обе стороны диска ротора, колебания которых генерируются и передаются от колеблющегося диска ротора через ЖОС. На торцах дисков ротора и статоров, обращенных друг к другу концентричными чередующимися между собой рядами, установлены плохообтекаемые лопатки ротора и статоров. Недостатком этого устройства является то, что в процессе деэмульгирования (разрушения) эмульсий путем коагуляции и коалисценциии частиц фазы в среде, например, в процессе обезвоживания и обессоливания, нефти когда она, получив относительно небольшую турбулизацию, необходимую для тщательного и качественного перемешивания в ней вводимых деэмульгаторов, от плохообтекаемых лопаток ротора и статоров, расположенных в области оси вращения ротора, с одновременным волновым воздействием со стороны дисков ротора и статоров, продолжает находиться между диском вращающегося ротора и дисками статоров, где установлены плохообтекаемые лопатки того и другого. Так как эти лопатки ротора расположены на большем диаметре, чем лопатки, находящиеся в центре диска ротора и дисков статоров, то и линейная скорость их вращения (лопаток ротора) будет больше, а следовательно, и турбулизация эмульсии будет более значительной. Соударение частиц дисперсной фазы с плохообтекаемыми лопатками статоров и ротора приводят, как и в предыдущем случае, к их разрушению, т.е. к диспергированию, дроблению, эмульгированию дисперсной фазы в дисперсионной среде, а это нарушает процесс деэмульгирования.
Известен способ акустической обработки жидкотекучих сред и роторно-пульсационный акустический аппарат для его осуществления (патент РФ 2140813, кл. B01F 7/00, бюл. 31, 10.11.99), как наиболее близкий аналог предлагаемому изобретению по совокупности существенных признаков, взятый нами за прототип, заключающийся в том, что в части способа обработку жидкотекучей среды ведут в роторно-пульсационном акустическом аппарате гидромеханическим воздействием плохообтекаемыми лопатками, установленными концентрично на торцах, дисков статоров, и плохообтекаемыми лопатками, установленными на торцах диска ротора в центральной части (в области оси вращения диска ротора), и акустическим воздействием безканального дискообразного обода ротора, совершающего различные колебания своей плоскостью диска и аналогичными колебаниями плоскостей дисков статоров, установленных в корпусе с зазором к нему. В части устройства обработку жидкотекучих сред ведут в роторно-пульсационном акустическом аппарате, содержащем корпус с установленным в нем на валу посредством втулки и упругих лопаток диском ротора, на торцах которого размещены коаксиальные цилиндры с проточными каналами, образующими концентричные ряды плохообтекаемых лопаток, при этом периферийная часть диска ротора выполнена в виде безканального (безлопаточного) дискообразного обода и статоров, установленных с зазором к корпусу. На торцах статоров, обращенных к диску ротора, размещены коаксиальные цилиндры с проточными каналами, образующими концентричные ряды плохообтекаемых лопаток. Эти ряды лопаток чередуются с аналогичными рядами ротора и образуют решетки плохообтекаемых лопаток. Аппарат работает следующим образом. ЖОС, подвергаемая деэмульгации, и, в частности, поступающая со скважин водонефтяная эмульсия (добываемая нефть), состоящая из нефтяной дисперсионной среды и водной дисперсной фазы с добавлением деэмульгатора, поступает в аппарат, где она подвергается интенсивному и тщательному перемешиванию и турбулизации со стороны подвижных решеток ротора и неподвижных решеток статора плохообтекаемых лопаток с одновременным акустическим воздействием со стороны колеблющегося диска ротора, являющегося генератором акустических колебаний элементов конструкции аппарата и находящейся в нем ЖОС, совершающего различные колебания и со стороны установленных с зазором к корпусу аппарата дисков статоров, совершающих точно такие же колебания, передающиеся через ЖОС от колеблющегося диска ротора. Поскольку на периферийной части диска ротора отсутствуют концентричные ряды плохообтекаемых лопаток, то эта часть ротора уже не оказывает на деэмульгируемую эмульсию отрицательного перемешивающего, турбулизирующего, диспергирующего, эмульгирующего воздействия, а оказывает исключительно положительное акустическое воздействие, которое приводит к коагуляции (коалисценции) капель дисперсной фазы, в данном случае капель водной фазы, находящейся в нефтяной среде (Ультразвук./Под ред. Голяминой И.П. Маленькая энциклопедия. М.: Сов. Энциклопедия. 1979, 400 с., ил., стр.161-162, «Коагуляция»), что в дальнейшем положительно сказывается на процессе обессоливания и обезвоживания нефти, т.к. чем больше будут капли водной фазы в нефтяной среде, тем быстрее и легче эта водная фаза за счет разницы в плотностях между водой, а фактически рассолом, и нефтью под действием гравитационных сил осядет вниз и таким образом произойдет отделение воды от нефти. Недостатком этого способа и устройства является то, что наряду с акустическим воздействием на водонефтяную эмульсию со стороны дисков статоров эти статоры оказывают на нее турбулизирующее, перемешивающее воздействие рядами (решетками) плохообтекаемых лопаток, установленных на периферийной части дисков статоров там, где этих лопаток нет на диске ротора. Это препятствует, как и в предыдущих случаях, процессу разделения водонефтяной эмульсии на воду и нефть.
Техническим эффектом изобретения является снижение гидромеханического воздействия со стороны плохообтекаемых лопаток статоров роторно-пульсационного акустического аппарата и увеличение акустической составляющей воздействия на ЖОС при проведении процессов деэмульгирования, в частности, при проведении процессов обессоливания и обезвоживания водонефтяных эмульсий.
Сущность изобретения в части способа характеризуется следующей совокупностью существенных признаков, обеспечивающих достижение указанного эффекта, тем, что обработку ведут в роторно-пульсационном акустическом аппарате гидромеханическим и акустическим воздействием на обрабатываемую среду бесканальным дискообразным ободом ротора, совершающего колебания, согласно изобретению обработку, кроме того, ведут акустическим воздействием на обрабатываемую среду бесканальными дискообразными ободами статоров, совершающих колебания.
Сущность изобретения в части устройства характеризуется следующей совокупностью существенных признаков, обеспечивающих достижение указанного эффекта тем, в роторно-пульсационном акустическом аппарате, содержащем корпус с установленным в нем на валу посредством втулки и упругих лопаток диском ротора, на торцах которого размещены коаксиальные цилиндры с проточными каналами, образующими концентричные ряды лопаток, периферийная часть которого выполнена в виде безканального дискообразного обода и статоры, установленные с зазором к корпусу, на торцах которых в области оси вращения вала ротора, обращенных к диску ротора между рядами коаксиальных цилиндров ротора, размещены коаксиальные цилиндры статоров с проточными каналами, образующими концентричные ряды лопаток статоров, согласно изобретению периферийная часть статоров выполнена в виде бесканальных дискообразных ободов, расположенных напротив бесканального дискообразного обода ротора.
Кроме того, для исключения гидромеханического воздействия на обрабатываемую среду со стороны вращающегося бесканального дискообразного обода ротора, согласно изобретению бесканальные дискообразные ободы статоров выполнены с большим диаметром, чем диаметр бесканального дискообразного обода ротора.
Проведение акустической обработки жидкотекучих сред для их деэмульгирования, т.е. для разрушения эмульсий путем коагуляции, коалисценции частиц дисперсной фазы, например, для обессоливания и обезвоживания добываемой из недр водонефтяной эмульсии, на периферии ротора и статоров одновременно бесканальным дискообразным ободом ротора, совершающего своей плоскостью различные колебания, и расположенными напротив него бесканальными дискообразными ободами статоров, приводит к акустической коагуляции частиц дисперсной фазы (в данном случае частиц водной фазы в нефтяной среде (см. Ультразвук./Под ред. Голяминой И.П. Маленькая энциклопедия. М.: Сов. Энциклопедия. 1979. 400 с. ил., стр.161-162, «Коагуляция»). В этой периферийной части роторно-пульсационного акустического аппарата деэмульгируемая жидкотекучая среда подвергается акустическому воздействию и согласно указанной выше работе частицы фазы движутся навстречу друг другу, сталкиваются между собой, в результате чего происходит их слияние, т.е. происходит коагуляция частиц дисперсной фазы с уменьшением их количества, увеличением их диаметра. Механическое воздействие на обрабатываемую среду в этой части аппарата оказывает только бесканальный обод вращающегося диска ротора, который за счет трения в жидкой среде закручивает ее поток по направлению своего вращения. И поскольку в этой периферийной части аппарата отсутствуют плохообтекаемые лопатки статора, то исключается вероятность того, что на их острых кромках будет происходить дробление, диспергирование капель дисперсной фазы в среде.
Для исключения механического влияния вращающегося бесканального обода диска ротора на деэмульгируемую эмульсию акустическую обработку ведут статорами, диаметры бесканальных дискообразных ободов которых больше диаметра бесканального дискообразного обода ротора. В этом случае деэмульгируемая эмульсия будет находиться в периферийной части аппарата между двумя бесканальными дискообразными ободами статоров, совершающих различные колебания, и на нее будет оказываться со стороны аппарата только акустическое воздействие.
Таким образом, движущиеся навстречу друг другу капли дисперсной фазы и даже двигающиеся в одном направлении, но с разными скоростями капли фазы встретятся, произойдет их слияние (коагуляция). Процесс слияния капель дисперсной фазы может происходить не один раз, а многократно. В результате этого капли дисперсной фазы приобретут необходимые размеры и соответственно необходимую массу, когда на нее будут оказывать существенное действие гравитационная или архимедова силы и практически не будут оказывать влияние броуновское движение в жидкости, силы трения, которые препятствуют процессу разделения эмульсии на фазу и среду. Под действием гравитационной или архимедовой сил капли дисперсной фазы будут либо осаждаться вниз, либо всплывать наверх в зависимости от плотности среды и плотности фазы.
Существенными отличительными признаками изобретения является способ обработки жидкотекучих сред при их деэмульгировании акустическим воздействием на нее бесканальными дискообразными ободами ротора и статоров, совершающих различные колебания в аппарате, периферийная часть статоров которых выполнена в виде бесканальных дискообразных ободов, расположенных напротив бесканального дискообразного диска ротора. Кроме того, обработку можно вести только акустическим воздействием на жидкотекучую среду только бесканальными дискообразными ободами статоров в аппарате, диаметры бесканальных ободов статоров в которых больше диаметра бесканального обода ротора.
Сравнительный анализ предлагаемого изобретения с известными техническими решениями позволяет сделать вывод о новизне и соответствии условиям изобретательского уровня предлагаемого изобретения.
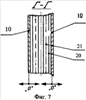
На фиг.1 изображен продольный разрез роторно-пульсационного акустического аппарата, на фиг.2 – сечение А-А фиг.1, на фиг.3 – элемент Б фиг.1 выполнения бесканальных дискообразных ободов дисков статоров большим диаметром, чем диаметр ротора Dст>Dрот, на фиг.4 – диск ротора, периферийная часть которого выполнена в виде бесканального дискообразного обода, на фиг.5 – восстановленная голограмма, иллюстрирующая картину резонансных колебаний на частоте f=11123 Гц. Здесь литерами «У» обозначены узлы колебаний, узел колебаний – это место, амплитуда колебаний которого равна 0, светлые места, «П» – пучность колебаний – это место с максимальной амплитудой колебаний, темные места, на фиг.6 изображено сечение А-А фиг.1, на фиг.7 – сечение Г-Г фиг.3, стрелкой Н.В. на фиг.6 показано направление вращения бесканального дискообразного обода 18 диска ротора 14, кроме того, на фиг.6 и 7 стрелками от «0» нулевого положения показано направление колебаний бесканальных дискообразных ободов 10 статоров 6 и бесканального дискообразного обода 18 диска ротора 14. На фиг.6 позицией 19 обозначена эпюра скоростей вращательного движения (переносного движения) деэмульгируемой среды. На стенках бесканальных дискообразных ободов 10 статоров 6 эта скорость Wст=0, на стенках вращающегося бесканального дискообразного обода 18 диска ротора 14 эта скорость Wрот= ·d· 0, где =3,1415; d – диаметр ротора, на котором определяется скорость [м]; – частота вращения ротора [1/сек]. На фиг.7 изображены волны сжатия (поз.20) и разрежения (поз.21), генерируемые бесканальными дискообразными ободами 10 статоров 6. На фиг.8 изображен элемент деэмульгируемой эмульсии, где поз.22 – дисперсионная среда, поз.23 – частицы дисперсной фазы, поз.24 – вектор скорости звука в дисперсионной среде Сср, с которой в ней распространяется волна сжатия (поз.20), поз.27 – вектор скорости в дисперсной фазе Vф. На фиг.9 изображено движение деформированной под действием и от действия волны сжатия 20 частицы дисперсной фазы 23, поз.25 и 26 – векторы скоростей Vф движения различных по диаметру и массе частиц дисперсной фазы 23 относительно дисперсионной среды 22. На фиг.10 изображен элемент деэмульгируемой эмульсии, находящейся между двумя соседними (ближайшими) волнами сжатия 20, где – длина волны [м]; dк – диаметр капель дисперсной фазы 23, находящихся в дисперсионной среде 22. На фиг.11 изображен элемент деэмульгируемой эмульсии с двигающимися навстречу друг другу под действием прямой волны сжатия 20, исходящей от безканального дискообразного обода 18 диска ротора 14 и вторичной волны сжатия 28, отраженной от бесканального дискообразного обода 10 статора 6, частицами деформированных дисперсных фаз 23. На фиг.12 представлена деэмульгируемая эмульсия, в частности водонефтяная эмульсия, добываемая из недр. Поз.23 – частицы дисперсной фазы воды в дисперсионной нефтяной среде 22. На фиг.13 представлена та же эмульсия, но уже прошедшая акустическую обработку по предлагаемому изобретению с последующим отстоем водной фазы. Это уже фактически чистая нефть со следами водной фазы, которые определяются с помощью специального анализа, на фотографии частицы дисперсной водной фазы уже не наблюдаются. На фиг.14 представлены в графическом виде результаты отстоя воды из водонефтяной эмульсии, обработанной по прототипу, поз.29, и результаты отстоя воды из аналогичной водонефтяной эмульсии, обработанной по изобретению, поз.30. В таблице приведены значения акустической добротности некоторых конструкционных материалов (Ультразвук. /Под ред. Голяминой И.П. Маленькая энциклопедия. М.: Сов. Энциклопедия. 1979. 400 с.). Акустическая добротность – безразмерная величина, показывающая во сколько раз амплитуда колебаний при резонансе больше амплитуды колебаний при частотах, значительно отличающихся от резонансных, при одинаковой амплитуде вынуждающей силы.
Аппарат (см. фиг.1-4) содержит корпус 1 с входным 2 и выходным 3 патрубками. В корпусе 1 с помощью обечаек 4 и фланцев 5 с зазором к нему установлены статоры 6, на торцах которых размещены коаксиальные цилиндры 7 с проточными каналами 8, которые образуют концентрично установленные ряды плохообтекаемых лопаток 9. Периферийная часть статоров выполнена в виде бесканальных дискообразных ободов дисков 10. На валу аппарата 11 посредством втулки (ступицы) 12 и упругих лопаток 13 установлен диск ротора 14, на торцах которого размещены коаксиальные цилиндры 15 с проточными каналами 16, которые образуют ряды плохообтекаемых лопаток 17. Ряды плохообтекаемых лопаток 17 ротора 14 и 9 статоров 6 образуют решетки плохообтекаемых лопаток ротора и статоров. Периферийная часть диска ротора выполнена в виде бесканального дискообразного обода 18. На фиг.1 изображен аппарат, у которого бесканальные дискообразные ободы ротора и статоров выполнены одним диаметром Dcт=Dрот. На фиг.3 представлен аппарат, у которого бесканальные диски статоров имеют больший диаметр, чем безканальный диск ротора Dст>Dрот.
Аппарат работает следующим образом. Деэмульгируемая среда через входной патрубок 2 поступает в корпус аппарата 1. При вращении вала 11 от, например, электропривода (не показан), это вращение через втулку 12 и упругие лопатки 13 передается диску ротора 14. Плохообтекаемые лопатки 17 и упругие лопатки 13 ротора 14 создают в аппарате радиальный поток деэмульгируемой среды за счет центробежных сил. Необходимо отметить, что в деэмульгируемую среду для проведения процесса деэмульгирования и для его ускорения вводят деэмульгирующее вещество – деэмульгатор в относительно небольших количествах 0,005-0,015% и для того, чтобы деэмульгатор проник в весь объем деэмульгируемой среды, его необходимо сверхтщательно перемешать в среде. Этот процесс осуществляют решетки плохообтекаемых лопаток 17 ротора 14 и чередующиеся с ними решетки плохообтекаемых лопаток 9 статоров 6, образованных соответствующими коаксиальными цилиндрами 7 и 15. Деэмульгируемая среда протекает по проточным каналам 8 и 16 соответственно статоров 6 и ротора 14. Поскольку перемешивание деэмульгатора с деэмульгируемой средой осуществляется в прочных каналах 8 и 16, то необходимо определить характер течения среды в этих каналах.
Известно (Шлихтинг Г. Теория пограничного слоя. Перев. с немец., Глав. Ред. физ-мат лит. М.: «Наука», 1974, 711 с., стр.416), что характер течения определяется числом Рейнольдса Re, если это число больше критического значения, то течение турбулентное, если меньше, то ламинарное. Критическое число Рейнольдса Reкр=2300.

где Re – число Рейнольдса, безразмерная величина; – плотность деэмульгируемой среды [кг/м3]; l – характерный линейный размер [м]; u – скорость течения жидкости [м/сек]; µ – динамическая вязкость среды [кг/м·сек]. Поскольку плотность и динамическая вязкость нефти сильно зависят от ее месторождения, то с допущениями можно принять плотность и динамическую вязкость нефти равной плотности и динамической вязкости воды, т.е. =1000 кг/м, m=0,001 кг/м·сек. Скорость течения ЖОС в аппарате примем среднюю и равную 10 м/сек, а за характерный размер примем ширину проточных каналов 8 статоров 6 и 16 ротора 14 и определим ее равной 4-6 мм, как наиболее часто встречающиеся величины в таких аппаратах, таким образом, u=10 м/сек, l=4-6 мм (0,004-0,006 м). Подставляя указанные значения параметров в выражение (1) получим Re=40000-60000>Reкр=2300. Таким образом, мы имеем турбулентное течение деэмульгируемой среды в проточных каналах ротора и статоров. Турбулентное течение способствует интенсивному перемешиванию и равномерному распределению деэмульгатора в водонефтяной эмульсии. Кроме того, в этой части аппарата происходит пересечение потока деэмульгируемой среды, движущегося по проточным каналам 8 статоров 6 и по проточным каналам 16 ротора 14. Здесь возможны два варианта этого пересечения. Первый вариант – это когда имеется внешний источник движения (и это, как правило,), например, насос, установленный на входе в аппарат, тогда движение деэмульгируемой среды в аппарате можно представить как движение через проточные каналы 8, выполненные в коаксиальных цилиндрах 7 статоров 6. В этом случае движущиеся вместе с ротором 14 плохообтекаемые лопатки 17 перерезают струи деэмульгируемой жидкости. Второй вариант – это когда внешний источник движения, насос на входе в аппарат отсутствует. В этом случае плохообтекаемые лопатки 17 ротора 14, как было указано выше, сами создают радиальный поток деэмульгируемой среды, протекающей по проточным каналам 16 ротора 14, участвующий в сложном движении (переносном, относительном, абсолютном), как и все среды, движущиеся в рабочем колесе центробежного насоса. В этом случае уже решетки плохообтекаемых лопаток 9 статоров 6 будут оказывать перерезывающий эффект. Все это приводит к еще более тщательному перемешиванию деэмульгатора в деэмульгируемой среде. Это положительно сказывается в дальнейшем на процессе деэмульгирования, когда деэмульгатор начинает «работать», а работает он следующим образом. При разрушении эмульсии происходит разрыв окружающих дисперсные частицы фазы межфазовой пленки и коалисценция этих частиц. При добавлении в деэмульгируемую эмульсию деэмульгатора он проникает в межфазную пленку, разделяющую фазу от среды (воду от нефти), и разрушает ее или ослабляет защитные свойства эмульгирующих поверхностно-активных веществ (ПАВ) настолько, что капли фазы коалисцируют под действием происходящих их соударений. Для более эффективного соударения этих капель фазы используют метод акустической коагуляции (см. Ультразвук./Под ред. Голяминой И.П. «коагуляция»). Необходимо отметить, что активность ПАВ деэмульгаторов должна быть значительно выше ПАВ эмульгаторов. Отсюда достаточно наглядно видно, каким тщательным должно быть перемешивание и равномерное распределение деэмульгатора, вводимого в таких мизерных количествах в деэмульгируемую среду для того, чтобы провести глубокое обессоливане и обезвоживание нефти.
Теперь остановимся более подробно на процессах, происходящих в периферийной части аппарата. Выйдя из области, где установлены плохообтекаемые лопатки 9 статоров 6 и 17 ротора 14, деэмульгируемая среда попадает в область аппарата, где расположены бесканальные дискообразные ободы 18 диска ротора 14 и дисков 10 статоров 6, поскольку диск ротора является движущейся частью аппарата и, как показано в работах (патенты РФ 2145255, кл. B01F 7/00, бюл. 5, 20.02.2000; 2140813, кл. B01F 7/00, бюл. 31. 10.11.1999; 2142843, кл. B01F 7/28, бюл. 35 20.12.1999; 2145517, кл. B01F 7/00, бюл. 5. 20.02.2000; 2162363, кл. B01F 7/00, бюл. 3, 27.01.2001; 2288777, кл. B01F 7/00, бюл. 34, 10.12.2006), он совершает своей плоскостью в зависимости от режима различные (продольные, перпендикулярно плоскости диска листовые, и/или веерные, и/или зонтичные, и/или комбинированные веерно-зонтичные) колебания. Одна из форм таких колебаний, а именно зонтичная, представлена на фиг.5. Здесь светлые области – узлы колебаний, обозначенные литерой «У», амплитуда их колебаний равна нулю. Темные области – пучности колебаний, обозначенные литерой «П», амплитуды их колебаний – максимальные. Точно такие же колебания будут совершать диски статоров, т.к. эти колебания будут генерироваться колеблющимся диском ротора 14 через ЖОС. На фиг.5 изображен колеблющийся, но не вращающийся диск ротора 14. Это изображение получено на специальном лазерном голографическом интерферометрическом стенде (см. патент РФ 2288777, кл. B01F 7/00, бюл. 34, 10.12.2006). Из источника (Островский Ю.И. Голографические интерференционные методы измерения деформаций. М.: Наука, 1988, 248 с.) известно, что формы колебаний вращающихся и неподвижных дисков, возбуждаемых специальным генератором на стенде, одинаковы. Но поскольку мы имеем дело с вращающимся диском, то и колебания его и генерируемые им прямые акустические 20 и 21 волны сжатия – разрежения – сжатия в деэмульгируемой среде также будут вращаться. Эти акустические волны распространяясь в деэмульгируемой среде дойдут до бесканальных дискообразных ободов 10 статоров 6. Произойдет возбуждение этих ободов 10 и они в свою очередь также будут генерировать в деэмульгируемую среду вторичные (отраженные) акустические волны 28 сжатия – разрежения – сжатия. Эти вторичные (отраженные) волны будут двигаться навстречу прямым (первоначальным) волнам, которые генерируют бесканальный дискообразный обод 18 диска ротора 14. Колебания бесканальных дискообразных ободов 10 статоров 6 также будут вращаться вслед за вращающимся и колеблющимся бесканальным дискообразным ободом 18 ротора 14. В силу того, что обод 18 диска ротора 14 отстоит на некотором расстоянии от ободов 10 статоров 6, будет иметь место некоторое запаздывание, отставание этих колебаний. Хотя скорость звука в жидкостях значительно больше скорости звука в газах, тем не менее, поскольку мы рассматриваем многофазную дисперсную систему, а водонефтяная эмульсия является именно такой системой, то скорость звука в ней может иметь небольшое значение, порядка нескольких десятков метров в секунду, хотя скорость звука в воде приблизительно равна 1300 м/сек. Скорость звука в рассоле будет еще больше. Скорость распространения акустических волн в данной среде соответствует скорости звука в этой среде, другими словами, акустические волны в какой-то среде распространяются со скоростью звука в этой среде. Таким образом, мы имеем деэмульгируемую дисперсную структуру (среду), в которой находятся тщательно перемешанные с деэмульгатором частицы дисперсной фазы, движущиеся, как показано на фиг.6, где представлена эпюра скоростей движения ЖОС в периферийной части аппарата. Скорость движения ЖОС на стенках ободов 10 статоров 6 равна нулю, скорость движения ЖОС на стенках обода 18 ротора 14 равна линейной скорости вращения ротора. Кроме того, как показано на этой фигуре. На ЖОС оказывают воздействие колеблющиеся ободы 10 статоров 6 и колеблющийся обод 18 ротора 14. Как показано на фиг.9 и 10, движущиеся навстречу друг другу (рассмотрен простой случай) волны сжатия начнут перемещать и деформировать капли дисперсной фазы. Степень деформации этих капель будет зависеть от размера этих капель – dк (диаметр капли) и от межфазного поверхностного натяжения . Известна зависимость этих величин между собой (Брагинский Л.Н., Бегачев В.И., Барабаш В.М. Перемешивание в жидких средах: Физические основы и инженерные методы расчета. Л.: Химия, 1984, 336 основы и инженерные методы расчета. Л.: Химия, 1984, 336 с. стр.198-202):

где Рк – капиллярное давление в капле частицы дисперсной фазы [Н/м2]; – межфазное поверхностное натяжение [Н/м]; dк – диаметр частиц дисперсной фазы [м].
Чем выше давление в капле дисперсной фазы, тем меньше будет ее деформация, чем больше межфазное поверхностное натяжение , тем меньше будет деформация капли; чем больше диаметр капли дисперсной фазы dк, тем больше будет деформация капли. Характер деформаций этих капель будет различным и будет зависеть от перечисленных выше параметров и интенсивности акустического излучения J. Из работы (Ультразвук./Под ред. Голяминой И.П. Маленькая энциклопедия. М.: Сов. Энциклопедия. 1979, 400 с., ил., стр.161-162, «Коагуляция») известно, что заметная коагуляция начинается при J 0,01 Вт/см2 и с дальнейшим увеличением интенсивности J этот процесс интенсифицируется. Для практического применения необходима интенсивность J>0,1 Вт/см2. Степень коагуляции зависит и от времени озвучивания, времени экспозиции, которое в свою очередь является функцией интенсивности J. Частотная зависимость коагуляции точно не установлена, хотя известно, что оптимальное значение частоты озвучивания определяется дисперсным составом эмульсии, чем мельче частицы фазы, тем выше частота озвучивания. Это, по-видимому, связано с длиной акустических волн. Вероятно, необходимо для успешного процесса коагуляции, чтобы длина волны была бы больше диаметра капли фазы dк. С увеличением концентрации частиц дисперсной фазы эффективность коагуляции возрастает из-за увеличивающегося количества соударений частиц дисперсной фазы. Существует однако опасность, что при достижении порогового значения интенсивности J над процессом деэмульгирования начнет преобладать процесс эмульгирования, что в данном случае недопустимо. Поэтому подбор режимов работы аппарата с учетом изменения свойств (физических и химических параметров) водонефтяных эмульсий в зависимости от их месторождения, имеет очень большое значение для процесса деэмульгирования, т.е. для обезвоживания нефти.
Как показано на фиг.9 и 11, – упрощенной схеме движения капель дисперсной фазы (капель воды) и их же движение навстречу друг другу под действием фронтов первичных 20 и вторичных 28 волн сжатия, исходящих от дискообразного бесканального обода 18 диска ротора 14 и дискообразных бесканальных ободов 10 статоров 6 в нефтяной среде, эти капли будут деформироваться. Плотность воды, а тем более рассола, скорость распространения звука в них больше, тех же параметров нефти. При достижении фронтом скачка избыточного давления капли дисперсной фазы (мы примем такую упрощенную схему процесса, хотя конечно же давление в волне сжатия нарастает постепенно) эта область капли будет деформироваться быстрее (двигаться быстрее), чем окружающая каплю фазы дисперсионная среда, т.е. нефть. Однако этому процессу будут препятствовать два фактора, а именно, во-первых, наличие на поверхности капли фазы границы раздела фазы и среды, т.е. наличие межфазного поверхностного натяжения и чем оно больше, тем меньше будет эта деформация, во-вторых, именно от этой поверхности межфазного раздела (границы) эти акустические волны отразятся (см. Ультразвук./Под ред. Голяминой И.П. и т.д.) В идеальном случае и в случае, когда диаметр капель фазы очень мал (dк<0,1 мкм, dк<10-7 м), их можно рассматривать как твердые тела, т.е. их деформацией от действия фронта избыточного давления можно пренебречь и рассматривать движение таких капель дисперсной фазы как движение твердых сферических тел. Ясно, что в этом случае при их соударении друг с другом эти капли сольются в одну каплю большего диаметра, т.е. произойдет их коагуляция. При этом скорость их движения навстречу друг другу или разность в скоростях, при движении капель в одну сторону, т.е. когда относительная скорость их движения (относительно друг друга) не превышает некоторую критическую величину, при достижении которой из-за избыточной кинетической энергии произойдет дробление этих капель на более мелкие капли, т.е. произойдет диспергирование, а не коагуляция. Движение капель дисперсной фазы в дисперсионной среде представляет собой сложный гидродинамический процесс, в результате которого может наступить процесс их дробления (диспергирования). Если этого не происходит, то при соударении этих капель за счет химического (деэмульгатора) и динамического разрушения бронирующей и эмульгирующей пленки, расположенной на границе фаз, произойдет их слияние, т.е. произойдет коалисценция капель фазы, в результате чего их масса увеличится. Из статьи (О механизме воздействия акустических колебаний на жидкие среды. Фомин В.М. и др. Вестник КГТУ им.А.Н.Туполева, 3, Казань, 2002, стр.3-8) известно, что

т.е. капля дисперсной фазы диаметром dк при межфазном поверхностном натяжении и при акустическом воздействии интенсивностью J начнет деформироваться, т.е. возникнут предпосылки к диспергированию (дроблению) этих капель. Решая это уравнение относительно интенсивности акустического воздействия J на частицы дисперсной фазы при том, что от этого воздействия не произойдет деформации этих частиц, получим ограничение по интенсивности акустического излучения J, которое не приводит к диспергированию этих частиц, получим, что

Где J – интенсивность акустического воздействия [Вт/м2]; – межфазное поверхностное натяжение [Н/м]; – плотность дисперсионной среды [кг/м3]; dк – диаметр капли дисперсной фазы [м].
Вторым условием отсутствия деформации частиц дисперсной фазы будет условие

где – длина волны акустических колебаний [м], или

где Сср – скорость звука (скорость распространения акустических волн) в дисперсионной среде [м/сек]; f – частота акустических колебаний в дисперсионной среде [1/сек].
Выполнение этого условия наглядно видно из фиг.10. Если dк будет больше /2 и то может наступить случай, рассматриваемый в указанной выше статье, графически представленный на фиг.4 и 5 этой статьи, который приведет к дроблению капель дисперсной фазы, т.е. к диспергированию, а не к их коагуляции. Деформация капель дисперсной фазы, имеющих достаточно большой диаметр, как показано на фиг.9 и 11, не приводит к их диспергированию, т.к., во-первых, соблюдается условие dк
Для исключения механического влияния дискообразного бесканального обода 18 диска ротора 14 на деэмульгируемую среду, которое приводит к ее закрутке по направлению вращения ротора, бесканальные дискообразные ободы 10 статоров 6 выполнены большим диаметром, чем бесканальный дискообразный обод 18 ротора 14, как показано на фиг.3 Dст>Dрот. В этом случае деэмульгируемая среда подвергается в периферийной части аппарата, область Е, см. фиг.3, только акустическому воздействию со стороны колеблющихся и генерирующих в ЖОС акустических колебаний дискообразных бесканальных ободов 10 статоров 6, т.е. мы имеем чистую акустическую коагуляцию. Из графика, представленного на фиг.14, видно, насколько эффективно использование предлагаемого изобретения, поз.30 по сравнению с прототипом, поз.29.
Экономический эффект от использования предлагаемого изобретения достигается за счет более быстрого и более полного деэмульгирования дисперсной фазы. В конкретном случае это более быстрое и более полное обезвоживание водонефтяных эмульсий, что является сейчас очень актуальным, т.к. с каждым годом добываемая из недр нефть имеет в своем составе больше воды, большую обводненность.
Формула изобретения
1. Акустический способ обработки жидкотекучих сред в роторно-пульсационном акустическом аппарате, заключающийся в гидромеханическом и акустическом воздействии на обрабатываемую среду безканальным дискообразным ободом ротора, совершающего колебания, отличающийся тем, что обработку ведут, кроме того, акустическим воздействием на обрабатываемую среду безканальными дискообразными ободами статоров, совершающих колебания.
2. Роторно-пульсационный акустический аппарат для обработки жидкотекучих сред, содержащий корпус с установленным в нем на валу посредством втулки и упругих лопаток диском ротора, на торцах которого размещены коаксиальные цилиндры с проточными каналами, образующими концентричные ряды лопаток, периферийная часть которого выполнена в виде безканального дискообразного обода, и статоры, установленные с зазором к корпусу, на торцах которых, обращенных к диску ротора, между рядами его коаксиальных цилиндров размещены коаксиальные цилиндры статоров с проточными каналами, образующими концентричные ряды лопаток статоров, отличающийся тем, что периферийная часть статоров выполнена в виде безканальных дискообразных ободов, расположенных напротив безканального дискообразного обода ротора.
3. Аппарат по п.2, отличающийся тем, что безканальные дискообразные ободы статоров выполнены с большим диаметром, чем диаметр безканального дискообразного обода ротора.
РИСУНКИ
|
|