|
|
(21), (22) Заявка: 2006141961/13, 27.11.2006
(24) Дата начала отсчета срока действия патента:
27.11.2006
(43) Дата публикации заявки: 10.06.2008
(46) Опубликовано: 10.05.2009
(56) Список документов, цитированных в отчете о поиске:
SU 1726271 А1, 08.09.1989. RU 2187724 С2, 20.08.2002. SU 1380769 А1, 15.03.1988. SU 303989 А, 25.05.1971. RU 2138335 С1, 27.09.1999.
Адрес для переписки:
98600, Украина, АР Крым, г. Ялта, ул. Кирова, 31, НИВиВ “Магарач”, патентно-лицензионный отдел
|
(72) Автор(ы):
Кулев Сергей Васильевич (UA), Кречетов Игорь Васильевич (UA), Садлаев Олег Османович (UA)
(73) Патентообладатель(и):
Кулев Сергей Васильевич (UA), Кречетов Игорь Васильевич (UA), Садлаев Олег Османович (UA)
|
(54) УСТРОЙСТВО ДЛЯ ПРИГОТОВЛЕНИЯ БЕНТОНИТОВОЙ СУСПЕНЗИИ
(57) Реферат:
Изобретение относится к виноделию, а именно к аппаратам для приготовления бентонитовой суспензии, используемой для обработки сусла, виноматериалов и соков с целью их осветления и стабилизации. Устройство включает установленную на раме емкость с коническим днищем, сливным патрубком и мешалкой, цилиндрический статор с тангенциальным выходным и аксиальным входным патрубками и дисковый ротор с лопастями, установленный на приводном валу внутри статора. Статор закреплен на раме, его входной патрубок соединен со сливным патрубком емкости, а выходной патрубок выполнен тангенциальным и соединен с верхней частью емкости с образованием циркуляционного контура. Статор снабжен лопатками в виде концентричных колец с радиальными пазами, а в лопастях ротора выполнены соосно с приводным валом концентричные дугообразные пазы, в которых расположены с зазором лопатки статора. Изобретение позволяет упростить конструкцию устройства, снизить его металлоемкость и энергоемкость, сократить продолжительность приготовления суспензии и обеспечить быстрое осветление обрабатываемого продукта. 2 ил.
Изобретение относится к виноделию, а именно к аппаратам для приготовления суспензии бентонита, используемой для обработки сусла, виноматериалов и соков с целью их осветления и стабилизации.
Известен аппарат для приготовления бентонитовой суспензии, содержащий установленную на раме емкость с коническим днищем и сливным патрубком, соединенным с паропроводом (А.Яцына. Установка для оклейки вин и соков бентонитом. Журнал «Виноградарство и садоводство Крыма» 9, с.43-44 «Крымиздат, г.Симферополь, 1961 г.).
Однако приготовленная в известном аппарате суспензия неоднородна и содержит до 30% крупных частиц бентонита, которые после введения в обрабатываемый продукт сразу оседают на дно резервуара, не участвуя в обработке продукта. Приготовление суспензии длится более суток при большом потреблении тепловой энергии (пара).
По технической сущности наиболее близким к заявляемому изобретению является устройство для приготовления суспензий, содержащее установленную на раме емкость с коническим днищем и сливным патрубком, установленное в емкости на приводном валу приспособление для перемешивания в виде расположенных друг под другом шнекового нагнетателя и молотковой дробилки, цилиндрический статор, установленный над перемешивающим приспособлением и соединенный с ним выходными щелевыми отверстиями, трубчатый воздуховод, соединенный с аксиальным входным патрубком статора, и дисковый ротор с изогнутыми лопастями, установленный на приводном валу внутри статора (а.с. СССР 1756337, С12Н 1/04, B01F 7/02, БИ 31, 1992, с.91).
К недостаткам известного устройства относятся:
– недостаточно тонкое диспергирование твердой фазы суспензии;
– отсутствие эффекта стерилизации суспензии, низкая ее активность, быстрое расслоение при хранении с выделением водной фазы.
В основу изобретения поставлена задача усовершенствовать механизм дробления твердой фазы суспензии путем проведения процесса дробления в условиях кавитации, что позволит повысить степень диспергирования твердой фазы суспензии, ее активность и срок хранения без расслоения, а также обеспечить ее стерильность.
Для этого в устройстве для приготовления бентонитовой суспензии, используемой для оклейки виноградных сусел, вин и соков, содержащем емкость с коническим днищем, сливным патрубком и мешалкой, цилиндрический статор с аксиальным входным и тангенциальным выходным патрубками и установленный на приводном валу внутри статора дисковый ротор с лопастями, согласно изобретению в лопастях ротора соосно с приводным валом выполнены концентричные дугообразные пазы, статор снабжен лопатками, выполненными в виде концентричных колец с радиальными пазами и расположенными с зазором в указанных пазах лопастей ротора, при этом количество радиальных пазов в лопатках статора не равно количеству лопастей ротора, причем входной патрубок статора соединен со сливным патрубком емкости, а выходной – с ее верхней частью с образованием циркуляционного контура.
Благодаря тому что входной патрубок статора соединен со сливным патрубком емкости, а выходной – с ее верхней частью с образованием циркуляционного контура, на вход статора всегда попадает наиболее тяжелая, необработанная часть суспензии, которая по коническому днищу емкости сползает к сливному патрубку, что обеспечивает гарантированную обработку суспензии во всем объеме емкости.
Благодаря тому что статор снабжен лопатками в виде концентричных колец с радиальными пазами, а в лопастях ротора выполнены соосно с приводным валом концентричные дугообразные пазы, в которых расположены с зазором лопатки статора, в каналах между лопастями ротора создаются условия для кавитационных процессов, разрушающих бентонит и находящиеся в суспензии микроорганизмы. Процесс приготовления суспензии бентонита длится всего несколько минут. При этом суспензия не подвергается расслоению и остается стерильной и активной не менее одного года. Измельченные частицы бентонита имеют площадь, в 60 раз большую, чем в суспензиях, приготовленных на известных устройствах, что позволяет уменьшить дозы вводимого в продукт бентонита, повысить скорость взаимодействия бентонита с белковыми веществами продукта и оседания взвесей в виде крупных хлопьев, которые захватывают мелкие взвеси и быстро осветляют продукт.
Ввиду того что количество радиальных пазов в лопатках статора не равно количеству лопастей ротора, при любом взаимном угловом положении ротора и статора полностью открытыми или полностью закрытыми проточными каналами могут быть лишь примерно треть от их общего количества, благодаря чему кавитация и обработка суспензии осуществляется последовательно по длине окружности аппарата в режиме местной кавитации. Это предупреждает вскипание жидкости во всем объеме аппарата и срыв подачи суспензии с его входа на выход, что имеет место в известных аппаратах аналогичного назначения. Ограничение количества полностью открытых и полностью закрытых проточных каналов позволяет повысить кпд, производительность и напор аппарата. Последнее необходимо для нормального функционирования циркуляционного контура. Одновременно прорыв необработанной суспензии со входа аппарата на его выход через полностью открытые проточные каналы в предлагаемом устройстве в три раза меньше по объему, чем в известных устройствах аналогичного назначения.
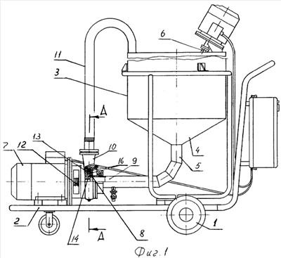
На фиг.1 представлен общий вид предлагаемого устройства; на фиг.2 – сечение А-А на фиг.1 (увеличено).
Устройство для приготовления бентонитовой суспензии состоит из тележки 1 (фиг.1) с рамой 2, на которой установлена емкость 3 с коническим днищем 4, сливным патрубком 5 и пропеллерной мешалкой 6. На раме 2 установлен также приводной электродвигатель 7, на котором соосно закреплен цилиндрический статор 8 с входным аксиальным патрубком 9, соединенным со сливным патрубком 5 емкости 3, и выходным тангенциальным патрубком 10, соединенным гибким шлангом 11 с верхней частью емкости 3 с образованием циркуляционного контура. На валу 12 приводного двигателя 7 внутри статора 8 установлен дисковый ротор 13 (фиг.1, 2) с лопастями 14, в которых соосно с приводным валом 12 выполнены концентричные дугообразные пазы 15. Статор 8 снабжен лопатками 16 в виде концентричных колец с радиальными пазами 17. Лопатки 16 расположены с зазором в пазах 15 лопастей 14. Количество пазов 17 не равно количеству лопастей 14.
Устройство работает следующим образом.
В емкость 3 заливают из водопровода воду до отметки на стенке емкости (на чертежах отметка не показана), включают приводы мешалки 6 и ротора 13 и медленно, в течение, примерно, одной минуты, высыпают в емкость 3 навеску порошкообразного бентонита. Перемешанные мешалкой 6 бентонит с водой через патрубки 5 и 9 поступают внутрь статора 8, где лопасти 14 подхватывают смесь и нагнетают от центральной части дискового ротора 13 к его периферии. При этом быстрое чередование совмещений и несовмещений каналов между лопастями 14 с радиальными пазами 17 лопаток 16 вызывает пульсацию давления и возникновение кавитационных пузырьков и микрокумулятивных потоков, которые дробят бентонит до мелкодисперсного состояния. Одновременно в смеси гибнет подавляющее большинство микроорганизмов. В результате вращения ротора 13 в статоре 8 возникает насосный эффект, достаточный для выталкивания суспензии через патрубок 10 и шланг 11 в емкость 3. Через 1-3 минуты циркуляции приводы мешалки и ротора отключают, подсоединяют свободный конец шланга 11 к резервуару для хранения суспензии (на чертежах резервуар не показан) и после включения двигателя 7 опорожняют емкость 3.
Формула изобретения
Устройство для приготовления бентонитовой суспензии, используемой для обработки сусла, виноматериалов и соков, содержащее емкость с коническим днищем, сливным патрубком и мешалкой, цилиндрический статор с аксиальным входным и тангенциальным выходным патрубками, и установленный на приводном валу внутри статора дисковый ротор с лопастями, отличающееся тем, что в лопастях ротора соосно с приводным валом выполнены концентричные дугообразные пазы, статор снабжен лопатками, выполненными в виде концентричных колец с радиальными пазами, и расположенными с зазором в указанных пазах лопастей ротора, при этом количество радиальных пазов в лопатках статора не равно количеству лопастей ротора, причем входной патрубок статора соединен со сливным патрубком емкости, а выходной – с ее верхней частью с образованием циркуляционного контура.
РИСУНКИ
|
|