|
|
(21), (22) Заявка: 2007144013/15, 29.11.2007
(24) Дата начала отсчета срока действия патента:
29.11.2007
(46) Опубликовано: 10.05.2009
(56) Список документов, цитированных в отчете о поиске:
НИКОЛАЕВСКИЙ К.М. Проектирование рекуперации летучих растворителей с адсорберами периодического действия. – М.: Оборонгиз, 1961, с.88, 96. СЕРПИОНОВА Е.Н. Промышленная адсорбция газов и паров. – М.: Высшая школа, 1969, с.27, 29, 51, 179. SU 787877 А, 15.12.1980. SU 516415 А, 14.09.1976. КАСАТКИН А.Т. Основные процессы и аппараты химической технологии. – М.: Химия, 1973, с.446-448.
Адрес для переписки:
123458, Москва, ул. Твардовского, 11, кв.92, О.С. Кочетову
|
(72) Автор(ы):
Кочетов Олег Савельевич (RU), Кочетова Мария Олеговна (RU)
(73) Патентообладатель(и):
Кочетов Олег Савельевич (RU)
|
(54) ВЕРТИКАЛЬНЫЙ АДСОРБЕР
(57) Реферат:
Изобретение может быть использовано в химической промышленности. Вертикальный адсорбер содержит цилиндрический корпус 12 с коническими крышкой 9 и днищем 21. В крышке 9 смонтированы загрузочный люк 4, штуцер 5 для подачи исходной смеси с распределительной сеткой 6, штуцер 7 для отвода паров при десорбции и штуцер 8 для предохранительного клапана. В месте стыка крышки 9 и корпуса 12 предусмотрено кольцо жесткости 11. Балки 17 с опорами 22 поддерживают колосниковую решетку 15, слой гравия 1 и слой адсорбента 13. На сетке 3 расположены грузы 10 для предотвращения уноса адсорбента при десорбции. Выгрузка отработанного адсорбента 13 осуществляется через разгрузочный люк 2. В днище 21 смонтированы барботер 20 тороидальной формы и смотровой люк 18 со штуцером 19 для отвода конденсата и подачи воды. Адсорбент 13 выполнен по форме в виде полых шаров, на сферической поверхности которых прорезана винтовая канавка; цилиндрических колец, на боковой поверхности которых прорезана винтовая канавка; или в виде тороидальных колец. Технический результат: повышение степени очистки газового потока от целевого компонента и пыли за счет увеличения площади контакта адсорбента с целевым компонентом. 2 з.п. ф-лы, 4 ил.
Изобретение относится к оборудованию для проведения адсорбционных процессов в системе газ (пар) – адсорбент.
Наиболее близким техническим решением к заявляемому объекту является адсорбер, содержащий корпус с крышкой и днищем и расположенный между ними слой адсорбента по а.с. СССР 516415, B01D 53/02 от 23.01.74.
Недостатком известного адсорбера является то, что он не обеспечивает высокой степени очистки газового потока от целевого компонента.
Технический результат – повышение степени очистки газового потока от целевого компонента за счет увеличения площади контакта адсорбента с целевым компонентом.
Это достигается тем, что в вертикальном адсорбере, содержащем цилиндрический корпус с крышкой и днищем, в крышке смонтированы загрузочный люк, штуцер для подачи исходной смеси с распределительной сеткой, штуцер для отвода паров при десорбции и штуцер для предохранительного клапана, причем в месте стыка крышки и корпуса предусмотрено кольцо жесткости, а в средней части корпуса на опорном кольце установлены балки с опорами, поддерживающие колосниковую решетку, на которой уложен слой гравия, причем слой адсорбента расположен между слоем гравия и сеткой, на которой расположены грузы для предотвращения уноса адсорбента при десорбции, а выгрузка отработанного адсорбента осуществляется через разгрузочный люк, установленный в корпусе, а в днище смонтирован барботер и смотровой люк со штуцером для отвода конденсата и подачи воды, барботер выполнен тороидальной формы и закрепленный на конической поверхности днища посредством распорок, причем коэффициент перфорации тороидальной поверхности барботера лежит в оптимальном интервале величин К=0,5 0,9, а штуцер для отвода очищенного газа расположен на конической поверхности днища, при этом процесс адсорбции и десорбции протекает при следующих оптимальных соотношениях составляющих аппарат элементов отношение высоты Н цилиндрической части корпуса к его диаметру D находится в оптимальном соотношении величин H/D=0,73 1,1; отношение высоты Н цилиндрической части корпуса к толщине S его стенки находится в оптимальном соотношении величин H/S=220 275; отношение высоты слоя адсорбента H1 к высоте Н цилиндрической части корпуса находится в оптимальном соотношении величин H1/H=0,22 0,55; отношение высоты слоя адсорбента H1 к высоте Н2 слоя гравия находится в оптимальном соотношении величин H1/H2=5,0 12,0, а адсорбент выполнен по форме в виде шариков, а также сплошных или полых цилиндров, зерен произвольной поверхности, получающейся в процессе его изготовления, а также в виде коротких отрезков тонкостенных трубок или колец равного размера по высоте и диаметру 8, 12, 25 мм.
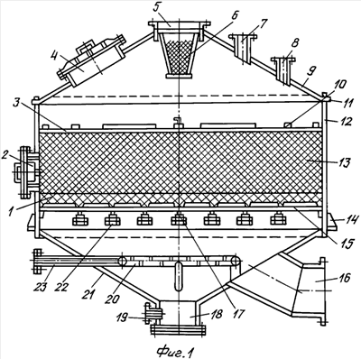
На фиг.1 изображен фронтальный разрез адсорбера, на фиг.2 – адсорбент, выполненный в форме полых шаров, на сферической поверхности которых прорезана винтовая канавка, на фиг.3 – адсорбент, выполненный в форме цилиндрических колец, на боковой поверхности которых прорезана винтовая канавка, на фиг.4 – разрез Б-Б фиг.3, где прорезана винтовая канавка, имеющая в сечении, перпендикулярном винтовой линии, профиль типа «седла Берля» или седла «Инталлокс».
Вертикальный адсорбер содержит цилиндрический корпус 12 с коническими крышкой 9 и днищем 21. В крышке 9 смонтированы загрузочный люк 4, штуцер 5 для подачи исходной смеси, сушильного и охлаждающего воздуха через распределительную сетку 6, штуцер 7 для отвода паров при десорбции и штуцер 8 для предохранительного клапана. В месте стыка крышки 9 и корпуса 12 предусмотрено кольцо жесткости 11. В средней части корпуса 12 на опорном кольце 14 установлены балки 17 с опорами 22, поддерживающие колосниковую решетку 15, на которой уложен слой гравия 1. Слой адсорбента 13 расположен между слоем гравия 1 и сеткой 3, на которой расположены грузы 10 для предотвращения уноса адсорбента при десорбции. Выгрузка отработанного адсорбента 13 осуществляется через разгрузочный люк 2, установленный в корпусе. В днище 21 смонтирован смотровой люк 18 со штуцером 19 для отвода конденсата и подачи воды, а также барботер 20 со штуцером 23 для подачи водяного пара через барботер. Барботер выполнен тороидальной формы и закреплен на конической поверхности днища 21 посредством распорок. Коэффициент перфорации тороидальной поверхности барботера лежит в оптимальном интервале величин К=0,5 0,9. Штуцер 16 для отвода очищенного газа расположен на конической поверхности днища 21.
Процесс адсорбции и десорбции протекает при следующих оптимальных соотношениях составляющих аппарат элементов: отношение высоты Н цилиндрической части корпуса к его диаметру D находится в оптимальном соотношении величин H/D=0,73 1,1; отношение высоты Н цилиндрической части корпуса к толщине S его стенки находится в оптимальном соотношении величин H/S=220 275; отношение высоты слоя адсорбента H1 к высоте Н цилиндрической части корпуса находится в оптимальном соотношении величин H1/H=0,22 0,55; отношение высоты слоя адсорбента H1 к высоте Н2 слоя гравия находится в оптимальном соотношении величин H1/H2=5,0 12,0.
Адсорбент 13 выполнен по форме в виде шариков, а также сплошных или полых цилиндров, зерен произвольной поверхности, получающейся в процессе его изготовления, а также в виде коротких отрезков тонкостенных трубок или колец равного размера по высоте и диаметру 8, 12, 25 мм.
Чтобы повысить степень очистки газового потока от целевого компонента за счет увеличения площади контакта адсорбента с целевым компонентом, адсорбент 13 по форме может быть выполнен в виде полых шаров, на сферической поверхности которых прорезана винтовая канавка (фиг.2), или в виде полых шаров, на сферической поверхности которых прорезана винтовая канавка, имеющая в сечении, перпендикулярном винтовой линии, профиль типа «седла Берля» или седла «Инталлокс» (фиг.4). Адсорбент 13 может быть выполнен в виде цилиндрических колец, на боковой поверхности которых прорезана винтовая канавка (фиг.3). Адсорбент 13 может быть выполнен в виде цилиндрических колец, на боковой поверхности которых прорезана винтовая канавка, имеющая в сечении, перпендикулярном винтовой линии, профиль типа «седла Берля» или седла «Инталлокс» (фиг.4). Адсорбент 13 может быть выполнен в виде тороидальных колец (не показано). Адсорбент 13 может быть выполнен в виде тороидальных колец, имеющих профиль типа «седла Берля» или седла «Инталлокс» (не показано).
Адсорбер работает следующим образом.
Газовый (паровой) поток на очистку подается в верхнюю часть аппарата через штуцер 5 для подачи исходной смеси через распределительную сетку 6. Очищенный газовый поток выводится из адсорбера через штуцер 16. Адсорбент загружается через загрузочный люк 4, а отработанный адсорбент удаляется через разгрузочный люк 2. Десорбция осуществляется путем подачи через штуцер 23 водяного пара к барботеру 20, имеющему перфорированную тороидальную поверхность для более равномерного протекания процесса десорбции. Штуцер 7 предусмотрен для отвода паров при десорбции, а в штуцер 8 устанавливается предохранительный клапан для безаварийного протекания процесса.
Предлагаемое устройство позволяет существенно повысить степень очистки газового потока от целевого компонента и может применяться также в рекуперационных установках производительностью до 30000 м3/час.
Формула изобретения
1. Вертикальный адсорбер, содержащий цилиндрический корпус с коническими крышкой и днищем, в крышке смонтированы загрузочный люк, штуцер для подачи исходной смеси с распределительной сеткой, штуцер для отвода паров при десорбции и штуцер для предохранительного клапана, причем в месте стыка крышки и корпуса предусмотрено кольцо жесткости, а в средней части корпуса на опорном кольце установлены балки с опорами, поддерживающие колосниковую решетку, на которой уложен слой гравия, причем слой адсорбента расположен между слоем гравия и сеткой, на которой расположены грузы для предотвращения уноса адсорбента при десорбции, выгрузка отработанного адсорбента осуществляется через разгрузочный люк, установленный в корпусе, а в днище смонтирован барботер тороидальной формы, закрепленный на конической поверхности днища, и смотровой люк со штуцером для отвода конденсата и подачи воды, отличающийся тем, что коэффициент перфорации тороидальной поверхности барботера лежит в оптимальном интервале величин К=0,5 0,9, штуцер для отвода очищенного газа расположен на конической поверхности днища, при этом процесс адсорбции и десорбции протекает при следующих оптимальных соотношениях составляющих аппарат элементов: отношение высоты Н цилиндрической части корпуса к его диаметру D находится в оптимальном соотношении величин H/D=0,73 1,1; отношение высоты Н цилиндрической части корпуса к толщине S его стенки находится в оптимальном соотношении величин H/S=220 275; отношение высоты слоя адсорбента H1 к высоте Н цилиндрической части корпуса находится в оптимальном соотношении величин: H1/H=0,22 0,55; отношение высоты слоя адсорбента H1 к высоте Н2 слоя гравия находится в оптимальном соотношении величин: H1/H2=5,0 12,0, причем адсорбент выполнен по форме в виде полых шаров, на сферической поверхности которых прорезана винтовая канавка, или цилиндрических колец, на боковой поверхности которых прорезана винтовая канавка или в виде тороидальных колец.
2. Вертикальный адсорбер по п.1, отличающийся тем, что винтовая канавка имеет в сечении, перпендикулярном винтовой линии, профиль типа «седла Берля» или седла «Инталлокс».
3. Вертикальный адсорбер по п.1, отличающийся тем, что тороидальные кольца имеют профиль типа «седла Берля» или седла «Инталлокс».
РИСУНКИ
|
|