|
|
(21), (22) Заявка: 2007144012/15, 29.11.2007
(24) Дата начала отсчета срока действия патента:
29.11.2007
(46) Опубликовано: 10.05.2009
(56) Список документов, цитированных в отчете о поиске:
НИКОЛАЕВСКИЙ К.М. Проектирование рекуперации летучих растворителей с адсорберами периодического действия. – М.: Оборонгиз, 1961, с.88, 96. СЕРПИОНОВА Е.Н. Промышленная адсорбция газов и паров. – М.: Высшая школа, 1969, с.с.27, 29, 51, 179. SU 787877 А, 15.12.1980. SU 516415 А, 14.09.1976. КЕЛЬЦЕВ Н.В. Основы адсорбционной техники. – М.: Химия,1984, с.222-223. КАСАТКИН А.Т. Основные процессы и аппараты химической технологии. – М.: Химия, 1973, с.446-448.
Адрес для переписки:
123458, Москва, ул. Твардовского, 11, кв.92, О.С. Кочетову
|
(72) Автор(ы):
Кочетов Олег Савельевич (RU), Кочетова Мария Олеговна (RU)
(73) Патентообладатель(и):
Кочетов Олег Савельевич (RU)
|
(54) КОЛЬЦЕВОЙ АДСОРБЕР
(57) Реферат:
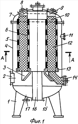
Изобретение может быть использовано в химической промышленности. Кольцевой адсорбер содержит цилиндрический корпус 4 с эллиптическими крышкой 7 и днищем 15. В крышке 7 смонтированы загрузочный 9 и смотровой 8 люки. Загрузочный люк 9 соединен с бункером-компенсатором 10, а штуцер 2 расположен в нижней части корпуса 4, в которой закреплены опоры 3 для базы 13 под внешний 5 и внутренний 6 перфорированные цилиндры. Выгрузка отработанного адсорбента 12 осуществляется через разгрузочный люк 14. Штуцер 17 для отвода паров и конденсата при десорбции и для подачи воды расположен в днище 15. Барботер выполнен тороидальной формы по всей высоте перфорированных цилиндров 5 и 6. Штуцер 11 для предохранительного клапана установлен в верхней части корпуса 4. Адсорбент 12 выполнен по форме в виде полых шаров, на сферической поверхности которых прорезана винтовая канавка; цилиндрических колец, на боковой поверхности которых прорезана винтовая канавка; или в виде тороидальных колец. Технический результат: повышение степени очистки газового потока от целевого компонента за счет увеличения площади контакта адсорбента с целевым компонентом. 3 з.п. ф-лы, 5 ил.
Изобретение относится к оборудованию для проведения адсорбционных процессов в системе газ (пар) – адсорбент.
Наиболее близким техническим решением к заявляемому объекту является адсорбер, содержащий корпус с крышкой и днищем и расположенный между ними слой адсорбента по а.с. СССР 516415, B01D 53/02 от 23.01.74.
Недостатком известного адсорбера является то, что он не обеспечивает высокой степени очистки газового потока от целевого компонента и пыли.
Технический результат – повышение степени очистки газового потока от целевого компонента за счет увеличения площади контакта адсорбента с целевым компонентом.
Это достигается тем, что в кольцевом адсорбере, содержащем цилиндрический корпус с крышкой и днищем, выполненными эллиптической формы, причем в крышке смонтированы загрузочный и смотровой люки, причем загрузочный люк соединен с бункером-компенсатором, расположенным в крышке, а штуцер для подачи исходной смеси, сушильного и охлаждающего воздуха расположен в нижней части корпуса, в которой закреплены опоры для базы под внешний и внутренний перфорированные цилиндры, причем выгрузка отработанного адсорбента осуществляется через разгрузочный люк, установленный в нижней части корпуса, который закреплен в, по меньшей мере, трех установочных лапах, а штуцер для отвода паров и конденсата при десорбции и для подачи воды расположен в днище, в котором закреплен штуцер для отвода очищенного газа и отработанного воздуха и для подачи водяного пара, причем он закреплен через коллектор, имеющий два канала, причем в одном из которых расположена заслонка для процесса десорбции, с барботером, барботер выполнен тороидальной формы по всей высоте перфорированных цилиндров, а штуцер для предохранительного клапана установлен в верхней части корпуса, а процесс адсорбции и десорбции протекает при следующих оптимальных соотношениях составляющих аппарат элементов: коэффициент перфорации тороидальной поверхности барботера лежит в оптимальном интервале величин К=0,5 0,9; отношение высоты Н цилиндрической части корпуса к его диаметру D находится в оптимальном соотношении величин H/D=2,0 2,5; отношение высоты Н цилиндрической части корпуса к толщине S его стенки находится в оптимальном соотношении величин H/S=580 875, при этом адсорбент выполнен по форме в виде шариков, а также сплошных или полых цилиндров, зерен произвольной поверхности, получающейся в процессе его изготовления, а также в виде коротких отрезков тонкостенных трубок или колец равного размера по высоте и диаметру: 8, 12, 25 мм.
На фиг.1 изображен адсорбер, фронтальный разрез, на фиг.2 – разрез А-А фиг.1, на фиг.3 – адсорбент, выполненный в форме полых шаров, на сферической поверхности которых прорезана винтовая канавка, на фиг.4 – адсорбент, выполненный в форме цилиндрических колец, на боковой поверхности которых прорезана винтовая канавка, на фиг.5 – разрез Б-Б фиг.4, где прорезана винтовая канавка, имеющая в сечении, перпендикулярном винтовой линии, профиль типа «седла Берля» или седла «Инталлокс».
Кольцевой адсорбер содержит цилиндрический корпус 4 с крышкой 7 и днищем 15 эллиптической формы. В крышке 7 смонтированы загрузочный люк 9, смотровой люк 8. Загрузочный люк 9 соединен с бункером-компенсатором 10, расположенным в крышке 7. Штуцер 2 для подачи исходной смеси, сушильного и охлаждающего воздуха расположен в нижней части корпуса 4, в которой закреплены опоры 3 для базы 13 под внешний 5 и внутренний 6 перфорированные цилиндры. Выгрузка отработанного адсорбента 12 осуществляется через разгрузочный люк 14, установленный в нижней части корпуса 4, который закреплен в, по меньшей мере, трех установочных лапах 1. Штуцер 17 для отвода паров и конденсата при десорбции и для подачи воды расположен в днище 15, в котором закреплен штуцер 16 для отвода очищенного газа и отработанного воздуха и для подачи водяного пара. Штуцер 16 закреплен через коллектор, имеющий два канала, причем в одном из которых расположена заслонка для процесса десорбции, с барботером (не показано), выполненным тороидальной формы по всей высоте перфорированных цилиндров 5 и 6. Штуцер 11 для предохранительного клапана установлен в верхней части корпуса 4.
Процесс адсорбции и десорбции протекает при следующих оптимальных соотношениях составляющих аппарат элементов: коэффициент перфорации тороидальной поверхности барботера лежит в оптимальном интервале величин К=0,5 0,9; отношение высоты Н цилиндрической части корпуса к его диаметру D находится в оптимальном соотношении величин H/D=2,0 2,5; отношение высоты Н цилиндрической части корпуса к толщине S его стенки находится в оптимальном соотношении величин H/S=580 875.
Адсорбент 12 выполнен по форме в виде шариков, а также сплошных или полых цилиндров, зерен произвольной поверхности, получающейся в процессе его изготовления, а также в виде коротких отрезков тонкостенных трубок или колец равного размера по высоте и диаметру: 8, 12, 25 мм.
Чтобы повысить степень очистки газового потока от целевого компонента за счет увеличения площади контакта адсорбента с целевым компонентом, адсорбент по форме может быть выполнен в виде полых шаров 5, на сферической поверхности которых прорезана винтовая канавка (фиг.3), или в виде полых шаров, на сферической поверхности которых прорезана винтовая канавка, имеющая в сечении, перпендикулярном винтовой линии, профиль типа «седла Берля» или седла «Инталлокс» (фиг.5). Адсорбент 12 может быть выполнен в виде цилиндрических колец, на боковой поверхности которых прорезана винтовая канавка (фиг.4). Адсорбент 12 может быть выполнен в виде цилиндрических колец, на боковой поверхности которых прорезана винтовая канавка, имеющая в сечении, перпендикулярном винтовой линии, профиль типа «седла Берля» или седла «Инталлокс» (фиг.5). Адсорбент 12 может быть выполнен в виде тороидальных колец (не показано). Адсорбент 12 может быть выполнен в виде тороидальных колец, имеющих профиль типа «седла Берля» или седла «Инталлокс» (не показано).
Кольцевой адсорбер работает следующим образом.
Газовый (паровой) поток на очистку подается в нижнюю часть аппарата через штуцер 2 для подачи исходной смеси через распределительную сетку (не показано). Очищенный газовый поток выводится из адсорбера через штуцер 16. Адсорбент 12 загружается через загрузочный люк 9, а отработанный адсорбент 12 удаляется через разгрузочный люк 14. Десорбция осуществляется путем подачи через штуцер 16 водяного пара к барботеру, имеющему перфорированную тороидальную поверхность для более равномерного протекания процесса десорбции по всей высоте перфорированных цилиндров 5 и 6. Штуцер 17 предусмотрен для отвода паров при десорбции, а в штуцер 11 устанавливается предохранительный клапан для безаварийного протекания процесса. В качестве адсорбента могут применяться активные угли марок БАУ, АР-А, СКТ-3 и др.
Предлагаемое устройство позволяет существенно повысить степень очистки газового потока от целевого компонента и может применяться также в рекуперационных установках производительностью более 30000 м3/час.
Формула изобретения
1. Кольцевой адсорбер, содержащий цилиндрический корпус, который закреплен в, по меньшей мере, трех установочных лапах, с крышкой и днищем, выполненными эллиптической формы, причем в крышке смонтированы загрузочный и смотровой люки, причем загрузочный люк соединен с бункером-компенсатором, расположенным в крышке, а штуцер для подачи исходной смеси, сушильного и охлаждающего воздуха расположен в нижней части корпуса, в которой закреплены опоры для базы под внешний и внутренний перфорированные цилиндры и установлен разгрузочный люк для выгрузки отработанного адсорбента, а штуцер для отвода паров и конденсата при десорбции и для подачи воды расположен в днище, в котором закреплен штуцер для отвода очищенного газа и отработанного воздуха и для подачи водяного пара, а штуцер для предохранительного клапана установлен в верхней части корпуса, отличающийся тем, что барботер выполнен тороидальной формы по всей высоте перфорированных цилиндров, а адсорбент выполнен по форме в виде полых шаров, на сферической поверхности которых прорезана винтовая канавка, или цилиндрических колец, на боковой поверхности которых прорезана винтовая канавка или в виде тороидальных колец.
2. Кольцевой адсорбер по п.1, отличающийся тем, что коэффициент перфорации тороидальной поверхности барботера лежит в оптимальном интервале величин: К=0,5 0,9, при этом процесс адсорбции и десорбции протекает при следующих оптимальных соотношениях составляющих аппарат элементов: отношение высоты Н цилиндрической части корпуса к его диаметру D находится в оптимальном соотношении величин: H/D=2,0 2,5; отношение высоты Н цилиндрической части корпуса к толщине S его стенки находится в оптимальном соотношении величин: H/S=580 875.
3. Кольцевой адсорбер по п.1, отличающийся тем, что винтовая канавка имеет в сечении, перпендикулярном винтовой линии, профиль типа «седла Берля» или седла «Инталлокс».
4. Кольцевой адсорбер по п.1, отличающийся тем, что тороидальные кольца имеют профиль типа «седла Берля» или седла «Инталлокс».
РИСУНКИ
|
|