|
|
(21), (22) Заявка: 2006141522/14, 03.05.2005
(24) Дата начала отсчета срока действия патента:
03.05.2005
(30) Конвенционный приоритет:
03.05.2004 KR 10-2004-0031159
(43) Дата публикации заявки: 20.06.2008
(46) Опубликовано: 10.05.2009
(56) Список документов, цитированных в отчете о поиске:
US 4781698 А, 01.11.1988. RU 2191036 С2, 20.10.2002. US 4807660 А, 28.02.1989. DE 4340191 С1, 23.02.1995. WO 2003/045475 А1, 05.06.2003.
(85) Дата перевода заявки PCT на национальную фазу:
04.12.2006
(86) Заявка PCT:
KR 2005/001283 20050503
(87) Публикация PCT:
WO 2005/105183 20051110
Адрес для переписки:
107061, Москва, Преображенская площадь, 6, ООО Фирма патентных поверенных “ИННОТЭК”, пат.пов. Т.А.Вахниной, рег. 122
|
(72) Автор(ы):
КИМ Йонг-Ньюн (KR)
(73) Патентообладатель(и):
КИМ,Йонг-Ньюн (KR)
|
(54) УСТРОЙСТВО ДЛЯ РЕГУЛИРОВАНИЯ РАСХОДА
(57) Реферат:
Изобретение относится к медицинской технике, а именно к устройствам для введения жидкого лекарственного средства, например раствора Рингера, а более конкретно, к устройству для регулирования количества вводимого жидкого лекарственного средства. Устройство для регулирования расхода жидкого лекарственного средства на пути движения жидкого лекарственного средства содержит приточный канал для обеспечения возможности введения через него жидкого лекарственного средства, выпускной канал для обеспечения возможности выпуска через него жидкого лекарственного средства, полость для хранения жидкого лекарственного средства, введенного в нее через приточный канал, блок прохождения жидкого лекарственного средства и клапан регулировки величины выпуска. Блок прохождения жидкого лекарственного средства размещен между полостью и выпускным каналом и имеет, по меньшей мере, два канала течения жидкого лекарственного средства для обеспечения возможности течения жидкого лекарственного средства через них и множество выпускных отверстий, образованных на стороне выпускного канала для соответствия соответствующим каналам течения жидкого лекарственного средства. Клапан регулировки величины выпуска размещен между блоком прохождения жидкого лекарственного средства и выпускным каналом. Клапан регулировки величины выпуска является подвижным для изменения числа каналов течения жидкого лекарственного средства блока прохождения жидкого лекарственного средства, которые сообщаются с выпускным каналом. Изобретение обеспечивает возможность точной регулировки расхода жидкого лекарственного средства. 2 н. и 21 з.п. ф-лы, 9 ил.
ОБЛАСТЬ ТЕХНИКИ, К КОТОРОЙ ОТНОСИТСЯ НАСТОЯЩЕЕ ИЗОБРЕТЕНИЕ
Настоящее изобретение относится к устройству для введения жидкого лекарственного средства, например раствора Рингера, а более конкретно, к устройству для регулирования количества вводимого жидкого лекарственного средства.
ПРЕДШЕСТВУЮЩИЙ УРОВЕНЬ ТЕХНИКИ
В общем, для введения необходимых питательных веществ, например глюкозы, пациенту, страдающему подавленными пищеварительными функциями, в его кровеносный сосуд вводят жидкое лекарственное средство, хранимое в бутылке Рингера или подобном сосуде. При необходимости введения жидкого лекарственного средства, например лекарственного средства специального введения, включая противоопухолевое лекарственное средство или антибиотик, пациенту или подобному субъекту требуемое его количество должно вводиться сообразно и непрерывно в зависимости от состояния пациента. Если количество лекарственного средства специального введения, необходимое для пациента, вводится не сообразно и не непрерывно, то имеется риск шока.
Устройство для введения раствора Рингера содержит бутылку (или пакет) с жидким лекарственным средством, хранимым в ней; гибкий трубопровод, соединенный с нижним концом бутылки; элемент для контроля расхода жидкого лекарственного средства, который смонтирован на гибком трубопроводе для обеспечения возможности наблюдения расхода жидкого лекарственного средства невооруженным глазом; иглу шприца, установленную на переднем конце гибкого трубопровода для прокалывания кровеносного сосуда пациента; и регулятор, смонтированный между элементом контроля расхода и иглой шприца для регулирования скорости потока жидкого лекарственного средства, проходящего к шприцу, посредством регулировки поперечного сечения гибкого трубопровода. В устройстве для введения жидкого лекарственного средства, сконструированном так, как это описано выше, сестра вводит иглу шприца в кровеносный сосуд пациента и регулирует количество жидкого лекарственного средства, поток которого проходит по гибкому трубопроводу так, чтобы пациенту могли подаваться необходимые питательные вещества посредством регулятора.
В стандартном регуляторе регулятор поворачивают вверх или вниз для изменения поперечного сечения гибкого трубопровода, регулируя в соответствии с этим количество жидкого лекарственного средства, поток которого проходит в иглу шприца. Однако стандартный регулятор имеет проблему, которая заключается в том, что трудно точно регулировать расход жидкого лекарственного средства.
ОПИСАНИЕ
ТЕХНИЧЕСКАЯ ПРОБЛЕМА
Объектом настоящего изобретения является обеспечение устройства для точной регулировки расхода жидкого лекарственного средства, например раствора Рингера.
ТЕХНИЧЕСКОЕ РЕШЕНИЕ
В соответствии с аспектом настоящего изобретения обеспечивается устройство для регулирования расхода жидкого лекарственного средства на пути движения жидкого лекарственного средства, содержащее приточный канал для обеспечения возможности введения через него жидкого лекарственного средства; выпускной канал для обеспечения возможности выпуска через него жидкого лекарственного средства; полость для хранения жидкого лекарственного средства, введенного в нее через приточный канал; блок прохождения жидкого лекарственного средства, который размещен между полостью и выпускным каналом и имеет, по меньшей мере, два канала течения жидкого лекарственного средства для обеспечения возможности течения жидкого лекарственного средства через них и множество выпускных отверстий, образованных на стороне выпускного канала для соответствия соответствующим каналам течения жидкого лекарственного средства; и клапан регулировки величины выпуска, который размещен между блоком прохождения жидкого лекарственного средства и выпускным каналом и является подвижным для изменения числа каналов течения жидкого лекарственного средства блока прохождения жидкого лекарственного средства, которые сообщаются с выпускным каналом.
Каналы течения жидкого лекарственного средства предпочтительно являются капиллярами, а блок прохождения жидкого лекарственного средства содержит капиллярный блок, содержащий капилляры. Однако настоящее изобретение не ограничено этим, но может содержать любой компонент с каналом, через который может проходить текучая среда, например жидкое лекарственное средство. Например, трубка, отверстие в силиконе и/или отверстие в полимерном материале могут быть использованы в качестве канала течения жидкого лекарственного средства. Отверстие в силиконе или отверстие в полимерном материале может быть образовано перфорированием силиконового или полимерного материала в продольном направлении при использовании лазера или другого перфорирующего средства. Предпочтительно, чтобы вышеприведенные примеры канала течения жидкого лекарственного средства обеспечивали возможность течения текучей среде, например жидкому лекарственному средству, через него с заданной скоростью.
Клапан регулировки величины выпуска может поддаваться повороту вокруг оси вращения и может изменять число каналов течения жидкого лекарственного средства, например число капилляров, сообщающихся с выпускным каналом, посредством его поворотного движения.
Клапан регулировки величины выпуска может дополнительно содержать роторный элемент, поддающийся повороту вокруг оси вращения.
Роторный элемент может иметь, по меньшей мере, часть, принимающую форму тела вращения вокруг оси вращения, а внешняя поверхность части роторного элемента может быть образована с направляющей прорезью, побуждаемой к сообщению с выпускным каналом посредством поворота роторного элемента, и множеством прорезей, ответвленных из направляющей прорези и выполненных с возможностью сообщения с выпускными отверстиями блока прохождения жидкого лекарственного средства, например капиллярного блока.
Выпускные отверстия блока прохождения жидкого лекарственного средства, например капиллярного блока, могут быть расположены эквидистантно в окружном направлении, и ответвленные прорези роторного элемента могут быть расположены эквидистантно в окружном направлении.
Устройство для регулирования расхода может дополнительно содержать впускное отверстие для обеспечения возможности течения через него жидкого лекарственного средства в полость и клапан регулировки величины притока для регулировки количества жидкого лекарственного средства, вводимого через впускное отверстие в соответствии с количеством жидкого лекарственного средства, хранимого в полости.
Клапан регулировки величины притока может содержать, по меньшей мере, один поплавок, подвижный в вертикальном направлении в соответствии с уровнем жидкого лекарственного средства, хранимого в полости, и регулировочный элемент, который соединен с поплавком для вертикального движения и ограничивает количество жидкого лекарственного средства, вводимого через впускное отверстие, когда регулировочный элемент опирается на впускное отверстие.
Устройство для регулирования расхода может дополнительно содержать соединительный канал, который имеет верхний конец, предусмотренный с впускным отверстием, и нижний конец, предусмотренный с выпускным отверстием, сообщающимся с полостью, и имеет больший диаметр, чем впускное отверстие и выпускное отверстие. Регулировочный элемент может быть размещен в соединительном канале. Если полость разделена, по меньшей мере, на две полости, то могут быть предусмотрены, по меньшей мере, два регулировочных элемента и соединительных канала.
Нижняя поверхность регулировочного элемента или нижний конец соединительного канала могут быть предусмотрены с нижним выступом для ограничения зазора между нижней поверхностью регулировочного элемента и нижним концом соединительного канала для предотвращения закрывания выпускного отверстия соединительного канала.
Верхняя поверхность регулировочного элемента или верхний конец соединительного канала могут быть факультативно предусмотрены с верхним выступом для ограничения зазора между верхней поверхностью регулировочного элемента и верхним концом соединительного канала для предотвращения закрывания впускного отверстия соединительного канала.
Верхний и нижний выступы могут быть образованы так, чтобы вводилось меньшее количество жидкого лекарственного средства, когда регулировочный элемент опирается на верхний конец соединительного канала.
Нижний конец соединительного канала, предусмотренный с выпускным отверстием, может сужаться по направлению вниз.
Верхняя поверхность регулировочного элемента может быть выполнена с возможностью сужения в направлении вверх.
Устройство для регулирования расхода может дополнительно содержать дополнительную полость, имеющую верхнюю часть, соединенную с приточным каналом, и нижнюю часть, соединенную с соединительным каналом.
Дополнительная полость может быть сконструирована для обеспечения возможности контроля того, что жидкое лекарственное средство капает из бутылки Рингера с хранимым в ней жидким лекарственным средством.
В соответствии с другим аспектом настоящего изобретения обеспечивается устройство для регулирования расхода жидкого лекарственного средства, содержащее блок прохождения жидкого лекарственного средства, имеющий множество каналов течения жидкого лекарственного средства на пути течения жидкого лекарственного средства, и клапан регулировки величины выпуска, избирательно сообщающийся с множеством выпускных отверстий блока прохождения жидкого лекарственного средства для изменения числа каналов течения жидкого лекарственного средства для обеспечения возможности вытекания жидкого лекарственного средства через них из блока прохождения жидкого лекарственного средства.
Каналы течения жидкого лекарственного средства предпочтительно являются капиллярами, а блок прохождения жидкого лекарственного средства содержит капиллярный блок, содержащий капилляры. Однако настоящее изобретение этим не ограничено, но может содержать любой компонент с каналом, через который может течь текучая среда, например жидкое лекарственное средство. Например, в качестве канала течения жидкого лекарственного средства может быть использована трубка, отверстие в силиконе и/или отверстие в полимерном материале. Отверстие в силиконе или отверстие в полимерном материале могут быть образованы продольным перфорированием силиконового или полимерного материала при использовании лазера или другого перфорирующего средства. Предпочтительно, чтобы вышеприведенные примеры канала течения жидкого лекарственного средства обеспечивали возможность течения через него текучей среды, например жидкого лекарственного средства, с заданной скоростью.
Клапан регулировки величины выпуска может поддаваться повороту вокруг оси вращения и может изменять число каналов течения жидкого лекарственного средства, например число капилляров, для обеспечения возможности течения через них жидкого лекарственного средства посредством его поворотного движения.
Клапан регулировки величины выпуска может дополнительно содержать роторный элемент, поддающийся повороту вокруг оси вращения.
Роторный элемент может иметь, по меньшей мере, часть, принимающую форму тела вращения вокруг оси вращения, а внешняя поверхность части роторного элемента может быть образована с направляющей прорезью для обеспечения возможности вытекания жидкого лекарственного средства из него благодаря повороту роторного элемента и множеству прорезей, ответвленных из направляющей прорези и выполненных с возможностью сообщения с выпускными отверстиями блока прохождения жидкого лекарственного средства, например капиллярного блока.
Выпускные отверстия блока прохождения жидкого лекарственного средства, например капиллярного блока, могут быть расположены эквидистантно в окружном направлении, и ответвленные прорези роторного элемента могут быть расположены эквидистантно в окружном направлении.
БЛАГОПРИЯТНЫЕ ЭФФЕКТЫ
В соответствии с конструкцией настоящего изобретения может быть полностью решена задача настоящего изобретения. В частности, среди множества параллельно расположенных каналов течения жидкого лекарственного средства, например капилляров, через которые течет лекарственное средство, число каналов течения жидкого лекарственного средства, например число капилляров, сообщающихся с выпускным каналом, регулируется, так что можно точно регулировать количество выпускаемого жидкого лекарственного средства. Кроме того, поскольку постоянное количество жидкого лекарственного средства хранится в полости хранения, может адекватно поддерживаться давление, так что пациенту может подаваться постоянное количество жидкого лекарственного средства.
Кроме того, в дополнительной полости можно контролировать капание жидкого лекарственного средства из бутылки Рингера с жидким лекарственным средством в ней. Таким образом, остаточное количество жидкого лекарственного средства может просто контролироваться, и медицинский персонал может просто определять, когда необходимо менять бутылку Рингера.
КРАТКОЕ ОПИСАНИЕ ЧЕРТЕЖЕЙ
Вышеуказанные и другие объекты и элементы настоящего изобретения станут очевидными квалифицированным специалистам в этой области техники из следующего описания предпочтительных вариантов осуществления, сделанного со ссылкой на сопроводительные чертежи, где
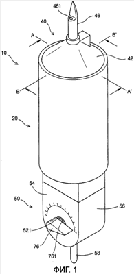
Фиг.1 – изометрическое изображение устройства, соответствующего варианту осуществления настоящего изобретения, для регулирования расхода текучего лекарственного средства;
Фиг.2 – разрез устройства, иллюстрируемого на фиг.1, для регулирования расхода, сделанный по линии А-А’ для показа внутренней области устройства для регулирования расхода;
Фиг.3 – разрез устройства, иллюстрируемого на фиг.1, для регулирования расхода, сделанный по линии В-В’ для показа внутренней области устройства для регулирования расхода;
Фиг.4 – изометрическое изображение капиллярного рабочего органа, показанного на фиг.2 и фиг.3;
Фиг.5 – изометрическое изображение с пространственным разделением деталей роторного элемента, показанного на фиг.1-3;
Фиг.6 – характерный вид, иллюстрирующий положение, в котором используют устройство для регулирования расхода, иллюстрируемое на фиг.1;
Фиг.7(a)-(d) – виды, иллюстрирующие положение соединения роторного элемента с соединительными каналами капиллярного элемента при развернутой внешней периферии роторного элемента, иллюстрируемого на фиг.5;
Фиг.8 – разрез устройства, соответствующего дополнительному варианту осуществления настоящего изобретения, для регулирования расхода жидкого лекарственного средства, сделанный в том же направлении, что и на фиг.1, для показа внутренней области устройства для регулирования расхода; и
Фиг.9 – разрез устройства, соответствующего дополнительному варианту осуществления настоящего изобретения, для регулирования расхода жидкого лекарственного средства, сделанный в том же направлении, что и на фиг.1, для показа внутренней области устройства для регулирования расхода.
ПОДРОБНОЕ ОПИСАНИЕ ПРЕДПОЧТИТЕЛЬНЫХ ВАРИАНТОВ ОСУЩЕСТВЛЕНИЯ НАСТОЯЩЕГО ИЗОБРЕТЕНИЯ
Как показано на фиг.1-3, устройство 10 для регулирования расхода жидкого лекарственного средства, соответствующее варианту осуществления настоящего изобретения, содержит корпус 20, клапан 30, соединительный элемент 40 приточной стороны, соединительный элемент 50 выпускной стороны, блок прохождения жидкого лекарственного средства, предусмотренный с множеством каналов для прохождения потока жидкого лекарственного средства, например капиллярный блок 60, и блок 70 управления.
Корпус 20 устройства 10 для регулирования расхода является проходящим в вертикальном направлении цилиндрическим элементом, нижняя часть которого уменьшена в сечении и немного удлинена. Верхний и нижний концы корпуса 20 открыты, и соединительный элемент 40 приточной стороны и соединительный элемент 50 выпускной стороны смонтированы и соединены в открытых верхнем и нижнем концах корпуса соответственно. В корпусе 20 предусмотрена разделительная стенка 22. Внутренняя область корпуса 20 разделена разделительной стенкой 22 на нижнюю первую полость 24 и верхнюю вторую полость 26. Первая полость 24 является полостью для хранения жидкого лекарственного средства, а вторая полость 26 является полостью для использования при контроле того, что жидкое лекарственное средство капает из бутылки 100 Рингера (показанной на фиг.6). Первая и вторая полости 24 и 26 соответственно сообщаются с отверстиями нижнего и верхнего концов корпуса 20. Разделительная стенка 22 образована вогнутой так, чтобы ее толщина уменьшалась по направлению к ее центральной части. Центр разделительной стенки 22 предусмотрен с каналом 28, проходящим в вертикальном направлении, для соединения первой и второй полостей 24 и 26 друг с другом. Верхний конец канала 28 предусмотрен с впускным отверстием 281, через которое жидкое лекарственное средство проходит из канала 28 в первую полость 24. Поскольку выпускное отверстие 282 образовано более узким, чем канал 28, конец канала 28 на стороне выпускного отверстия 282 предусмотрен с уступом 283, с помощью которого захватывается регулировочный элемент 32 клапана 30, описываемый позднее. Уступ 283 немного снижается по направлению к центру корпуса. Это должно обеспечить возможность плавного течения жидкого лекарственного средства в первую полость 24. Впускное отверстие 281 также образовано более узким, чем канал 28. Конец канала 28 на стороне впускного отверстия 281 предусмотрен с конической наклонной поверхностью 284, которая сужается по направлению к впускному отверстию 281 (то есть расширяется по направлению к стороне ниже по технологической цепочке). Такая форма ограничена для согласования с формой регулировочного элемента 32 клапана 30, описываемого ниже. Когда регулировочный элемент 32 приходит в тесное контактное взаимодействие с наклонной поверхностью 284, то только небольшое количество жидкого лекарственного средства, находящееся во второй полости 26, может пройти в канал 28 через впускное отверстие 281.
Как следует из фиг.2 и фиг.3, клапан 30 содержит регулировочный элемент 32, который размещен в канале 28 разделительной стенки 22, и поплавок 34, позиционируемый в первой полости 24 и соединенный с регулировочным элементом 32. Регулировочный элемент 32 является элементом, выполненным в виде усеченного конуса, внешний диаметр которого меньше диаметра канала 28, но больше диаметра впускного отверстия 281 и выпускного отверстия 282, соединенных с каналом 28. Верхняя поверхность регулировочного элемента 32 является наклонной и суженной вверх. Это сделано для обеспечения возможности плавного движения вводимого жидкого лекарственного средства по направлению к периферии канала 28. Наклонная часть факультативно предусмотрена с множеством небольших верхних выступов 323, расположенных по окружности. Хотя на фиг.2 и фиг.3 показано, что верхние выступы 323 предусмотрены в настоящем изобретении, настоящее изобретение этим не ограничено. Если верхняя наклонная поверхность регулировочного элемента 32 приведена в тесное контактное взаимодействие с наклонной поверхностью 284 в верхнем конце канала 28, тогда как их формы по существу совпадают друг с другом без верхних выступов, то течение жидкого лекарственного средства из второй полости 26 в первую полость 24 ограничено.
В том случае когда регулировочный элемент 32 имеет верхние выступы 323, если верхние выступы 323 находятся в контактном взаимодействии с наклонной поверхностью 284 в верхнем конце канала 28, то небольшой канал образуется между регулировочным элементом 32 и наклонной поверхностью 284 в верхнем конце канала 28, так что небольшое количество жидкого лекарственного средства может вводиться через впускное отверстие 281. Верхние выступы 323 выполнены меньшими, чем нижние выступы 322, описываемые ниже. Это сделано для обеспечения возможности введения меньшего количества жидкого лекарственного средства, когда регулировочный элемент 32 находится в контактном взаимодействии с верхним концом канала 28. В центре нижней поверхности регулировочного элемента 32 предусмотрен выступающий штырь 321 связи. Штырь 312 связи установлен в удлинительной трубке 341 и связан с удлинительной трубкой 341, проходящей из поплавка 34. Периферия нижней поверхности регулировочного элемента 32 предусмотрена с множеством нижних выступов 322. Нижние выступы 322 опираются на уступ 283 на нижнем конце канала 28, препятствуя в соответствии с этим закрыванию выпускного отверстия 282 нижней поверхностью регулировочного элемента 32. Хотя настоящее изобретение описано в связи с этим вариантом осуществления, в котором регулировочный элемент 32 имеет верхние и нижние выступы 323 и 322, настоящее изобретение этим не ограничено. Подобные эффекты могут быть получены путем образования таких выступов на наклонной поверхности 284 и уступе 283 на верхнем и нижнем концах канала 28 соответственно. Поплавок 34 принимает форму полой сферы и плавает на жидком лекарственном средстве, хранимом в первой полости 24. Удлиненная удлинительная трубка 341, проходящая вверх, предусмотрена на верхней части поплавка 34. Удлинительная трубка 341 входит в выпускное отверстие 282, сообщающееся с каналом 28, образованным в разделительной стенке 22. Соединительный штырь 321 регулировочного элемента 32 установлен в открытом верхнем конце удлинительной трубки 341 так, чтобы поплавок 34 и регулировочный элемент 32 были соединены друг с другом и вместе двигались в вертикальном направлении. Внешний диаметр удлинительной трубки 341 меньше диаметра выпускного отверстия 282, так что жидкое лекарственное средство может проходить через выпускное отверстие 282.
Как следует из фиг.1-3, соединительный элемент 40 приточной стороны содержит верхнюю стенку 42, боковую стенку 44, проходящую вниз из верхней стенки 42, и удлиненный выступ 46, выступающий и проходящий вверх из центральной части верхней стенки 42. Верхняя стенка 42 наклонена, сужаясь вверх. Боковая стенка 44 установлена в открытом верхнем конце корпуса 20 и приходит в тесное контактное взаимодействие с поверхностью стенки корпуса 20. Удлиненный верхний выступ 46 предусмотрен с проходящим в вертикальном направлении каналом 461 притока жидкого лекарственного средства и каналом 462 подсоса воздуха. Канал 461 притока жидкого лекарственного средства сообщается со второй полостью 26 корпуса, а канал 462 подсоса воздуха сообщается с внешним миром через верхнюю стенку 42. Верхний конец канала 461 притока жидкого лекарственного средства позиционирован на уровне ниже, чем уровень верхнего конца канала 462 подсоса воздуха. Это сделано для того, чтобы дать возможность прохождения воздуха в бутылку 100 Рингера так, чтобы жидкое лекарственное средство в бутылке 100 Рингера могло плавно двигаться во второй полости 26 устройства 10 для регулирования расхода жидкого лекарственного средства через канал 461 притока жидкого лекарственного средства в состоянии, где устройство 10 для регулирования расхода жидкого лекарственного средства соединено с бутылкой 100 Рингера, как показано на фиг.6.
Как следует из фиг.1-3, соединительный элемент 50 выпускной стороны имеет полость для вмещения в нем капиллярного рабочего органа 60 и блока управления 70. В конечном счете соединительный элемент 50 выпускной стороны содержит первую и вторую плоские боковые стенки 52 и 54, которые обращены друг к другу и проходят в вертикальном направлении, и соединительную стенку 56 для соединения первой и второй боковых стенок 52 и 54 между собой. Нижние края первой и второй боковых стенок 52 и 54 принимают форму полукруга. Соединительная стенка 56 также соответственно соединена полностью на ее нижней части. Соединительный элемент 50 выпускной стороны имеет открытый верхний конец, который, в свою очередь, установлен в открытом нижнем конце корпуса 20, сообщаясь в соответствии с этим с первой полостью 24. Первая боковая стенка 52 образована с круглым сквозным отверстием 521. Центр сквозного отверстия 521, в общем, совпадает с центром цилиндрического роторного элемента 72, который будет описан ниже, и размещен в соединительном элементе 50 выпускной стороны. Зубчатые штыри 761, соединенные с рукояткой 76 блока 70 управления, описываемого ниже, вставлены в зубчатое отверстие 742 (фиг.5) вставного элемента 74 через сквозное отверстие 521. Нижний конец соединительной стенки 56 соединительного элемента 50 выпускной стороны предусмотрен с удлиненным выступом 58, выступающим и проходящим вниз. Выпускной канал 581, который сообщается с внутренней областью соединительного элемента 50 выпускной стороны и через который нагнетают жидкое лекарственное средство, предусмотрен в удлиненном выступе 58. Удлиненный выступ 58 устанавливают в соединительном гибком трубопроводе 90, соединенном с иглой 110 шприца, как показано на фиг.6.
Как следует из фиг.1-3, выпускная канавка 562, сообщающаяся с выпускным каналом 581, предусмотрена во внутренней стеновой поверхности соединительной стенки 56. Выпускная канавка 562 проходит в окружном направлении приблизительно на 90 градусов от выпускного канала 581 вдоль стеновой поверхности соединительной стенки 56.
Как следует из фиг.2-4, блок прохождения жидкого лекарственного средства, например капиллярный рабочий орган 60, конфигурирован для плотного прилегания в верхней части соединительной элемента 50 выпускной стороны и имеет вогнутую полукруглую нижнюю поверхность, которая должна быть в тесном контактном взаимодействии с верхней периферией роторного элемента 72 блока 70 управления, описываемого ниже. Хотя настоящее изобретение описано на примере в связи с вариантом осуществления, в котором используется капиллярный рабочий орган с капиллярами в качестве каналов прохождения жидкого лекарственного средства, настоящее изобретение этим не ограничено. Блок прохождения жидкого лекарственного средства, соответствующий настоящему изобретению, может содержать любой компонент с каналом, через который может проходить такая текучая среда, как жидкое лекарственное средство. Например, трубка, отверстие в силиконе и/или отверстие в полимерном материале могут быть использованы в качестве канала прохождения жидкого лекарственного средства. Отверстие в силиконе или отверстие в полимерном материале может быть образовано продольным перфорированием силиконового или полимерного материала при использовании лазера или другого перфорирующего средства. Предпочтительно, чтобы вышеуказанные примеры канала прохождения жидкого лекарственного средства обеспечивали возможность сквозного прохождения текучей среды, например жидкого лекарственного средства, с заданной скоростью.
Капиллярный рабочий орган 60, характерный пример которого иллюстрируется на фиг.2-4, предусмотрен с множеством капилляров, проходящих в вертикальном направлении. Множество капилляров обеспечивается установкой капиллярных элементов 62 с капиллярами 621 в капиллярном рабочем органе 60. Капиллярный рабочий орган 60 предусмотрен с множеством отверстий 61 введения, в которых плотно установлены капиллярные элементы 62. Нижние части множества отверстий 61 введения образованы с соединительными каналами 64, проходящими к нижней поверхности капиллярного рабочего органа 60. Соответствующие соединительные каналы 64 сообщаются с ответвленными прорезями 722, образованными во внешней периферии роторного элемента 72 блока 70 управления, описываемого ниже.
Множество капилляров 621 расположено в два ряда так, чтобы первый ряд имел пять капилляров, а второй ряд имел четыре капилляра. Капилляры 612, расположенные в соответствующих рядах, расположены эквидистантно, и каждый из капилляров, расположенных во втором ряду, расположен в соответствующем промежуточном положении между соседними капиллярами в первом ряду. Однако число и расположение капилляров не ограничено таким образом. Кроме того, квалифицированным специалистам в этой области техники вполне очевидно, что вместо капиллярных элементов 62 могут быть использованы трубка, отверстие в силиконе и/или отверстие в полимерном материале для обеспечения возможности сквозного прохождения текучей среды, например жидкого лекарственного средства, с заданной скоростью.
Как следует из фиг.1-3 и 5, блок 70 управления содержит цилиндрический роторный элемент 72, элемент 74 введения, связанный с центром роторного элемента 72, и рукоятку 76 управления, соединенную с элементом 74 введения. Внешняя периферия роторного элемента 72 предусмотрена с окружной направляющей прорезью 721 поверх части периферии, а множество ответвленных прорезей 722 проходят из обеих сторон направляющей прорези 721. Направляющая прорезь 721 сообщается с выпускной канавкой 562 соединительного элемента 50 выпускной стороны. Ответвленные прорези 722 расположены эквидистантно. Ответвленные прорези 722 сообщаются, например, с соединительными каналами 64 капиллярного рабочего органа 60. Число ответвленных прорезей ограничивают так, чтобы ответвленные прорези поочередно сообщались с соединительными каналами. Центр роторного элемента 72 предусмотрен с отверстием 723 связи, в котором плотно установлен элемент 74 введения. Форма и размер отверстия 723 связи определены для согласования с элементом 74 введения. Хотя это и не показано, но осевая линия роторного элемента 72 становится осью вращения роторного элемента 72. Хотя настоящее изобретение описано в связи с вариантом осуществления, в котором роторный элемент 72 принимает форму цилиндра, настоящее изобретение этим не ограничено. Квалифицированным специалистам в этой области техники будет очевидно, что форма нижней поверхности капиллярного рабочего органа 60 может быть также должным образом ограничена в соответствии с формой роторного элемента. Конфигурация прорезей, образованных во внешней периферии роторного элемента 72, не ограничена конфигурацией, иллюстрируемой на фиг.5. Например, конфигурация может содержать две ответвленные прорези, проходящие в окружном направлении на заданную длину (в этом случае имеет место форма камертона или Y-образная форма). Две ответвленные прорези сообщаются с первым и вторым рядами в капиллярном рабочем органе 60 соответственно.
Элемент 74 введения содержит множество проходящих в радиальном направлении крыльев 741 и зубчатое отверстие 742, образованное в его центре. Элемент 74 введения плотно установлен в отверстии 723 связи роторного элемента 72. Зубчатые штыри 761, соединенные с рукояткой 76 управления, плотно установлены в зубчатом отверстии 742, так что поворот рукоятки 76 управления может передаваться непосредственно ему. Крылья 741 передают поворачивающую силу роторному элементу 72. Зубчатое отверстие 742 подвержено воздействию извне через сквозное отверстие 521, образованное в первой боковой стенке 52 соединительного элемента 50 выпускной стороны. Зубчатые штыри 761 соединены с рукояткой 76 управления. Зубчатые штыри 761 плотно установлены в зубчатом отверстии 742 элемента 74 введения через сквозное отверстие 521, образованное в первой боковой стенке 52 соединительного элемента 50 выпускной стороны. Рукоятка 76 управления размещена вне первой боковой стенки 52 соединительного элемента 50 выпускной стороны. Когда пользователь захватывает и поворачивает рукоятку 76 управления, роторный элемент 72 поворачивается.
Теперь со ссылкой на фиг.1-7 будет подробно описана работа варианта осуществления настоящего изобретения. Как следует из фиг.6, верхний удлиненный выступ 46 соединительного элемента 40 приточной стороны устройства 10 для регулирования расхода жидкого лекарственного средства вставлен в нижний конец бутылки 100 Рингера, а соединительный гибкий трубопровод 90 с иглой 110 шприца, соединенной с ним, смонтирован вокруг удлиненного выступа 58 соединительного элемента 50 выпускной стороны. Жидкое лекарственное средство, содержащееся в бутылке 100 Рингера, вводится во вторую полость 26 корпуса 20 через канал 461 притока жидкого лекарственного средства, предусмотренный в удлиненном выступе 46 соединительного элемента 40 приточной стороны. В это время внешний воздух вводится в бутылку 100 Рингера через канал 462 подсоса воздуха удлиненного выступа 46, так что жидкое лекарственное средство может плавно вводиться во вторую полость 26 корпуса 20. Жидкое лекарственное средство, которое было введено во вторую полость 26 корпуса 20, затем вводится в канал 28 разделительной стенки 22 через впускное отверстие 281 канала 28 в положении, в котором регулировочный элемент 32 клапана 30 опущен, как показано на фиг.2. Жидкое лекарственное средство, которое было введено в канал 28, проходит вниз через зазор, ограниченный на краю канала 28, между стеновой поверхностью канала 28 и регулировочным элементом 32 и затем в первую полость 24 через выпускное отверстие 282. Жидкое лекарственное средство, которое было введено в первую полость 24, хранится в первой полости 24, а уровень жидкого лекарственного средства, хранимого в первой полости, повышается со временем. Когда уровень жидкого лекарственного средства повышается, поднимается поплавок 34 клапана 30. Когда первая полость 24 в результате заполняется жидким лекарственным средством до некоторой степени, как показано на фиг.3, регулировочный элемент 32 клапана 30 упирается в верхний конец канала 28, так что количество вводимого жидкого лекарственного средства предпочтительно уменьшается и адекватно поддерживается давление жидкого лекарственного средства, хранимого в первой полости 24, поддерживая в соответствии с этим постоянное количество жидкого лекарственного средства, подаваемого пациенту.
Жидкое лекарственное средство, хранимое в первой полости 24, течет понемногу вниз, например, через капилляры 621, образованные в капиллярных элементах 62 капиллярного рабочего органа 60. В это время если повернутым положением роторного элемента 72 является положение, показанное на фиг.7(а), то есть положение, где все соединительные каналы 64 капиллярного рабочего органа 60 не сообщаются с ответвленными прорезями 722 роторного элемента 72, то любое жидкое лекарственное средство не может быть выпущено в соединительный гибкий трубопровод 90. В этом положении если рукоятку 76 управления поворачивают так, чтобы один из соединительных каналов 64 капиллярного рабочего органа 60 сообщался с ответвленной прорезью 722 роторного элемента 72, как показано на фиг.7(b), то жидкое лекарственное средство выпускается через соединительный канал к соединительному гибкому трубопроводу 90. Если рукоятка 76 управления повернута немного дальше от этого положения так, чтобы два из соединительных каналов 64 капиллярного рабочего органа 60 сообщались с ответвленными прорезями 722 роторного элемента 72, как показано на фиг.7(с), то расход выпускаемого в соединительный гибкий трубопровод 90 жидкого лекарственного средства немного увеличивается. Расход жидкого лекарственного средства может быть точно увеличен путем ступенчатого поворота роторного элемента 72 в одном направлении. Если роторный элемент 72 дополнительно повернут так, что все соединительные каналы 64 капиллярного рабочего органа 60 сообщаются с ответвленными прорезями 722 роторного элемента 72, как показано на фиг.7(d), то расход выпускаемого в гибкий трубопровод 90 жидкого лекарственного средства будет максимальным. Если роторный элемент 72 поворачивают в обратном направлении, то расход жидкого лекарственного средства может быть точно ступенчато уменьшен.
На фиг.8 и фиг.9 приведены разрезы других вариантов осуществления настоящего изобретения. Варианты осуществления, иллюстрируемые на фиг.8 и фиг.9, идентичны варианту осуществления настоящего изобретения, иллюстрируемому на фиг.2 и фиг.3, за исключением конструкции клапана регулировки величины притока, который размещен в корпусе 20 и содержит первую полость, вторую полость, регулировочный элемент, соединительные каналы, поплавок и подобные элементы. По этой причине в описании идентичных компонентов нет необходимости, а компоненты, аналогичные тем, которые используются в варианте осуществления, иллюстрируемом на фиг.2 и фиг.3, будут указаны идентичными ссылочными номерами.
В варианте осуществления, иллюстрируемом на фиг.8, в корпусе 20 предусмотрены две разделительные стенки 22. Внутренняя область корпуса 20 разделена на нижнюю первую полость 24, верхнюю вторую полость 26 и промежуточную третью полость 27 посредством двух разделительных стенок 22. Первая полость 24 является полостью, в которой хранится жидкое лекарственное средство в конечном счете, вторая полость 26 является полостью для контроля того, что жидкое лекарственное средство капает из бутылки 100 Рингера (как показано на фиг.6). Третья полость 27 позиционирована между второй и первой полостями 26 и 24 для временного хранения в ней жидкого лекарственного средства.
В этом модифицированном варианте осуществления клапаны регулировки величины притока, установленные в корпусе 20, содержат первый клапан 30а регулировки величины притока и второй клапан 30b регулировки величины притока. Первый клапан 30а регулировки величины притока регулирует течение жидкого лекарственного средства между первой полостью 24 и первым соединительным каналом 28а, а второй клапан 30b регулировки величины притока регулирует течение жидкого лекарственного средства между третьей полостью 27 и вторым соединительным каналом 28b. Клапаны 30а и 30b содержат первый регулировочный элемент 32а и второй регулировочный элемент 32b, размещенные в первом и втором соединительных каналах 28а и 28b двух разделительных стенок 22 соответственно. Кроме того, клапаны 30а и 30b содержат первый поплавок 34а и второй поплавок 34b, которые расположены в первой и третьей полостях 24 и 27 соответственно и соединены с первым и вторым регулировочными элементами 32а и 32b соответственно. Хотя на наклонных верхних поверхностях первого и второго регулировочных элементов 32а и 32b, иллюстрируемых на фиг.8, не предусмотрено верхнего выступа, множество небольших верхних выступов может быть в окружном направлении расположено на наклонных верхних поверхностях регулировочных элементов подобным образом, что и в варианте осуществления, иллюстрируемом на фиг.2. Когда верхние поверхности первого и второго регулировочных элементов 32а и 32b приведены в контактное взаимодействие с первой наклонной поверхностью 284а на верхнем конце первого соединительного канала 28а и второй наклонной поверхности 284b на верхнем конце второго соединительного канала 28b соответственно, тогда как их формы по существу совпадают друг с другом, течение жидкого лекарственного средства из второй полости 26 в третью полость 27 и течение жидкого лекарственного средства из третьей полости 27 в первую полость 24 по существу ограничено. Следовательно, этот модифицированный вариант осуществления может более точно регулировать величину притока жидкого лекарственного средства, чем предшествующий вариант осуществления.
Первый и второй регулировочные элементы 32а и 32b имеют штыри связи, проходящие из центров их нижних поверхностей. Эти штыри связи установлены в первой и второй удлиненных трубках 341а и 341b и связаны с первой и второй удлиненными трубками 341а и 341b, проходящими из первого и второго поплавков 34а и 34b соответственно. Множество нижних выступов 322а и 322b, отстоящих друг от друга, предусмотрено на краях нижних поверхностей первого и второго регулировочных элементов 32а и 32b соответственно. Нижние выступы 322а и 322b опираются на уступы на нижних концах первого и второго соединительных каналов 28а и 28b, препятствуя в соответствии с этим закрыванию выпускных отверстий нижними поверхностями первого и второго регулировочных элементов 32а и 32b. В этом модифицированном варианте осуществления размеры нижних выступов 322а и 322b могут изменяться так, чтобы второй и первый клапаны 30а и 30b регулировки величины притока могли точно регулировать течение жидкого лекарственного средства из второй полости 26 в третью полость 27 и течение жидкого лекарственного средства из третьей полости 27 в первую полость 24.
В дополнительном модифицированном варианте осуществления, иллюстрируемом на фиг.9, в корпусе 20 предусмотрены две разделительные стенки 22а и 22b. Внутренняя область корпуса 20 разделена на нижнюю первую полость 24, верхнюю вторую полость 26 и промежуточную третью полость 27 посредством двух разделительных стенок 22а и 22b. Первая полость 24 является полостью, в которой хранится жидкое лекарственное средство в конечном счете, вторая полостью 26 является полостью для контроля того, что жидкое лекарственное средство капает из бутылки 100 Рингера (как показано на фиг.6). Третья полость 27 позиционирована между второй и первой полостями 26 и 24 для кратковременного хранения в ней жидкого лекарственного средства.
Центр верхней разделительной стенки 22а предусмотрен с первым расширенным каналом 28а, проходящим в вертикальном направлении для соединения второй и третьей полостей 26 и 27 между собой. Центр нижней разделительной стенки 22b предусмотрен со вторым расширенным каналом 28b, проходящим в вертикальном направлении для соединения третьей и первой полостей 27 и 24 между собой. Как показано на фиг.9, первый и второй расширенные каналы 28а и 28b конфигурированы симметрично друг другу относительно второй полости 27.
Верхний конец первого расширенного канала 28а предусмотрен с первым впускным отверстием 281а, через которое жидкое лекарственное средство течет из второй полости 26 в первый расширенный канал 28а, а нижний конец первого расширенного канала 28а предусмотрен с первым выпускным отверстием 282а, через которое жидкое лекарственное средство течет из первого расширенного канала 28а в третью полость 27. Поскольку первое выпускное отверстие 282а образовано более узким, чем первый расширенный канал 28а, конец первого расширенного канала 28а на стороне первого выпускного отверстия 282а предусмотрен с первым уступом 283а, посредством которого захватывается первый регулировочный элемент 32а клапана 30, описываемый ниже. Первое впускное отверстие 281а также образовано более узким, чем первый расширенный канал 28а. Конец первого расширенного канала 28а на стороне первого впускного отверстия 281а предусмотрен с первой конической наклонной поверхностью 284а, которая сужается по направлению к первому впускному отверстию 281а.
Верхний конец второго расширенного канала 28b предусмотрен со вторым впускным отверстием 281b, через которое жидкое лекарственное средство течет из третьей полости 27 во второй расширенный канал 28b, а нижний конец второго расширенного канала 28b предусмотрен со вторым выпускным отверстием 282b, через которое жидкое лекарственное средство течет из второго расширенного канала 28b в первую полость 24. Второе выпускное отверстие 282b образовано более узким, чем второй расширенный канал 28b. Конец второго расширенного канала 28b на стороне второго выпускного отверстия 282b предусмотрен со второй конической наклонной поверхностью 284b, которая сужается по направлению ко второму выпускному отверстию 282b. Поскольку второе впускное отверстие 281b образовано более узким, чем второй расширенный канал 28b, конец второго расширенного канала 28b на стороне второго впускного отверстия 281b предусмотрен со вторым уступом 283b, посредством которого захватывается второй регулировочный элемент 32b клапана 30, описываемого ниже.
Клапан 30 содержит первый регулировочный элемент 32а, размещенный в первом расширенном канале 28а первой разделительной стенки 22а, второй регулировочный элемент 32b, размещенный во втором расширенном канале 28b второй разделительной стенки 22b, и поплавок 34 для соединения первого и второго регулировочных элементов 32а и 32b друг с другом так, чтобы они были обращены друг к другу симметричным образом. Поскольку первый регулировочный элемент 32а по существу идентичен регулировочному элементу 32, иллюстрируемому на фиг.2 и фиг.3, по их конструкции, далее не будет приводиться его подробное описание. Второй регулировочный элемент 32b размещен во втором расширенном канале 28b.
Хотя верхний выступ предусмотрен на наклонной верхней поверхности первого регулировочного элемента 32а, иллюстрируемого на фиг.9, множество небольших верхних выступов может быть расположено в окружном направлении на наклонной верхней поверхности первого регулировочного элемента 32а подобно тому, как это сделано в варианте осуществления, иллюстрируемом на фиг.2. Когда наклонная верхняя поверхность первого регулировочного элемента 32а приходит в контактное взаимодействие с первой наклонной поверхностью 284а верхнего конца первого расширенного канала 28а, тогда как их формы по существу совпадают между собой, и в то же самое время нижняя поверхность второго регулировочного элемента 32b приходит в контактное взаимодействие со вторым уступом 283b на верхнем конце второго расширенного канала 28b, тогда как их формы по существу совпадают между собой, течение жидкого лекарственного средства из второй полости 26 в третью полость 27 и течение жидкого лекарственного средства из третьей полости 27 в первую полость 24 ограничено. В это время определенное количество жидкого лекарственного средства, которое не может полностью заполнить третью полость 27, временно хранится в третьей полости 27. Таким образом, когда жидкое лекарственное средство подается снова, жидкое лекарственное средство, хранимое в третьей полости 27, может быть быстро подано в первую полость 24.
Первый и второй регулировочные элементы 32а и 32b имеют штыри связи, проходящие из центров их нижних поверхностей. Эти штыри связи установлены в первой и второй удлиненных трубках 341а и 341b и соединены с первой и второй удлиненными трубками 341а и 341b, проходящими из поплавка 34 в противоположных направлениях. Множество нижних выступов, отстоящих друг от друга, предусмотрено на краю нижней поверхности первого регулировочного элемента 32а. Нижние выступы первого регулировочного элемента 32а опираются на первый уступ 283а на нижнем конце первого расширенного канала 28а, а верхние выступы второго регулировочного элемента 32b опираются на вторую наклонную поверхность 284b второго расширенного канала 28b, препятствуя в соответствии с этим закрыванию соответствующих выпускных отверстий нижней поверхностью первого регулировочного элемента 32а и верхней поверхностью второго регулировочного элемента 32b. В этом модифицированном варианте осуществления размеры нижних и верхних выступов могут быть изменены для точного регулирования течения жидкого лекарственного средства из второй полости 26 в третью полость 27 и течения жидкого лекарственного средства из третьей полости 27 в первую полость 24.
Хотя настоящее изобретение было описано в связи с вариантами осуществления, оно не ограничено ими. Квалифицированным специалистам в этой области техники могут стать очевидными различные модификации и изменения, которые могут быть сделаны без отклонения от сущности и объема настоящего изобретения, и такие модификации и изменения находятся в пределах объема настоящего изобретения.
Формула изобретения
1. Устройство для регулирования расхода жидкого лекарственного средства на пути движения жидкого лекарственного средства, содержащее приточный канал для обеспечения возможности введения через него жидкого лекарственного средства; выпускной канал для обеспечения возможности выпуска через него жидкого лекарственного средства; полость для хранения жидкого лекарственного средства, введенного в нее через приточный канал; блок прохождения жидкого лекарственного средства, размещенный между полостью и выпускным каналом и имеющий, по меньшей мере, два канала течения жидкого лекарственного средства для обеспечения возможности течения жидкого лекарственного средства через них, и множество выпускных отверстий, образованных на стороне выпускного канала для соответствия соответствующим каналам течения жидкого лекарственного средства; и клапан регулировки величины выпуска, размещенный между блоком прохождения жидкого лекарственного средства и выпускным каналом, причем клапан регулировки величины выпуска является подвижным для изменения числа каналов течения жидкого лекарственного средства блока прохождения жидкого лекарственного средства, которые сообщаются с выпускным каналом.
2. Устройство по п.1, в котором каналы течения жидкого лекарственного средства являются капиллярами, а блок прохождения жидкого лекарственного средства содержит капиллярный блок, содержащий капилляры.
3. Устройство по п.1, в котором клапан регулировки величины выпуска поддается повороту вокруг оси вращения и изменяет число каналов течения жидкого лекарственного средства, сообщающихся с выпускным каналом, посредством его поворотного движения.
4. Устройство по п.3, в котором клапан регулировки величины выпуска дополнительно содержит роторный элемент, поддающийся повороту вокруг оси вращения.
5. Устройство по п.4, в котором роторный элемент имеет, по меньшей мере, часть, принимающую форму тела вращения вокруг оси вращения, а внешняя поверхность части роторного элемента образована с направляющей прорезью, побуждаемой к сообщению с выпускным каналом посредством поворота роторного элемента, и множеством ответвленных прорезей, ответвленных из направляющей прорези и выполненных с возможностью сообщения с выпускными отверстиями блока прохождения жидкого лекарственного средства.
6. Устройство по п.5, в котором выпускные отверстия блока прохождения жидкого лекарственного средства расположены эквидистантно в окружном направлении и ответвленные прорези роторного элемента расположены эквидистантно в окружном направлении.
7. Устройство по любому одному из пп.1-6, дополнительно содержащее впускное отверстие для обеспечения возможности течения через него жидкого лекарственного средства в полость, и клапан регулировки величины притока для регулирования количества жидкого лекарственного средства, вводимого через впускное отверстие в соответствии с количеством жидкого лекарственного средства, хранимого в полости.
8. Устройство по п.7, в котором клапан регулировки величины притока может содержать, по меньшей мере, один поплавок, подвижный в вертикальном направлении в соответствии с уровнем жидкого лекарственного средства, хранимого в полости, и регулировочный элемент, который соединен с поплавком для вертикального движения, при этом регулировочный элемент ограничивает количество жидкого лекарственного средства, вводимого через впускное отверстие, когда регулировочный элемент опирается на впускное отверстие.
9. Устройство по п.8, дополнительно содержащее соединительный канал, имеющий верхний конец, предусмотренный с впускным отверстием, и нижний конец, предусмотренный с выпускным отверстием, сообщающимся с полостью, причем соединительный канал больше, чем впускное отверстие и выпускное отверстие, при этом регулировочный элемент размещен в соединительном канале.
10. Устройство по п.9, в котором в том случае, если полость разделена, по меньшей мере, на две вспомогательные полости, то предусмотрены, по меньшей мере, два регулировочных элемента и соединительных канала.
11. Устройство по п.9, в котором нижняя поверхность регулировочного элемента или нижний конец соединительного канала предусмотрена с нижним выступом для ограничения зазора между нижней поверхностью регулировочного элемента и нижним концом соединительного канала для предотвращения закрывания выпускного отверстия соединительного канала.
12. Устройство по п.11, в котором верхняя поверхность регулировочного элемента или верхний конец соединительного канала предусмотрена с верхним выступом для ограничения зазора между верхней поверхностью регулировочного элемента и верхним концом соединительного канала для предотвращения закрывания впускного отверстия соединительного канала.
13. Устройство по п.12, в котором верхний и нижний выступы образованы так, чтобы вводилось меньшее количество жидкого лекарственного средства, когда регулировочный элемент опирается на верхний конец соединительного канала.
14. Устройство по п.9, в котором нижний конец соединительного канала, предусмотренный с выпускным отверстием, сужается по направлению вниз.
15. Устройство по п.14, в котором верхняя поверхность регулировочного элемента конфигурирована с сужением вверх.
16. Устройство по п.9, дополнительно содержащее дополнительную полость, имеющую верхнюю часть, соединенную с приточным каналом, и нижнюю часть, соединенную с соединительным каналом.
17. Устройство по п.16, в котором дополнительная полость сконструирована для обеспечения возможности контроля того, что жидкое лекарственное средство капает из бутылки Рингера с хранимым в ней жидким лекарственным средством.
18. Устройство для регулирования расхода жидкого лекарственного средства, содержащее блок прохождения жидкого лекарственного средства, имеющий множество каналов течения жидкого лекарственного средства на пути течения жидкого лекарственного средства; и клапан регулировки величины выпуска, избирательно сообщающийся с множеством выпускных отверстий блока прохождения жидкого лекарственного средства для изменения числа каналов течения жидкого лекарственного средства для обеспечения возможности вытекания жидкого лекарственного средства через них из блока прохождения жидкого лекарственного средства.
19. Устройство по п.18, в котором каналы течения жидкого лекарственного средства являются капиллярами, а блок прохождения жидкого лекарственного средства содержит капиллярный блок, содержащий капилляры.
20. Устройство по п.18, в котором клапан регулировки величины выпуска поддается повороту вокруг оси вращения и изменяет число каналов течения жидкого лекарственного средства для обеспечения возможности течения через них жидкого лекарственного средства посредством его поворотного движения.
21. Устройство по п.20, в котором клапан регулировки величины выпуска дополнительно содержит роторный элемент, поддающийся повороту вокруг оси вращения.
22. Устройство по п.21, в котором роторный элемент имеет, по меньшей мере, часть, принимающую форму тела вращения вокруг оси вращения, а внешняя поверхность части роторного элемента образована с направляющей прорезью для обеспечения возможности вытекания жидкого лекарственного средства из него благодаря повороту роторного элемента и множеству ответвленных прорезей, ответвленных из направляющей прорези и выполненных с возможностью сообщения с выпускными отверстиями блока прохождения жидкого лекарственного средства.
23. Устройство по п.22, в котором выпускные отверстия блока прохождения жидкого лекарственного средства расположены эквидистантно в окружном направлении и ответвленные прорези роторного элемента расположены эквидистантно в окружном направлении.
РИСУНКИ
|
|