|
|
(21), (22) Заявка: 2007146122/14, 13.12.2007
(24) Дата начала отсчета срока действия патента:
13.12.2007
(46) Опубликовано: 10.05.2009
(56) Список документов, цитированных в отчете о поиске:
US 3084691 А, 09.04.1963. SU 1061812 A1, 23.12.1983. RU 36229 U1, 10.03.2004. US 4319570 A, 16.03.1982. US 5934888 A, 10.08.1999. EP 1795216 A1, 13.06.2007. GB 843345 A, 04.08.1960. CN 2824946 Y, 11.10.2006. DE 1263990 A, 21.03.1968.
Адрес для переписки:
107258, Москва, ул. 1-я Бухвостова, 12/11, ООО “МЕДПЛАНТ” Г.Г. Мамджяну
|
(72) Автор(ы):
Мамджян Гарегин Григорьевич (RU), Смелов Владимир Сергеевич (RU)
(73) Патентообладатель(и):
ООО “МЕДПЛАНТ” (RU), Мамджян Гарегин Григорьевич (RU)
|
(54) АСПИРАТОР ПОРТАТИВНЫЙ С МЕХАНИЧЕСКИМ ПРИВОДОМ
(57) Реферат:
Изобретение относится к медицинской технике и предназначено для аспирации верхних дыхательных путей и легких пациентов при проведении реанимационных мероприятий и искусственной вентиляции легких на месте происшествия и (или) транспортирования в условиях скорой медицинской помощи. Аспиратор портативный содержит основание, вертикальную стойку, стакан-накопитель с запорным клапаном, штуцеры и шланг аспиратора. Вертикальная стойка закреплена в центре основания. В полости стойки выполнен канал для перемещения воздуха. С одной стороны от стойки смонтирован рабочий цилиндр в виде стакана, в котором установлен поршень, шток которого шарнирно соединен с ножной педалью. Рабочий цилиндр закреплен к основанию с помощью скобы, а с помощью штуцера – к вертикальной стойке. С другой стороны от стойки размещен вышеупомянутый стакан-накопитель, закрепленный к стойке с помощью двух штуцеров. Запорный клапан стакана-накопителя соединен со штуцером, канал которого соединен с каналом вертикальной стойки. Стакан рабочего цилиндра снабжен двумя клапанами разнонаправленного действия, расположенными в верхней части, и двумя клапанами разнонаправленного действия, расположенными в нижней части стакана рабочего цилиндра. Выходной штуцер аспиратора соединен со штуцером крышки стакана-накопителя и шлангом аспиратора. Крышка стакана-накопителя соединена со стаканом-накопителем с помощью резьбового соединения. Снизу основания смонтирована запорная крышка. При движении поршня вниз воздух засасывается из стакана-накопителя в верхний объем рабочего цилиндра через клапан и штуцер. При движении поршня вверх воздух засасывается из стакана-накопителя в нижний объем рабочего цилиндра через клапан, проход под крышкой основания и канал в стойке. Технический результат – обеспечение двухтактного режима работы и исключения холостого хода поршня аспиратора, что позволяет обеспечить повышенный уровень производительности и надежности работы, упростить конструкцию аппарата и снизить его вес. 1 з.п. ф-лы, 2 ил.
Изобретение относится к медицинской технике и предназначено для аспирации верхних дыхательных путей и легких пациентов при проведении реанимационных мероприятий и искусственной вентиляции легких на месте происшествия и (или) транспортирования в условиях скорой медицинской помощи.
Известны конструкции медицинских отсасывателей (аспираторов), содержащие источник вакуума, воздушную магистраль, емкость-сборник и устройство предотвращения переполнения емкости-сборника на основе поплавковой системы и связанных с ней клапанов (Авторские свидетельства  1431762; 1757678; 897248; патент РФ 2032425, МПК А61М 1/00). При подъеме жидкости в емкости-сборнике выше определенного уровня поплавок поднимается и связанный с ним клапан или перекрывает канал воздушной магистрали, идущий к источнику вакуума в отсасывателях (авторские свидетельства  1431762, 1757678), или разгерметизирует емкости-сборники в отсасывателях (авторское свидетельство 897248, патент РФ 2032425). Все отсасыватели имеют подвижные части, что снижает надежность их работы и затрудняет санитарно-гигиеническую обработку. Кроме того, при срабатывании механизма предотвращения переполнения емкости-сборника источник вакуума продолжает работать, что приводит к ускоренной выработке его ресурса. Существенным недостатком подобных конструкций отсасывателей является их неспособность реагирования на пену, которая может попасть в воздушную магистраль и вывести отсасыватель из строя.
Отмеченные конструктивные и эксплуатационные недостатки устранены в медицинском отсасывателе, приведенном в патенте РФ 2245166 (А61М 1/00), который обладает повышенной надежностью защиты при переполнении емкости-сборника и улучшенными эксплуатационными свойствами. К числу недостатков настоящего отсасывателя следует отнести его конструктивную сложность и необходимость электрического питания для обеспечения его работы, что существенно ограничивает область его возможного применения и не позволяет применять подобные конструкции аспираторов в транспортных средствах или в полевых условиях.
Для проведения реанимационных мероприятий и искусственной вентиляции легких на месте происшествия или при транспортировании пострадавшего на машине скорой медицинской помощи используют портативные аспираторы и отсасыватели, которые действуют, например, (см. «Справочник медицинского оборудования за 2006 г.» (www.8a.ru) от кислородного источника питания – реанимационный «Медицинский отсос AMBU Uni-Suction Pump», или имеют ножной привод – «Отсасыватель с ножным приводом Онп-01» (производитель ООО «ОМНИМЕД»).
Существенными недостатками известных портативных аспираторов является низкая производительность аспирации, сложность конструктивной реализации и повышенный вес устройства.
Известен также портативный аспиратор, описанный в патенте США 3084691 (09. 04.1963 г.), наиболее близкий по технической сущности к патентуемому устройству и который выбран в качестве прототипа. Аспиратор по патенту США 3084691 содержит основание, вертикальную стойку, стакан-накопитель с запорным клапаном, штуцеры и шланг аспиратора.
Существенным недостатком данного аспиратора является невысокая производительность аспирации, увеличенный вес всего устройства и небольшая емкость стакана-накопителя, что значительно ограничивают эффективность его использования в практической медицине.
Настоящее изобретение решает задачу повышения производительности аспирации и надежности работы, а также уменьшения веса и габаритных размеров устройства.
Решение поставленной технической задачи достигается за счет нового конструктивного и компоновочного решения аспиратора, при котором обеспечивается двухтактный режим работы устройства.
Предлагаемое изобретение предусматривает закрепление в центре основания вертикальной стойки, с одной стороны от которой размещают рабочий цилиндр в виде стакана, а с другой – стакан-накопитель. Стакан рабочего цилиндра закреплен к основанию с помощью скобы и с помощью штуцера – к вертикальной стойке. Стакан-накопитель закреплен на вертикальной стойке с помощью двух штуцеров, а на основании фиксируется с помощью углубления в его дне и выступающей из основания шпонки.
Изобретением предусмотрено, что запорный клапан стакана-накопителя соединен со штуцером, воздушный канал которого соединен с воздушным каналом вертикальной стойки.
Рабочий объем аспиратора снабжен двумя разнонаправленными клапанами, расположенными в верхней части стакана рабочего цилиндра, и двумя разнонаправленными клапанами, расположенными в основании.
Выходной штуцер аспиратора соединен со штуцером крышки стакана-накопителя и шлангом аспиратора. Крышка стакана-накопителя соединена со стаканом-накопителем с помощью резьбового соединения, а снизу основания смонтирована запорная крышка.
Технический результат предлагаемого изобретения заключается в обеспечении двухтактного режима работы аспиратора и исключения холостого хода поршня аспиратора, что позволяет обеспечить повышенный уровень производительности и надежности работы, упростить конструкцию аппарата и снизить его вес.
Сущность предлагаемого изобретения поясняется описанием примера реализации аспиратора и чертежами, на которых представлены:
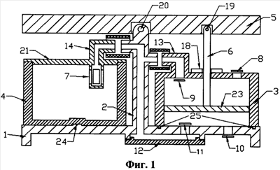
фиг.1 – общий вид аспиратора;
Фиг.2 – вид сверху (со снятой педалью).
Предлагаемый аспиратор содержит (фиг.1, 2):
– основание 1, вертикальную стойку 2, рабочий цилиндр 3 в виде стакана, который закреплен к основанию 1 с помощью скобы 22, а с помощью штуцера 13 – к стойке 2; в полости вертикальной стойки 2 (фиг.1) выполнен канал для перемещения отсасываемого воздуха;
– стакан-накопитель 4, который закреплен к стойке 2 с помощью штуцеров 14 и 15, педаль 5, соединенную со стойкой 2 с помощью оси 20;
– шток 6, соединенный с поршнем 23 и с педалью 5 с помощью оси 19;
– запорный клапан 7, который соединен со штуцером 14; клапаны 8, 9, 10, 11 рабочего цилиндра 3;
– крышку основания 12, которая смонтирована снизу на основании 1;
– выходной штуцер 16, соединенный со стойкой 2; шланг аспиратора 17, подключенный к выходному штуцеру 16; уплотнительное кольцо 18, смонтированное на верхней поверхности стакана рабочего цилиндра 3, и уплотнительное кольцо 25, закрепленное на верхней поверхности основания 1 под стаканом рабочего цилиндра 3; крышку 21 стакана-накопителя 4, соединенную со стаканом с помощью резьбового соединения; стакан-накопитель 4 для исключения осевого перемещения фиксируется на основании с помощью углубления в его дне и выступающей из основания шпонки 24.
Предлагаемый аспиратор работает следующим образом.
В разработанном аспираторе реализована двухтактная схема работы. При движении поршня 23 вниз клапаны 8 и 11 закрываются, а клапаны 9 и 10 открываются. Воздух из нижнего объема рабочего цилиндра (РЦ) 3 (под поршнем) выводится наружу через клапан 10. В верхний объем РЦ 3 (над поршнем) засасывается воздух через клапан 9, штуцеры 13 и 14 и запорный клапан 7 из стакана-накопителя 4. В стакан-накопитель 4, в свою очередь, воздух засасывается через штуцеры 15 и 16 и шланг 17 снаружи.
При движении поршня 23 вверх клапаны 9 и 10 закрываются, а клапаны 8 и 11 открываются. Воздух из верхнего объема РЦ 3 (над поршнем) выводится наружу через клапан 8. В нижний объем РЦ 3 (под поршнем) засасывается воздух через клапан 11, проход под крышкой основания 12, проход в стойке 2, штуцер 14 и запорный клапан 7 из стакана-накопителя 4.
Таким образом, при любом перемещении поршня 23 (и вверх, и вниз) из стакана-накопителя 4 отсасывается воздух.
Запорный клапан 7 в нормальном состоянии открыт. По мере накопления жидкости в стакане-накопителе 4 клапан 7 поднимается и при достаточном количестве жидкости он закрывает проход из РЦ 3 в стакан-накопитель 4. Отсасывание прекращается. Это предотвращает попадание жидкости в РЦ 3. Таким образом, исключается необходимость разборки всего аспиратора, поскольку после окончания процедуры аспирации достаточно промыть стакан-накопитель 4 и аппарат готов к новому циклу работы.
Проведенные испытания опытного образца аспиратора подтверждают его высокую производительность и надежность работы. К несомненным достоинствам разработанной конструкции следует отнести его уменьшенные габариты, оптимальную конструктивную компоновку и реализацию основных узлов, а также небольшой вес устройства, что обуславливает эксплуатационное превосходство разработанного аспиратора по сравнению с устройствами аналогичного назначения.
Формула изобретения
1. Аспиратор портативный, содержащий основание, вертикальную стойку, стакан-накопитель с запорным клапаном, штуцеры и шланг аспиратора, отличающийся тем, что упомянутая вертикальная стойка закреплена в центре основания, в полости стойки выполнен канал для перемещения воздуха, с одной стороны от стойки смонтирован рабочий цилиндр в виде стакана, в котором установлен поршень, шток которого шарнирно соединен с ножной педалью, причем рабочий цилиндр закреплен к основанию с помощью скобы, а с помощью штуцера – к вертикальной стойке, при этом с другой стороны от стойки размещен вышеупомянутый стакан-накопитель, закрепленный к стойке с помощью двух штуцеров, при этом запорный клапан стакана-накопителя соединен со штуцером, канал которого соединен с каналом вертикальной стойки, стакан рабочего цилиндра снабжен двумя клапанами разнонаправленного действия, расположенными в верхней части, и двумя клапанами разнонаправленного действия, расположенными в нижней части стакана рабочего цилиндра, выходной штуцер аспиратора соединен со штуцером крышки стакана-накопителя и шлангом аспиратора, причем крышка стакана-накопителя соединена со стаканом-накопителем с помощью резьбового соединения, а снизу основания смонтирована запорная крышка, при этом при движении поршня вниз воздух засасывается из стакана-накопителя в верхний объем рабочего цилиндра через клапан и штуцер, а при движении вверх воздух засасывается из стакана-накопителя в нижний объем рабочего цилиндра через клапан, проход под крышкой основания и канал в стойке.
2. Аспиратор по п.1, отличающийся тем, что на верхней поверхности стакана рабочего цилиндра и на верхней поверхности основания под стаканом рабочего цилиндра закреплено уплотнительное кольцо.
РИСУНКИ
RH4A – Выдача дубликата патента Российской Федерации на изобретение
Дата выдачи дубликата: 10.12.2009
Наименование лица, которому выдан дубликат:
ООО “МЕДПЛАНТ” (RU)
Наименование лица, которому выдан дубликат:
Мамджян Гарегин Григорьевич (RU)
Извещение опубликовано: 20.01.2010 БИ: 02/2010
|
|