|
|
(21), (22) Заявка: 2007143428/14, 23.11.2007
(24) Дата начала отсчета срока действия патента:
23.11.2007
(46) Опубликовано: 10.05.2009
(56) Список документов, цитированных в отчете о поиске:
RU 2204351 С2, 20.05.2003. RU 2204958 С2, 27.05.2003. US 5733281 А, 31.03.1998. ДОЛЕЦКИЙ С.Я. и др. Высокочастотная электрохирургия. – М.: Медицина, 1980, с.41-58.
Адрес для переписки:
630133, г.Новосибирск, ул. Лазурная, 2, кв.262, К.Д. Белику
|
(72) Автор(ы):
Белик Дмитрий Васильевич (RU), Белик Кирилл Дмитриевич (RU)
(73) Патентообладатель(и):
Закрытое акционерное общество “Сибирский научно-исследовательский и испытательный центр медицинской техники” (RU)
|
(54) ЭЛЕКТРИЧЕСКАЯ СИСТЕМА ДЛЯ ОНКОХИРУРГИИ
(57) Реферат:
Изобретение относится к медицинской технике и может использоваться в хирургии, для рассечения и коагуляции мягких тканей организма. Электрическая система для онкохирургии содержит блок управления, соединенный через блок электрохирургического воздействия с активным электродом, измерителями токов, через них с пассивными электродами и с вычислителем соотношения токов и блоком сравнения, с подключенным к нему блоком постоянной памяти. Кроме того, содержит соединенные между собой многочастотный измеритель импеданса, дифференциатор, тактовый генератор и развязывающее устройство. Многочастотный измеритель импеданса соединен одним своим входом/выходом через развязывающее устройство с активным электродом, второй выход многочастотного измерителя импеданса подключен через дифференциатор к блоку сравнения. К выходу блока сравнения подключен блок электрохирургического воздействия; тактовый генератор подключен к входу многочастотного измерителя импеданса, к входу развязывающего устройства, к выходу блока сравнения и к выходу блока электрохирургического воздействия. Использование изобретения позволяет во время хирургической операции постоянно оценивать структуру, физиологическое состояние биоткани и определять уровень оптимальной мощности электрохирургического воздействия. 2 з.п. ф-лы, 3 ил.
Изобретение относится к медицинской технике и может использоваться в хирургии, для рассечения и коагуляции мягких тканей организма.
Известен электрохирургический аппарат (RU 2154436, 7А61В 18/12 от 20.08.2000 г.). Этот электрохирургический аппарат содержит источник питания, высокочастотный генератор, схему коммутации, схему защиты и контроля, активный и пассивный электроды, датчики тока и напряжения, схему управления и индикации. Кроме того, имеется умножитель для определения мощности, компараторы, при этом в источник питания включен силовой каскад, к выходу которого подключен датчик тока, а между двумя его выходами – датчик напряжения. Вторые выходы датчиков тока и напряжения соединены с входами умножителя, выход которого через первый компаратор соединен с входом силового каскада вышеуказанного источника питания. Второй выход датчика напряжения соединен через второй компаратор со вторым входом силового каскада источника питания, а вторые входы компараторов соединены со схемой управления и индикации.
Недостатком данного электрохирургического аппарата является невозможность дифференциации биотканей по их структуре и физиологическим состояниям, включающим здоровое и патологическое их состояние, для принятия решения об уровне необходимой мощности.
Известен также аппарат электрохирургический (RU 2154437, 7А61В 18/12 от 20.08.2000 г.), который содержит корректор мощности, высоковольтный блок питания, блок управления, низковольтный блок питания, первый импульсный высокочастотный преобразователь, формирователь, второй импульсный высокочастотный преобразователь, третий импульсный высокочастотный преобразователь, задающий генератор, усилитель мощности, выходную цепь, активный и пассивный электроды. В аппарате используется корректор мощности, высоковольтный блок питания и система питания на базе импульсных высокочастотных преобразователей, организованная по распределительному принципу.
Аппарат электрохирургический (RU 2154437) имеет те же недостатки, что и предыдущий известный электрохирургический аппарат ((RU 2154436).
Известно устройство для холодовой радиочастотной абляции (RU 2285492, А61В 18/18, А61В 18/12, А61В 5/05 от 20.10.2006 г.), которое содержит источник тока высокой частоты, подключенный к биполярному электроду, размещенному в электропроводящей жидкости в блоке охлаждения, последовательно соединенные электрод измерительного тока, датчик емкостной составляющей измерительного тока, блок сравнения и сигнализатор, задатчик пороговых значений, выход которого соединен с другим входом блока сравнения, другой выход датчика емкостной составляющей измерительного блока соединен с измерительным входом источника тока высокой частоты, а электрод измерительного тока выполнен с возможностью установки на поверхности биообъекта вблизи или вокруг операционной зоны.
К недостаткам известного устройства относятся: невозможность дифференциации типов и физиологических состояний биологических тканей в операционной зоне на основе многочастотной импедансометрии, а также формирования определенной мощности воздействия ВЧ-током на биоткани в зависимости от их электрических параметров (интегрального параметра импеданса и коэффициента поляризации). Кроме того, в известном устройстве отсутствует возможность определения скорости движения активного электрода по биоткани во время воздействия, что может приводить как к ожогам, так и к недостаточному деструктивному воздействию на биоткань.
Известен импедансный электрохирургический аппарат (RU 2204351, 7А61В 18/12 от 20.05.2003 г.), который содержит блок управления, блок управляемого источника питания, генераторы высокой и низкой частоты, подключенные через первый и второй датчики тока, первый и второй датчики напряжения и блоки вычисления импеданса на высоких и низких частотах к активному и пассивному электродам. Блоки вычисления импеданса соединены с блоком вычисления поляризации по Тарусову, подключенным через блок сравнения к монитору. Второй вход блока сравнения связан с постоянно запоминающим устройством. Электрохирургический аппарат определяет величины импеданса биоткани на частотах 2 кГц и 440 кГц, вычисляет коэффициент поляризации Кп биоткани, который равен отношению величин импедансов. Путем сравнения вычисленного значения коэффициента поляризации Кп с заданными, определенными экспериментально и соответствующими здоровому или патологическому состоянию биоткани значениями Кп, производится идентификация физиологического состояния диагностируемой биоткани, после чего электрохирургический аппарат вырабатывает мощность электрохирургического воздействия, соответствующую полученным характеристикам.
Недостатком импедансного электрохирургического аппарата (RU 2204351) является то, что при выработке мощности электрохирургического воздействия не учитывается скорость движения активного электрода по биоткани. Другой недостаток заключается в том, что, в случае влияния внешних факторов, при тестировании биотканей только на двух частотах велика вероятность получения искаженных (ошибочных) величин импедансов биоткани и, соответственно, коэффициента поляризации Кп, что приводит к неточному диагностированию биоткани и, следовательно, неверному формированию выходной мощности электрохирургического воздействия.
Наиболее близким аналогом заявляемого изобретения является электрохирургический аппарат (RU 2204353, 7А61В 18/12, А61В 18/16 от 20.05.2003 г.). Электрохирургический аппарат содержит блок управления, блок питания, блок генератора, через датчик тока соединенный с активным электродом, датчик напряжения, включенный между ними, вычислитель импульсов и постоянное запоминающее устройство (ПЗУ). Кроме того, вход вычислителя соотношения токов через измерители тока в цепях пассивных электродов соединены с соответствующими пассивными электродами, выход – с первым входом блока управления, выход вычислителя импульса через блоки сравнения связан со вторым входом блока управления, а ко второму входу блока сравнения подключено ПЗУ.
В электрохирургическом аппарате-аналоге при формировании мощности электрохирургического воздействия учитывается скорость движения активного электрода по биоткани. Однако аппарат-аналог обладает тем же недостатком, что и электрохирургический аппарат (RU 2204351), а именно невысокая степень точности диагностирования различных структур и физиологических состояний биотканей. Это связано с тем, что диапазон измерений электрических характеристик, производимых данным аппаратом, недостаточно широкий, а влияние внешних факторов (электромагнитные помехи, топология биоткани, различные интраоперационные состояния биоткани и др.) еще более снижает точность идентифицирования и диагностирования биотканей. В результате неточной диагностики биотканей формируемая системой аппарата мощность электрохирургического воздействия, а также длительность электрохирургического воздействия оказываются неоптимальными для оперируемого участка биоткани, что увеличивает деструкцию тканей и ведет к осложнению последующей реабилитации больного.
Задачей заявляемого изобретения является создание электрической системы для онкохирургии, позволяющей формировать значения мощности электрохирургического воздействия, эффективные для удаления патологических биотканей и достаточные для рассечения и коагуляции здоровых биотканей, за счет повышения точности диагностирования биотканей различных типов и физиологических состояний и оптимизирования длительности цикла электрохирургического воздействия на биоткань.
Сущность заявляемого изобретения заключается в том, что в электрическую систему для онкохирургии, содержащую блок управления, соединенный через блок электрохирургического воздействия с активным электродом, измерителями токов, через них с пассивными электродами и с вычислителем соотношения токов и блоком сравнения, с подключенным к нему блоком постоянной памяти, введены соединенные между собой многочастотный измеритель импеданса, дифференциатор, тактовый генератор и развязывающее устройство, при этом многочастотный измеритель импеданса соединен одним своим входом/выходом через развязывающее устройство с активным электродом, второй выход многочастотного измерителя импеданса подключен через дифференциатор к блоку сравнения; к выходу блока сравнения подключен блок электрохирургического воздействия; тактовый генератор подключен к входу многочастотного измерителя импеданса, к входу развязывающего устройства, к выходу блока сравнения и к выходу блока электрохирургического воздействия.
Многочастотный измеритель импеданса включает соединенные между собой генератор сигнала в диапазоне частот от 0,5 до 2000 кГц, датчики тока и напряжения, делитель значений сигнала, регистровую память.
Благодаря введению в предлагаемую электрическую систему многочастотного измерителя импеданса становится возможным измерение величины электрического импеданса Z биоткани при различных частотах f импульса в широком диапазоне и формирование функциональной зависимости Z(f).
Введение в электрическую систему дифференциатора обеспечивает вычисление на базе измеренных значений Z(f) коэффициента поляризации Кп и интегральной величины импеданса Zs. Таким образом, каждая функция Z(f) характеризуется не одним значением Кп, как в случае двухчастотного измерения импеданса, а целым набором значений Кп, каждый из которых более точно характеризует определенный тип биоткани в ее определенном физиологическом состоянии. Вычисление интегральной величины импеданса Zs позволяет, в случае возникновения помех в электрической системе, нивелировать частные недостоверные значения импеданса Z на определенных частотах, а также отслеживать изменение значений Z(f) в зависимости от физиологического состояния биоткани.
Таким образом, формируется более широкий набор более точных и достоверных значений характеристик исследуемой (диагностируемой) биоткани, позволяющий более точно диагностировать, путем сравнения полученных значений частных Кп и Zs с заданными значениями из базы данных, различные типы и физиологические состояния биоткани. Это, в свою очередь, обусловливает то, что определяемые значениями Кп и Zs, формируемые значения мощности электрохирургического воздействия более оптимальны для полноценного удаления патологических биотканей и для рассечения и коагуляции здоровых биотканей.
Введенный в электрохирургическую систему тактовый генератор позволяет, после получения им от блока сравнения управляющего сигнала, устанавливающего длительность цикла электрохирургического воздействия, автоматически переключать систему в режим работы с блоком электрохирургического воздействия и, по окончании цикла электрохирургического воздействия, в режим работы с многочастотным измерителем импеданса. При этом введенное в систему развязывающее устройство осуществляет включение/отключение электрической связи между активным электродом и многочастотным измерителем импеданса. Такое автоматическое регулирование режимов работы системы, заданных блоком сравнения в зависимости от значения скорости движения активного электрода и значения измеренного импеданса, позволяет оптимизировать длительность цикла электрохирургического воздействия на биоткани, т.е. позволяет обеспечить такую длительность цикла воздействия выходной мощностью, которая достаточна для полной деструкции патологичной биоткани и, одновременно, исключает чрезмерное расширение зоны необратимых изменений здоровой биоткани, к которому может привести излишне длительное воздействие на биоткань.
Выход блока управления электрической системы для онкохирургии может быть соединен с входом дифференциатора. Это дает возможность хирургу с блока управления осуществлять корректировку вычисляемых дифференциатором значений Кп и Zs в случае возникновения во время проведения операции различных интраоперационных состояний (кровотечения, некроз и т.п.), когда имеет смысл говорить об изменении электрофизических свойств биотканей. Тем самым, снижается вероятность ошибки при диагностировании типа и физиологического состояния биоткани, а, значит, дополнительно повышается точность при определении режима электрохирургического воздействия на биоткань.
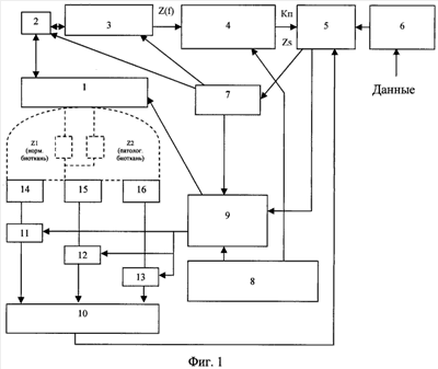
Сущность заявляемого изобретения поясняется графическими изображениями, где на фиг.1 представлена функциональная схема системы для онкохирургии, на фиг.2 представлены кривые, характеризующие частотное распределение электроимпеданса мышц при двухчастотной (а) и многочастотной (б) импедансометрии, на фиг.3 представлены кривые, характеризующие многочастотную электроимпедансометрию здоровой биоткани стенки тонкой кишки в 2-х экспериментах.
Электрическая система для онкохирургии (фиг.1) содержит активный электрод 1, развязывающее устройство 2, многочастотный измеритель импеданса 3, дифференциатор 4, блок сравнения 5, блок постоянной памяти 6, тактовый генератор 7, блок управления электрической системой для онкохирургии 8, блок электрохирургического воздействия 9, вычислитель соотношения токов 10, измерители токов 11, 12, 13, пассивные электроды 14, 15, 16. В блоке постоянной памяти 6 хранятся следующие данные: средние значения характеристик нормальных и патологических биотканей, значения мощности, необходимые для проведения электрохирургического воздействия с обеспечением стабильного гемостаза и оптимальной абляции в операционной ране, с образованием минимальной зоны необратимых изменений здоровой биоткани.
При этом вход-выход многочастотного измерителя импеданса 3 соединен через развязывающее устройство 2 с активным электродом 1, второй выход многочастотного измерителя импеданса 3 подключен через дифференциатор 4 к блоку сравнения 5; ко второму входу блока сравнения 5 подключен блок постоянной памяти 6, к третьему входу подключен вычислитель соотношения токов 10, а к выходу подключен блок электрохирургического воздействия 9; к одному из выходов блока электрохирургического воздействия 9 подключен активный электрод 1, а к другому выходу – через измерители токов 11, 12, 13 – подключены пассивные электроды 14, 15, 16 и вычислитель соотношения токов 10; к одному из входов блока электрохирургического воздействия 9 подключен блок управления электрической системой для онкохирургии 8, к другому входу – тактовый генератор 7; тактовый генератор 7 подключен к входу многочастотного измерителя импеданса 3, к входу развязывающего устройства 2 и к выходу блока сравнения 5.
Выход блока управления электрической системы для онкохирургии 8 может быть соединен с входом дифференциатора 4.
В качестве развязывающего устройства 2 может быть использован двунаправленный коммутатор. Дифференциатор 4 может быть реализован на базе микроконтроллера. В качестве блока электрохирургического воздействия может быть использована система генератора мощности с регулируемыми параметрами.
Многочастотный измеритель импеданса включает соединенные между собой генератор сигнала в диапазоне частот от 0,5 до 2000 кГц, датчики тока и напряжения, делитель значений сигнала, регистровую память (на фиг. не показано).
Электрическая система для онкохирургии работает следующим образом. Многочастотный измеритель импеданса 3 измеряет величину электрического импеданса Z биоткани в операционном поле между активным электродом 1 и пассивными электродами 14, 15, 16 в диапазоне частот от 0,5 до 2000 кГц, в результате чего формируется функциональная зависимость (фиг.2(б)):
Z(f)=U(f)/I(f).
Дифференциатор 4 на базе значений Z(f) вычисляет по формулам электрические параметры Z(f):
частные коэффициенты поляризации Кп

и интегральный параметр импеданса Zs
где n – количество частот измерений,
или 
Представленные на фиг.2 (а, б) кривые, характеризующие частотное распределение электроимпеданса мышц при двухчастотной (а) и многочастотной (б) импедансометрии, иллюстрируют, что функция Z(f) характеризуется не одним значением Кп, вычисленным на базе двух значений электроимпеданса Zf1 и Zf2, как в случае двухчастотного измерения импеданса (фиг.2а), а целым набором значений Кп, вычисленных на базе нескольких значений (Zf1, Zf2 Zfn), каждый из которых более точно характеризует определенный тип биоткани в ее определенном физиологическом состоянии.
В результате возникновения помех в электрической системе отдельные значения импеданса Z, соответствующие определенным частотам, могут быть искажены (фиг.3) и, следовательно, точность диагностирования с использованием частных коэффициентов поляризации Кп может быть снижена. В этом случае вычисленная интегральная величина Zs позволяет нивелировать частные недостоверные значения импеданса Z на определенных частотах. Так, используя для измерений импеданса, по меньшей мере, 5-6 опорных частот, при искажении значений импеданса на двух из них, степень точности диагностирования интегральным методом будет достаточно высока даже при использовании в качестве расчетных данных значений импедансов, соответствующих всем частотам.
Когда выход блока управления электрической системы для онкохирургии 8 соединен с входом дифференциатора 4, то, в случае возникновения во время проведения операции определенных интраоперационных состояний (кровотечения, некроз и т.п.), когда вероятно изменение электрофизических свойств биотканей, существует дополнительная возможность осуществлять корректировку вычисляемых дифференциатором 4 значений Кп и Zs. Для этого хирург во время работы системы с помощью отдельных элементов управления (на фиг. не показано), размещенных на блоке управления 8, вводит поправочные коэффициенты Кр и Kz, соответствующие возникшим интраоперационным состояниям, с учетом которых дифференциатор корректирует, соответственно, значения Кп и Zs:
 
Вычисленные и, при необходимости, откорректированные дифференциатором 4 значения Кп и Zs поступают в блок сравнения 5, в котором, путем сравнения полученных значений Кп и Zs со значениями, установленными экспериментально и введенными в базу данных блока постоянной памяти 6, определяется тип и вид физиологического состояния биоткани и определяется значение выходной мощности, соответствующее данному типу и диагнозу биоткани. Значение мощности корректируется блоком сравнения 5 с учетом поступившего от вычислителя соотношения токов 10 сигнала, определяемого скоростью перемещения активного электрода 1 (скорость перемещения активного электрода 1 определяется вычислителем соотношения токов 10 на основании данных об изменении токов в цепях пассивных электродов 14, 15, 16, регистрируемых измерителями токов 11, 12, 13).
После проведения описанных выше вычислений блок сравнения 5 формирует модулированный сигнал, поступающий на блок электрохирургического воздействия 9 и определяющий значение выходной мощности воздействия и, одновременно с этим, управляющий сигнал, переключающий тактовый генератор 7 в режим работы с блоком электрохирургического воздействия 9 и разрывающий электрическую связь между активным электродом 1 и многочастотным измерителем импеданса 3 с помощью развязывающего устройства 2. Блок сравнения 5 устанавливает длительность цикла электрохирургического воздействия, которая обратно пропорциональна скорости движения активного электрода 1 и прямо пропорциональна измеренному электрическому импедансу Z. Режимы работы блока электрохирургического воздействия 9 (вид диссекции и коагуляции, а также соответствующий им уровень мощности) определяет хирург через блок управления системой 8.
Таким образом, за счет повышения точности диагностирования биотканей и оптимизирования длительности цикла электрохирургического воздействия, на выходе блока электрохирургического воздействия 9 формируется выходная мощность электрохирургического воздействия, эффективная для удаления (деструкции) патологических биотканей и достаточная для рассечения и коагуляции здоровых биотканей, которой воздействуют на оперируемый участок биоткани через активный 1 и пассивные 14, 15, 16 электроды.
По окончании цикла электрохирургического воздействия блок сравнения 5 формирует сигнал, определяющий значение выходной мощности воздействия равным нулю, и, одновременно, сигнал, переключающий тактовый генератор 7 в режим работы с многочастотным измерителем импеданса 3.
Формула изобретения
1. Электрическая система для онкохирургии, содержащая блок управления, соединенный через блок электрохирургического воздействия с активным электродом, измерителями токов, через них с пассивными электродами и с вычислителем соотношения токов и блоком сравнения с подключенным к нему блоком постоянной памяти, отличающаяся тем, что к активному электроду через развязывающее устройство подключен многочастотный измеритель импеданса, выход которого подключен к дифференциатору, который подключен к одному из входов блока сравнения, ко второму входу многочастотного измерителя импеданса подключен тактовый генератор, один из выходов которого подключен к блоку электрохирургического воздействия, другой выход подключен к развязывающему устройству, а вход подключен к блоку сравнения.
2. Электрическая система для онкохирургии по п.1, отличающаяся тем, что блок управления соединен с дифференциатором.
3. Электрическая система для онкохирургии по п.1 или 2, отличающаяся тем, что многочастотный измеритель импеданса включает соединенные между собой генератор сигнала в диапазоне частот от 0,5 до 2000 кГц, датчики тока и напряжения, делитель значений сигнала, регистровую память.
РИСУНКИ
|
|