|
|
(21), (22) Заявка: 2007134631/14, 17.09.2007
(24) Дата начала отсчета срока действия патента:
17.09.2007
(46) Опубликовано: 10.05.2009
(56) Список документов, цитированных в отчете о поиске:
6, с.51-58. RU 2257175 С2, 27.07.2005. RU 2214192 С2, 20.10.2003. MSEDDI М.В. “Ilizarov fixation of supramalleolar fractures”. Rev Chir Orthop Reparatrice Appar Mot. 2005 Feb; 91(1):58-63 (Abstract).
Адрес для переписки:
192242, Санкт-Петербург, ул. Будапештская, 3, ГУ СПб НИИ скорой помощи, Патентно-информационный отдел
|
(72) Автор(ы):
Багненко Сергей Федорович (RU), Кашанский Юрий Борисович (RU), Кучеев Иван Олегович (RU), Рзаев Рамин Сахавет оглы (RU), Пивнюк Виталий Станиславович (RU)
(73) Патентообладатель(и):
Государственное учреждение Санкт-Петербургский научно-исследовательский институт скорой помощи им. И.И. Джанелидзе (RU)
|
(54) СПОСОБ СОЕДИНЕНИЯ КОСТИ С АППАРАТОМ ВНЕШНЕЙ ФИКСАЦИИ ПРИ ЧРЕСКОСТНОМ ОСТЕОСИНТЕЗЕ
(57) Реферат:
Изобретение относится к медицине, а именно к травматологии и ортопедии, в частности к способам остеосинтеза аппаратами внешней фиксации. Вводят в кость наружный резьбовой стержень и в одной плоскости по обе стороны от наружного резьбового стержня короткие спицы под углом не менее 10 градусов к нему. Закрепляют в едином фиксационном узле, причем вначале короткие спицы – неподвижно, а затем наружный резьбовой стержень – после линейного перемещения по нему фиксационного узла с короткими спицами. Перемещение производят в процессе всего периода лечения с интервалом 10-12 дней. Способ обеспечивает прочность соединения кость-аппарат при чрескостном остеосинтезе в течение всего периода лечения, исключение послеоперационных осложнений, сокращение сроков лечения. 1 ил.
Изобретение относится к области хирургии, травматологии, ортопедии, в частности к способам наружной фиксации костных отломков.
Известен способ соединения кости с аппаратом внешней фиксации наружными винтами Шанца (Schanz screw). Винты прикрепляются к аппарату с помощью вращающихся зажимов (М.Е.Мюллер, М.Альговер, Р.Шнайдер, Х.Виллинеггер. Руководство по внутреннему остеосинтезу. Методика, рекомендованная группой AO-Springer-Verlad. – 1996. – Berlin. С.80, 368).
Недостатком указанного способа является то, что физиологическая резорбция костной ткани, смещающие усилия, возникающее за счет тяги мышц и физической нагрузки на поврежденный сегмент опорно-двигательной системы, приводят к расшатыванию винтов и, как следствие, к снижению жесткости соединения их с костью, а также создают условия для развития воспаления мягких тканей и кости. Кроме того, применение одного винта Шанца не обеспечивает возможности репозиции перелома в аппарате во всех плоскостях из-за прокручивания стержня в кости.
6. – С.51-58).
К недостаткам способа, выбранного в качестве прототипа, относится использование для фиксации гладких спиц, удержание которых в кости достигается лишь за счет введения их в разных плоскостях. При этом угол введения между спицами ограничен диаметром кости и глубиной ее нахождения от поверхности кожи. Кроме того, некоторый изгиб спиц при их закреплении в фиксаторе обеспечивает с костью лишь временную жесткость соединения, которая уменьшается по мере наступления резорбции костной ткани и расшатывания спиц.
Задачей предложенного изобретения является обеспечение прочности соединения аппарат-кость при чрескостном остеосинтезе в течение всего периода, необходимого для заживления повреждений опорно-двигательной системы, и сокращение числа осложнений.
Предлагаемый способ соединения кости с аппаратом для чрескостного остеосинтеза включает введение в кость резьбового наружного стержня и коротких спиц, расположенных в одной плоскости по обе стороны от наружного резьбового стержня и под углом не менее 10° к нему, и закрепление их в одном фиксационном узле, при этом короткие спицы закрепляются неподвижно вначале, а резьбовой наружный стержень – потом и имеет возможность линейного перемещения вдоль его продольной оси фиксационного узла и коротких спиц.
Линейное перемещение резьбового наружного стержня обеспечивают вдавливание коротких спиц в кость, создает напряжение между ними и резьбовым наружным стержнем, что увеличивает прочность соединения кость-аппарат. При этом проведение таких повторных манипуляций в процессе лечения позволяет компенсировать физиологическую резорбцию кости, расшатывание конструкций и препятствует развитию воспаления окружающих конструкции тканей.
По данным научно-технической и патентной литературы введение и фиксация таким образом резьбового наружного стержня и коротких спиц, закрепленных в одном фиксационном узле, для обеспечения постоянной жесткости соединения кость-аппарат на весь период лечения неизвестно.
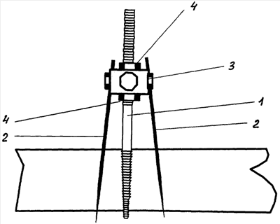
Осуществление способа показано на чертеже.
После обезболивания в кость вводится резьбовой наружный стержень (1) и в одной и той же плоскости по обе стороны от резьбового наружного стержня под углом не менее 10 к нему две короткие спицы (2). Резьбовой наружный стержень и короткие спицы закрепляются в фиксационном узле (3), причем вначале короткие спицы – неподвижно, а затем резьбовой наружный стержень – после линейного перемещения по нему фиксатора с короткими спицами за счет гаек (4). Вокруг коротких спиц (2) и резьбового наружного стержня (1) накладываются спиртовые салфетки. Линейное перемещение фиксационного узла (3) с короткими спицами (2) вдоль гаек (4) резьбового наружного стержня (1) проводится каждые 10-12 дней.
Суть предлагаемого способа поясняется примером. Больной Завьялов А.Ю., 50 лет, и/б 6680, находился на лечении с 10.01.07 г. по 24.01.07 г. с диагнозом: автотравма, сотрясение головного мозга, закрытый перелом 3-7 ребер справа, разрыв симфиза. При поступлении в передне-верхние ости подвздошных костей введены два резьбовых наружных стержня и четыре короткие спицы описанным выше способом, которые закреплены в двух фиксационных узлах, которые соединены резьбовым стержнем, обеспечившим сближение подвздошных костей и устранение расхождения симфиза. Фиксация в аппарате 2 месяца. В процессе лечения жесткость фиксации поддерживалась пятикратным линейным перемещением фиксационных узлов с короткими спицами вдоль резьбовых наружных стержней в соответствии с описанной выше методикой. Результат – выздоровление без осложнений.
Предлагаемый способ соединения кость-аппарат при чрескостном остеосинтезе позволяет обеспечить жесткость фиксации конструкций в кости на весь период лечения и избежать развития воспаления тканей в местах введения резьбового наружного стержня и коротких спиц.
Формула изобретения
Способ соединения кости с аппаратом внешней фиксации при чрескостном остеосинтезе, включающий введение в отломки резьбовых наружных стержней и коротких спиц, отличающийся тем, что вводят в кость наружный резьбовой стержень и в одной плоскости по обе стороны от наружного резьбового стержня короткие спицы под углом не менее 10° к нему, закрепляют в едином фиксационном узле, причем вначале короткие спицы – неподвижно, а затем наружный резьбовой стержень – после линейного перемещения по нему фиксационного узла с короткими спицами, при этом перемещение производят в процессе всего периода лечения с интервалом 10-12 дней.
РИСУНКИ
|
|