|
|
(21), (22) Заявка: 2007109444/12, 15.03.2007
(24) Дата начала отсчета срока действия патента:
15.03.2007
(43) Дата публикации заявки: 20.09.2008
(46) Опубликовано: 10.05.2009
(56) Список документов, цитированных в отчете о поиске:
US 3707930 А, 02.01.1973. DE 3102790 A1, 14.10.1982. US 5845590 A, 08.12.1998. WO 99/62375 A2, 09.12.1999. RU 2290853 C1, 10.01.2007.
Адрес для переписки:
127081, Москва, ул. Полярная, 17, корп.1, кв.84, А.В. Макарову
|
(72) Автор(ы):
Макаров Александр Владимирович (RU)
(73) Патентообладатель(и):
Макаров Александр Владимирович (RU)
|
(54) РЕГУЛИРУЕМЫЙ СТОЛ
(57) Реферат:
Изобретение относится к мебели, предназначенной для размещения различной аппаратуры, в частности компьютерной, и обеспечивающей возможность взаимного регулирования элементов стола. Регулируемый стол содержит столешницу, установленную на вертикальной опоре и снабженную механизмом изменения ее высоты и средствами стопорения вертикальной опоры от вращения. Вертикальная опора выполнена в виде штанги, снабженной узлами установки ее в распор между верхней и нижней поверхностями. Механизм изменения высоты выполнен в виде соединенной с приводом винтовой пары, ходовой винт которой установлен посредством кронштейна на штанге, а гайка – на ползуне, установленном с возможностью перемещения вдоль штанги, с жестко закрепленной столешницей. Узлы установки штанги в распор снабжены элементами фиксации на поверхностях. В столе обеспечивается расширение диапазона регулирования и улучшение эргономичности при уменьшении занимаемой площади. 4 з.п. ф-лы, 5 ил.
Изобретение относится к мебели, предназначенной для размещения различной аппаратуры, в частности компьютерной, и обеспечивающей возможность взаимного регулирования элементов стола.
Известен регулируемый по высоте стол с одной опорой по центру масс, способный вращаться вокруг вертикальной оси [1]. Хотя данный стол не обладает недостатками большинства изготавливаемых в настоящее время рабочих столов: отсутствие каких-либо регулировок и по форме напоминающих громоздкие тумбы, но конструкция этого стола все же не отвечает всем современным требованиям. Большой разброс антропометрических параметров между взрослыми и детьми, пренебрежительное отношение к положению тела при работе за столом приводит к ранним искривлениям позвоночника у детей и усугублению этого в подростковом и юношеском возрасте.
Установлено, что давление на межпозвонковые диски (хрящевые прокладки между позвонками) увеличивается (по сравнению с горизонтальным положением) в 2 раза в вертикальном положении и в 4 раза в положении сидя (особенно в удобном кресле, когда мышцы расслаблены и вся нагрузка ложится на межпозвонковые структуры). Поэтому большому риску возникновения болей в спине подвержены люди, длительно работающие в вынужденном сидячем положении (водители транспорта, пользователи компьютеров и т. п.)[2].
Рассматриваемый в качестве аналога стол не может обеспечить работу человека в положении стоя, а консольное закрепление столешницы усложняет ручное регулирование ее высоты. Нижняя опора, выполненная в виде трехлучевой звезды, не обеспечивает одинаковой устойчивости стола во всех направлениях, а также может мешать удобной посадке человека. При уменьшении длины лучей нижней опоры снижается устойчивость конструкции (увеличивается вероятность опрокидывания).
Известен также взятый в качестве прототипа компьютерный стол – терминальная компьютерная станция для ввода и вывода данных, содержащая массивное основание в форме усеченного конуса с колонной по центру, на верхнем торце которой располагается круглая регулируемая по высоте и углу наклона подставка под монитор компьютера и серповидный столик. При этом для регулировки наклона подставки под монитор и жесткого закрепления положения высоты колонны используется система винт-гайка, а изменение высоты происходит за счет свободного скольжения колонны в станине [3].
Однако недостатком данного стола является сложность его конструкции и неустойчивость при уменьшении диаметра основания или неудобство работы за ним при увеличении основания, а также невозможность работы, стоя за столом.
Задачей предлагаемого регулируемого стола является расширение диапазона регулирования, улучшение эргономичности, уменьшение занимаемой площади.
Технический результат данного изобретения достигается тем, что в регулируемом столе, содержащем столешницу, установленную на вертикальной опоре и снабженную механизмом изменения ее высоты, а также средствами стопорения вертикальной опоры от вращения, в отличие от известного, вертикальная опора выполнена в виде штанги, снабженной узлами установки ее в распор между верхней и нижней поверхностями, а механизм изменения высоты выполнен в виде соединенной с приводом винтовой пары, ходовой винт которой установлен посредством кронштейна на штанге, а гайка – на ползуне, установленном с возможностью перемещения вдоль штанги, с жестко закрепленной столешницей, при этом узлы установки штанги в распор снабжены элементами фиксации на поверхностях.
При этом винтовая пара снабжена закрепленным на ползуне кожухом, на котором размещены элементы крепления аппаратуры.
Также для достижения результата нижний узел установки штанги в распор выполнен в виде зафиксированного на поверхности диска с полусферическим углублением по оси вращения, винта и размещенного со стороны нижнего торца штанги вкладыша с резьбовым отверстием, при этом полусферическая оконечность винта контактирует с полусферическим углублением диска, а винт установлен с возможностью фиксации его относительно вкладыша.
При этом нижний узел установки штанги в распор снабжен декоративным кожухом, закрывающим винт, установленный в резьбовое отверстие вкладыша, размещенного в нижнем торце штанги, при этом декоративный кожух оперт на диск узла установки штанги в распор, а с другой стороны надет на штангу.
А верхний узел установки штанги в распор выполнен в виде зафиксированного на поверхности диска с полусферическим углублением по оси вращения, а также вкладыша, опирающегося на диск посредством упругой фрикционной прокладки и жестко установленного в верхнем торце штанги, при этом на вкладыше выполнен выступ, цилиндрическая образующая которого переходит в полусферическую, контактирующую с полусферическим углублением диска.
Улучшение эргономичности достигается за счет обеспечения более удобной работы пользователя персонального компьютера; быстрое изменение уровня столешницы, появляется возможность работы стоя и сидя за столом. При этом обеспечивается перераспределение нагрузки на опорно-двигательный аппарат человека, что благотворно сказывается на общем состоянии организма.
Для уменьшения занимаемой площади максимально оптимизировано размещение составных частей персонального компьютера.
Суть изобретения поясняется фиг.1-5, на которых приведены:
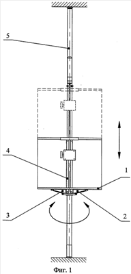
на фиг.1 – главный вид;
на фиг.2 – вид на регулируемый стол слева;
на фиг.3 – регулируемый стол в изометрии;
на фиг.4 – продольный разрез нижнего узла установки штанги;
на фиг.5 – продольный разрез верхнего узла установки штанги.
Регулируемый стол, содержащий столешницу 1 с кронштейнами 2 и 3, закрепленную на ползуне 4, установленном на вертикальной штанге 5, снабженной узлами установки ее в распор 6 и 7 между нижней и верхней поверхностями и механизмом изменения высоты, выполненным в виде соединенного с приводом 8 винтовой пары, ходовой винт 9 которой установлен посредством кронштейна 10 на штанге 5, а гайка 11 – на ползуне 4, установленным с возможностью перемещения вдоль штанги 5.
Винтовая пара снабжена закрепленным на ползуне 4 кожухом 12, на котором размещены элементы крепления аппаратуры 13.
Нижний узел установки 6 штанги в распор выполнен в виде зафиксированного на поверхности диска 14 с полусферическим углублением по оси вращения штанги винта 15 и размещенного со стороны нижнего торца штанги вкладыша 16 с резьбовым отверстием по оси вращения штанги, при этом полусферическая оконечность винта контактирует с полусферическим углублением диска. Нижний узел установки штанги в распор снабжен декоративным кожухом 17, закрывающим винт 15, установленный в резьбовое отверстие вкладыша, размещенного в нижнем торце штанги, при этом декоративный кожух 17 оперт на диск 14 узла установки штанги в распор, а с другой стороны надет на штангу 5. При этом диск 14 крепится к полу установочными винтами 18. Винт 15 установлен с возможностью фиксации его относительно вкладыша 16 с помощью фиксирующего винта 19.
Верхний узел установки штанги в распор 5 выполнен в виде зафиксированного на поверхности диска 20 с полусферическим углублением по оси вращения штанги, а также вкладыша 21, опирающегося на диск посредством упругой фрикционной прокладки 22 и жестко установленного в верхнем торце штанги, при этом на вкладыше выполнен выступ по оси вращения штанги, цилиндрическая образующая которого переходит в полусферическую, контактирующую с полусферическим углублением диска.
Штанга 5 выполнена из трубы круглого сечения диаметром 48 мм, имеющей на наружной поверхности хромовое покрытие, обеспечивающее износостойкость поверхности и привлекательный внешний вид. В процессе сборки на штангу 5 нанизывается кронштейн 10 и ползун 4, представляющий собой трубу круглого сечения, внутренний диаметр которой больше внешнего диаметра штанги, а к торцам приварены площадки, обеспечивающие скольжение при перемещении ползуна 4 по штанге 5. На ползуне от верхней площадки до нижней выполнен сквозной симметрично расположенный продольный паз, длиной 514 мм в который при монтаже устанавливается и жестко закрепляется на штанге направляющий элемент, позволяющий ползуну передвигаться вдоль штанги на длину паза.
Со стороны нижнего торца на штангу 5 насаживается декоративный кожух 17 и устанавливается вкладыш 16 с регулировочным винтом 15, а в верхний торец устанавливается вкладыш 21 и жестко закрепляется там при помощи двух вывинчивающихся установочных винтов 23.
В выбранном месте установки регулируемого стола в потолочном перекрытии по отверстиям в диске 20 размечается и сверлится центральное отверстие под установку дюбеля 24 и три периферийных глухих отверстия под установочные винты 25, работающие при эксплуатации стола на срез. Диск 20 фиксируется на потолочном перекрытии болтом 26, ввинчивающимся в дюбель.
От центра, установленного на потолочном перекрытии, диска 20 по отвесу определяется расположение на полу центра диска 14. Если покрытие пола деревянное, то диск с ввинченными и заостренными установочными винтами 18 забивается в пол молотком, если же пол имеет твердое покрытие (бетон, керамическая плитка и т.п.), то необходимо, как описано в операции установки диска 20 на потолочное перекрытие, разметить и просверлить периферийные глухие отверстия под установочные винты аналогичные по исполнению установочным винтам 25.
Собранная ранее штанга, с насажанной на цилиндрический выступ вкладыша 21 деформируемой фрикционной прокладкой 22, устанавливается полусферой свободной оконечности регулировочного винта 15 в полусферическое углубление диска 14, расположенное по центру. Регулировочный винт вывинчивается из вкладыша 16 до контакта полусферического углубления диска 20 с полусферической оконечностью цилиндрического выступа вкладыша 21, установленного ранее в верхний торец штанги. Фиксирующий винт 19 заворачивается до упора, в один из двух диаметрально противоположных продольных паза, выполненных на резьбовой части регулировочного винта, и стопорится.
При несовпадении центра резьбового отверстия под установочный винт 19 с центром продольного паза, необходимо вывернуть регулировочный винт 15 до совмещения центра резьбового отверстия с центром ближайшего продольного паза, завернуть и застопорить установочный винт. Декоративный кожух 17 опускается по штанге до упора в диск 14, закрывая регулировочный винт 15, и удерживается в этом положении силой тяжести.
В сквозное отверстие верхней площадки ползуна через сквозное отверстие в кронштейне 10, жестко закрепленного на штанге, устанавливается ходовой винт 9, на который со стороны нижней поверхности верхней площадки ползуна навинчивается гайка 11. Для компенсации неточностей в изготовлении и монтаже деталей контактирующие поверхности ходового винта с кронштейном и гайки с ползуном выполнены в виде полусферы.
В цилиндрическое углубление вокруг гайки 11 через отверстие в нижней площадке ползуна 4 устанавливается и фиксируется кожух 12, выполненный в виде отрезка тонкостенной трубы и закрывающий резьбовую часть ходового винта 9 при его ввинчивании в гайку. На кожух 12 устанавливается кронштейн 13 для крепления монитора.
Столешница 1 устанавливается на кронштейны 2 и 3, жестко закрепленные на верхней поверхности нижней площадки ползуна. В столешнице выполнен симметричный продольной оси вырез, который позволяет при установке столешницы разместить ползун ближе к ее центральной части.
На шестигранный хвостовик ходового винта 9 устанавливается мотор-редуктор 8, который представляет собой бытовую аккумуляторную отвертку с возможностью регулирования крутящего момента.
Длина резьбовой части ходового винта 9, размещение направляющего элемента для ползуна 4 и место закрепления кронштейна 10 обеспечивают диапазон регулирования столешницы по высоте от 700 мм до 1200 мм, а упругая фрикционная прокладка 22 предотвращает свободное вращение регулируемого стола вокруг оси штанги 5.
Регулируемый стол работает следующим образом. Вращательный момент от мотора-редуктора 8 передается на ходовой винт 9, который в зависимости от направления вращения перемещает ползун 4 с кронштейнами 2, 3 и столешницей 1 по вертикальной штанге 5 вниз или вверх. При нахождении столешницы 1 в нижнем положении пользователь имеет возможность работать на персональном компьютере сидя на стуле, подняв столешницу 1 в верхнее положение, он может работать стоя.
Варьируя нагрузку на опорно-двигательный аппарат человека в течение рабочего дня можно предупредить возникновение застойных явлений в организме человека и снизить усталость.
Штанга установленная в распор между полом и потолком является дополнительной опорой для плиты перекрытия, а следовательно, снижает вероятность обрушения перекрытия при землетрясениях.
Литература
1. European patent 85303990.7, А47В 11/00, 05.06.85.
2. Сапегин А.Н., Сорокин С.Д., Кушнир Ю. В. СКЕЛЕТНО-МЫШЕЧНЫЕ БОЛИ В СПИНЕ: ЛЕЧЕБНО-ПРОФИЛАКТИЧЕСКИЕ РЕКОМЕНДАЦИИ. – М.:, 2006. – 15 с.: ил.
3. Patent U.S. 4365561, А47В 11/00, Dec. 28, 1982 – прототип.
Формула изобретения
1. Регулируемый стол, содержащий столешницу, установленную на вертикальной опоре и снабженную механизмом изменения ее высоты и средствами стопорения вертикальной опоры от вращения, отличающийся тем, что вертикальная опора выполнена в виде штанги, снабженной узлами установки ее в распор между верхней и нижней поверхностями, а механизм изменения высоты выполнен в виде соединенной с приводом винтовой пары, ходовой винт которой установлен посредством кронштейна на штанге, а гайка – на ползуне, установленном с возможностью перемещения вдоль штанги, с жестко закрепленной столешницей, при этом узлы установки штанги в распор снабжены элементами фиксации на поверхностях.
2. Регулируемый стол по п.1, отличающийся тем, что винтовая пара снабжена закрепленным на ползуне кожухом, на котором размещены элементы крепления аппаратуры.
3. Регулируемый стол по п.1, отличающийся тем, что нижний узел установки штанги в распор выполнен в виде зафиксированного на поверхности диска с полусферическим углублением по оси вращения штанги, винта и размещенного со стороны нижнего торца штанги вкладыша с резьбовым отверстием по оси вращения штанги, при этом полусферическая оконечность винта контактирует с полусферическим углублением диска, а винт установлен с возможностью фиксации его относительно вкладыша.
4. Регулируемый стол по п.1 или 3, отличающийся тем, что нижний узел установки штанги в распор снабжен декоративным кожухом, закрывающим винт, установленный в резьбовое отверстие вкладыша, размещенного в нижнем торце штанги, при этом декоративный кожух оперт на диск узла установки штанги в распор, а с другой стороны надет на штангу.
5. Регулируемый стол по п.1, отличающийся тем, что верхний узел установки штанги в распор выполнен в виде зафиксированного на поверхности диска с полусферическим углублением по оси вращения штанги, а также вкладыша, опирающегося на диск посредством упругой фрикционной прокладки и жестко установленного в верхнем торце штанги, при этом на вкладыше выполнен выступ по оси вращения штанги, цилиндрическая образующая которого переходит в полусферическую, контактирующую с полусферическим углублением диска.
РИСУНКИ
|
|