|
|
(21), (22) Заявка: 2007128280/12, 23.07.2007
(24) Дата начала отсчета срока действия патента:
23.07.2007
(46) Опубликовано: 10.05.2009
(56) Список документов, цитированных в отчете о поиске:
SU 1496723 A1, 30.07.1989. RU 2214707 C2, 27.10.2003. RU 2197083 C1, 27.01.2003. DE 4134277 A1, 22.04.1993.
Адрес для переписки:
160555, г.Вологда, с. Молочное, ул. Шмидта, 2, ФГОУВПО ВГМХА им. Н.В. Верещагина, отдел науки
|
(72) Автор(ы):
Кузнецов Мануил Аркадьевич (RU), Кузнецова Жанна Юрьевна (RU)
(73) Патентообладатель(и):
Федеральное государственное образовательное учреждение высшего профессионального образования “Вологодская государственная молочнохозяйственная академия им. Н.В. Верещагина” (RU)
|
(54) УСТРОЙСТВО ДЛЯ ОХЛАЖДЕНИЯ МОЛОКА НА ФЕРМАХ С УТИЛИЗАЦИЕЙ ТЕПЛА
(57) Реферат:
Изобретение относится к сельскому хозяйству и предназначено для охлаждения молока в потоке при дойке коров на доильных установках с молокопроводом. Устройство для охлаждения молока на фермах с утилизацией тепла, содержащее молокопровод с групповыми счетчиками, молокосборник, молочный насос, пластинчатые охладители, систему автопоения, баки подогретой воды, танк для хранения молока, насосы подачи воды в систему автопоения и в охладители молока, отличающееся тем, что на входе в охладитель холодной воды из башни и на выходе из него, на линии системы автопоения коров, введены электромагнитные клапаны, которые открываются и закрываются по командам блока управления, контактирующего с магнитным пускателем включения и отключения молочного насоса. Предлагаемое устройство позволит улучшить надежность работы, увеличить производство молока, улучшить его качество, экономно расходовать воду и электроэнергию и упростить и удешевить конструкцию устройства. 1 ил.
Изобретение относится к сельскому хозяйству и предназначено для охлаждения молока в потоке при дойке коров на доильных установках с молокопроводом. Предлагаемое устройство является усовершенствованием изобретения, описанного в авт.св. 1496723. Имеется ряд и других устройств для охлаждения молока, где оно охлаждается в теплообменниках, являющихся, по существу, накопительными резервуарами, и в них молоко хранится в охлажденном состоянии до его дальнейшей переработки [1, 2].
Одним из устройств для охлаждения молока с утилизацией его тепла и наиболее близким для нашего устройства по технической сущности является изобретение авт.св. 1496723 (прототип) [3]. В этом изобретении описано устройство для двухпоточного охлаждения молока, которое охлаждается первоначально в первом пластинчатом охладителе с 36°С до 22°С водой из системы автопоения с температурой 20°С, которая, проходя через охладитель, нагревается до 30°С и поступает в конденсатор машины получения искусственного холода. В конденсаторе вода нагревается до 45°С и подается в резервуар, состоящий из двух емкостей объемом на суточную потребность фермы в воде. Затем молоко с температурой 22°С подается во второй пластинчатый охладитель, где и доохлаждается до 4°С рассолом с температурой 0-2°С, который подается из агрегата искусственного холода. Охлажденное молоко собирается в молочном танке.
Для работы устройства и подачи воды в пластинчатый охладитель и системы автопоения установлены насосы, которые работают: один в период доек, второй круглосуточно, а для подачи рассола необходим еще один насос.
Наиболее существенными недостатками прототипа являются:
– во-первых, для охлаждения парного молока берется теплая вода из системы автопоения;
– во-вторых, в основном изобретении охлаждение молока производится без его предварительной очистки, а механические частицы, попавшие в молоко, в процессе его получения растворяются в охлажденном молоке, придавая ему неприятный вкус и запах;
– в-третьих, устройству для подачи воды необходимы три насоса, которые сводят на нет полученную экономию энергии от утилизации тепла;
– в-четвертых, принятые емкости должны быть больших размеров, что увеличивает расход металла, изолирующего материала и требует больших площадей для их установки;
– в-пятых, вода, подаваемая в систему автопоения с температурой 20°С, не удовлетворяет зоотехническим требованиям и не способствует увеличению продуктивности коров.
Целью дополнительного изобретения является устранение указанных выше недостатков, повышение надежности системы охлаждения молока и улучшение его качества, упрощение и удешевление конструкции устройства. Поставленная цель достигается тем, что для устранения недостатков прототипа, упрощения и удешевления устройства в качестве хладоагента служит вода не из системы автопоения, а холодная вода из башни или артезианской скважины. Аккумулятором естественного холода является водонапорная башня Рожновского, имеющаяся почти на каждой ферме. Внутри металлической башни в холодное время намерзает лед, который держится на льдодержателях и охлаждает воду, поступающую из скважины.
Ледяная вода под напором башни самотеком передается в пластинчатый охладитель одновременно с подачей в него молока, которое предварительно проходит через фильтр, где очищается от механических примесей. Молоко и холодная вода проходят через охладитель одновременно противотоком. Управляет этим процессом блок управления по командам поплавкового датчика уровня молока в молокосборнике. Молоко охлаждается, вода нагревается и поступает в систему автопоения и в бак подогретой воды, который принимается объемом по потребности в питьевой воде от дойки до дойки, а не на сутки, как в прототипе. Бак устанавливается в средней части коровника в самой высокой точке (под князьком или на чердачном перекрытии), связан с системой автопоения и автоматическим клапаном холодной воды, которые не требуют дополнительных площадей для их установки. В холодное время года вода в охладитель поступает из башни, а в теплый период ее берут из скважины. После охлаждения молоко подается в танк для хранения и, если необходимо, доохлаждается холодной водой, полученной с помощью холодильной машины, входящей в комплектацию танка.
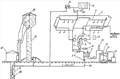
На чертеже показано предлагаемое устройство.
Устройство содержит молокопровод 1, групповые счетчики молока 2, молокосборник 3 с поплавковым датчиком уровня 3a, предохранительный клапан 4, молочный насос 5, фильтр 6, охладитель молока 7, электромагнитные краны 8, систему автопоения 9, бак подогретой воды 10, переливную трубу 11, танк-охладитель 12, мешалку молока 13, автоматический клапан подачи холодной воды 14, сборную металлическую башню 15, датчик уровня воды в баке 16, артезианскую скважину 17, глубинный насос 18, водопровод холодной воды 19, датчик температуры 20, станцию управления работой насоса 21, агрегат искусственного холода 22, блок управления молочным насосом и электромагнитными кранами 23.
Устройство работает следующим образом. Молоко по молокопроводу 1 поступает в молокосборник 3, по пути движения учитывается групповыми счетчиками 2 и по мере накопления его поднимается поплавок 3a, по командам которого включается в работу молочный насос 5 и одновременно под действием блока управления 23 открываются электромагнитные клапаны 8. При включенном насосе 5 молоко с температурой 35°С откачивается из молокосборника 3, проходит через фильтр 6, где очищается от механических примесей, и поступает в пластинчатый охладитель молока 7. Одновременно в охладитель поступает и холодная вода из башни 15 с температурой 0,5-1,5°С. Проходя через охладитель, молоко охлаждается до 4°С, а вода нагревается до 12-15°С. Охлажденное молоко поступает в танк-охладитель 12, если температура молока выше 4°С, то датчик 20 включает в работу систему доохлаждения молока 22 в танке. Подогретая вода до 12-15°С направляется в систему автопоения 9 и, если коровы в этот период не пьют воду, она поступает в бак 10. Объем бака принимается из расчета потребности коровника в воде между дойками. Он не требует дополнительных помещений и устанавливается на опорах в центре коровника в самой высокой точке или на чердачном перекрытии, и на основе сообщающихся сосудов к нему подсоединен автоматический клапан 14, и в систему автопоения будет поступать вода из башни 15. Для автоматизации водоснабжения и поддержания необходимого давления воды в охладителе 7 в напорном баке башни 15 устанавливается датчик уровня воды 16, который управляет станцией 21 автоматического включения и отключения насоса 18. Использование устройства выгодно отличается от прототипа. Расчеты экономической эффективности показывают, что применение устройства позволит увеличить продуктивность коров, улучшить качество молока, снизить расход воды, экономить электроэнергию и за счет этих показателей хозяйства получат дополнительную прибыль в размере 8600 рублей в год от каждой коровы.
ИСТОЧНИКИ ИНФОРМАЦИИ
1. Костин В.Д. и др. Устройство для охлаждения молока, авт. св. RU 2197083.
2. Ковалев Ю.Н. Оборудование молочных технологических линий, животноводческих ферм и комплексов. М., Россельхозиздат, 1978.
3. Суминов А.А. и др. Устройство для охлаждения молока на фермах. Авт. св. SU 1496723.
4. Бенке И. Производство молока при беспривязном содержании коров. М., ВО Агропромиздат, 1990.
5. Кормановский Л.П. и др. Обоснование системы технологии и машин для животноводства. М., 1999.
Формула изобретения
Устройство для охлаждения молока на фермах с утилизацией тепла, содержащее молокопровод с групповыми счетчиками, молокосборник, молочный насос, пластинчатые охладители, систему автопоения, баки подогретой воды, танк для хранения молока, насосы подачи воды в систему автопоения и в охладители молока, отличающееся тем, что на входе в охладитель холодной воды из башни и на выходе из него, на линии системы автопоения коров, введены электромагнитные клапаны, которые открываются и закрываются по командам блока управления, контактирующего с магнитным пускателем включения и отключения молочного насоса.
РИСУНКИ
|
|