|
|
(21), (22) Заявка: 2007135933/12, 27.09.2007
(24) Дата начала отсчета срока действия патента:
27.09.2007
(46) Опубликовано: 10.05.2009
(56) Список документов, цитированных в отчете о поиске:
SU 561546 А, 15.06.1977. SU 874006 А, 23.10.1981. SU 377130 А, 17.04.1973. SU 1197621 А, 15.12.1985. DE 19921348 А, 16.11.2000.
Адрес для переписки:
400059, г.Волгоград, 59, ул. Изоляторная, 2, кв.89, А.М. Салдаеву
|
(72) Автор(ы):
Салдаев Александр Макарович (RU), Сусляев Александр Львович (RU), Бородычев Виктор Владимирович (RU), Кривельская Наталья Владимировна (RU)
(73) Патентообладатель(и):
Федеральное государственное образовательное учреждение высшего профессионального образования “Волгоградская государственная сельскохозяйственная академия” (RU)
|
(54) УСТРОЙСТВО ДЛЯ РАЗБРЫЗГИВАНИЯ ЖИДКОСТИ СЖАТЫМ ВОЗДУХОМ
(57) Реферат:
Изобретение относится к области увлажнения воздуха над плантациями сельскохозяйственных культур и может использоваться как для малообъемного орошения и увлажнения растений, так и для распыления удобрений и ядохимикатов в виде водных растворов. Устройство включает корпус, внутри которого установлены средства для подвода жидкости и воздуха. Корпус выполнен двухсекционным, нижняя секция размещена на основании и снабжена сливной пробкой, верхняя секция снабжена средствами для подвода жидкости и воздуха. Средство для подвода жидкости установлено на боковой стенке верхней секции. Средство для подачи воздуха смонтировано в донной части верхней секции. Верхняя секция выполнена герметичной и снабжена смотровыми окнами, отъемной крышкой с патрубком для отвода тумана и ручками для переноски. Нижняя секция снабжена сливной пробкой. Устройство обеспечит получение монодисперсной среды из воздуха и воды для малообъемного орошения и увлажнения растений при существенном снижении энергозатрат. 13 з.п. ф-лы, 10 ил., 1 табл.
Изобретение относится к области увлажнения воздуха над плантациями сельскохозяйственных культур и может использоваться как для малообъемного орошения и увлажнения растений, так и для распыления удобрений и ядохимикатов в виде водных растворов.
Известен аэрозольный генератор, включающий прямоугольный входной и конусообразный выходной патрубки с размещенной между ними трубкой для подвода жидкости, в котором с целью получения монодисперсной смеси за трубкой для подвода жидкости установлена вибрирующая пластина, причем в трубке по ширине пластины имеется прорезь для выхода жидкости; с целью регулирования степени диспергирования жидкости на выходном патрубке установлен регулятор амплитуды колебаний вибрирующей пластины; с целью регулирования количества воздуха, поступающего в выходной патрубок, в нем установлена шиберная заслонка (см. SU, авторское свидетельство 343670. М. кл. А01М 7/00. Аэрозольный генератор / А.Д.Александров, Б.К.Рассолов, А.А.Шмыгля и др. – Заявка 1653225/30-15; заявлено 03.05.1971; опубл. 07.07.1972, бюл. 21).
К недостаткам описанного аэрозольного генератора относятся потребности в энергонасыщенном и дорогом турбореактивном двигателе авиационного топлива, в большом аппарате обслуживающего персонала, в отсутствие возможности переустановки с одной теплицы на другую, в большой длине коммуникационной сети и воздуховодов с теплоизоляцией.
Известен также пневматический распиливающий орган к опрыскивателю, включающий сопло с расположенными в нем пленкообразователями, в котором с целью улучшения качества распыления жидкости пленкообразователи выполнены с боковыми ребрами (SU, авторское свидетельство 561546. М. кл2. А01М 7/00. Пневматический распыливающий орган к опрыскивателю / В.П. Чалый, М.И.Губарев, М.И.Штеренталь и др. – Заявка 2172662/15; заявлено 15.09.1975; опубл. 15.06.1977, бюл. 22).
К недостаткам описанного пневматического распыливающего рабочего органа к опрыскивателю относится неустойчивая подача растворенного пестицида из трубки (2) для подачи жидкости. При высоком давлении жидкости в трубке (2) раствор выплескивается на внутреннюю поверхность сопла (1), частично касаясь пленкообразователя (3). При снижении давления раствора в трубке (2) поток воды не достигает поверхности пленкообразователя (3). Это приводит к высокой степени неравномерности диспергирования жидкости.
Известно устройство для создания тумана, включающее ротор с выходными отверстиями и средство для распыления, установленное в держателе, в котором с целью повышения дисперсности тумана средство для распыления выполнено в виде набора волнообразных нитей, а держатель выполнен в виде стакана (SU, авторское свидетельство 874006. М. кл3. А01М 7/00, В05В 3/08. Устройство для создания тумана / Б.С.Ермаков, С.В.Нестерович. – Заявка 2710049/30-15; заявлено 04.01.1979; опубл. 23.10.1981, бюл. 39).
К недостаткам описанного устройства для создания тумана несмотря на заявленный размер капель 25-150 мкм с дальностью распыла до 7-8 м от оси вращения относится то, что устройство для создания тумана должно перемещаться вдоль продольной оси теплицы, складского помещения, над рядками с.-х. культур или вдоль междурядий древесных насаждений, кустарников и виноградника.
Известен пневматический распыливатель, содержащий корпус со смесительной камерой, имеющей воздушный и жидкостный штуцер, отражатель, регулятор захвата и регулятор расхода жидкости, в котором с целью улучшения качества работы распыливатель снабжен установленными последовательно после смесительной камеры центробежной камерой с редукционным шариковым клапаном и вихревой камерой с расположенным в ней и установленным подвижно в осевом направлении коническим вкладышем, по периферии которого выполнены винтовые канавки, при этом отражатель выполнен коническим и жестко связан с вкладышем, который взаимодействует своей вершиной с редукционным клапаном, причем жидкостный штуцер смесительной камеры установлен тангенциально к ней, а воздушный – по продольной оси распылителя (SU, авторское свидетельство 1192761.А. М. кл4. А01М 7/00, В05В 3/00. Пневматический распылитель / B.C.Смирнов. – Заявка 3747125/30-15; заявлено 30.05.1984; опубл. 23.11.1985, бюл. 43).
К недостаткам описанного пневматического распылителя относится низкая степень диспергирования жидкости.
Известна также аэрозольная форсунка, содержащая цилиндрический угловой корпус, размещенную соосно с ним трубку подвода жидкости методом инжекции и диффузорное сопло, в которой с целью улучшения качества диспергирования и увеличения дальнобойности направленного аэрозоля диффузорное сопло снабжено кольцевым турбулизирующим уступом, а отношение внутреннего диаметра горловины подвода воздуха к внутреннему диаметру трубки подвода жидкости составляет 4,4-4,6; кольцевой турбулизирующий уступ образован толщиной стенки горловины подвода воздуха, а отношение наружного диаметра горловины к внутреннему составляет 1,1-1,2 (SU, авторское свидетельство 1197621.А. М. кл4. А01М 7/00, В05В 7/30. Аэрозольная форсунка / В.Д.Кузнецов, A.M.Сергиенко. – Заявка 3719614/30-15; заявлено 02.01.1984; опубл. 15.12.1985, бюл. 46).
К недостаткам описанной аэрозольной форсунки относится низкое качество распыла оросительной воды.
Известен рабочий орган опрыскивателя, включающий корпус, привод, вращающийся дисковый распылитель, установленный в корпусе посредством полой оси, снабженный на конце дозирующими отверстиями с дефлектором к отсечным клапанам и заключенный в опорный и уплотнительный узлы, в котором с целью повышения долговечности и надежности распылитель снабжен установленными на полой оси коническим отражателем и винтовым сгоном из хладотекущего материала с низким коэффициентом трения, причем сгон установлен с зазором относительно уплотнительного узла, а отражатель расположен между сгоном и дефлектором, при этом корпус снабжен дренажными отверстиями, расположенными между сгоном и опорным узлом; конический отражатель направлен в сторону дисковых распылителей, а в зазоре между сгоном и опорным узлом установлено дренажное кольцо, снабженное кольцевыми проточками на наружной и внутренней поверхностях, соединенными радиальными отверстиями, причем дренажные отверстия в корпусе расположены соосно кольцевым проточкам, а сгон и дренажное кольцо выполнено из фторопласта (SU, авторское свидетельство 1515424.Al. М. кл. А01М 7/00. Рабочий орган опрыскивателя / В.А.Плужников, В.В.Рычик, В.Е.Задорожный и др. – Заявка 4054983/30-15; заявлено 11.04.1986; опубл. 1989, бюл. 38).
К недостаткам описанного рабочего органа опрыскивателя относится сложность конструкции и низкое качество распыла жидкости.
Известно также устройство для разбрызгивания жидкости сжатым воздухом, включающее корпус, внутри которого установлены средство для подвода жидкости и радиальные направляющие пластины, в котором с целью увеличения дальности выброса жидкости направляющие пластины выполнены обтекаемой формы, полыми, перфорированными и подсоединены к средству для подвода жидкости (см. SU, авторское свидетельство 377130. М. кл. A01G 25/00, А01М 7/00, В05В 1/14. Устройство для разбрызгивания жидкости сжатым воздухом / Б.Б.Бабинский, Ю.И.Гусев, В.Г.Зильберт и др. – Заявка 1674154/30-15; заявлено 28.06.1971; опубл. 17.03. 1973, бюл. 18).
К недостаткам описанного устройства для разбрызгивания жидкости сжатым воздухом относятся чрезмерное усложнение конструкции, большая энергоемкость процесса, высокая степень неравномерности диспергирования жидкости.
Сущность заявленного изобретения заключается в следующем.
Задача, на решение которой направлено заявленное изобретение, – повышение качества монодисперсной среды из воздуха и воды, приемлемой для малообъемного орошения и увлажнения растений как макро- и микроэлементами, так и пестицидами.
Технический результат – снижение энергозатрат и повышение производительности.
Указанный технический результат достигается тем, что в известном устройстве для разбрызгивания жидкости сжатым воздухом, включающем корпус, внутри которого установлены средства для подвода жидкости и воздуха, согласно изобретению корпус выполнен двухсекционным: нижняя секция, размещенная на основании, снабжена сливной пробкой и предусмотрена для заполнения жидкостью, верхняя секция снабжена средством для подвода жидкости и средством подвода воздуха, при этом установленное на боковой стенке верхней секции средство для подвода жидкости выполнено в виде трубки уровня, эжектора и заборного рукава, размещенного в полости нижней секции, смонтированное в донной части верхней секции средство для подвода воздуха снабжено фильтром для очистки воздуха, регулятором давления и форсункой, при этом форсунка и эжектор пневматически соединены с регулятором давления; верхняя секция выполнена герметичной и снабжена смотровыми окнами, отъемной крышкой с патрубком для отвода тумана и ручками для переноски; нижняя секция снабжена сливной пробкой; верхняя секция сопряжена с нижней секцией посредством донной части верхней секции; трубка уровня, установленная в донной части верхней секции, снабжена возможностью изменения по высоте верхней секции; корпус эжектора выполнен с тремя резьбовыми отверстиями, два из которых выполнены соосными, а третье отверстие выполнено к первым двум ортогонально и соединено с ними полостью, при этом в соосных отверстиях установлены с одного конца игла с соосным каналом для подвода воздуха и соплом Лаваля на конце, а с другого конца – ступенчатая резьбовая втулка с выполненными в ее полости камерой смещения и диффузором, в третьем ортогонально выполненном первым двум резьбовом отверстии смонтирован заборный рукав; на свободном конце иглы выполнено резьбовое отверстие для размещения штуцера гибкого рукава, соединенного с регулятором давления; корпус эжектора резьбовым концом ступенчатой втулки гайками сопряжен с внешней и внутренней поверхностями боковой стенки верхней секции; оси симметрии корпуса эжектора с соплом Лаваля и диффузором выполнены пересекающимися со смотровыми окнами на стенках верхней секции; форсунка имеет с осевыми отверстиями полый корпус с фланцем, в полости корпуса с возможностью демонтажа в направлении подачи воздуха размещены ступенчатая переходная резьбовая втулка, завихритель потока сжатого воздуха и сопло, выходное отверстие которого сопряжено с отверстием корпуса, в резьбовом отверстии переходной втулки смонтирован штуцер для соединения гибким рукавом с регулятором давления воздуха, а на торцевой части корпуса выполнены радиальные прорези и лопатки для разделения тонкого слоя воды на пленку; завихритель потока воздуха выполнен в виде диска с прорезями на периферийной части, при этом каждая прорезь наклонена к плоскости диска под углом 30-45°; корпус форсунки с донной частью верхней секции сопряжен посредством ступенчатой втулки с фланцем; на фланце корпуса, обращенном в сторону фланца ступенчатой втулки верхней секции, выполнена кольцевая канавка для установки прокладки; на верхнем срезе верхней секции выполнен каркас с канавкой по периметру для размещения герметизирующей ленты. Изобретение поясняется чертежами.
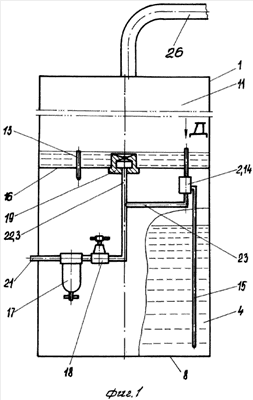
На фиг.1 схематично представлена принципиальная пневмогидравлическая схема устройства для разбрызгивания жидкости сжатым воздухом.
На фиг.2 показан общий вид устройства для разбрызгивания жидкости сжатым воздухом, вид слева.
На фиг.3 – то же, вид спереди.
На фиг.4 – то же, вид в плане.
На фиг.5 – сечение А-А на фиг.4, сопряжение верхней секции с нижней секцией посредством донной части верхней секции.
На фиг.6 – сечение Б-Б на фиг.4, сопряжение отъемной крышки с каркасом верхней секции.
На фиг.7 – место В на фиг.3, сопряжение корпуса форсунки со ступенчатой втулкой на донной части верхней секции.
На фиг.8 – сечение Г-Г на фиг.7, диаметральный разрез форсунки.
На фиг.9 – вид Д на фиг.1, вид на корпус эжектора сверху.
На фиг.10 – сечение Е-Е на фиг.9, поперечно-вертикальный разрез корпуса эжектора, иглы с соплом Лаваля на конце и диффузором с камерой смешения.
Сведения, подтверждающие возможность реализации заявленного изобретения, заключаются в следующем.
Устройство для разбрызгивания жидкости сжатым воздухом (см. фиг.1-10) включает корпус 1, внутри которого установлены средства 2 и 3 для подвода жидкости и воздуха.
Корпус 1 выполнен двухсекционным. Нижняя секция 4 корпуса 1 размещена на основании 5. Нижняя секция 4 снабжена сливной пробкой 6 и предусмотрена для заполнения жидкостью: оросительной водой, растворенными в воде минеральными удобрениями и микроэлементами, ядохимикатами и др. препаратами. Сливная пробка 6 ввернута в резьбовую бонку 7 на донной части 8 нижней секции 4. Неплотности в резьбовой паре уплотнены прокладками 9 и 10 (см. фиг.5). Донная часть 8 нижней секции 4 сварными швами соединена с основанием 5.
Верхняя секция 11 снабжена средством 2 для подвода жидкости и средством 3 для подвода воздуха. Средство 2 для подвода жидкости установлено на боковой стенке 12 верхней секции 11. Средство 2 для подвода жидкости выполнено в виде трубки 13 уровня жидкости, эжектора 14 и заборного рукава 15. Заборный рукав 15 размещен в полости нижней секции 4 (см. фиг.1, 2 и 5).
Средство 3 для подвода воздуха смонтировано на донной части 16 верхней секции 11. Средство 3 для подвода воздуха снабжено фильтром 17 для очистки воздуха, регулятором давления 18 и форсункой 19. Регулятор давления 18 имеет манометр 20. Фильтр 17 рукавом 21 соединен либо с ресивером, либо с компрессором, либо с сетью сжатого воздуха. Форсунка 19 и эжектор 14 рукавами 22 и 23 пневматически соединены с регулятором 18 давления воздуха.
Верхняя секция 14 выполнена герметичной. Она снабжена смотровыми окнами 24, отъемной крышкой 25, патрубком 26 для отвода тумана и ручками для переноски устройства. Верхняя секция 11 сопряжена с нижней секцией 4 посредством донной части 16 верхней секции 11. Нижняя секция 4 снабжена сливной пробкой 6.
На верхнем срезе верхней секции 11 выполнен каркас 27 из уголка и полосы с образованием канавки по периметру для размещения герметизирующей ленты 28 (фиг.6). Каркас 27 верхней секции 11 и крышка 25 взаимно сопряжены средствами крепления 29 (фиг.2-4, 6).
Трубка 13 уровня (см. фиг.1, 4 и 5) установлена в донной части 16 верхней секции 11 и снабжена возможностью изменения по высоте верхней секции 11. Для этого в донной части 16 верхней секции 11 вварена резьбовая бонка 30. Положение трубки 13 в бонке 30 зафиксировано гайкой 31.
Корпус эжектора 14 (см. фиг.6, 9 и 10) выполнен с тремя резьбовыми отверстиями 32, 33 и 34 (фиг.10). Два резьбовых отверстия 32 и 33 выполнены соосными. Третье резьбовое отверстие 34 выполнено к первым двум ортогонально и соединено с ними полостью 35. В соосных резьбовых отверстиях 32 и 33 установлены с одного конца игла 36 с осевым каналом 37 для подвода воздуха и соплом 38 Лаваля на другом конце. С другого конца корпуса эжектора 14 в резьбовом отверстии 32 ввинчена резьбовая втулка 39 с выполненными в ее полости камерой 40 смешения и диффузором 41. Сопло Лаваля по отношению к камере 40 смешения может быть смещено в сторону диффузора 41. В третьем резьбовом отверстии 34, ортогонально выполненном первым двум резьбовым отверстиям 32 и 33, смонтирован заборный рукав 15.
На свободном (наружном) конце иглы 36 выполнено резьбовое отверстие 42 для ввинчивания штуцера рукава 23 средства 2 для подвода воздуха, соединенного с регулятором 18 давления.
Корпус эжектора 14 резьбовым концом 43 ступенчатой втулки 39 сопряжен либо гайками 44 с внешней и внутренней поверхностями боковой стенки 12 верхней секции 11, либо с резьбовой бонкой 45 и гайкой 44 на внешней поверхности боковой стенки 12 (см. фиг.5).
Оси симметрии корпуса эжектора 14 с соплом 38 Лаваля и диффузором 41 выполнены перекрещивающимися со смонтированными окнами 24. Это позволяет визуально оценить качество работы эжектора 14 и форсунки 19.
Форсунка 19 (см. фиг.1-3, 7 и 8) имеет полый корпус 46 с осевыми отверстиями 47 и 48 и фланец 49 с отверстиями 50 для размещения средств крепления 51. В полости корпуса 46 с возможностью демонтажа в направлении подачи воздуха размещены ступенчатая переходная резьбовая втулка 52, завихритель 53 потока воздуха и сопло 54 с выходным отверстием 55.
Выходное отверстие 55 сопла 54 сопряжено с отверстием 47 в корпусе 46 эжектора 19. В резьбовом отверстии переходной втулки 52 смонтирован штуцер 56 для соединения с гибким рукавом 22 средства 3 для подвода воздуха. Штуцер 56 в переходной втулке 52 зафиксирован гайками 57. Штуцер 56 гибким рукавом 22 соединен с регулятором 18 давления воздуха.
На торцевой части корпуса 46, выступающей над донной частью 16 верхней части 11 корпуса 1, выполнены радиальные прорези 58 и лопатки 59 для разделения тонкого слоя воды на пленку. Корпус 46 форсунки 19 с донной частью верхней секции 11 сопряжен посредством ступенчатой втулки 60 с фланцем. Во фланце ступенчатой втулки 60 выполнены отверстия для размещения средств крепления 51.
Во фланце 49 корпуса 46 форсунки 19 (см. фиг.7) выполнена кольцевая канавка для установки прокладки 61. Завихритель 53 потока воздуха выполнен в виде диска с прорезями 62 на периферийной части. Каждая прорезь 62 наклонена к плоскости диска под углом 30-45°.
Устройство для разбрызгивания жидкости сжатым воздухом работает следующим образом.
Полость нижней секции 4 заполняют водой. Рукав 21 соединяют с компрессором. При открытии крана в регуляторе 18 давления воздух по рукавам 22 и 23 устройства 3 поступает в полости корпуса эжектора 14 и форсунки 19. Давление воздуха контролируют по показателям манометра 20.
При поступлении воздуха под рабочим давлением в канал 27 иглы 36 по рукаву 23 он поступает в сопло 38 Лаваля. За счет формы и параметров сопла 38 Лаваля воздушный поток с нарастающей скоростью поступает в камеру 40 смешения. В полости 35 отсасывается воздух, создается разрежение и под действием вакуума по заборному рукаву подается вода в полость 35. Из полости 35 вода рассасывается и вместе со струей воздуха попадает в камеру 40 смешения. На выходе из камеры 40 смешения воздушно-водяной поток попадает в диффузор 41. В диффузоре 41 происходит интенсивное смешение потока и увеличение скорости его подачи. Далее воздушно-водяной поток через резьбовую бонку 45 на боковой стенке 12 верхней секции 11 выбрасывается в ее полость, ударяется о ее противоположную стенку, дробится, насыщается атмосферным воздухом и падает на донную часть 16 верхней секции 11. В полости верхней секции 11 набирается объем воды. Излишек ее по отверстию в трубке 13 уровня сливается обратно в полость нижней секции 4 корпуса 1.
Одновременно с этим в форсунку 19 по рукаву 22 средство 2 подается под давлением воздухом. Воздух из штуцера 56 поступает в полость переходной втулки 52. За счет косых прорезей 62 на торцевой части диска завихрителя 53 воздушному потоку придается вращательное движение вокруг вертикальной оси симметрии форсунки 19. Закрученная воздушная масса поступает в полость сопла 54. По совмещенным отверстиям 55 сопла 54 и отверстия 47 корпуса 49 форсунки 19 воздушный поток вырывается в полость верхней секции 11 в направлении отъемной крышки 25. Вращающимся потоком воздуха с торцевой поверхности корпуса 46 форсунки 19 подхватывается тонкая полоска воды. За счет радиальных прорезей 58 и лопаток 59 полоска разделяется на ряд мелких сегментов. Эти сегменты из тонкого слоя воды подхватываются воздушным потоком. За счет вращательного движения воздушно-водяной массы этот поток многократно разбивается о боковые стенки 12 верхней секции 11 и о ее отъемную крышку 25. Водяная масса разбивается на частички размером 12-50 мкм. За счет создавшегося избыточного давления воздуха в герметичной полости верхней секции 11 туманообразная масса по патрубку 26 подается либо в теплицу, либо в виноградниковые насаждения, либо в междурядья овощных культур, создавая этим микроклимат.
При подкормке и защите с.-х. растений, древесных насаждений, кустарников и винограда в воде растворяют макро- и микроэлементы, ядохимикаты и пестициды. Процесс малообъемного орошения и подкормки аналогичен вышеописанному. Техническая характеристика установки для малообъемного орошения приведена в таблице.
Таким образом, представленные сведения достаточно полно доказывают возможность реализации поставленной задачи и получения указанного технического результата.
Формула изобретения
1. Устройство для разбрызгивания жидкости сжатым воздухом, включающее корпус, внутри которого установлены средства для подвода жидкости и воздуха, отличающееся тем, что корпус выполнен двухсекционным: нижняя секция, размещенная на основании, снабжена сливной пробкой и предусмотрена для заполнения жидкостью, верхняя секция снабжена средством для подвода жидкости и средством для подвода воздуха, при этом установленное на боковой стенке верхней секции средство для подвода жидкости выполнено в виде трубки уровня, эжектора и заборного рукава, размещенного в полости нижней секции, смонтированное на донной части верхней секции средство для подвода воздуха снабжено фильтром для очистки воздуха, регулятором давления и форсункой, при этом форсунка и эжектор пневматически соединены с регулятором давления.
2. Устройство по п.1, отличающееся тем, что верхняя секция выполнена герметичной и снабжена смотровыми окнами, отъемной крышкой с патрубком для отвода тумана и ручками для переноски.
3. Устройство по п.1, отличающееся тем, что нижняя секция снабжена сливной пробкой.
4. Устройство по п.1, отличающееся тем, что верхняя секция сопряжена с нижней секцией посредством донной части верхней секции.
5. Устройство по п.1, отличающееся тем, что трубка уровня, установленная в донной части верхней секции, снабжена возможностью изменения по высоте верхней секции.
6. Устройство по п.1, отличающееся тем, что корпус эжектора выполнен с тремя резьбовыми отверстиями, два из которых выполнены соосными, а третье отверстие выполнено к первым двум ортогонально и соединено с ними полостью, при этом в соосных отверстиях установлены с одного конца игла с осевым каналом для подвода воздуха и соплом Лаваля на другом конце, а с другого конца корпуса – ступенчатая резьбовая втулка с выполненными в ее полости камерой смешения и диффузором, в третьем отверстии, выполненном ортогонально первым двум резьбовым отверстиям, смонтирован заборный рукав.
7. Устройство по п.6, отличающееся тем, что на свободном конце иглы выполнено резьбовое отверстие для размещения штуцера гибкого рукава, соединенного с регулятором давления.
8. Устройство по п.6, отличающееся тем, что корпус эжектора резьбовым концом ступенчатой втулки сопряжен гайками с внешней и внутренней поверхностями боковой стенки верхней секции.
9. Устройство по одному из пп.1, 2 или 6, отличающееся тем, что оси симметрии корпуса эжектора с соплом Лаваля и диффузором выполнены перекрещивающимися со смотровыми окнами на стенках верхней секции.
10. Устройство по п.1, отличающееся тем, что форсунка имеет полый корпус с осевыми отверстиями и фланцем, в полости корпуса с возможностью демонтажа в направлении подачи воздуха размещены ступенчатая переходная резьбовая втулка, завихритель потока воздуха и сопло, выходное отверстие которого сопряжено с отверстием корпуса, в резьбовом отверстии переходной втулки смонтирован штуцер для соединения гибким рукавом с регулятором давления воздуха, а на торцевой части корпуса выполнены радиальные прорези и лопатки для разделения тонкого слоя воды на пленку.
11. Устройство по п.10, отличающееся тем, что завихритель потока воздуха выполнен в виде диска с прорезями на периферийной части, при этом каждая прорезь наклонена к полости диска под углом 30-45°.
12. Устройство по п.1, отличающееся тем, что корпус форсунки с донной частью верхней секции сопряжен посредством ступенчатой втулки с фланцем.
13. Устройство по пп.10 и 12, отличающееся тем, что на фланце корпуса, обращенном в сторону фланца ступенчатой втулки верхней секции, выполнена кольцевая канавка для установки прокладки.
14. Устройство по п.2, отличающееся тем, что на верхнем срезе верхней секции выполнен каркас с канавкой по периметру для размещения герметизирующей ленты.
РИСУНКИ
|
|