|
|
(21), (22) Заявка: 2007128783/12, 26.07.2007
(24) Дата начала отсчета срока действия патента:
26.07.2007
(46) Опубликовано: 10.05.2009
(56) Список документов, цитированных в отчете о поиске:
RU 2233073 С2, 27.07.2004. RU 2180774 C1, 27.03.2002. SU 820742 A1, 15.04.1981. US 3974866 A, 17.08.1976.
Адрес для переписки:
424000, Республика Марий Эл, г.Йошкар-Ола, пл. Ленина, 3, МарГТУ, отдел интеллектуальной собственности
|
(72) Автор(ы):
Якимович Сергей Борисович (RU), Мартынов Анатолий Михайлович (RU), Гневашев Антон Николаевич (RU), Романов Эдуард Григорьевич (RU)
(73) Патентообладатель(и):
Государственное образовательное учреждение высшего профессионального образования Марийский государственный технический университет (RU)
|
(54) ЛЕСНОЙ КОМБАЙН
(57) Реферат:
Лесной комбайн содержит базовую и поворотную платформы, телескопическую стрелу с харвестерной головкой, накопительный контейнер с пильным механизмом. На базовой платформе смонтирована телескопическая балка с удерживающе-срезающим устройством. Поворотная платформа выполнена в виде установленых соосно в одной горизонтальной плоскости внешней и внутренней платформ. На внешней поворотной платформе установлены диаметрально противоположно манипуляторы, а на внутренней – телескопическая стрела с харвестерной головкой. Пильный механизм выполнен съемным и установлен с возможностью перемещения вдоль накопительного контейнера. Конструкция позволит повысить производительность, причем машина будет иметь меньшую металлоемкость и энергоемкость. 1 з.п. ф-лы, 3 ил.
Изобретение относится к области лесозаготовок и может быть использовано для переработки стоящих деревьев на сортименты и пиломатериалы.
Наиболее близким по технической сущности к заявляемому изобретению относится лесной комбайн для переработки стоящих деревьев на сортименты [1], содержащий базовую и поворотную платформы, телескопическую стрелу с харвестерной головкой, накопительный контейнер и пильный механизм.
Недостатком этого устройства являются: пониженная производительность и повышенная энергоемкость в связи с дополнительной операцией перевода сортиментов из вертикального в горизонтальное положение, дополнительных перемещений подъема-опускания при укладке готовой продукции в накопительный контейнер и наличия трения при перемещении сортиментов или пильного механизма в горизонтальной плоскости в ходе продольной распиловки; повышенная металлоемкость в связи с повышенной массой базовой платформы для обеспечения устойчивости лесного комбайна.
Технический результат – повышение производительности, снижение металлоемкости и энергоемкости.
Технический результат достигается тем, что лесной комбайн содержит базовую и поворотную платформы, телескопическую стрелу с харвестерной головкой, накопительный контейнер с пильным блоком. Согласно изобретению на базовой платформе смонтирована телескопическая балка с удерживающе-срезающим устройством, а поворотная платформа выполнена в виде установленных соосно в одной горизонтальной плоскости внешней и внутренней платформ, при этом на внешней поворотной платформе установлены диаметрально противоположно манипуляторы, а на внутренней – телескопическая стрела с харвестерной головкой, причем пильный блок выполнен съемным и установлен с возможностью перемещения вдоль накопительного контейнера.
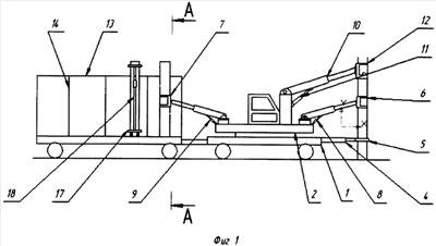
На фиг.1 представлен основной вид лесного комбайна; на фиг.2 – вид сверху по фиг.1; на фиг.3 – разрез А-А по фиг.1.
Лесной комбайн содержит базовую платформу 1 с установленными на ней соосно внешней 2 и внутренней 3 поворотными платформами и телескопической балкой 4 с удерживающе-срезающим устройством 5. На внешней поворотной платформе 2 смонтированы диаметрально противоположно манипуляторы 6 и 7 с гидроцилиндрами 8 и 9, на внутренней поворотной платформе 3 установлена телескопическая стрела 10 с гидроцилиндром 11 и харвестерной головкой 12. Накопительный контейнер 13 содержит отсеки с разделительными стенками 14, на которых смонтированы подпружиненные элементы 15 и фиксаторы 16. На накопительном контейнере 13 установлен вертикально съемный пильный механизм продольной распиловки 17, с возможностью перемещения вдоль накопительного контейнера. Съемный пильный блок продольной распиловки 17 включает вертикальную С-образную стойку 18, пильный механизм 19, зубчатую рейку 20, зубчатые колеса 21, гидроцилиндры-толкатели 22, 23 и гидроцилиндр 24 механизма фиксации сортимента в вертикальном положении.
Лесной комбайн работает следующим образом. Удерживающе-срезающее устройство 5 посредством телескопической балки 4 наводится на комлевую часть стоящего дерева и захватывает его. Внутренняя платформа 3 с телескопической стрелой 10 и харвестерной головкой 12 наводится и захватывает ствол стоящего дерева с последующим перемещением вверх по стволу на длину выпиливаемого сортимента, одновременно выполняется обрезка сучьев. После отмера необходимой длины отделяют дерево от пня удерживающе-срезающим устройством 5, фиксируют его за пень посредством захвата для обеспечения устойчивости лесного комбайна. Удержание дерева и не отделенного от него сортимента отмеренной длины выполняется манипулятором 6 или 7 в зависимости от положения внешней поворотной платформы 2. Далее посредством харвестерной головки 12 отделяется сортимент отмеренной длины и поворотом внешней поворотной платформы 2 и манипулятором 6 или 7 выполняется перенос сортимента и его подача в съемный пильный блок 17 или в один из отсеков накопительного контейнера 13. В процессе подачи осуществляется сортировка лесоматериалов и размещение их в соответствующих отсеках. После снятия отделенного сортимента с пня оставшаяся часть дерева под воздействием сил гравитации перемещается вниз через харвестерную головку 12 с одновременной обрезкой сучьев и отмером необходимой длины. Далее отделяется отмеренный сортимент, и процесс повторяется.
Сортименты в отсеках накопительного контейнера 13 удерживаются в вертикальном положении при помощи подпружиненных элементов 15 и пневмофиксатором 16. Сортименты для продольной распиловки подаются манипулятором 6 или 7 в зону съемного пильного блока 17, после чего происходит его захват и удержание в стойке 18 гидроцилиндрами-толкателями 22, 23 и гидроцилиндром механизма фиксации сортимента 24. Далее выполняется продольная распиловка сортимента пильным механизмом 19. Готовая продукция в виде пиломатериалов подается к соответствующему сорту и размеру отсека накопительного контейнера 13 перемещением вдоль накопительного контейнера С-образной стойки 18 посредством передачи зубчатая рейка 20 – зубчатое колесо 21. Подача пиломатериалов в отсеки осуществляется при помощи гидроцилиндров-толкателей 22, 23, расположенных на С-образной стойке 18. Удерживание пиломатериалов в вертикальном положении в отсеке обеспечивается при помощи подпружиненных элементов 15. После подачи пиломатериалов в отсеки съемный пильный блок 17 возвращается в исходное положение для обработки следующего сортимента.
Источники информации
1. RU 2233073 С2, 27.07.2004
Формула изобретения
1. Лесной комбайн, содержащий базовую и поворотную платформы, телескопическую стрелу с харвестерной головкой, накопительный контейнер с пильным механизмом, отличающийся тем, что на базовой платформе смонтирована телескопическая балка с удерживающе-срезающим устройством, а поворотная платформа выполнена в виде установленых соосно в одной горизонтальной плоскости внешней и внутренней платформ, при этом на внешней поворотной платформе установлены диаметрально противоположно манипуляторы, а на внутренней – телескопическая стрела с харвестерной головкой, причем пильный механизм выполнен съемным и установлен с возможностью перемещения вдоль накопительного контейнера.
2. Лесной комбайн по п.1, отличающийся тем, что накопительный контейнер содержит отсеки с пневмофиксатором и разделительные стенки, на которых смонтированы удерживающие подпружиненные элементы.
РИСУНКИ
|
|