|
(21), (22) Заявка: 2007139200/12, 24.10.2007
(24) Дата начала отсчета срока действия патента:
24.10.2007
(46) Опубликовано: 10.05.2009
(56) Список документов, цитированных в отчете о поиске:
Адрес для переписки:
109456, Москва, 1-й Вешняковский пр-д, 2, ГНУ ВИЭСХ, О.В. Голубевой
|
(72) Автор(ы):
Гришин Андрей Александрович (RU), Гришин Александр Петрович (RU), Гришин Владимир Александрович (RU), Свентицкий Иван Иосифович (RU), Стребков Дмитрий Семенович (RU)
(73) Патентообладатель(и):
Российская Академия Сельскохозяйственных наук Государственное научное учреждение Всероссийский научно-исследовательский институт электрификации сельского хозяйства (ГНУ ВИЭСХ) (RU)
|
(54) СПОСОБ И УСТРОЙСТВО ОПРЕДЕЛЕНИЯ ФОТОЭЛЕКТРИЧЕСКОЙ, ТЕПЛОВОЙ И ФОТОБИОХИМИЧЕСКОЙ-ФОТОСИНТЕЗНОЙ ЭКСЕРГИИ ДЛЯ ТРЕХ ВИДОВ ПРЕОБРАЗОВАНИЯ ЭНЕРГИИ СОЛНЕЧНОГО ИЗЛУЧЕНИЯ
(57) Реферат:
Изобретение относится к области сельского хозяйства. Способ включает измерение поступающей на растения энергии излучения с учетом эффективности каждой длины волны в диапазоне 300-3000 нм и определение суммарной эксергии. Выделяют и измеряют часть энергии оптического излучения, которая потенциально пригодна в фотоэлектрическом, тепловом и фотосинтезном преобразованиях. При этом оценивают эффективность излучений каждой длины волны в отношении каждого вида преобразованной энергии, суммируют по всем длинам волн указанного диапазона. Преобразуют в фототок и усиливают этот сигнал фототока предварительным усилителем, затем проводят индикацию полученных сигналов, которые снимают интегратором с заданным интервалом времени и вычисляют фотоэлектрическую, тепловую и фотосинтезную эксергии. Полученные значения записывают в памяти интегратора, суммируют и получают суммарное значение эксергии оптического излучения этих трех видов, которые индицируют на дисплее устройства и используют в процессе последовательного определения названных трех видов эксергии. Устройство содержит приемник оптического излучения с косинусной насадкой, фотометр, источник питания, вычислительное устройство, суммирующее поступление на поверхность земли трех видов эксергии оптического излучения. Вычислитель последовательно переключают на измерение фотоэлектрической, тепловой или фотосинтезной эксергии. Выход блока вычисления эксергии соединен с блоком вычисления фотоэлектрической эксергии, вычисления тепловой эксергии и вычисления фотосинтезной эксергии, которые своими выходами соединены с дисплеем. При этом выход блока приемника оптического излучения соединен с входом вычислителя. В качестве приемника оптического излучения используют кремниевый фотоэлемент, имеющий спектральную чувствительность, подобную спектральной эффективности основного фотоэлектрического преобразователя солнечной энергии. Это позволяет для каждой длины волны выделять ту часть энергии, которая пригодна для преобразования солнечного излучения в электрическую, тепловую и фотосинтезную энергии. В приемнике установлен датчик температуры теплоносителя на входе в тепловой преобразователь, который своим выходом соединен со вторым входом блока вычисления тепловой эксергии. Изобретение обеспечивает оптимизацию выбора вида преобразования энергии оптического излучения для сельскохозяйственного производства или иных целей. 2 н.п. ф-лы, 2 ил., 1 табл.
Изобретение относится к области сельского хозяйства, экологии, общей биологии, энергетики, тепличного и полевого растениеводства, земледелия, экологических и биосферных областей знаний и может быть использовано при решении вопросов более эффективного использования энергии солнечного оптического излучения.
Известны способы и устройства оценки действия оптического излучения на растения, предназначенные для измерения той части поглощаемой растениями энергии излучения, которая используется в растении в процессе фотосинтеза и соответствует спектральной чувствительности среднего растения данного вида (а.с. 124669, БИ 23, 1959).
В известных способе и устройстве применен фотоэлектрический фотометр с разлагающей излучение в спектр призмой или дифракционной решеткой и щелевой диафрагмой, выделяющей излучение требуемой области спектра.
Недостатками указанных способа и устройства их осуществления являются сложное, трудоемкое расчетное определение эксергии и большие затраты времени; повышенные сложность устройства, габариты, вес и стоимость прибора.
Существует также традиционная оценка – оценка солнечного излучения по его действию на растения, называемая методом ФАР (фотосинтетическая активная радиация).
Недостатком указанных способа и устройства технической его реализации является измерение так называемой фотосинтетически активной части энергии излучения, которым не учитывалась избирательность процесса фотосинтеза к излучениям различных длин волн. Традиционный способ не был согласован с эксергетической оценкой затрат техногенной энергии на технологические процессы выращивания растений. Величину эксергии в энергетике и других отраслях знаний определяют расчетным путем. Инструментального приборного измерения этой величины не было известно.
Необходимость разработки предлагаемого способа является переход с 80-х годов XX столетия в энергетике от энтропийных расчетов к способу эксергетического анализа при оценке потенциальной превратимости энергии. В связи с этим открылась возможность единого анализа преобразований природной энергии оптического излучения (ОИ) и техногенной энергии, используемой в технологиях при получении продукции растениеводства. Этим обусловлена необходимость и возможность разработки способа и устройства для определения эксергии ОИ в растениеводстве.
С 80-х годов XX столетия в энергетике оценку потенциальной превратимости различных первичных источников энергии проводят с помощью величины эксергии. Этот метод распространяется и на определение превратимости солнечной энергии ОИ. Для сельскохозяйственного производства и естественных экосистем энергия ОИ является главным первичным энергоисточником, это свидетельствует об актуальности определения эксергии ОИ в растениеводстве. Широко развиты способы расчетного определения величины эксергии в промышленной энергетике (В.М.Бродянский и др. Эксергетический метод и его приложения. – М.: Энергоатомиздат, 1988).
Наиболее близкими по технической сущности к предлагаемому изобретению относятся способ и устройство определения эксергии оптического излучения в растениеводстве, включающие непосредственное приборное определение (измерение) эксергии оптического излучения в растениеводстве, предложенные в патенте РФ (RU 2280975, БИ 22, 2006).
Недостатками этого способа определения эксергии оптического излучения по преобразованию его энергии в химическую в процессе фотосинтза растений и технической его реализации являются определение эксергии оптического излучения только в отношении фотосинтеза растений, а также сложность корригирования спектральной чувствительности измерительного приемника оптического излучения под спектральную эффективность фотосинтеза.
Задачей предлагаемого изобретения является оптимизация выбора вида преобразования энергии ОИ в технологии производства растениеводческой продукции и снижение затрат техногенной энергии путем непосредственного приборного измерения величины эксергии ОИ по каждому из возможных процессов преобразования энергии ОИ путем определения его электрической, тепловой и химической фотосинтезной эксергии.
В результате использования предлагаемого изобретения в практике сельскохозяйственного производства возможно использование энергии оптического излучения не только посредством фотосинтеза растений, но и на основе фотоэлектрических и тепловых преобразователей энергии. Для надежного обоснования целесообразности использования более результативного применения каждого из этих преобразователей в существующем разнообразии конечных целей необходимо определять эксергию оптического излучения и в отношении их.
Появляется возможность одним устройством измерить эксергию оптического излучения в отношении трех видов преобразования его энергии для выявления средств рационального его использования, а в качестве измерительного приемника оптического солнечного излучения в приборе использовать кремниевый фотоэлемент – основной элемент фотоэлектрического преобразователя энергии оптического излучения, спектральная чувствительность которого совпадает со спектральной эффективностью типичного (основного) из числа этого вида преобразователей. Эта важная особенность позволяет исключить корригирование спектральной чувствительности приемника под требуемую эффективность.
Вышеуказанный технический результат достигается тем, что в предлагаемом способе определения фотоэлектрической, тепловой и фотобиохимической – фотосинтезной эксергии для трех видов преобразования энергии солнечного излучения, включающем измерение поступающей на растения энергии излучения с учетом эффективности каждой длины волны в диапазоне 300-3000 нм и определение суммарной эксергии, выделяют часть энергии оптического излучения, которая потенциально пригодна в фотоэлектрическом, тепловом и фотосинтезном преобразованиях и измеряют фотоэлектрическую, тепловую и фотосинтезную эксергии применительно к трем видам преобразования энергии солнечного излучения, при этом оценивают эффективность излучений каждой длины волны в отношении каждого вида преобразованной энергии, суммируют по всем длинам волн указанного диапазона и затем преобразуют в фототок и усиливают этот сигнал фототока предварительным усилителем, затем проводят индикацию полученных сигналов, которые снимают интегратором с заданным интервалом времени и вычисляют фотоэлектрическую, тепловую и фотосинтезную эксергии, записывают полученные значения в памяти интегратора, суммируют и получают суммарное значение эксергии оптического излучения этих трех видов, которые индицируют на дисплее устройства и используют в процессе последовательного определения названных трех видов эксергии.
Технический результат достигается также тем, что устройство для определения фотоэлектрической, тепловой и химической фотосинтезной эксергии для трех видов преобразования энергии солнечного излучения, содержащее приемник оптического излучения с косинусной насадкой, фотометр, источник питания, вычислительное устройство, суммирующее поступление на поверхность земли трех видов эксергии оптического излучения в течение всего вегетационного или иного периода времени, содержит вычислитель эксергий фотоэлектрической, тепловой и фотосинтезной путем последовательного переключения для измерения каждого вида эксергий, а также тем, что в блок вычисления эксергий суммарного солнечного излучения введены функции: распределение энергии солнечного излучения и спектральной чувствительности кремниевого фотоэлемента, спектральной эффективности фотосинтеза растений, выход блока этих функций соединен с блоком вычисления фотоэлектрической эксергии, вычисления тепловой эксергии и вычисления фотосинтезной эксергии, которые своими выходами соединены с дисплеем, при этом выход блока приемника ОИ соединен с входом вычислителя, причем в качестве приемника оптического излучения используют кремниевый фотоэлемент, имеющий спектральную чувствительность, подобную таковой спектральной эффективности основного фотоэлектрического преобразователя солнечной энергии, и позволяющий для каждой длины волны выделять самопроизвольно только ту часть энергии, которая пригодна для преобразования солнечного излучения в электрическую энергию, тепловую энергию и фотосинтезную энергию, при этом в приемнике установлен датчик температуры теплоносителя на входе в тепловой преобразователь принятого типа, который своим выходом соединен со вторым входом блока вычисления тепловой эксергии.
Устройство прибора не содержит корригирующих светофильтров, что повышает точность измерений эксергии и упрощает изготовление прибора.
Мгновенное значение эксергии оптического излучения (эксергитическая облученность) для фотоэлектрического, фотосинтезного и теплового преобразований оптического излучения устанавливается в приборе функции по ( )С – значениям спектральных составляющих распределения энергии солнечного оптического излучения у поверхности земли, регламентированным МКО (Международная комиссия по освещению) (Д.Н.Лазарев. Светотехника, 1986, 8, с.8-11) и по коэффициентам спектральной эффективности фотосинтеза (ОСТ 46-140-83) посредством расчета в вычислительном устройстве прибора.
Способ включает измерение поступающей на поверхность земли энергии излучения с выделением той ее части, которая потенциально пригодна для использования растением в процессе фотосинтеза с учетом эффективности каждой длины волны в диапазоне 300-750 нм. Количество измеряемой энергии оптического излучения суммируют по всем длинам волн указанного диапазона, а также суммируют по времени за весь вегетационный период от появления всходов до созревания, преобразуют в фототок и усиливают сигнал фототока предварительным усилителем. Проводят индикацию полученного сигнала, который снимают интегратором с заданным интервалом времени, записывают полученные значения в памяти интегратора, суммируют и получают суммарное значение эксергии оптического излучения.
Расчетное определение тепловой эксергии надежно обосновано, исходя из термодинамических классических зависимостей. В частности, на основе формулы Карно для определения термодинамического КПД ( Т):

где T1 – температура теплоносителя на входе в тепловой преобразователь энергии, К; Т0 – то же самое на выходе из преобразователя (потребителя) тепловой энергии.
Эксергия теплового преобразователя (еТ), исходя из формулы (1), определяется по зависимости:

где WОИ – общая ЭСИ, подведенная к тепловому преобразователю.
Значение WОИ можно определить по величине (функции) распределения энергии излучения по спектру ( )С для солнечного излучения у поверхности земли.
Для удобства расчетов эксергии солнечного излучения (ЭСИ) международная комиссия по освещению (МКО) регламентировала функцию ( )С в виде численных суммарных абсолютных значений этой величины для отдельных спектральных участков (ОСТ 60.689.027-74. Фотосинтетические эффективные источники излучения. М.: Минэлектротехпром СССР, 1974).
Общую энергию солнечного излучения (WСИ) можно определить также методом графического интегрирования по выражению:

В соответствии с (1), (2) и (3) тепловую эксергию солнечного излучения у поверхности земли еТ можно определить с учетом температуры на входе в преобразователь (T1) по зависимости:

Непосредственное измерение эксергии ЭСИ возможно с помощью фотоэлектрического перехода со спектральной чувствительностью соответствующей спектральной эффективности преобразования ЭСИ в электрическую энергию. Этим обусловлена целесообразность использования в разрабатываемой системе (приборе) в качестве измерительного приемника кремниевого фотоэлемента, являющегося одновременно и основным видом практического преобразования ЭСИ в электрическую энергию. В этом случае эксергия ЭСИ (еФЭ) будет определяться по выражению:

где К( )ФЭ – спектральная эффективность фотоэлектрического преобразователя ЭСИ; 1, 2 – длины волн излучения, ограничивающие спектральную эффективность преобразователей.
В случае измерения фотосинтезной эксергии ее величина также определяется по выражению (5), но вместо спектральной эффективности фотоэлектрического преобразователя необходимо использовать величину (функцию) спектральной эффективности фотосинтеза К( )Ф. При этом граничные значения длин волн в выражении (5) будут 1=300 нм, 2=750 нм. Относительные числовые значения К( )Ф регламентированы ОСТ 46.140-83 [16] и ОСТ 60.689.027-74 (ОСТ 46.140-83. Излучение оптическое. Оценка фотосинтезной эффективности. Термины и определения. М.: Минсельхоз СССР, 1983). Регламентирование К( )Ф осуществлено и в ФРГ национальными нормами (Deutsche normen DIN/5031 Teil 10). Уточненные значения К( )Ф содержатся в ОСТ 46.140-83.
Устройство должно иметь переключатель по измерению названных трех видов эксергии ОИ по соответствующему преобразованию его энергии. Ниже кратко рассмотрена последовательность градуировки системы для измерения рассматриваемых видов энергии ОИ.
В устройстве в качестве измерительного приемника ОИ использован кремниевый фотоэлемент, который наиболее распространен в качестве преобразователя энергии ОИ в электрическую энергию. Его спектральная эффективность Э( ) достаточно хорошо изучена (Мадатов Р.С., Гасумова В.Г., Сафаров Н.А., Ахмедов Г.М. Коротковолновая фоточувствительность в облученных кремниевых преобразователях с оптическими покрытиями.

Для суммарного определения этого вида эксергии в устройстве предусмотрено суммирующее устройство.
Можно отградуировать измерительную шкалу системы в единицах этого вида эксергии. Эту градуировку можно осуществить и иным путем: используя значения К( )Ф по ОСТ 60.689.027-74 Минсельхоза СССР, которые введены в вычислительный блок системы определения эксергии на основе зависимости:

где nеФР, nеФЭ – соответственно цена деления шкалы системы при измерении эксергии ОИ по фотосинтезному преобразованию и то же самое по фотоэлектрическому.
Энергия ОИ по тепловому преобразованию определяется в соответствии с выражениями (3) и (4). Табулированные значения ( )С для отдельных спектральных участков по МКО вводятся в вычислительный блок измерительной системы. Цену деления измерительной шкалы по определению тепловой эксергии (без учета температуры теплоносителя на входе в преобразователь) можно определить по выражению:

Учет температуры теплоносителя в преобразователе можно осуществить по выражению (4), добавив в правую часть выражения (7) множитель (1-T0/T1). Для учета (задания значения T1) в вычислительном блоке измерительной системы можно предусмотреть отдельный элемент управления – задатчик температуры теплоносителя теплового преобразователя энергии ОИ. Значение Т0 можно принять постоянным, равным усредненному значению температуры окружающей среды – 300 К.
Сущность изобретения поясняется фиг.1 и 2.
На фиг.1 представлена общая схема блока приемника устройства определения электрической, тепловой и химической фотосинтезной эксергии для трех видов преобразования энергии солнечного излучения.
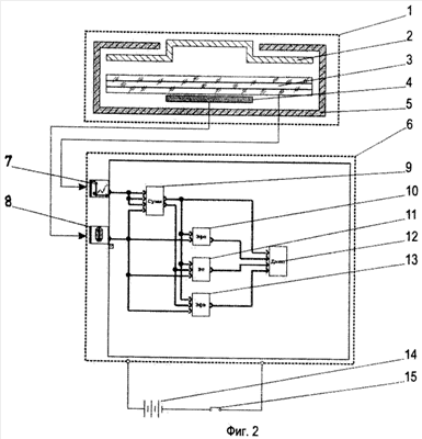
На фиг.2 представлена принципиальная схема устройства для определения эксергии фотоэлектрической, тепловой и фотосинтезной эксергий для трех видов преобразования энергии солнечного излучения.
Устройство содержит блок приемника оптического излучения 1 с косинусной насадкой 2, фотоэлементом 3, датчиком температуры 4, корпусом 5 и вычислителя для фотоэлектрической, тепловой и фотосинтезной эксергии 6, состоящий из входа фотоЭДС 7, входа сигнала датчика температуры 8, блока вычисления энергии суммарного солнечного излучения 9, блока вычисления фотосинтезной эксергии 10, блока вычисления тепловой эксергии 11, дисплея 12, блока вычисления фотоэлектрической эксергии 13, источник питания 14, выключатель питания 15, причем выход блока приемника ОИ 1 соединен с входом вычислителя 6.
Способ осуществляют следующим образом.
Блок приемника ОИ 1 располагают в месте измерения эксергии ОИ. Поступившее солнечное излучение на приемник ОИ 1, прошедшее через косинусную насадку 2, которая корригирует падающее излучение под косинусную зависимость, попадает на фотоэлемент фотоэлектрического преобразования энергии 3, который создает напряжение, пропорциональное величине эксергии по фотоэлектрическому преобразованию ОИ.
Напряжение на фотоэлементе 3 создает фотоЭДС, которая обусловливает соответствующее показание дисплея 12, затем сигнал подается на вход фотоЭДС7, а через него на блок вычисления суммарного солнечного излучения 9, в свою очередь блок 9 вычисляет и записывает в памяти величину солнечного суммарного излучения с заданным интервалом времени.
После съема данных и их интегрирования рассчитанная величина поступает в блоки расчета эксергии фотосинтеза 10, тепла 11 и фотоэлектричества 13.
Спектральная чувствительность приемного устройства ОИ с применяемым образцом кремниевого фотоэлемента ( ( )эф) измеряется при градуировке прибора в абсолютных единицах эксергетической облученности (Вт/м2· ). Это обеспечивает измерение эксергетической облученности (мощности эксергии) ОИ при фотоэлектрическом преобразовании его энергии. Для измерения эксергии ОИ применительно к тепловому преобразованию его энергии в вычислительно-интегрирующее устройство введена функция спектрального распределения энергии солнечного излучения у поверхности земли ( )С, регламентированная МКО, которая соответствует температуре излучающей поверхности Солнца 6000 К.
По соотношению  устанавливается коэффициент перевода эксергии фотоэлектрического преобразования ОИ в интегральную облученность солнечного ОИ у поверхности земли – КПФЭ. Эксергию теплового преобразования энергии ОИ определяют формулой Карно по значениям температуры теплоносителя, получившего энергию от ОИ (T1), и температуре его на выходе из теплового преобразователя (Т0): Используя задатчик T1 в вычислительно-интегрирующем приборе можно определять эксергию теплоты преобразователя энергии ОИ при различных значениях T1 соответствующих реальных преобразователей, пригодных для использования.
Для определения эксергии ОИ по преобразованию его энергии в процессе фотосинтеза растений прибором в его вычислительно-интегрирующее устройство введена функция относительной спектральной эффективности фотосинтеза К( )Ф по ОСТ Минсельхоза 46-140-83. Значение этого вида эксергии ОИ (для растениеводства) определяется по выражению:

Пример осуществления способа определения эксергии ОИ по преобразованию его энергии в фотосинтез растений.
Проведенным обобщением экспериментальных данных для многих хлорофиллсодержащих растений от микроводорослей – хлореллы – до высших растений как травянистых, так и древесных было установлено, что спектральная эффективность фотосинтеза для всех растений одинакова и может быть принята одной и той же.
Измеряют распределение энергии излучения солнечного или искусственного источника по спектральным составляющим от 300 до 750 нм.
Для каждого участка длины волны значения энергии умножают на среднее значение соответствующего вида преобразования для определенного участка.
Полученное произведение суммируют по диапазону спектра от 300 до 750 нм применительно к процессу фотосинтезного преобразования. Значение мощности эксергии умножают на время поступления ее на поверхность земли или на время культивирования, выращивания растений.
Результаты расчетного определения и измерения предложенными способом и устройством значений эксергии оптического излучения у поверхности земли в условиях максимального его прихода приведены в таблице.
Предлагаемый способ и устройство позволяют проводить измерение энергии излучения с выделением трех характерных ее частей, которые потенциально пригодны для использования соответственно трем возможным видам ее преобразования в: электрическую, тепловую и химическую в процессе фотосинтеза растений с учетом эффективности каждой длины волны в отношении соответствующего процесса преобразования в диапазоне 300-3000 нм.
Литература
1. ОСТ 60.689.027-74. Фотосинтетические эффективные источники излучения. М.: Минэлектротехпром СССР, 1974.
2. ОСТ 46.140-83. Излучение оптическое. Оценка фотосинтезной эффективности. Термины и определения. М.: Минсельхоз СССР, 1983.
3. Бродянский В.М., Фратшер В., Михалек К. Эксергетический метод и его приложения. М.: Энергоатомиздат, 1988.
4. Пасынский А.Е. Биофизическая химия. М.: Высшая школа, 1963.
8, с.8-11.
6. Hepbusli Arif. A key review on exergetic analysis and assesment of renewable energy resoursesfor a sustainable future. Renewable sustainable energy reviews. (www.elsevier.com/locate/rser).
Формула изобретения
1. Способ определения фотоэлектрической, тепловой и фотобиохимической – фотосинтезной эксергии для трех видов преобразования энергии солнечного излучения, включающий измерение поступающей на растения энергии излучения с учетом эффективности каждой длины волны в диапазоне 300-3000 нм и определение суммарной эксергии, отличающийся тем, что выделяют часть энергии оптического излучения, которая потенциально пригодна в фотоэлектрическом, тепловом и фотосинтезном преобразованиях, и измеряют фотоэлектрическую, тепловую и фотосинтезную эксергии применительно к трем видам преобразования энергии солнечного излучения, при этом оценивают эффективность излучений каждой длины волны в отношении каждого вида преобразованной энергии, суммируют по всем длинам волн указанного диапазона и затем преобразуют в фототок и усиливают этот сигнал фототока предварительным усилителем, затем проводят индикацию полученных сигналов, которые снимают интегратором с заданным интервалом времени, и вычисляют фотоэлектрическую, тепловую и фотосинтезную эксергии, записывают полученные значения в памяти интегратора, суммируют и получают суммарное значение эксергии оптического излучения этих трех видов, которые индицируют на дисплее устройства, и используют в процессе последовательного определения названных трех видов эксергии.
2. Устройство для определения фотоэлектрической, тепловой и химической фотосинтезной эксергии для трех видов преобразования энергии солнечного излучения, содержащее приемник оптического излучения с косинусной насадкой, фотометр, источник питания, вычислительное устройство, суммирующее поступление на поверхность земли трех видов эксергии оптического излучения в течение всего вегетационного или иного периода времени, отличающееся тем, что оно содержит вычислитель, последовательно переключаемый на измерение каждого вида фотоэлектрической, тепловой и фотосинтезной эксергии, а также тем, что в блок вычисления эксергии суммарного солнечного излучения введены функции: распределение энергии солнечного излучения и спектральной чувствительности кремниевого фотоэлемента, спектральной эффективности фотосинтеза растений, выход блока этих функций соединен с блоком вычисления фотоэлектрической эксергии, вычисления тепловой эксергии и вычисления фотосинтезной эксергии, которые своими выходами соединены с дисплеем, при этом выход блока приемника оптического излучения соединен с входом вычислителя, причем в качестве приемника оптического излучения используют кремниевый фотоэлемент, имеющий спектральную чувствительность подобную спектральной эффективности основного фотоэлектрического преобразователя солнечной энергии и позволяющий для каждой длины волны выделять самопроизвольно только ту часть энергии, которая пригодна для преобразования солнечного излучения в электрическую, тепловую и фотосинтезную энергии, при этом в приемнике установлен датчик температуры теплоносителя на входе в тепловой преобразователь принятого типа, который своим выходом соединен со вторым входом блока вычисления тепловой эксергии.
РИСУНКИ
|