|
|
(21), (22) Заявка: 2007140638/12, 01.11.2007
(24) Дата начала отсчета срока действия патента:
01.11.2007
(46) Опубликовано: 10.05.2009
(56) Список документов, цитированных в отчете о поиске:
SU 631100 A1, 08.11.1978. SU 411793 A1, 23.10.1974. RU 2202160 C2, 20.04.2003. RU 2023356 С1, 30.11.1994. SU 605568 A1, 07.04.1978. SU 1105134 А, 30.07.1984. FR 2590440 А1, 29.05.1987.
Адрес для переписки:
393760, Тамбовская обл., г. Мичуринск, ул. Интернациональная, 101, ФГОУ ВПО “Мичуринский государственный аграрный университет”
|
(72) Автор(ы):
Бросалин Василий Григорьевич (RU), Манаенков Константин Алексеевич (RU)
(73) Патентообладатель(и):
ФГОУ ВПО “Мичуринский государственный аграрный университет” (RU)
|
(54) УСТРОЙСТВО ДЛЯ ВОЖДЕНИЯ ПОЧВООБРАБАТЫВАЮЩЕГО ОРУДИЯ ПО РЯДКАМ РАСТЕНИЙ
(57) Реферат:
Изобретение относится к сельскохозяйственному машиностроению и может быть использовано в орудиях для ухода за насаждениями, произрастающими рядами. Устройство содержит подпружиненные копирующие щупы, кинематически связанные с гидросистемой, включающей плоскоповоротный гидрораспределитель и исполнительный гидроцилиндр, управляющий положением рабочих органов почвообрабатывающего орудия. Кинематическая связь копирующих щупов с гидросистемой выполнена в виде П-образной рамки с жестко закрепленными на ней в нижней части ориентированными вдоль направления движения копирующими щупами. Верхняя часть П-образной рамки соединена посредством фиксатора с валом, расположенным горизонтально в продольно-вертикальной плоскости симметрии почвообрабатывающего орудия и взаимодействующим с золотником гидрораспределителя. Устройство значительно повышает качество выполнения работ, например, при раскрытии корневой системы вегетативно размножаемых подвоев перед их отделением от маточных растений. 1 з.п. ф-лы, 5 ил.
Изобретение относится к сельскохозяйственному машиностроению, в частности к орудиям для ухода за многолетними насаждениями, произрастающими рядами.
Известно устройство для вождения почвообрабатывающего орудия в рядах многолетних насаждений [1], содержащее установленные на раме орудия подпружиненные щупы, кинематически связанные с крановым гидрораспределителем, и гидроцилиндры, сообщенные посредством магистралей с гидрораспределителем и кинематически связанные с рабочим органом. При движении орудия щупы скользят по рядам растений и, воздействуя на гидрораспределитель, ориентируют рабочий орган относительно растений в рядах.
Недостаток известного устройства состоит в том, что оно не может быть применено, например, для раскрытия корневой системы вегетативно размножаемых подвоев перед их отделением от маточных растений, так как при наличии разреженных участков в рядах рабочий орган заходит за ось ряда и повреждает маточные растения, попадающие в зону его действия. Кроме того, шарнирно установленный на раме гидрораспределитель, связанный шлангами с гидроцилиндром, напорной и сливной магистралями, не обеспечивает четкую фиксацию золотника в нейтральном положении, особенно в полевых условиях с высоким уровнем динамических нагрузок.
Известно устройство для автоматического направления сельскохозяйственной машины по рядкам или междурядьям стеблевых культур [2 – прототип], содержащее шарнирно подвешенные в горизонтальной плоскости и расположенные с двух сторон рядка растений копирующие щупы и рычажный механизм, снабженный суммирующим устройством, передающим сигнал на гидросистему, включающую гидрораспределитель и исполнительный гидроцилиндр управления машиной.
Недостаток данного устройства заключается в том, что оно повреждает нежные растения, например вегетативно размножаемые подвои, из-за низкой эксплуатационной надежности рычажного механизма с суммирующим устройством и невозможности обеспечить четкое взаимодействие копирующего щупа, рычажного механизма и подвижно закрепленного корпуса гидрораспределителя и, как следствие, переключение золотника в строгое среднее положение в полевых условиях с высоким уровнем динамических нагрузок. Кроме того, первое соприкосновение растений со щупом происходит на минимальном удалении от шарнира его крепления, то есть с максимальной нагрузкой на растение.
Известен культиватор для обработки зоны рядка растений [3], содержащий раму, рабочие органы в виде роторов, установленных на вертикальных стойках и соединенных с рамой поводками, и механизм управления рабочими органами, включающий щуп, гидрораспределитель и гидроцилиндр, причем щуп выполнен в виде колеса с эластичным ободом и подпружиненной относительно стойки втулки, имеющей рычаг, при этом колесо соединено со стойкой посредством свободно установленной на последней П-образной рамки для взаимодействия с втулкой, а рычаг втулки кинематически соединен с гидрораспределителем. В работе при контакте копира с растением гидроцилиндр приводится в действие и выводит рабочий орган из зоны ряда растений и после обхода препятствия гидрораспределитель автоматически переключает гидроцилиндр, и поводок с рабочими органами снова вводится в зону ряда растений.
Известное устройство не может быть применено, например, для раскрытия корневой системы вегетативно размножаемых подвоев перед их отделением от маточных растений, так как подпружиненный щуп размещен с одной стороны ряда и при наличии разреженных участков неизбежны повреждения маточных растений после ввода рабочего органа в зону ряда растений.
Предложено устройство для вождения почвообрабатывающего орудия по рядкам растений, содержащее расположенные по обеим сторонам рядка подпружиненные копирующие щупы, кинематически связанные с гидросистемой, включающей плоскоповоротный гидрораспределитель и исполнительный гидроцилиндр, управляющий положением рабочих органов почвообрабатывающего орудия, отличающееся тем, что кинематическая связь копирующих щупов с гидросистемой выполнена в виде П-образной рамки с жестко закрепленными на ней в нижней части ориентированными вдоль направления движения копирующими щупами, а своей верхней частью соединенной посредством фиксатора с валом, расположенным горизонтально в продольно-вертикальной плоскости симметрии почвообрабатывающего орудия и взаимодействующим с золотником гидрораспределителя. При этом крепление копирующих щупов к П-образной рамке выполнено регулируемым.
Качественная работа предложенного устройства достигается тем, что кинематическая связь копирующих щупов с гидросистемой, выполненная в виде П-образной рамки, закрепленной в вертикальной плоскости, обеспечивает постоянно высокую чувствительность устройства с момента попадания растений в зону между копирующими щупами независимо от их продвижения по ходу орудия и наличия пропусков в ряду. Минимальное количество шарниров кинематической связи в совокупности с жестким креплением корпуса гидрораспределителя к раме почвообрабатывающего орудия обеспечивает четкую фиксацию золотника гидрораспределителя в соответствии с положением копирующих щупов. Регулируемое крепление копирующих щупов к П-образной рамке кинематической связи позволяет настроить необходимый зазор между копирующими щупами и выставить их на необходимую высоту применительно к условиям работы устройства.
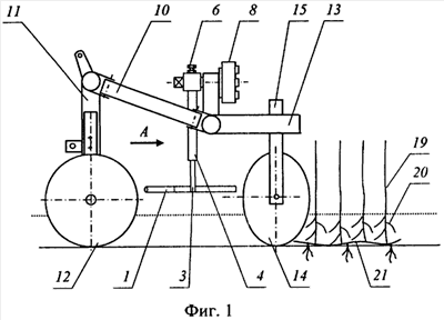
На фиг.1 изображено устройство для вождения почвообрабатывающего орудия по рядкам растений, вид сбоку; фиг.2 – то же, вид в плане; фиг.3 – вид А фигуры 1; фиг.4 – сечение Б-Б фигуры 3; фиг.5 – сечение В-В фигуры 3.
Устройство для вождения почвообрабатывающего орудия по рядкам растений содержит копирующие щупы 1 и 2, закрепленные на телескопических стойках 3 П-образной рамки, уравновешенной двумя одинаковыми пружинами 5 и соединенной посредством фиксатора 6 с валом 7, воздействующим на золотник плоскоповоротного гидрораспределителя 8, гидравлически связанного с исполнительным гидроцилиндром 9, установленным в параллелограммном механизме 10, соединяющем навеску 11, содержащую опорно-регулировочные колеса 12, с рамой 13, на которой размещены рабочие органы 14 почвообрабатывающего орудия. Рабочие органы 14 смонтированы на стойках 15 и закреплены к раме 13 посредством держателей 16, обеспечивающих изменение положения рабочих органов в пространстве. Вал 7 имеет оквадраченный наконечник 17, а копирующие щупы 1 и 2 закреплены с возможностью регулирования зазора между ними и стойками 3 посредством винтовых механизмов 18.
Устройство для вождения почвообрабатывающего орудия по рядкам растений на примере машины для раскрытия корневой системы вегетативно размножаемых подвоев перед их отделением от маточных растений работает следующим образом.
В исходном состоянии устройства П-образная рамка 4 под действием пружин 5 занимает среднее вертикальное положение. Зазор между копирующими щупами 1 и 2 настроен посредством винтовых механизмов 18 в соответствии с шириной рядка растений вегетативно размножаемых подвоев 19, а высота их расположения выставлена на 5 10 см над уровнем почвы. Золотник гидрораспределителя 8 находится в нейтральной позиции, в которой нагнетательная и сливная магистрали, а также обе полости гидроцилиндра 9 сообщены между собой. При этом приподнятое над землей почвообрабатывающее орудие под действием силы тяжести занимает среднее положение параллелограммного механизма 10, а при необходимости этого добиваются путем воздействия на золотник гидрораспределителя 8 поворотом вала 7 за наконечник 17 с последующим креплением вала посредством фиксатора 6 П-образной рамки 4 на валу 7.
В процессе работы почвообрабатывающее орудие движется над рядом растений, копирующие щупы 1 и 2 обжимают растения 19 с обеих сторон ряда и пропускают их в зазор между собой, при этом рабочие органы 14 разрушают почвенный вал с боков растений 19, отбрасывают почву в сторону междурядий, оголяя корневую систему 20 растений 19. Симметричное расположение рабочих органов 14 уравновешивает действующие на них нагрузки, которые ориентируют подвижную раму 13 в соответствии с расположением растений в ряду. При нарушении силового равновесия рама 13 смещается в сторону от ряда растений 19, один из копирующих щупов упирается в растения и через П-образную рамку 4 и вал 7, преодолевая усилие пружин 5, воздействует на золотник гидрораспределителя 8. При этом меняется проходное сечение каналов, соединяющих гидрораспределитель 8 с полостями гидроцилиндра 9, за счет чего снижается давление в одной и повышается в другой полостях указанного гидроцилиндра, восстанавливая тем самым равновесие подвижной рамы 13. При смещении навески 11 относительно оси ряда растений из-за неточностей вождения или непрямолинейности рядка копирующий щуп 1 или 2 упирается в растения, посредством П-образной рамки и вала 7 воздействует на золотник гидрораспределителя 8, управляющий гидроцилиндром 9, ориентирует подвижную раму 13 с рабочими органами 14 в соответствии с расположением растений 19. При наличии пропусков растений в рядке центрирующие пружины 5 выставляют П-образную рамку 4 с копирующими щупами 1 и 2 в среднее нейтральное положение и почвообрабатывающее орудие преодолевает этот участок рядка за счет установившегося движения рабочих органов 14 в равновесном состоянии, не повреждая маточные растения 21, находящиеся на оси обрабатываемого ряда, в нижней части укрывного вала.
Эффективность предлагаемого устройства достигается значительным повышением качества выполняемых работ, например, раскрытия корневой системы вегетативно размножаемых подвоев перед их отделением от маточных растений.
Источники информации
1. А.с. СССР 1428222, кл. А01В 39/16.
2. А.с. СССР 631100, кл. А01В 69/00.
3. А.с. СССР 1445571, кл. А01В 39/16.
Формула изобретения
1. Устройство для вождения почвообрабатывающего орудия по рядкам растений, содержащее подпружиненные копирующие щупы, кинематически связанные с гидросистемой, включающей плоскоповоротный гидрораспределитель и исполнительный гидроцилиндр, управляющий положением рабочих органов почвообрабатывающего орудия, отличающееся тем, что кинематическая связь копирующих щупов с гидросистемой выполнена в виде П-образной рамки с жестко закрепленными на ней в нижней части ориентированными вдоль направления движения копирующими щупами, а своей верхней частью соединенной посредством фиксатора с валом, расположенным горизонтально в продольно-вертикальной плоскости симметрии почвообрабатывающего орудия и взаимодействующим с золотником гидрораспределителя.
2. Устройство по п.1, отличающееся тем, что крепление копирующих щупов к П-образной рамке выполнено регулируемым.
РИСУНКИ
|
|