|
|
(21), (22) Заявка: 2007131629/12, 20.08.2007
(24) Дата начала отсчета срока действия патента:
20.08.2007
(46) Опубликовано: 10.05.2009
(56) Список документов, цитированных в отчете о поиске:
RU 2279779 С2, 20.07.2006. SU 447980 А, 30.10.1974. SU 1407429 A1, 07.07.1988. SU 1061726 A, 23.12.1983. JP 5137409 A, 01.06.1993.
Адрес для переписки:
410012, г.Саратов, Театральная пл., 1, СГАУ им. Вавилова, патентный отдел
|
(72) Автор(ы):
Цыплаков Владимир Владимирович (RU), Шпортько Оксана Николаевна (RU), Фокин Сергей Владимирович (RU)
(73) Патентообладатель(и):
Федеральное государственное образовательное учреждение высшего профессионального образования “Саратовский государственный аграрный университет имени Н.И. Вавилова” (RU)
|
(54) ВЫСЕВАЮЩЕЕ УСТРОЙСТВО
(57) Реферат:
Изобретение относится к лесной промышленности и предназначено для высева сыпучих семян. Высевающее устройство включает семенной бункер, дозирующее устройство, семенную коробку, сопло, питающий трубопровод, семяпровод. Семенная коробка выполнена в виде цилиндра, величина диаметра которого равна размеру четырех внешних диаметров сопла. Соотношение внешнего и внутреннего диаметров сопла равно 3/1. Сопло расположено так, что его ось симметрии и ось симметрии семенной коробки совпадают между собой. Использование изобретения позволит обеспечить равномерность и норму высева семян. 1 ил.
Изобретение относится к лесной промышленности. По авт. св. 1349711, А01С 7/04 известен высевающий аппарат пневматической сеялки, включающий пневматическую камеру с выходным отверстием и транспортирующим соплом. В нижней части пневматической камеры размещен подвижный в продольном направлении воздуховод с фиксаторами. В верхней стенке воздуховода выполнены в виде наклонных щелей дозирующие сопла. Оси щелей пересекаются в одной точке на горизонтальной оси симметрии выходного отверстия. Подвижный воздуховод сообщен с транспортирующим соплом и каналом. Выходное отверстие из пневматической камеры связано с сошниковой группой при помощи семяпровода. Принцип действия высевающего аппарата основан на перемещении семян из зоны повышенного давления пневмокамеры, образуемой при помощи воздушных потоков, создаваемых дозирующими соплами при подаче в них избыточного давления, в зону действия транспортирующего потока. Транспортирующее сопло эжектирует семена в выходное отверстие пневмокамеры. Недостатком данного устройства является то, что надежная работоспособность высевающего аппарата зависит от точной калибровки семян, их влажности и равномерности весовых показателей высеваемых семян.
По патенту 2279779, А01С 7/04 (прототип) известно высевающее устройство, включающее в себя семенной бункер, дозирующее устройство, семенную коробку, сопло, питающий трубопровод, семяпровод. Сопло расположено в семенной коробке таким образом, чтобы его край совпадал с вертикальной осью симметрии бункера. Недостатком данного устройства является то, что семенная коробка имеет прямоугольное сечение и выгнутую форму своего дна, что вызывает снижение равномерности и нормы высева. Снижение происходит вследствие того, что часть семян остается в семенной коробке из-за трения в углах семенной коробки и зоны пониженного давления в ее вогнутой части. В результате устройство перестает работать, так как происходит заполнение семенами объема семенной коробки.
Технической задачей данного изобретения является обеспечение равномерности и нормы высева семян.
Выполнение технической задачи достигается тем, что высевающее устройство, включающее семенной бункер, дозирующее устройство, семенную коробку, сопло, питающий трубопровод, семяпровод, в котором согласно изобретению семенная коробка выполнена в виде цилиндра, величина диаметра которого равна размеру четырех внешних диаметров сопла, а соотношение внешнего и внутреннего диаметров сопла равно 3/1, причем сопло расположено так, что его ось симметрии и ось симметрии семенной коробки совпадают между собой.
Отличие предлагаемого изобретения от прототипа состоит в том, что семенная коробка выполнена в виде цилиндра, величина диаметра которого равна размеру четырех внешних диаметров сопла, а соотношение внешнего и внутреннего диаметров сопла равно 3/1, причем сопло расположено так, что его ось симметрии и ось симметрии семенной коробки совпадают между собой. В результате того, что семенная камера имеет цилиндрическую форму, подобраны соотношения диаметра семенной камеры, внешнего и внутреннего диаметров сопла, а также за счет соосного размещения сопла в семенной коробке, семена, попадающие в нее, потоком воздуха, движущегося со скоростью, полностью транспортируются в семяпровод.
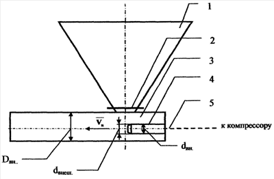
На чертеже изображена конструкция высевающего устройства.
Высевающее устройство содержит семенной бункер 1, дозирующее устройство 2, семенную коробку 3, сопло 4, питающий трубопровод 5, семяпровод 6 (не показан).
Высевающее устройство работает следующим образом.
После того, как через питающий трубопровод 5 начинается подача избыточного давления, из сопла 4, расположенного в семенной коробке 3, начинает выходить струя воздуха со скоростью Vп. В результате разницы между рабочим напором воздуха, выходящего из сопла 4, и напором семенного потока, выходящего из бункера 1 через дозирующее устройство 2, происходит вовлечение семян в воздушный поток. Семенная коробка 3 имеет цилиндрическую форму и внутренний диаметр (Dвн), величина которого равна четырем внешним диаметрам сопла (dвнеш). Причем соотношение внешнего диаметра сопла 4 к внутреннему dвнеш/dвн равно 3/1 и сопло расположено так, чтобы оси симметрии его и семенной коробки 3 совпадали между собой. В результате экспериментальных исследований установлено, что данные соотношения диаметров семенной коробки (Dвн), внешнего (dвнеш) и внутреннего (dвн) диаметров сопла наиболее рациональны для равномерного распределения давления, создаваемого в семенной коробке струей воздуха, выходящего из сопла со скоростью Vп. В результате того, что семенная камера цилиндрической формы, подобраны соотношения диаметра семенной камеры, внешнего и внутреннего диаметров сопла, также за счет соосного размещения сопла в семенной коробке семена, попадающие в нее, потоком воздуха, движущегося со скоростью Vп, полностью транспортируются в семяпровод 6.
Формула изобретения
Высевающее устройство, включающее семенной бункер, дозирующее устройство, семенную коробку, сопло, питающий трубопровод, семяпровод, отличающееся тем, что семенная коробка выполнена в виде цилиндра, величина диаметра которого равна размеру 4-х внешних диаметров сопла, а соотношение внешнего и внутреннего диаметров сопла равно 3/1, причем сопло расположено так, что его ось симметрии и ось симметрии семенной коробки совпадают между собой.
РИСУНКИ
|
|