|
|
(21), (22) Заявка: 2007145160/12, 04.12.2007
(24) Дата начала отсчета срока действия патента:
04.12.2007
(46) Опубликовано: 10.05.2009
(56) Список документов, цитированных в отчете о поиске:
SU 1496647 A1, 30.07.1989. RU 2183054 C1, 10.06.2002. SU 1750440 A1, 30.07.1992. SU 1782353 A1, 23.12.1992. SU 1822618 A1, 23.06.1993.
Адрес для переписки:
400123, г.Волгоград, ул. Хользунова, 23, кв.34, В.И. Пындаку
|
(72) Автор(ы):
Пындак Виктор Иванович (RU), Лобойко Владимир Филиппович (RU), Борисенко Иван Борисович (RU)
(73) Патентообладатель(и):
Волгоградская государственная сельскохозяйственная академия (RU)
|
(54) ГЛУБОКОРЫХЛИТЕЛЬ
(57) Реферат:
Глубокорыхлитель содержит выполненную двухслойной стойку с накладным ножом, закрепленное на ней долото и дополнительные рыхлящие элементы. Долото закреплено на стойке посредством башмака в виде охватывающей стойку скобы с площадкой впереди стойки для долота. Ниже башмака слои стойки отогнуты в разные стороны, образуя на виде спереди симметричную -образную арку. Угол раствора -образной арки составляет 50-60°. На концах -образной арки жестко и перпендикулярно верхней части стойки закреплены башмаки со своими долотами, ширина которых в 2,0-2,5 раза меньше ширины верхних башмака и долота. Дополнительные рыхлящие элементы закреплены на тыльной стороне стойки, выполнены в виде дренеров и шарнирно прикреплены к наклонным стойкам -образной арки. Верхний башмак закреплен на стойке с возможностью дискретной переустановки. Накладные ножи установлены на наклонных стойках -образной арки. Шарниры крепления дренеров имеют две степени свободы. Тыльная сторона верхней части стойки снабжена трубкой с жиклером на ее нижнем конце. Такое конструктивное выполнение позволит повысить эксплуатационно-технологические показатели и функциональные возможности глубокорыхлителя при снижении энергозатрат и возрастании плодородия почвы. 5 з.п. ф-лы, 6 ил.
Изобретение относится к сельскохозяйственному машиностроению, к орудиям для глубокой основной (зяблевой) обработки почвы, и может быть использовано в сельском хозяйстве для агротехнических мелиорации деградированных, солонцовых и т.п. земель.
Известно почвообрабатывающее орудие, содержащее раму с последовательно смонтированными плужными корпусами и почвоуглубителями, причем стойки почвоуглубителей имеют действующий в фронтальной плоскости горизонтальный лемех с долотом на конце (RU 2267243 С1, МПК А01В 13/14 (2006.01), А01В 15/00 (2006.01), A01B 49/02 (2006.01), 10.01.2006).
Технический недостаток подобных орудий: высокое тяговое сопротивление как следствие наличия горизонтальных лемехов, действующих в фронтальной плоскости и работающих на относительно большой глубине в режиме блокированного резания (без выноса почвенной стружки на дневную поверхность); повышенная металлоемкость из-за наличия на почвоуглубителях существенной консольной нагрузки; недостаточная глубина рыхления почвы для мелиорации деградированных, солонцовых и т.п. почв.
Известен комбинированный плоскорез – щелеватель, содержащий отдельно закрепленные на раме дисковый нож, плоскорежущие лапы и щелерез (глубокорыхлитель) (журнал «Земледелие», 2005, 2, с.18-19, рис.1).
Технический недостаток подобных комбинированных почвообрабатывающих орудий: повышенная металлоемкость как следствие наличия отдельного рабочего органа для каждой технологической операции обработки почвы; малоэффективное рыхление почвы посредством щелевателя из-за ограниченной глубины внедрения в почву (25-35 см) и значительного расстояния между щелевателями по фронту действия; отсутствие эффекта разуплотнения почвы, характерного для чизелей, что повышает также тяговое сопротивление орудия.
Известен также глубокорыхлитель чизельного типа, наиболее близко сопоставимый с предлагаемым изобретением, содержащий нож-стойку (стойку с накладным ножом), наральник (долото) на конце и дополнительные рыхлящие элементы на тыльной стороне стойки – грунтоподъемники внизу и культиваторная лапка вверху; глубина безотвального рыхления почвы – до 0,6 м (см. журнал «Вестник РАСХН», 2003, 4, с.28-30, рис.4).
Технический недостаток данного глубокорыхлителя: при глубине рыхления почвы 0,5-0,6 м снижается эффект чизелевания, поскольку при такой глубине внедрения долота в почву не происходит полноценное обрушение почвы под углом 45° впереди и по бокам стойки, следствием чего является повышение тягового сопротивления; недостаточное рыхление почвы по фронту действия почвообрабатывающего орудия из-за большого расстояния между стойками (0,5 м) и указанной глубины внедрения в почву (грунтоподъемники малоэффективны); невозможность использования, например, для агротехнических мелиорации деградированных, солонцовых и т.п. почв по указанным выше причинам; не предусмотрена возможность заделки в почву жидких удобрений и мелиорантов одновременно со вспашкой почвы; невозможность дальнейшего повышения глубины рыхления почвы.
Техническая задача: повышение глубины обработки почвы с одновременным увеличением объема рыхления почвы по фронту действия почвообрабатывающего орудия и при сохранении чизельного эффекта разуплотнения почвы на заданной глубине и, как следствие, снижение удельного тягового сопротивления глубокорыхлителя, внесение жидких удобрений и мелиорантов одновременно со вспашкой почвы.
Технический результат: повышение эксплуатационно-технологических показателей и функциональных возможностей при снижении удельных энергозатрат и возрастании плодородия почвы.
Согласно изобретению глубокорыхлитель содержит стойку с накладным ножом, закрепленное на ней долото и дополнительные рыхлящие элементы на тыльной стороне стойки; последняя выполнена двухслойной, долото закреплено на стойке посредством башмака в виде охватывающей стойку скобы с площадкой впереди стойки для долота; ниже башмака слои стойки отогнуты в разные стороны, образуя на виде спереди симметричную -образную арку, на концах которой жестко и перпендикулярно верхней части стойки закреплены башмаки со своими долотами, ширина которых в 2,0-2,5 раза меньше ширины верхних башмака и долота; дополнительные рыхлящие элементы выполнены в виде дрен и шарнирно прикреплены к наклонным стойкам -образной арки.
Наряду с этим верхний башмак закреплен на стойке с возможностью дискретной переустановки; угол раствора -образной арки составляет 50-60°; накладные ножи установлены на наклонных стойках -образной арки; шарниры крепления дрен имеют две степени свободы; тыльная сторона верхней части стойки снабжена трубкой с жиклером на ее нижнем конце.
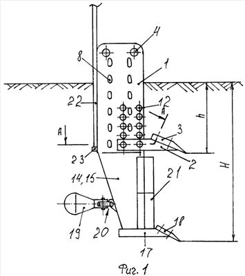
На фиг.1 изображен глубокорыхлитель, вид сбоку; на фиг.2 – то же, вид спереди; на фиг.3 – разрез А-А на фиг.1; на фиг.4 – выноска I из фиг.2 (без накладных ножей); на фиг.5 – схема взаимодействия глубокорыхлителя с почвой; на фиг.6 – разрез Б-Б на фиг.5.
Глубокорыхлитель включает стойку 1, на которой с возможностью переустановки закреплен башмак 2 со съемно смонтированным на нем долотом 3. Для крепления стойки на раме почвообрабатывающего орудия предусмотрены отверстия 4. Стойка выполнена двухслойной – из двух листовых деталей 5 и 6, которые жестко соединены между собой посредством сварки: сварные швы выполнены по стыкам 7 (с разделкой кромок) деталей и путем вырезания продолговатых отверстий 8 в одной из деталей для получения заклепочных сварных швов 9. Башмак 2 выполнен в виде охватывающей стойку скобы 10 с площадкой 11 впереди стойки для долота 3. В стойке имеются сквозные отверстия 12, посредством которых башмак может дискретно переустанавливаться по высоте стойки для изменения глубины h внедрения долота 3 в почву.
Ниже башмака 2 листовые детали 5 и 6 – слои стойки – отогнуты в разные стороны, образуя на виде спереди симметричную -образную арку 13. Вследствие этого образуются две дополнительные наклонные стойки 14 и 15, являющиеся принадлежностью арки. Угол раствора -образной арки составляет 50-60°. Место отгиба наклонных стоек 14 и 15 усилено сварным швом 16. На концах арки, внизу наклонных стоек 14 и 15 жестко (посредством сварки) и перпендикулярно верхней части стойки 1 закреплены башмаки 17 со своими съемно смонтированными долотами 18. Ширина в башмаков 17 и долот 18 в 2,0-2,5 раза меньше ширины В верхних башмака 2 и долота 3.
Дополнительные рыхлящие элементы выполнены в виде дрен 19, которые шарнирно прикреплены к тыльной стороне наклонных стоек 14 и 15 -образной арки 13. Шарниры 20 крепления дрен имеют две степени свободы. На фронтальной стороне наклонных стоек установлены накладные ножи 21 для повышения эффективности резания глубоко залегающих горизонтов почвы. Тыльная сторона верхней части стойки 1 снабжена трубкой 22 с жиклером 23 на ее конце – для подачи и распыления жидких удобрений и мелиорантов. Трубка соединена с соответствующей системой на раме орудия (на чертежах не показана).
Глубокорыхлитель работает следующим образом.
При движении пахотного агрегата глубокорыхлитель своими долотами – верхним 3 и двумя нижними 18 – вспарывает почву на разных горизонтах на глубинах h и Н (осуществляется двухъярусная основная обработка – рыхление почвы). С учетом возможности переустановки на стойке 1 башмака 2 с долотом 3, посредством отверстий 12 глубина h рыхления почвы в верхнем ярусе может изменяться в диапазоне 25-40 см. Глубина Н внедрения в почву нижних долот 18, расположенных на башмаках 17 перпендикулярно верхней части стойки 1, достигает 80 см. Ширина башмака 2 и долота 3 В=70 мм, толщина стойки (суммарно двух деталей 5 и 6) В1=40 мм. При таких размерах и известном угле установки (склонения) долота =25-30° и наличии скоса на долоте обеспечивается эффект чизелевания почвы. Чизелевание сопровождается разуплотнением и частично обрушением почвы под углом 45° по бокам стойки (зоны 24) и впереди стойки (зона 28).
Этот эффект объясняется блокированным резанием почвы посредством верхнего долота 3 без выноса почвенной стружки на дневную поверхность. Поскольку срезанная долотом стружка оказывается запертой со всех сторон, то она скапливается на верхних плоскостях долота. При дальнейшем движении глубокорыхлителя стружка сжимается, давление на плоскости долота (напряжение сжатия почвы) достигает огромной величины – до 50 МПа, из стружки выдавливается влага и воздух. После этого фрагменты сжатой почвы срываются с долота и веерообразно разлетаются вбок (влево и вправо) и вперед по ходу движения (процесс происходит непрерывно). Это и приводит к указанному разуплотнению и обрушению почвы, благодаря чему на 30-40% снижается удельное тяговое сопротивление чизеля по сравнению с лемешным плугом (без учета взаимодействия с почвой наклонных стоек 14 и 15 со своими долотами 18).
Наряду с чизелеванием глубокорыхлитель обеспечивает рыхление более глубоких горизонтов почвы, что весьма важно для деградированных, солонцовых и т.п. земель. Эту функцию реализует -образная арка 13 – ее накладные ножи 21 на наклонных стойках 14 и 15 и долота 18 на нижних концах стоек, расположенных на башмаках 17 перпендикулярно верхней части стойки 1, а также шарнирно закрепленные на тыльной стороне наклонных стоек дрены 19. Ширина в нижних башмаков 17 и долот 18 в 2,0-2,5 раза меньше ширины в верхних башмака 2 и долота 3; если, как отмечалось В=70 мм, то в=28-35 мм при толщине наклонных стоек в1=20 мм, а с учетом накладных ножей в’1=28 мм. Вследствие этого, а также из-за значительной глубины Н внедрения нижних долот 18 в почву (до 80 см) эффект чизелевания за счет вспарывания почвы нижними долотами проявляется не в полной мере. Но с учетом действия накладных ножей 21 и дрен 19 происходит своеобразное рыхление глубоких горизонтов почвы с образованием разрыхленных зон 25 и 26. Этому способствует и взаимное расположение наклонных стоек 14 и 15 под углом раствора -образной арки 13 =50-60°.
При формировании зон 25 и 26 возникают напряжения в прилегающих пластах почвы (в горизонте Н – h), что приводит к образованию трещин 27. А это дополнительное разуплотнение почвы с улучшением водно-воздушного режима всего горизонта, вплоть до глубины Н. Наличие между наклонными стойками 14 и 15 и дренами 19 шарниров 20 с двумя степенями свободы способствует стабилизации и саморегулированию положения дрен в почве. Описанный процесс основной обработки (рыхления) почвы сопровождается, как правило, подачей и заделкой в почву (на заданную глубину) жидких комплексных удобрений и мелиорантов. Для солонцовых почв в качестве мелиоранта может использоваться железный купорос, хорошо растворимый в воде. Для этого задействуется проложенная на тыльной стороне верхней части стойки 1 трубка 22 с жиклером (распылителем) 23 на ее нижнем конце (трубки с жиклерами устанавливаются на каждой стойке почвообрабатывающего орудия). В более глубокие горизонты почвы жидкие удобрения или мелиоранты просачиваются по взрыхленным зонам 25 и 26 и частично по образовавшимся трещинам 27.
Таким образом обеспечивается повышение глубины основной обработки почвы с увеличением объема рыхления по фронту действия почвообрабатывающего орудия при сохранении чизельного эффекта разуплотнения почвы на первом ярусе – заданной глубине до 40 см и частичное проявление этого эффекта на втором ярусе – в горизонте до 80 см. Это способствует не только реализации агротехнических мелиораций деградированных, солонцовых и т.п. почв, но и снижению удельного тягового сопротивления глубоко рыхлителя. Этот эффект возрастает за счет внесения жидких комплексных удобрений и мелиорантов одновременно со вспашкой почвы. В итоге достигается повышение эксплуатационно-технологических показателей и функциональных возможностей глуборыхлителя при снижении удельных энергозатрат и возрастании плодородия почвы.
Формула изобретения
1. Глубокорыхлитель, содержащий стойку с накладным ножом, закрепленное на ней долото и дополнительные рыхлящие элементы на тыльной стороне стойки, отличающийся тем, что стойка выполнена двухслойной, долото закреплено на стойке посредством башмака в виде охватывающей стойку скобы с площадкой впереди стойки для долота, ниже башмака слои стойки отогнуты в разные стороны, образуя на виде спереди симметричную -образную арку, на концах которой жестко и перпендикулярно верхней части стойки закреплены башмаки со своими долотами, ширина которых в 2,0-2,5 раза меньше ширины верхних башмака и долота, при этом дополнительные рыхлящие элементы выполнены в виде дренеров и шарнирно прикреплены к наклонным стойкам -образной арки.
2. Глубокорыхлитель по п.1, отличающийся тем, что верхний башмак закреплен на стойке с возможностью дискретной переустановки.
3. Глубокорыхлитель по п.1, отличающийся тем, что угол раствора -образной арки составляет 50-60°.
4. Глубокорыхлитель по п.1, отличающийся тем, что накладные ножи установлены на наклонных стойках -образной арки.
5. Глубокорыхлитель по п.1, отличающийся тем, что шарниры крепления дренеров имеют две степени свободы.
6. Глубокорыхлитель по п.1, отличающийся тем, что тыльная сторона верхней части стойки снабжена трубкой с жиклером на ее нижнем конце.
РИСУНКИ
|
|