|
(21), (22) Заявка: 2006145709/09, 22.12.2006
(24) Дата начала отсчета срока действия патента:
22.12.2006
(43) Дата публикации заявки: 27.06.2008
(46) Опубликовано: 27.04.2009
(56) Список документов, цитированных в отчете о поиске:
SU 750760, 25.07.1980. RU 2101885 С1, 10.01.1998. GB 650337, 21.02.1951. US 4870236, 26.09.1989.
Адрес для переписки:
109028, Москва, Б. Трехсвятительский пер., 3, МИЭМ, к.508, ООИС, пат.пов. Т.В.Григорьевой
|
(72) Автор(ы):
Мамонтов Александр Владимирович (RU), Назаров Игорь Васильевич (RU), Нефедов Владимир Николаевич (RU), Потапова Татьяна Александровна (RU)
(73) Патентообладатель(и):
Государственное образовательное учреждение высшего профессионального образования “Московский государственный институт электроники и математики (технический университет)” (RU)
|
(54) СВЕРХВЫСОКОЧАСТОТНОЕ УСТРОЙСТВО ДЛЯ НАГРЕВА ДИЭЛЕКТРИЧЕСКИХ МАТЕРИАЛОВ
(57) Реферат:
Изобретение относится к СВЧ-устройствам для тепловой обработки различных диэлектрических материалов и может быть использовано в электронной, деревообрабатывающей, текстильной и других различных отраслях промышленности. Технической задачей является обеспечение равномерного распределения температурного поля в листовых диэлектрических материалах в режиме бегущей волны за счет устранения так называемого «полосатого эффекта». В сверхвысокочастотном устройстве для нагрева диэлектрических материалов, содержащем две периодические замедляющие системы, состоящие из штырей, связок и пластин и расположенные друг над другом, периодические замедляющие системы размещены относительно друг друга таким образом, чтобы энергии электромагнитного поля распространялась во взаимно противоположных направлениях, и смещены друг относительно друга в продольном направлении на половину расстояния между штырями. Периодические замедляющие системы выполнены идентичными и размещены поперек направления движения диэлектрического материала. Устройство снабжено, по меньшей мере, двумя идентичными периодическими замедляющими системами, расположенными друг над другом, пары размещены поперек направления движения диэлектрического материала и каждая пара расположена по отношению к соседней во взаимно противоположных направлениях распространения энергии электромагнитного поля. 1 з.п. ф-лы, 6 ил.
Изобретение относится к СВЧ-устройствам для тепловой обработки различных диэлектрических материалов и может быть использовано в электронной, деревообрабатывающей, текстильной и других различных отраслях промышленности.
Известно СВЧ-устройство нагрева диэлектрических материалов, содержащее источник СВЧ-энергии и камеру нагрева с периодической замедляющей системой, состоящей из штырей, связок, короткозамкнутых пластин (Патент США 3814983, МКИ G21K 5/10, H01J 37/32, опубл. 04.06.1974 г.).
Наиболее близким является СВЧ-устройство нагрева диэлектрических материалов, содержащее источник СВЧ-энергии и камеру нагрева с периодической замедляющей системой, состоящей из штырей, связок и пластин, расположенной под нагреваемым материалом и периодической замедляющей системой, расположенной над нагреваемым материалом, причем замедляющие системы отстоят друг от друга на расстояние, не кратное половине длины волны в свободном пространстве, и смещены относительно друг друга вдоль оси на четверть продольного периода (А.С. СССР 750760, МКИ 3 Н05В 9/06, опубл. 23.07.1980 г.).
Недостатком известных конструкций является так называемый «полосатый эффект». Он состоит в следующем. Размещение периодических замедляющих систем в известных устройствах вдоль направления движения обрабатываемого диэлектрического материала приводит к тому, что энергия электромагнитного поля распространяется сонаправленно движению обрабатываемого материала. При этом температура материала, расположенного над штырями, намного меньше, чем температура материала, расположенного между штырями, в связи с этим энергия распределяется неравномерно и происходит неравномерный нагрев обрабатываемого материала, что приводит к браку.
Технической задачей, на решение которой направлено предлагаемое изобретение, является обеспечение равномерного распределения температурного поля в листовых диэлектрических материалах в режиме бегущей волны за счет устранения так называемого «полосатого эффекта».
Поставленная техническая задача решается тем, что в сверхвысокочастотном устройстве для нагрева диэлектрических материалов по первому варианту выполнения, содержащем две периодические замедляющие системы, состоящие из штырей, связок и пластин и расположенные друг над другом, согласно предложенному изобретению периодические замедляющие системы размещены относительно друг друга во взаимно противоположных направлениях распространения энергии электромагнитного поля и смещены друг относительно друга в продольном направлении на половину расстояния между штырями.
Дополнительные существенные отличия предложенного изобретения по первому варианту выполнения состоят в том, что периодические замедляющие системы выполнены идентичными и размещены перпендикулярно направлению движения диэлектрического материала.
Поставленная техническая задача решается также тем, что сверхвысокочастотное устройство для нагрева диэлектрических материалов по второму варианту выполнения, содержащее, по меньшей мере, две периодические замедляющие системы, состоящие из штырей, связок и пластин и расположенные друг над другом, согласно предложенному изобретению дополнительно снабжено, по меньшей мере, двумя периодическими замедляющими системами, расположенными друг над другом, при этом каждые попарно расположенные друг над другом периодические замедляющие системы размещены относительно друг друга во взаимно противоположных направлениях распространения энергии электромагнитного поля и смещены друг относительно друга в продольном направлении на половину расстояния между штырями и, кроме того, пары размещены поперек направления движения диэлектрического материала и каждая пара расположена по отношению к соседней во взаимно противоположных направлениях распространения энергии электромагнитного поля.
Дополнительное существенное отличие предложенного изобретения по второму варианту выполнения состоит в том, что периодические замедляющие системы выполнены идентичными.
Размещение периодических замедляющих систем относительно друг друга во взаимно противоположных направлениях распространения энергии электромагнитного поля и смещение их друг относительно друга в продольном направлении на половину расстояния между штырями обеспечивает равномерность распространения электромагнитной энергии, а следовательно, и равномерность нагрева обрабатываемого материала.
Размещение периодических замедляющих систем в предложенном устройстве поперек направления движения обрабатываемого диэлектрического материала приводит к тому, что энергия электромагнитного поля распространяется перпендикулярно движению обрабатываемого материала, что позволяет исключить мертвые зоны в обработке.
Техническим результатом, достижение которого обеспечивается всей заявленной совокупностью существенных признаков, является равномерный нагрев обрабатываемого диэлектрического материала и устранение так называемого «полосатого эффекта».
Изобретение поясняется чертежами, где
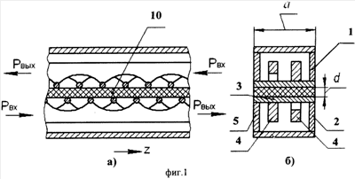
на фиг.1 изображена конструкция устройства по первому варианту выполнения в поперечном сечении, а) вид спереди, б) сбоку;
на фиг.2 представлены рассчитанные и экспериментальные характеристики температурного поля в обрабатываемом диэлектрическом материале для каждой замедляющей системы и суммарное распределение;
на фиг.3 представлена область разброса параметров распределения температурного поля в обрабатываемом диэлектрическом материале после прохождения материалом каждой пары периодических замедляющих систем СВЧ-устройства;
на фиг.4 изображена конструкция устройства по второму варианту выполнения в поперечном сечении, вид сбоку;
на фиг.5 изображен общий вид одной секции периодической замедляющей системы.
Сверхвысокочастотное устройство для нагрева диэлектрических материалов по первому варианту (фиг.1а, б) выполнения содержит две периодические замедляющие системы 1 и 2, расположенные друг над другом.
Каждая периодическая замедляющая система состоит из штырей 3, элементов типа «связка» 4 и пластин 5. Пластины 5 имеют электрический контакт с каждым штырем 3.
Каждая периодическая замедляющая система соединена с индивидуальным источником СВЧ-энергии 6 и защитным устройством 7 для поглощения избыточной энергии через коаксиальные переходы 8 и 9 соответственно, образуя секцию (фиг.5).
Периодические замедляющие системы 1 и 2 параллельно размещены относительно друг друга во взаимно противоположных направлениях распространения энергии электромагнитного поля (как показано на фиг.1) и смещены друг относительно друга в продольном направлении на половину расстояния между штырями 3.
Периодические замедляющие системы 1 и 2 имеют идентичные параметры и конструкцию, включая уровень входящей СВЧ-мощности источника. Это позволило использовать принцип суперпозиции для суммирования температурного поля в материале от каждой секции в отдельности и добиться более равномерного распределения температурного поля, так как уровень входящей в каждую периодическую замедляющую систему СВЧ-энергии одинаков в отличие от прототипа.
Периодические замедляющие системы 1 и 2 размещены поперек (перпендикулярно) направления движения диэлектрического материала 10.
При этом энергия электромагнитного поля распространяется перпендикулярно движению обрабатываемого материала, поэтому происходит равномерный нагрев обрабатываемого материала.
Предложенное устройство по первому варианту выполнения может быть использовано для термообработки относительно тонких диэлектрических материалов.
Сверхвысокочастотное устройство для нагрева диэлектрических материалов по второму варианту (фиг.4) выполнения содержит две периодические замедляющие системы 1 и 2 и дополнительно, по меньшей мере, еще две периодические замедляющие системы 11 и 12. Каждые попарно расположенные друг над другом периодические замедляющие системы размещены относительно друг друга во взаимно противоположных направлениях распространения энергии электромагнитного поля и смещены друг относительно друга в продольном направлении на половину расстояния между штырями. Все периодические замедляющие системы выполнены идентичными. Пары 1 и 2, 11 и 12 размещены перпендикулярно направлению движения диэлектрического материала, и каждая пара расположена по отношению к соседней во взаимно противоположных направлениях распространения энергии электромагнитного поля.
Наличие, по меньшей мере, одной дополнительной пары позволяет существенно увеличить толщину обрабатываемого материала. Если принять за возможную для обработки СВЧ-энергией устройством по первому варианту толщину материала, удовлетворяющую условию d/L меньше 1, то использование предлагаемой конструкции по второму варианту выполнения позволяет увеличить толщину обрабатываемого материала до двух периодов пространства взаимодействия L.
В качестве примера на фиг.2 представлены рассчитанные (кривые) и экспериментальные (точки) характеристики распределения температурного поля по толщине листового материала при обработке (нагреве) его в предложенном устройстве по второму варианту выполнения, в частности, после обработки первой парой периодических замедляющих систем (или секций) (кривая 1), второй парой периодических замедляющих систем (или секций) (кривая 2) и суммарное распределение (кривая 3).
Экспериментальные точки выбирались между штырями.
Расчет был проведен для следующих параметров диэлектрического материала, а именно стеклопластика (стеклянные нити 80% + эпоксидная смола 20%) для стеклопластиковой арматуры, при этом d=L=6 мм для случая равномерного нагрева по толщине материала и d=1 мм для случая нагрева тонких материалов:

и параметров СВЧ-установки: (Pвх=600 Вт; f=2450 МГц),
Рвх – входная мощность источника СВЧ-энергии;
f – частота источника СВЧ-энергии;
 – удельная плотность обрабатываемого материала;
c – удельная теплоемкость обрабатываемого материала;
а – теплопроводность материала;
 – комплексная часть относительной диэлектрической проницаемости материала (фактор потерь);
l – ширина материала;
d – толщина материала.
При этом теплопроводность материала достаточно мала и лежит в пределах

Рассмотрим распределение мощности по толщине материала и, следовательно, распределение температуры в направлении оси y для рассматриваемой конструкции устройства СВЧ-нагрева.
Уравнение распределения мощности в материале как в направлении распространения энергии электромагнитного поля (z), так и по толщине материала, в направлении оси (y) можно записать в виде:

В качестве примера на фиг.3 показан разброс параметров температурного поля листовых диэлектрических материалов после обработки СВЧ-устройством по второму варианту выполнения, где кривая 4 – рассчитанные характеристики распределения температурного поля по толщине материала, а область 5 – область экспериментальных значений распределения температурного поля по толщине материала.
Из графиков видно, что максимальный разброс температурного поля по толщине материала составил не более 9%. Расхождение рассчитанных и измеренных характеристик температурного поля не превышало 4%.
Устройство работает следующим образом.
Периодические замедляющие системы 1 и 2 в устройстве по первому варианту выполнения располагают друг над другом, размещают относительно друг друга во взаимно противоположных направлениях распространения энергии электромагнитного поля, при этом они смещены друг относительно друга в продольном направлении на половину расстояния между штырями 3.
Между системами 1 и 2 транспортируют диэлектрический материал 6, который движется со скоростью , определяемой условиями технологического режима. С помощью волноводных переходов 9 энергия, вырабатываемая СВЧ-генератором, передается в периодическую замедляющую систему. Листовой диэлектрический материал поглощает энергию СВЧ-поля по известному экспоненциальному закону и приобретает заданное распределение температурного поля. Не поглощенная материалом часть энергии СВЧ-генератора поглощается согласованной (водяной) нагрузкой. Суммарное распределение температурного поля в материале после прохождения между двух замедляющих систем, в которых энергия электромагнитного поля направлена во взаимно противоположных направлениях, удовлетворяет требованиям технологического процесса (работает принцип суперпозиции, а именно: сложение распределений температурного поля от каждой секции замедляющей системы).
Сверхвысокочастотное устройство для нагрева диэлектрических материалов (фиг.4) по второму варианту выполнения работает аналогично.
Предложенное конструктивное выполнение устройства обеспечивает равномерный нагрев обрабатываемого диэлектрического материала и устранение так называемого «полосатого эффекта».
Формула изобретения
1. Сверхвысокочастотное устройство для нагрева диэлектрических материалов, содержащее, по меньшей мере, две периодические замедляющие системы, состоящие из штырей, связок и пластин и расположенные друг над другом, отличающееся тем, что оно дополнительно снабжено, по меньшей мере, двумя периодическими замедляющими системами, расположенными друг над другом, каждые попарно расположенные друг над другом периодические замедляющие системы размещены относительно друг друга во взаимно противоположных направлениях распространения энергии электромагнитного поля и смещены относительно друг друга в продольном направлении на половину расстояния между штырями, при этом пары размещены поперек направления движения диэлектрического материала и каждая пара расположена по отношению к соседней во взаимно противоположных направлениях распространения энергии электромагнитного поля.
2. Сверхвысокочастотное устройство для нагрева диэлектрических материалов по п.1, отличающееся тем, что периодические замедляющие системы выполнены идентичными.
РИСУНКИ
|