|
(21), (22) Заявка: 2007128651/09, 28.04.2006
(24) Дата начала отсчета срока действия патента:
28.04.2006
(30) Конвенционный приоритет:
26.05.2005 DE 102005024790.3
(46) Опубликовано: 27.04.2009
(56) Список документов, цитированных в отчете о поиске:
WO 9208566 А, 29.05.1992. RU 35938 U1, 10.02.2004. RU 35939 U1, 10.02.2004. SU 684788 А, 05.09.1979. SU 780233 А, 15.11.1980. US 5155321 А, 13.10.1992. US 4818562 А, 04.04.1989.
(85) Дата перевода заявки PCT на национальную фазу:
25.07.2007
(86) Заявка PCT:
EP 2006/003991 20060428
(87) Публикация PCT:
WO 2006/125507 20061130
Адрес для переписки:
129090, Москва, ул. Б.Спасская, 25, стр.3, ООО “Юридическая фирма Городисский и Партнеры”, пат.пов. Ю.Д.Кузнецову, рег. 595
|
(72) Автор(ы):
ФИЛИППИ Йохен (DE)
(73) Патентообладатель(и):
ЭОС ГМБХ ЭЛЕКТРО ОПТИКАЛ СИСТЕМЗ (DE)
|
(54) ЛУЧИСТЫЙ ОБОГРЕВАТЕЛЬ ДЛЯ НАГРЕВА КОНСТРУКЦИОННОГО МАТЕРИАЛА В ЛАЗЕРНОМ АГЛОМЕРАЦИОННОМ УСТРОЙСТВЕ
(57) Реферат:
Изобретение относится к области электротехники, в частности к лучистому обогревателю для нагрева конструкционного материала в лазерном агломерационном устройстве и лазерному агломерационному устройству с таким лучистым обогревателем. Лучистый обогреватель содержит плоскостной теплоизлучающий элемент, который выполнен из материала с незначительной тепловой инертностью, с коэффициентом температуропроводности больше, чем 1,5·10-4 м2/сек, и имеет толщину от 2 мм или меньше. Техническим результатом изобретения является улучшение динамичной характеристики лучистого обогревателя за счет быстрой и точной регулировки температуры нагрева. 2 н. и 11 з.п. ф-лы, 5 ил.
Изобретение относится к лучистому обогревателю, согласно ограничительной части пункта 1 формулы изобретения, и к лазерному агломерационному устройству с таким лучистым обогревателем.
Такой лучистый обогреватель и такое лазерное агломерационное устройство для производства трехмерного объекта известны из документа WO 92/08566.
Из документа US 2004/0074898 A1 известен нагревательный элемент сопротивления из графита для обработки полупроводниковых пластин при температурах до 1200°C. При этом толщина элемента сопротивления составляет 0,1 дюйма (2,54 мм) или больше. На основе высокой толщины нагревательного элемента сопротивления его тепловая инертность является высокой. В частности, при более низких температурах при этом невозможно никакое быстрое управление/регулирование температуры.
При производстве трехмерного объекта посредством следующего друг за другом упрочнения слоев порошкообразного материала с помощью лазерного луча температура материала должна лежать в пределах определенного окна процесса, чтобы обеспечивать высокое качество трехмерного объекта. Для быстрой и точной регулировки и управления этой температурой является решающей динамичная характеристика лучистого обогревателя.
Поэтому в основе изобретения лежит задача предоставить лучистый обогреватель для лазерного агломерационного устройства и, соответственно, лазерное агломерационное устройство с таким лучистым обогревателем, с которым температура материала может быстро и точно регулироваться/управляться.
Задача решается посредством лучистого обогревателя согласно пункту 1 формулы изобретения и посредством лазерного агломерационного устройства для производства трехмерного объекта, согласно пункту 13 формулы изобретения. Дальнейшие совершенствования изобретения описаны в зависимых пунктах формулы изобретения.
Применение плоскостного излучателя в лазерном агломерационном устройстве имеет по отношению к применению обыкновенных теплоизлучателей, таких как лампы или нагревательные стержни, то преимущество, что он при той же самой производительности излучения может эксплуатироваться с более незначительными температурами. Это ведет к небольшому боковому излучению на стены технологической камеры и более прохладной атмосфере технологической камеры.
Соответствующий изобретению лучистый обогреватель имеет, в частности, то преимущество, что он содержит теплоизлучающий элемент с незначительной тепловой инертностью и поэтому реализуемая теплоизлучающим элементом производительность может быстро изменяться. Это делает возможным очень быструю и точную регулировку и управление температурой нагреваемого лучистым обогревателем материала.
С помощью изобретения далее возможно производство трехмерного объекта с высоким качеством при незначительной продолжительности построения.
Графит имеет преимущество для соответствующего изобретению теплоизлучающего элемента в том, что он имеет высокую теплопроводность и одновременно незначительную удельную теплоемкость. Это соответствует высокому коэффициенту a температуропроводности, который можно рассчитывать из удельной теплопроводности , удельной плотности и удельной теплоемкости c, согласно следующей формуле:
a = / ( ·c).
Высокий коэффициент температуропроводности имеет своим следствием незначительную тепловую инертность и гомогенное распределение температуры и, соответственно, производительность излучения теплоизлучающего элемента. Графит имеет далее то преимущество, что он может использоваться при высоких температурах.
Дальнейшие признаки и преимущества изобретения очевидны из описания примеров выполнения посредством приложенных чертежей.
Чертежи показывают:
Фиг.1 – схематическое представление примера выполнения лазерного агломерационного устройства.
Фиг.2 – лучистый обогреватель согласно первому варианту выполнения.
Фиг.3 – видоизменение лучистого обогревателя из фиг.2.
Фиг.4 – лучистый обогреватель согласно второму варианту выполнения.
Фиг.5 – лучистый обогреватель согласно третьему варианту выполнения.
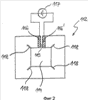
Фиг.1 показывает лазерное агломерационное устройство с соответствующим изобретению лучистым обогревателем. Лазерное агломерационное устройство имеет открытый наверх контейнер 1. В контейнере 1 предусмотрен носитель 2 для крепления образуемого объекта 3. Носитель 2 может двигаться посредством привода 4 в контейнере 1 в вертикальном направлении A вверх и вниз. Верхняя кромка контейнера 1 определяет рабочую плоскость 5. Поверх рабочей плоскости 5 расположено устройство облучения 6 в виде лазера, который выдает направленный лазерный луч, который отклоняется посредством отклоняющего устройства 7 на рабочую плоскость 5. Далее, предусмотрена установка 8 для нанесения покрытий для нанесения слоя упрочняемого порошкового материала на поверхность носителя 2 или на упрочненный последним слой. Установка 8 для нанесения покрытий может двигаться по рабочей плоскости 5 туда и обратно посредством привода, схематически обозначенного стрелками B. Установка для нанесения покрытий запитывается через два дозатора 9 слева и справа от рабочего поля из двух бункеров 10 запаса порошка. Далее, слева и справа от рабочего поля предусмотрены два перепускных бункера 11, которые могут принимать скапливающийся при нанесении покрытий лишний порошок.
Кроме того, устройство имеет расположенный над рабочей плоскостью 5 лучистый обогреватель 12 для предварительного нагрева нанесенного, однако, еще не агломерированного слоя порошка до предназначенной для спекания рабочей температуры TA. Лучистый обогреватель 12 выполнен при этом так, что нанесенный слой порошка может нагреваться равномерно.
На расстоянии, поверх рабочей плоскости 5 предусмотрено измерительное устройство 13 температуры, которое служит для бесконтактного измерения температуры нанесенного последним и соответственно самого верхнего слоя порошка.
Рабочая область заключена от внешней среды технологической камерой 16. Вследствие этого может при необходимости предотвращаться окисление порошка и высвобождение возможных технологических газов.
Управляющее и/или регулировочное устройство 17 служит для управления и/или регулирования производительности лучистого обогревателя 12, а также производительности устройства 6 облучения. Для этого управляющее и/или регулировочное устройство 17 связано с лучистым обогревателем 12, измерительным устройством 13 температуры и с устройством 6 облучения.
Фиг.2 показывает первый вариант выполнения лучистого обогревателя.
Лучистый обогреватель 112 согласно первой форме выполнения содержит элемент 113 сопротивления как теплоизлучающий элемент. Элемент 113 сопротивления образован из пластины графита (например, усиленной углеродным волокном пластины графита © SigraBond фирмы SGL Carbon) с коэффициентом температуропроводности a > 1,5·10-4 м2/сек при температуре 20°C и толщиной d = 2,0 мм. Она имеет в сущности форму прямоугольника с расположенным в центре прямоугольным отверстием 114 для лазерного луча и тракта наблюдения измерительного устройства температуры. Огибающий прямоугольное отверстие элемент сопротивления разорван со стороны периметра щелью 115. На обеих сторонах щели на элемент сопротивления установлены соответственно выполненные как медная шина контакты 116 и соответственно 116′. Рассчитанный для высоких токов (примерно 20-40 A при напряжении 30-60 В) управляемый источник 117 напряжения присоединен к контактам 116, 116′. От углов отверстия 115 проходят щели 118 в направлении к углам внешнего периметра элемента сопротивления, чтобы достигать более равномерного распределения плотности электрического тока и соответственно повышения теплопроизводительности в области внешних углов после приложения напряжения к контактам 116, 116′ на элементе сопротивления.
Далее описывается режим эксплуатации описанного выше лазерного агломерационного устройства и соответствующего изобретению лучистого обогревателя.
Сначала с помощью установки 8 для нанесения покрытий на носитель 2 наносится первый слой порошка.
Решающим для качества готового объекта является, в частности, что температура упрочняемого самого верхнего слоя порошка имеет одну температуру в определенной области, в технологическом окне. При температурах выше технологического окна порошок агломерируется уже без дополнительной лучистой энергии, в то время как при температурах ниже технологического окна образуются перекосы в упрочненном слое. Часто так называемый Curl-эффект, при котором края упрочненного слоя отгибаются и соответственно также скатываются, приводит к слишком малой температуре самого верхнего слоя порошка. Поэтому для достижения хороших результатов нанесенный с помощью установки для нанесения покрытий слой порошка должен, в частности, для избежания перекосов в произведенном объекте, перед упрочнением нагреваться лучистым обогревателем 12 до рабочей температуры TA в пределах технологического окна.
Для этого температура этого слоя после нанесения слоя порошка бесконтактно измеряется измерительным устройством 13 температуры. В зависимости от измеренной при этом температуры определяется теплопроизводительность лучистого обогревателя 12. Если самый верхний слой порошка нагрет до рабочей температуры TA, то соответствующие поперечному сечению объекта места в слое порошка упрочняются посредством облучения лазером.
После упрочнения одного слоя носитель 2 опускается на соответствующий толщине слоя и установкой 8 для нанесения покрытий наносится новый слой порошка на ранее облученный лазером слой. Затем будут снова повторяться описанные ранее шаги до завершения производства трехмерного объекта.
На фиг.3 представлено видоизменение первой формы выполнения. Теплоизлучающий элемент 113′, согласно этому видоизменению, отличается от показанного на фиг.2 теплоизлучающего элемента тем, что он содержит подобные меандру плоскостные полосы, вследствие чего может повышаться значение омического сопротивления и вместе с тем теплопроизводительность для определенного напряжения, приложенного к элементу сопротивления.
На фиг.4 представлен в поперечном сечении второй вариант выполнения соответствующего изобретению лучистого обогревателя.
В лучистом обогревателе 212 согласно второй форме выполнения предусмотрена графитовая фольга 213 (например, графитовая фольга ®Sigraflex от SGL Carbon) как теплоизлучающий элемент, которая при температуре 20°C в направлении параллельно фольге имеет коэффициент температуропроводности a = 2,14·10-4 м2/сек и толщину d = 0,5 мм.
Графитовая фольга 213 для достижения высоких коэффициентов излучения обрабатывается черным излучательным аэрозолем. Она прижимается тонкими жесткими профилированными планками 214 к нагревательной проволоке 215, так что между нагревательной проволокой 215 и графитовой фольгой 213 образуется хороший тепловой контакт. Сверх того, профилированные планки способствуют механической стабилизации графитовой фольги.
На противоположной графитовой фольге стороне нагревательной проволоки 215 предусмотрена первая изоляция 216, нижняя сторона которой отражает тепловое излучение. В качестве материала для первой изоляции выбирается материал с механической стабильностью. Предпочтительно, эта первая изоляция 216 состоит из жесткого графитового войлока (например, жесткий графитовый войлок ®SigraTherm фирмы SGL Carbon) с незначительной теплопроводностью (коэффициент теплопроводности жесткого графитового войлока ®SigraTherm при температурах менее 1000°C составляет меньше, чем 0,3 Вт/м·K).
На противоположной нагревательной проволоке 215 стороне первой изоляции 216 предусмотрена вторая изоляция 217. Эта вторая изоляция не должна обладать никакой механической стабильностью, однако, должна иметь хорошие теплоизоляционные качества. Предпочтительно, вторая изоляция состоит из материала с теплопроводностью =0,03 Вт/м·K или меньше при температурах менее 400 °C (например, ®Promalight от фирмы Proma).
На противоположной графитовой фольге стороне и по бокам первая и вторая изоляции окружены для механической стабилизации рамой 218 из листовой высококачественной стали, на которой установлены также профилированные планки 214. Также для механической стабилизации по бокам между графитовой фольгой и первой изоляцией 216 предусмотрены прокладки 218 из изолирующего материала.
На фиг.5 представлен третий вариант выполнения соответствующего изобретению лучистого обогревателя.
Как и при второй форме выполнения, в лучистом обогревателе 312 согласно третьей форме выполнения предусмотрена графитовая фольга 313 как теплоизлучающий элемент. Тем не менее, в отличие от второй формы выполнения, она нагревается не при помощи нагревательной проволоки, а посредством нагревательных ИК-излучателей 314, которые расположены с интервалом на одной стороне графитовой фольги. По бокам и на противоположной графитовой фольге стороне нагревательные ИК-излучатели 314 с интервалом окружены изолирующей боковой обшивкой 315. Изолирующая обшивка отличается тем, что она является отражателем теплового излучения в сторону ИК-излучателей и обладает по возможности малой теплопроводностью. Как и теплоизоляция при второй форме выполнения, состоящая из первой и второй изоляции, изолирующая обшивка 315 может быть построена многослойной, чтобы соединять хорошую механическую стабильность одновременно с хорошими изоляционными качествами.
Возможны альтернативы и видоизменения описанного выше лазерного агломерационного устройства, лучистого обогревателя и описанного выше способа.
Соответствующий изобретению лучистый обогреватель описывался так, что теплоизлучающий элемент имеет форму с прямоугольным контуром. Эта геометрия теплоизлучающего элемента особенно подходит для равномерного нагрева прямоугольного целевого поля. Однако форма теплоизлучающего элемента этим не ограничена, а может иметь любые другие плоскостные конфигурации, которые сопрягаются с соответствующими геометрическими соотношениями. Таким образом, теплоизлучающий элемент может быть образован, например, с круглым контуром. Соответствующим образом, прямоугольное отверстие также может иметь другую, например, круглую форму.
Также возможно предусматривать несколько зон нагрева. Так в лучистом обогревателе согласно первому варианту выполнения может быть предусмотрено несколько нагревательных элементов сопротивления, в лучистом обогревателе согласно второму варианту выполнения – несколько нагревательных проволок и в лучистом обогревателе согласно третьей форме выполнения – несколько ИК-излучателей, которые приводятся в действие соответственно независимо друг от друга, чтобы образовывать несколько независимых друг от друга зон нагрева.
При первом варианте выполнения как материал теплоизлучающего элемента описывалась графитовая пластина. Применение другого материала возможно, при условии, что коэффициент температуропроводности при температуре 20°C имеет значение выше a = 1,5·10-4 м2/сек. Также, в частности, возможно как при втором варианте выполнения использовать для теплоизлучающего элемента графитовую фольгу. При необходимости нужно предусматривать механические элементы стабилизации, если теплоизлучающий элемент не является самонесущим. Возможно, например, натягивать или наносить графитовую фольгу на решетку.
Второй вариант выполнения описывался так, что теплоизлучающий элемент прижимается к нагревательной проволоке. Тем не менее, нагревательная проволока может проходить также внутри теплоизлучающего элемента и, в частности, в канавке в теплоизлучающем элементе. Далее, нагревательная проволока может быть сжата между двумя графитовыми элементами при образовании трехслойной структуры.
При втором и третьем вариантах выполнения описывалось применение графитовой фольги в качестве теплоизлучающего элемента. Возможно, тем не менее, также применение другого материала, коэффициент температуропроводности которого при 20°C лежит выше значения a = 1,5·10-4 м2/сек, предпочтительно выше a = 2,14·10-4 м2/сек. В частности, также может использоваться графитовая пластина.
Различные варианты выполнения лучистого обогревателя описывались с теплоизлучающими элементами, имеющими определенную толщину. Возможна другая, в частности, более незначительная толщина. Относительно тепловых качеств желательна по возможности малая толщина. Значение толщины ограничивается снизу механической стабильностью.
Формула изобретения
1. Лучистый обогреватель для нагрева конструкционного материала в лазерном агломерационном устройстве с плоскостным теплоизлучающим элементом, отличающийся тем, что теплоизлучающий элемент состоит из материала с незначительной тепловой инертностью, представляющего собой материал, который при температуре 20°С имеет коэффициент температуропроводности больше, чем примерно 1,5·10-4 м2/с.
2. Лучистый обогреватель по п.1, причем теплоизлучающий элемент состоит из материала, который при температуре 20°С имеет коэффициент температуропроводности больше, чем примерно 2,14·10-4 м2/с.
3. Лучистый обогреватель по п.1, причем теплоизлучающий элемент имеет толщину примерно 2 мм или меньше.
4. Лучистый обогреватель по п.1, причем теплоизлучающий элемент состоит из графитовой фольги.
5. Лучистый обогреватель по п.1, причем теплоизлучающий элемент состоит из графитовой пластины.
6. Лучистый обогреватель по п.1, причем на теплоизлучающем элементе предусмотрены электрические контакты (116, 116′), так что через теплоизлучающий элемент (113) может в направлении плоскости проводиться ток для использования в качестве нагревательного элемента сопротивления.
7. Лучистый обогреватель по п.1, причем для нагрева теплоизлучающего элемента предусмотрена нагревательная проволока (215) в контакте с теплоизлучающим элементом.
8. Лучистый обогреватель по п.1, причем для нагрева теплоизлучающего элемента предусмотрен нагревательный ИК-излучатель (314).
9. Лучистый обогреватель по п.8, дальше с изолирующей обшивкой (315), причем между изолирующей обшивкой (315) и теплоизлучающим элементом (313) включен нагревательный излучатель (314) и изолирующая обшивка (315) на ее обращенной к нагревательному излучателю (314) стороне отражает излучаемое нагревательным излучателем (314) излучение.
10. Лучистый обогреватель по п.1, причем теплоизлучающий элемент имеет в центре отверстие для проведения лазерного луча.
11. Лучистый обогреватель по п.6 или 7, причем теплоизлучающий элемент образован по меньшей мере на одном участке в форме подобной меандру плоскостной полосы.
12. Лучистый обогреватель по п.1, причем на определенном расстоянии от одной стороны теплоизлучающего элемента предусмотрена изоляция (216) из графита.
13. Лазерное агломерационное устройство для производства трехмерного объекта посредством последовательного упрочнения слоев упрочняемого порошкообразного материала на соответствующих местах соответствующего поперечного сечения с помощью облучения лучистым обогревателем по любому из пп.1-12 для нагрева упрочняемого материала.
РИСУНКИ
|