|
|
(21), (22) Заявка: 2005129740/09, 24.02.2004
(24) Дата начала отсчета срока действия патента:
24.02.2004
(30) Конвенционный приоритет:
25.02.2003 US 10/375,724
(43) Дата публикации заявки: 27.01.2006
(46) Опубликовано: 27.04.2009
(56) Список документов, цитированных в отчете о поиске:
FR 2702109 А, 02.09.1994. RU 97103134 C1, 10.05.1999. WO 99/62211 A1, 02.12.1999. WO 02/06379 A1, 15.08.2002.
(85) Дата перевода заявки PCT на национальную фазу:
26.09.2005
(86) Заявка PCT:
US 2004/005542 20040224
(87) Публикация PCT:
WO 2004/077687 20040910
Адрес для переписки:
129090, Москва, ул. Б.Спасская, 25, стр.3, ООО “Юридическая фирма Городисский и Партнеры”, пат.пов. Ю.Д.Кузнецову, рег. 595
|
(72) Автор(ы):
НЬЮФЕЛД Артур Джеймс (US), ДЖОШИ Абхай Арвинд (US), АНДРУС Дон Нилсен (US), ГУРСКИ Реми Джонатан (US), ЭКВЕТЧАВИТ Тунячате (US)
(73) Патентообладатель(и):
КВЭЛКОММ ИНКОРПОРЕЙТЕД (US)
|
(54) СПОСОБ И УСТРОЙСТВО ДЛЯ УПРАВЛЕНИЯ РАБОТОЙ ТЕРМИНАЛА ДОСТУПА В СИСТЕМЕ СВЯЗИ
(57) Реферат:
Предложены новые и усовершенствованные способ и устройство для управления работой терминала доступа. Техническим результатом является улучшение управления работой терминала доступа во время обработки сигнала из точки доступа в системе связи. Для этого различные аспекты изобретения предусматривают, что терминалу доступа следует блокировать последовательность операций перевода, когда его демодулятор и декодер демодулируют и декодируют управляющее сообщение, принятое из точки доступа. Работа терминала доступа управляется таким образом, что предотвращается преждевременное прекращение последовательности операций демодуляции и декодирования сигнала управления последовательностью операций перевода. Как результат, терминал доступа может продолжать работу в периоде нормального запуска/цикле ожидания, наряду со сбережением энергии его аккумулятора. 2 н. и 14 з.п. ф-лы, 4 ил.
ОБЛАСТЬ ТЕХНИКИ, К КОТОРОЙ ОТНОСИТСЯ ИЗОБРЕТЕНИЕ
Настоящее изобретение в целом относится к области техники связи, а более точно к управлению работой терминала доступа системы связи.
УРОВЕНЬ ТЕХНИКИ
В системе беспроводной связи излишняя и неумеренная деятельность посредством терминала доступа может явиться причиной существенного уменьшения энергии аккумулятора терминала доступа. Данные, передаваемые между терминалом доступа и точкой доступа, могут проходить через несколько уровней протоколов для обеспечения надлежащего движения данных через систему. В терминале доступа поток данных может управляться процессором (обрабатывающим устройством). Процессор может находиться на связи с демодулятором. Демодулятор может включать в себя декодер. Принятый сигнал демодулируется и декодируется, чтобы произвести декодированные данные. Декодированные данные переправляются процессору. Демодулятор и декодер могут содержать некоторое количество компонентов, в том числе цифровой сигнальный процессор, специализированную интегральную схему и программируемые компоненты. Вообще, решение процессором по управлению потоком данных может достигать частей демодулятора и декодера не поддающимся контролю образом, так что последовательность операций управления может преждевременно заканчивать работу демодулятора или декодера. Один из примеров последовательности операций управления может включать в себя последовательность операций перевода терминала доступа с первой точки доступа на вторую точку доступа. Демодулятор или декодер могут находиться в процессе обработки сигнала от первой точки доступа в системе связи, когда последовательность операций управления переводом достигает демодулятора. Когда работа демодулятора или декодера завершается преждевременно, обрабатываемые данные могут быть потеряны. Как результат, терминалу доступа может потребоваться излишне повторять одну или более операций.
Следовательно, есть необходимость в управлении работой терминала доступа во время обработки сигнала от точки доступа системы связи.
РАСКРЫТИЕ ИЗОБРЕТЕНИЯ
Способ и устройство предусматривают эффективное управление работой терминала доступа. Способ и ассоциативно связанное устройство включают в себя этапы обработки и средство для обнаружения начала капсулы широковещательных управляющих сообщений на основе тактирования системы связи и блокировки последовательности операций перевода терминала доступа на основании обнаружения. Работа терминала доступа по существу управляется, чтобы предотвращать преждевременное завершение последовательности операций демодуляции и декодирования управляющего сигнала последовательностью операций перевода. Терминал доступа может продолжать работу в периоде нормального запуска/цикла ожидания, наряду со сбережением энергии его аккумулятора. После обнаружения начала капсулы широковещательных управляющих сообщений, если терминал доступа терпит неудачу в обнаружении заголовка капсулы широковещательных управляющих сообщений на основании неудачи в декодировании последовательности бит данных, имеющей предопределенную структуру данных, терминал доступа разблокирует последовательность операций перевода. Терминал доступа после обнаружения заголовка определяет начало следующего пакета данных в капсуле широковещательных управляющих сообщений на основании определения длины пакета, следующей за обнаруженным заголовком. Терминал доступа отыскивает следующий заголовок в начальный момент следующего пакета данных. Если терминал доступа терпит неудачу в обнаружении следующего заголовка, терминал доступа разблокирует последовательность операций перевода.
После обнаружения заголовка терминал доступа декодирует данные, следующие за обнаруженным заголовком. Если терминал доступа терпит неудачу в обнаружении следующего заголовка, терминал доступа разблокирует последовательность операций перевода. После декодирования данных, следующих за обнаруженным заголовком, если терминал доступа обнаруживает окончание капсулы широковещательных управляющих сообщений, терминал доступа разблокирует последовательность операций перевода.
КРАТКОЕ ОПИСАНИЕ ЧЕРТЕЖЕЙ
Признаки, цели и преимущества настоящего изобретения станут более очевидными из изложенного ниже подробного описания, рассмотренного в соединении с чертежами, на которых одинаковые позиции ссылок совпадают соответственно на всем протяжении описания и на которых:
Фиг.1 изображает систему связи для передачи и приема данных терминалом доступа, работающим в соответствии с различными аспектами изобретения;
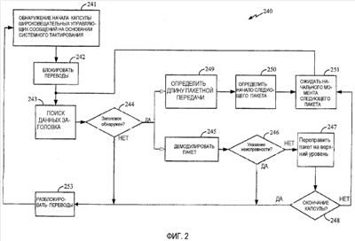
Фиг.2 изображает блок-схему алгоритма разнообразных этапов по управлению работой терминала доступа в соответствии с различными аспектами изобретения;
Фиг.3 изображает систему приемника для приема данных и управляемого в соответствии с различными аспектами изобретения; и
Фиг.4 изображает систему приемопередатчика для передачи и приема данных во время работы в соответствии с различными аспектами изобретения.
ОСУЩЕСТВЛЕНИЕ ИЗОБРЕТЕНИЯ
В целом установлено, что новейшие и усовершенствованные способ и устройство предусматривают управление работой терминала доступа во время обработки сигнала из точки доступа в системе связи. Различные аспекты изобретения предусматривают, что терминалу доступа следует блокировать последовательность операций перевода, когда его демодулятор или декодер работают, чтобы демодулировать или декодировать управляющее сообщение, принятое из точки доступа. Работа терминала доступа контролируется таким образом, чтобы предотвращать преждевременное завершение последовательности операций демодуляции и декодирования управляющего сигнала последовательностью операций перевода. Как результат, терминал доступа может продолжать работу в периоде нормального запуска/цикла ожидания, наряду со сбережением энергии его аккумулятора. Один или более примерных вариантов осуществления, описанных в материалах настоящей заявки, изложены в контексте цифровой системы беспроводной передачи данных. В то время как использование в пределах этого контекста является полезным, различные варианты осуществления изобретения могут быть включены в различные среды или конфигурации. Вообще, разнообразные системы, описанные в материалах настоящей заявки, могут быть сформированы с использованием программно-управляемых процессоров, интегральных схем или дискретной логики. Например, данные, инструкции, команды, информация, сигналы, символы и элементарные сигналы, которые могут указываться ссылкой на всем протяжении настоящей заявки, преимущественно представлены напряжениями, токами, электромагнитными волнами, магнитными полями или частицами, оптическими полями или частицами либо их сочетанием. В дополнение, структурные элементы, показанные на каждой структурной схеме, могут представлять аппаратные средства или этапы способа.
Более точно, разнообразные варианты осуществления изобретения могут быть включены в систему беспроводной связи, работающую в соответствии с технологией множественного доступа с кодовым разделением каналов (CDMA), которая раскрыта и описана в различных стандартах, опубликованных Ассоциацией промышленности средств связи (TIA) и другими учреждениями стандартов. Такие стандарты включают в себя стандарт TIA/EIA-95, стандарт TIA/EIA-IS-2000, стандарт IMT-2000, стандарт UMTS и WCDMA (проводного CDMA), целиком включенные в материалы настоящей заявки в качестве ссылки. Система для передачи данных также детализирована в «TIA/EIA/IS-856 cdma2000 High Rate Packet Data Air Interface Specification» («Спецификации радио-интерфейса с высокой скоростью передачи пакетных данных TIA/EIA/IS-856 cdma2000»), включенной в материалы настоящей заявки в качестве ссылки. Копия стандартов может быть получена посредством осуществления доступа к сети Интернет по адресу: или посредством письменного обращения в TIA, Отдел стандартов и технологии, Бульвар Вильсона, 2500, Арлингтон, VA 22201, Соединенные Штаты Америки (TIA, Standards and Technology Department, 2500 Wilson Boulevard, Arlington, VA 22201, United States of America). Стандарт, обычно указываемый как стандарт UMTS, включенный в материалы настоящей заявки в качестве ссылки, может быть получен посредством связи с офисом поддержки 3GPP (Проекта партнерства третьего поколения) (3GPP Support Office, 650 Route des Lucioles-Sophia Antipolis, Valbonne-France).
Фиг. 1 иллюстрирует общую структурную схему системы 100 связи, допускающую работу в соответствии с любыми стандартами системы связи с множественным доступом и кодовым разделением каналов (CDMA), наряду с привлечением разнообразных вариантов осуществления изобретения. Система 100 связи может быть предназначена для передачи голоса, данных или того и другого. Обычно система 100 связи включает в себя точку 101 доступа (АР), которая предоставляет линии каналы связи между некоторым количеством терминалов, таких как терминалы 102-104 доступа, и между терминалами 102-104 доступа и коммутируемой телефонной сетью общего пользования и передачи данных. Терминалы доступа (АТ) к данным по фиг. 1 могут быть указаны ссылкой как мобильные станции, а точки доступа (АР) к данным – как базовые станции, не выходя из общего объема и различных преимуществ изобретения. AP 101 может включать в себя некоторое количество компонентов, таких как контроллер AP и система приемопередатчика AP. Для простоты такие компоненты не показаны. AP 101 может быть на связи с другими точками доступа, например AP 160. Сеть доступа (AN), включающая в себя AP 101 и AP 160, и различные узлы управления, которые не показаны, могут управлять разнообразными аспектами работы системы 100 связи и относительно обратной передачи 199 между сетью 105 и точками доступа 101 и 160.
AP 101 связывается с каждым AT, который находится в ее зоне покрытия, посредством сигнала прямой линии связи, передаваемого из AP 101. Сигналы прямой линии связи, нацеленные на терминалы 102-104 доступа, могут быть объединены, чтобы сформировать сигнал 106 прямой линии связи. Прямая линия связи может поддерживать некоторое количество разных каналов прямой линии связи.
В нее также может быть включен канал управления, который может быть совместно используемым среди терминалов доступа, для передачи управляющей информации. Такой канал управления может быть использован для широковещательной передачи управляющей информации всем терминалам доступа. Поскольку система связи может включать в себя большое количество терминалов доступа, передача широковещательных управляющих сообщение для группы терминалов доступа может быть рассредоточена по промежутку времени.
Например, в системе стандарта IS-856 каждая AP осуществляет широковещательную передачу капсулы управляющих сообщений один раз каждые 426,7 миллисекунды. Когда АТ включена и регистрируется через одну из точек доступа, сеть доступа назначает AT-терминалу один из двенадцати возможных канальных тактов в 426,7 миллисекунд в пределах 5,12-секундного периода. АТ может удерживать этот же назначенный такт, в то время как она передвигается между точками доступа. Каждый из терминалов 102-104 доступа, принимающих сигнал 106 прямой линии связи, может декодировать сигнал 106 прямой линии связи, чтобы извлекать информацию, которая нацелена на ее пользователя. Следовательно, каждая АТ контролирует широковещательный канал управления один раз каждые 5,12 секунд для определения, пытается ли АР отправить AT-терминалу управляющее сообщение. АТ демодулирует и декодирует широковещательные управляющие сообщения, запускаясь по меньшей мере один раз каждые 5,12 секунд. Каждой АТ назначен уникальный код. Заголовок управляющих сообщений, однако, закодирован общим кодом, опознаваемым всеми терминалами доступа. Если АТ успешно декодирует заголовок широковещательного управляющего сообщения, АТ продолжает декодировать данные, следующие за данными заголовка. Сообщение, предназначенное АТ-терминалу, может быть включено в капсулу широковещательных управляющих сообщений. Поэтому АТ может потребоваться демодулировать и декодировать полную капсулу сообщений, чтобы определить, было ли передано какое-либо сообщение для АТ. Капсула широковещательных управляющих сообщений может иметь окончание данных сообщения, которые включены в сообщение для указания окончания сообщений в капсуле.
Во время назначенного такта канала управления, если АТ не удается обнаружить заголовок капсулы управляющих сообщений, АТ входит в режим ожидания и запускается на следующий такт канала управления. Если АТ обнаруживает заголовок и неудачно декодирует данные, следующие за заголовком, АТ-терминал может прекратить контроль широковещательного канала управления и войти в режим ожидания. АТ может запускаться в следующем такте канала управления, чтобы обнаружить, предназначены ли ему какие-либо сообщения. Если АТ обнаруживает заголовок и успешно декодирует данные, следующие за заголовком, АТ-терминал может отвечать на сообщение. Сообщение может быть сообщением поискового вызова для АТ. Сообщение поискового вызова может включать в себя указание, что АТ может потребоваться контролировать другой канал. Сообщение поискового вызова может быть использовано AP-точкой, чтобы устанавливать канал связи с АТ. Если АТ обнаруживает окончание указателя сообщения в капсуле управляющих сообщений без необходимости отвечать, АТ входит в режим ожидания и запускается в следующем такте канала управления.
АР 160 может также связываться с терминалами доступа, которые находятся в ее зоне покрытия, посредством сигнала прямой линии связи, передаваемого с АР 160. Подобная операция, имеющая отношение к широковещанию и приему капсулы управляющих сообщений, может быть выполнена AP-точкой 160 и терминалами доступа, которые находятся в ее зоне покрытия. Терминалы 102-104 доступа могут связываться с точками 101 и 160 доступа через соответствующие обратные линии связи. Каждая обратная линия связи поддерживается сигналом обратной линии связи, таким как сигналы 107-109 обратной линии связи для терминалов 102-104 доступа соответственно. Сигналы 107-109 обратной линии связи, несмотря на то, что могут быть нацелены на одну АР, могут быть приняты в других точках доступа.
Точки доступа 101 и 160 могут быть пытающимися одновременно связаться с общей АТ во время последовательности операций перевода. Последовательность операций перевода переводит линиию связи с одной АР на другую. Например, в непосредственной близости точек 101 и 160 доступа может находиться АТ 102, которая может поддерживать связь с обеими точками 101 и 160 доступа. В любое время, включая период перевода, по прямой линии связи АР 101 может осуществлять широковещательную передачу капсулы управляющих сообщений в сигнале 106 прямой линии связи, а АР 160 – в сигнале 161 прямой линии связи. Последовательность операций перевода может происходить в то время, как АТ 102 пытается демодулировать капсулу широковещательных управляющих сообщений по прямой линии 106 связи. Если последовательность операций происходит после завершения демодуляции и декодирования капсулы широковещательных управляющих сообщений, переданной по прямой линии 106 связи, АТ 102 может завершать последовательность операций демодуляции преждевременно и начинать контролировать прямую линию 161 связи по другой капсуле широковещательных управляющих сообщений. Поэтому АТ 102 может не возвращаться в период ожидания, если она не завершила демодуляцию и декодирование капсулы широковещательных управляющих сообщений, переданных из точки 101 доступа. По существу, точкам доступа, вовлеченным в последовательность операций перевода, может потребоваться излишне оставаться запущенными и выполнять обработку сигналов за более длинный период времени и расходуя энергетические ресурсы аккумулятора. Чтобы устранить такую проблему, в соответствии с различными аспектами изобретения, каждая АТ не допускает завершения последовательности операций перевода и блокирует начало последовательности любой последовательности операций перевода до тех пор, пока не обнаружено окончание сообщения капсулы широковещательных управляющих сообщений.
В обратной линии связи АТ 102 осуществляет передачу сигнала 107 обратной линии связи, который должен быть принят обеими точками 101 и 160 доступа. Для передачи пакета данных на АТ 102 одна из точек 101 и 160 доступа может быть выбрана, чтобы передавать пакет данных терминалу 102 доступа. В обратной линии связи обе точки 101 и 160 доступа могут пытаться декодировать передачу данных потока обмена от терминала 102 доступа. Скорость передачи данных и уровень мощности прямой и обратной линий связи могут поддерживаться в соответствии с канальными условиями между АР и АТ. Поскольку АТ передвигается прочь от первой АР, прямая линия связи от первой АР может не достигать АТ при уровне, достаточном, чтобы поддерживать линию связи при соответствующей частоте появления ошибок. В этот момент последовательность операций перевода могла бы быть завершена, а линия связи с АТ могла бы существовать со второй АР. Последовательность операций перевода может быть очень быстрой, в зависимости от скорости передвижения АТ.
АТ может находиться в нерабочем режиме или в режиме потока обмена. В режиме потока обмена АТ обладает активной линией связи потока обмена с АР. В нерабочем режиме АТ контролирует каналы управления для приема управляющего сообщения во время его назначенного такта. Во время нерабочего режима, если АТ декодирует капсулу широковещательных сообщений, переданных из первой АР, демодуляция и декодирование капсулы широковещательных сообщений продолжаются, и последовательность операций перевода блокируется на АТ, когда АТ обнаруживает начало капсулы широковещательных сообщений. Начало капсулы широковещательных сообщений может быть обнаружено, основываясь на тактировании системы 100 связи и назначенном АТ-терминалу такте канала управления. Если АТ обнаруживает начало капсулы широковещательных сообщений, АТ может решить обрабатывать информацию, относящуюся к последовательности операций перевода, но предотвращает завершение последовательности операций перевода до завершения обработки капсулы широковещательных сообщений, в соответствии с различными аспектами изобретения. Завершение последовательности операций перевода может включать в себя отказ от какой-либо линии связи с первой АР и включение новой линии связи со второй АР.
Различные аспекты изобретения могут стать более очевидными, благодаря ссылкам на разнообразные операции, изображенные на фиг. 2 в блок-схеме 240 алгоритма. Этапы и функции, описанные и изображенные в блок-схеме 240 алгоритма, могут быть выполнены контроллером или процессором АТ-терминала. На этапе 241 АТ может обнаруживать начало капсулы широковещательных управляющих сообщений. Начало капсулы широковещательных управляющих сообщений может быть обнаружено, основываясь на тактировании системы, сохраняемом и измеряемом АТ-терминалом. На этапе 342 АТ блокирует операцию перевода, что предотвращает завершение какой-либо последовательности операций перевода, если АТ начала последовательность операций перевода. АТ в соответствии с вариантом осуществления может набирать данные, относящиеся к последовательности операций перевода и начинать последовательность операций перевода, если есть необходимость инициировать последовательность операций перевода на основании состояния канала; однако АТ может не завершать последовательность операций перевода, если он обнаружил начало капсулы широковещательных управляющих сообщений на этапе 241 в соответствии с различными аспектами изобретения.
Каждый пакет в капсуле широковещательных управляющих сообщений имеет заголовок. На этапе 243 АТ отыскивает данные заголовка. Заголовок может быть последовательностью бит данных, имеющей заданную структуру в каждом пакете капсулы широковещательных управляющих сообщений. Следовательно, отыскивание заголовка может включать в себя отыскивание последовательности бит данных, которые согласуются со структурой заголовка. Если никакого заголовка на этапе 244 не обнаружено, последовательность операций способа переходит к этапу 253, чтобы разблокировать последовательность операций перевода. В этот момент, если есть какая-либо необходимость завершить последовательность операций перевода, АТ завершает последовательность операций перевода. Если заголовок обнаружен на этапе 244, последовательность операций способа 240 переходит к этапам 249 и 245. На этапе 245 АТ пытается демодулировать и декодировать данные, следующие за данными заголовка. На этапе 246 АТ проверяет сигнал неисправности в декодированных данных. Если данные декодированы без какой-либо неисправности, последовательность операций способа переходит к этапу 247, чтобы переправить декодированные данные на верхний уровень протоколов. Если данные декодированы с неприемлемым типом неисправности, например, из-за неудачи при прохождении контроля циклическим избыточным кодом (CRC), последовательность операций способа переходит к этапу 253, чтобы разблокировать последовательность операций перевода. Указание неисправности в большей степени вероятно из-за условий зашумленности принимаемого сигнала. В одном из случаев недостаточное отношение сигнал-шум может быть обусловлено АТ-терминалом, передвигающимся прочь от АР, которая передавала капсулу широковещательных управляющих сообщений.
После обнаружения заголовка на этапе 244 последовательность операций способа также определяет длину пакета, следующего за обнаруженным заголовком, на этапе 249. Длина пакета и скорость передачи данных, следующих за заголовком данных, могут быть определены на основании структуры обнаруженного заголовка. На основании информации о длине пакета на этапе 250 последовательность операций способа определяет начало следующего пакета данных в капсуле широковещательных управляющих сообщений. На этапе 251 после надлежащего периода ожидания, соответствующего ожидаемому начальному моменту следующего заголовка, последовательность операций способа зацикливается обратно на этап 243, чтобы ожидать другой заголовок в капсуле управляющих сообщений, чтобы определить, был ли обнаружен заголовок на этапе 244. К тому же, последовательность 240 операций способа на этапе 247 после переправки декодированных данных пакета на верхний уровень переходит к этапу 248. На этапе 248 последовательность операций способа определяет, было ли достигнуто окончание капсулы широковещательных управляющих сообщений. Окончание сообщений может быть определено посредством декодирования сообщений в пакете. Если обнаружено окончание сообщений, последовательность операций способа переходит к этапу 253, чтобы разблокировать последовательность операций перевода. Если окончание сообщений не достигнуто, последовательность 240 операций способа переходит к этапу 251 и зацикливается обратно на этап 244, чтобы ожидать другой заголовок.
Фиг. 3 иллюстрирует структурную схему приемника 200, используемого для обработки и демодуляции принятого CDMA-сигнала при работе в соответствии с различными аспектами изобретения. Приемник 200 может быть использован для декодирования информации в сигналах обратной или прямой линий связи. Приемник 200 может быть использован для декодирования информации в основном канале, канале управления и вспомогательных каналах. Приемник 200 может быть использован для обработки сигналов, переносящих капсулу широковещательных управляющих сообщений в АТ, работающем в соответствии с различными аспектами изобретения. Принятые (Rx) отсчеты могут быть сохранены в ОЗУ 204 (RAM, оперативном запоминающем устройстве). Приемные отсчеты вырабатываются системой 290 радиочастоты/промежуточной частоты и антенной системой 292. RF/IF-система 290 и антенная система 292 могут включать в себя один или более компонентов для приема многочисленных сигналов и RF/IF-обработку принятых сигналов, чтобы воспользоваться преимуществом коэффициента усиления при приеме на разнесенные антенны. Многочисленные принимаемые сигналы, распространяемые по разным путям распространения, могут быть из общего источника. Антенная система 292 принимает RF-сигналы и переправляет RF-сигналы в RF/IF-систему 290. RF/IF-система 290 может быть любым традиционным RF/IF-приемником. Принятые RF-сигналы фильтруются, подвергаются обратному преобразованию и оцифровываются, чтобы сформировать RX-отсчеты на частотах группового спектра. Отсчеты предоставляются мультиплексору (mux) 252. Выходной сигнал из mux 252 поставляется на узел 206 искателя и гребенчатые элементы 208. Система 210 управления присоединена к ним. Устройство 212 уплотнения сигналов связывает декодер 214 с гребенчатыми элементами 208. Система 210 управления может быть микропроцессором, управляемым программным обеспечением, и может быть размещенной в одной и той же интегральной схеме или отдельных интегральных схемах. Функция декодирования в декодере 214 может быть приведена в соответствие с турбодекодером или любыми другими подходящими алгоритмами декодирования. Сигнал, переданный из источника, может быть закодирован несколькими уровнями кодов. Декодер 214 может выполнять функцию декодирования в соответствии с двумя или более кодами. Например, переданные данные могут быть закодированы на двух разных уровнях, внешнем уровне и физическом уровне. Физический уровень может быть приведен в соответствие с турбокодом, а внешний уровень может быть приведен в соответствие с кодом Рида-Соломона. Как таковой декодер 214 декодирует принятые отсчеты в соответствии с такими кодами.
Во время работы принятые отсчеты поставляются в mux 252. Mux 252 поставляет отсчеты на узел 206 искателя и гребенчатые элементы 208. Устройство 210 управления конфигурирует гребенчатые элементы 208, чтобы выполнять демодуляцию и сужение принятого сигнала при разных временных смещениях на основании результатов поиска из узла 206 искателя. Результаты демодуляции комбинируются и переправляются декодеру 214. Декодер 214 декодирует данные и выводит декодированные данные. Сужение каналов выполняется умножением принятых отсчетов с комплексно сопряженными c PN-последовательностью и назначенной функцией Уолша при простой гипотезе тактирования и цифровой фильтрации результирующих отсчетов, часто вместе со схемой интегрирования и накопления дампа (не показана). Такая технология общеизвестна в данной области техники. Приемник 200 может быть использован в части приемника точек 101 и 160 доступа для обработки принимаемых сигналов обратной линии связи от терминалов доступа и в части приемника любого из терминалов доступа для обработки принимаемых сигналов прямой линии связи.
Декодер 214 может накапливать комбинированную мощность для обнаружения символа данных. Каждый пакет данных может нести поле контроля циклическим избыточным кодом (CRC). Декодер 214 может в соединении с системой 210 управления и или другими системами управления исправлять ошибки в принятом пакете данных. Если CRC-данные не прошли проверку, принятый пакет данных принят с ошибкой. Приемник 20 может быть реализован многими разными путями, такими как использование ASIC, ЦСП и микропроцессора. Обработка декодированных данных, однако, может быть выполнена процессором в соединении с приемником 200. Так как обработка принятого приемником 200 сигнала является сложной и критичной по времени, многие аспекты приемника 200 могут быть выполнены автономно. Например, отыскивание контрольного сигнала, демодуляция и декодирование различных сигналов и тому подобное могут быть начаты и завершены автономно. В одном из особых примеров, когда приемник 200 начинает обработку сигнала, переносящего капсулу широковещательных управляющих сообщений, последовательность операций может быть завершена по команде, принятой от управляющего процессора. Команда может быть выработана из-за последовательности операций перевода. В соответствии с различными аспектами изобретения АТ блокирует последовательность операций перевода, когда демодулятор или декодер работают, чтобы демодулировать или декодировать управляющее сообщение, принятое из АР. АТ-терминал может включать в себя приемник, такой как приемник 200, передатчик и процессор. Работа АТ управляется таким образом, который предотвращает преждевременное завершение последовательности операций демодуляции и декодирования сигнала управления последовательностью операций перевода. Как результат, АТ может продолжать работу в периоде нормального запуска/цикле ожидания, наряду со сбережением энергии ее аккумулятора.
Фиг. 4 изображает общую схему системы 400 приемопередатчика в отношении объединения приемника 200 и передатчика 300 для поддержания линии связи с пунктом назначения, в том числе обработки сигнала, переносящего капсулу широковещательных управляющих сообщений. Передатчик 300 в приемопередатчике 400 может быть любым известным передатчиком, подходящим для передачи сигнала в соответствии со стандартом CDMA. Приемопередатчик может быть включен в АТ или АР. Процессор 401 может быть присоединен к приемнику 200 и передатчику 300, чтобы обрабатывать принимаемые и передаваемые данные. Различные аспекты приемника 200 и передатчика 300 могут быть общими, хотя приемник 200 и передатчик 300 показаны отдельно. В одном из аспектов приемник 200 и передатчик 300 могут совместно использовать гетеродин и общую антенную систему 499 для приема и передачи RF/IF. Передатчик 300 принимает данные для передачи на входе 405. Блок 403 обработки данных передачи подготавливает данные для передачи по каналу передачи. Принятые данные, после того как становятся обработанными в декодере 214, принимаются процессором 401 на входе 404. Принятые данные обрабатываются в блоке 402 обработки принятых данных в процессоре 401. Различные операции процессора 401 могут быть объединены в едином или многочисленных узлах обработки. Приемопередатчик может быть подключен к другому устройству. Приемопередатчик 400 может быть неотъемлемой частью устройства. Устройство может быть компьютером или работает подобно компьютеру. Устройство может быть подключено к сети передачи данных, такой как Интернет. В случае включения приемопередатчика 400 в точку доступа точка доступа на протяжении некоторых соединений может быть подключена к сети, такой как Интернет.
Обработка принятых данных, как правило, включает в себя исправление ошибок в принятых пакетах данных. Блок 480 хранения данных приема может накапливать данные, принятые в каждом пакете данных, чтобы воспроизвести полный блок данных. Полный блок данных может формировать законченное сообщение, принятое из источника. Процессор 401 в соединении с блоком 402 обработки данных приема может выполнять различные аспекты блок-схемы 240 алгоритма для блокирования последовательности операций перевода в соответствии с различными аспектами изобретения. Например, блокирование перевода на этапе 242 и разблокирование перевода на этапе 253 могут быть переданы из процессора 401 приемнику 200 в соответствии с различными аспектами изобретения. Этапы ожидания заголовка и определения того, обнаружен ли заголовок на этапах 243 и 244, могут быть выполнены приемником 200. Результаты могут быть сообщены процессору 401 через блок 402 обработки данных приема для определения того, следует ли разблокировать перевод на этапе 253. Следовательно, различные этапы блок-схемы 240 алгоритма могут быть выполнены процессором 401 и его внутренними узлами, а другие различные этапы – приемником 200.
Различные иллюстративные логические блоки, модули и схемы, описанные в связи с вариантами осуществления, раскрытыми в материалах настоящей заявки, могут быть реализованы или выполнены с помощью процессора общего назначения, цифрового сигнального процессора (ЦСП, DSP), специализированной интегральной схемы (ASIC), программируемой пользователем вентильной матрицы (FPGA) или другого программируемого логического устройства, дискретной вентильной или транзисторной логики, дискретных компонентов аппаратных средств или любого их сочетания, спроектированного, чтобы выполнять функции описанные в материалах настоящей заявки. Процессором общего назначения может быть микропроцессор, но в альтернативном варианте процессором может быть любой традиционный процессор, контроллер, микроконтроллер или конечный автомат. Процессор также может быть реализован в виде сочетания вычислительных устройств, к примеру сочетания ЦСП и микропроцессора, большого количества микропроцессоров, одного или более микропроцессоров в соединении с ЦСП-ядром либо любой другой подобной конфигурации.
Этапы способа или алгоритма, описанные в связи с вариантами осуществления, раскрытыми в материалах настоящей заявки, могут быть реализованы непосредственно в аппаратных средствах, в модуле программного обеспечения, исполняемом процессором, или в их сочетании. Модуль программного обеспечения может находиться в памяти ОЗУ, флэш-памяти, памяти ПЗУ (ROM, постоянного запоминающего устройства), памяти ЭСПЗУ (EPROM, электрически программируемого ПЗУ), памяти ЭСППЗУ (EEPROM, электрически стираемого и программируемого ПЗУ), регистрах, на жестком диске, съемном диске, CD-ROM (ПЗУ на компакт-диске) или любом другом виде запоминающего носителя, известном в данной области техники. Примерный запоминающий носитель связан с процессором так, что процессор может считывать информацию с и записывать информацию на запоминающий носитель. В альтернативном варианте запоминающий носитель может быть интегрирован в процессор. Процессор и запоминающий носитель могут находиться в ASIC. ASIC может находиться в пользовательском терминале. В альтернативном варианте процессор и запоминающий носитель могут находиться в виде дискретных компонентов в пользовательском терминале.
Предшествующее описание предпочтительных вариантов осуществления предоставлено, чтобы дать возможность любому специалисту в данной области техники изготовить или использовать настоящее изобретение. Различные модификации по отношению к этим вариантам осуществления будут легко очевидны специалистам в данной области техники, а групповые принципы, определенные в материалах настоящей заявки, могут быть применены к другим вариантам осуществления без использования изобретательной способности. Таким образом, настоящее изобретение не имеет намерения быть ограниченным вариантами осуществления, описанными в материалах настоящей заявки, а должно удовлетворять самому широкому объему, согласующемуся с принципами и признаками, раскрытыми в материалах настоящей заявки.
Формула изобретения
1. Способ управления работой терминала доступа, содержащий этапы, на которых: обнаруживают начало капсулы широковещательных управляющих сообщений на основании тактирования системы связи, и блокируют начало последовательности любой последовательности операций перевода терминала доступа с одной точки доступа на другую точку доступа до тех пор, пока не будет обнаружено окончание вышеуказанной капсулы широковещательных управляющих сообщений.
2. Способ по п.1, который также содержит этап, на котором: обнаруживают заголовок капсулы широковещательных управляющих сообщений на основании декодирования последовательности бит данных, имеющей предопределенную структуру данных.
3. Способ по п.2, который также содержит этап, на котором: определяют начало следующего пакета данных в упомянутой капсуле широковещательных управляющих сообщений на основании определения длины пакета, следующей за обнаруженным заголовком.
4. Способ по п.3, который также содержит этап, на котором: отыскивают следующий заголовок в упомянутый начальный момент времени следующего пакета данных.
5. Способ по п.4, который также содержит этап, на котором: декодируют последовательности бит данных для определения, что следующий заголовок капсулы широковещательных управляющих сообщений отсутствует; разблокируют последовательность операций перевода терминала доступа на основании отсутствия указанного следующего заголовка в последовательности бит данных.
6. Способ по п.1, который также содержит этап, на котором: неуспешно выполняют обнаружение заголовка капсулы широковещательных управляющих сообщений на основании неуспешного выполнения декодирования последовательности бит данных, имеющей предопределенную структуру данных, после обнаружения начала капсулы широковещательных управляющих сообщений, и разблокируют последовательность операций перевода терминала доступа на основании неуспешного выполнения обнаружения заголовка.
7. Способ по п.2, который также содержит этап, на котором: декодируют данные, следующие за обнаруженным заголовком; обнаруживают неуспешное выполнение декодирования упомянутых декодированных данных; и разблокируют последовательность операций перевода терминала доступа на основании окончания сообщений.
8. Способ по п.2, который также содержит этап, на котором: декодируют данные, следующие за обнаруженным заголовком; обнаруживают окончание капсулы широковещательных управляющих сообщений; и разблокируют последовательность операций перевода терминала доступа на основании неудачи в обнаружении упомянутого заголовка.
9. Устройство для управления работой терминала доступа, содержащее: средство для обнаружения начала капсулы широковещательных управляющих сообщений на основании тактирования системы связи, и средство блокирования начала последовательности любой последовательности операций перевода терминала доступа с одной точки доступа на другую точку доступа до тех пор, пока не будет обнаружено окончание вышеуказанной капсулы широковещательных управляющих сообщений.
10. Устройство по п.9, которое также содержит: средство для обнаружения заголовка капсулы широковещательных управляющих сообщений на основании декодирования последовательности бит данных, имеющей предопределенную структуру данных.
11. Устройство по п.10, которое также содержит: средство для определения начала следующего пакета данных в капсуле широковещательных управляющих сообщений на основании определения длины пакета, следующей за обнаруженным заголовком.
12. Устройство по п.11, которое также содержит: средство поиска следующего заголовка в начальный момент времени следующего пакета данных.
13. Устройство по п.12, которое также содержит: средство для декодирования последовательности бит данных для определения, что следующий заголовок капсулы широковещательных управляющих сообщений отсутствует, и средство для разблокирования последовательности операций перевода терминала доступа на основании отсутствия указанного следующего заголовка в последовательности бит данных.
14. Устройство по п.9, которое также содержит: средство прекращения обнаружения заголовка капсулы широковещательных управляющих сообщений на основании неудачи в декодировании последовательности бит данных, имеющей предопределенную структуру данных, после обнаружения начала капсулы широковещательных управляющих сообщений, и средство для разблокирования последовательности операций перевода терминала доступа на основании неудачи в обнаружении следующего заголовка.
15. Устройство по п.10, которое также содержит: средство декодирования данных, следующих за обнаруженным заголовком; средство для обнаружения неудачи в декодировании упомянутых декодированных данных; и средство для разблокирования последовательности операций перевода терминала доступа на основании неудачи в обнаружении следующего заголовка.
16. Устройство по п.10, которое также содержит: средство декодирования данных, следующих за обнаруженным заголовком; средство для обнаружения окончания капсулы широковещательных управляющих сообщений; средство для разблокирования последовательности операций перевода терминала доступа на основании неудачи в обнаружении окончания сообщений.
РИСУНКИ
|
|