|
|
(21), (22) Заявка: 2006106700/09, 04.08.2004
(24) Дата начала отсчета срока действия патента:
04.08.2004
(30) Конвенционный приоритет:
05.08.2003 US 60/493,046 18.08.2003 US 60/496,297 17.02.2004 US 10/780,824
(43) Дата публикации заявки: 27.08.2006
(46) Опубликовано: 27.04.2009
(56) Список документов, цитированных в отчете о поиске:
US 2002/150077 A1, 17.10.2002. RU 2190308 C2, 27.09.2002. US 6425105 B1, 23.07.2002.
(85) Дата перевода заявки PCT на национальную фазу:
06.03.2006
(86) Заявка PCT:
US 2004/025375 20040804
(87) Публикация PCT:
WO 2005/015942 20050217
Адрес для переписки:
129090, Москва, ул. Б.Спасская, 25, стр.3, ООО “Юридическая фирма Городисский и Партнеры”, пат.пов. Ю.Д.Кузнецову, рег. 595
|
(72) Автор(ы):
ТИДМАНН Эдвард Дж. Мл. (US), ГААЛ Питер (US), МАЛЛАДИ Дурга П. (US), ПУИГ ОСЕС Давид (US), САРКАР Сандип (US), ВЭЙ Юнбинь (US), ЛАНДБИ Стейн А. (US), ЧЭНЬ Тао (US), ДЖАИН Авинаш (US), ДАМНЯНОВИЧ Александар (US), ВИЛЛЕНЕГГЕР Серж Д. (CH)
(73) Патентообладатель(и):
КВЭЛКОММ ИНКОРПОРЕЙТЕД (US)
|
(54) ОБЪЕДИНЕНИЕ ПОДТВЕРЖДЕНИЯ ПРИЕМА И УПРАВЛЕНИЯ СКОРОСТЬЮ ПЕРЕДАЧИ
(57) Реферат:
Изобретение относится к беспроводной связи. Раскрытые варианты осуществления направлены на существующую в технике потребность в управлении при сниженных непроизводительных издержках, с возможностью настройки скорости передачи по необходимости. В одном аспекте первый сигнал указывает на подтверждение приема декодированного подпакета и на то, сформированы ли команды управления скоростью передачи, а второй сигнал условно указывает команду управления скоростью передачи, если она сформирована. В другом аспекте, разрешение передачи может быть сформировано одновременно с подтверждением приема. В следующем аспекте, мобильная станция осуществляет контроль первого сигнала, условно осуществляет контроль второго сигнала, как указано первым сигналом, и может контролировать третий сигнал, содержащий разрешение передачи. В другом аспекте, одна или несколько базовых станций передают один или несколько различных сигналов. Также представлены различные другие аспекты. Эти аспекты имеют преимущество при обеспечении гибкости управления, основанного на разрешении передачи при использовании пониженных непроизводительных издержек, если используются команды управления скоростью передачи, таким образом, повышая эффективность использования системы, емкость и пропускную способность, что является техническим результатом. 21 н. и 38 з.п. ф-лы, 12 ил., 1 табл.
Притязание на приоритет согласно §119 раздела 35 Кодекса законов США (35 U.S.C.)
Настоящая заявка на патент притязает на приоритет предварительной патентной заявки 60/493046, озаглавленной “Reverse Link Rate Control for CDMA 2000 Rev D” (Управление скоростью передачи обратной линии связи для системы CDMA 2000 версии D), поданной 5 августа 2003 г., и предварительной патентной заявки 60/496297, озаглавленной “Reverse Link Rate Control for CDMA 2000 Rev D”, поданной 18 августа 2003г.
ОБЛАСТЬ ТЕХНИКИ
Настоящее изобретение в целом относится к беспроводной связи и более конкретно к объединению каналов разрешения передачи, подтверждения приема и управления скоростью передачи.
ПРЕДШЕСТВУЮЩИЙ УРОВЕНЬ ТЕХНИКИ
Системы беспроводной связи широко применяются для обеспечения различных видов передачи информации, такой как передача речи и данных. Типичная беспроводная информационная система, или сеть, обеспечивает доступ многих пользователей к одному или нескольким совместно используемым ресурсам. Система может использовать ряд способов множественного доступа, таких как мультиплексирование с частотным разделением (МПЧР, FDM), мультиплексирование с временным разделением (МПВР, TDM), мультиплексирование с кодовым разделением (МПКР, CDM) и других.
Примерные беспроводные сети включают в себя информационные системы сотовой связи. Ниже приведено несколько таких примеров: (1) “TIA/EIA-95-B Mobile Station-Base Station Compatibility Standard for Dual-Mode Wideband Spread Spectrum Cellular System” (стандарт IS-95) (Стандарт совместимости мобильной станции-базовой станции для систем широкополосной сотовой связи с расширением спектра поддержкой двух режимов), (2) предложенный консорциумом стандарт, именуемый “3rd Generation Partnership Project” (3GPP) (Проект партнерства систем связи 3-го поколения, ППСС3П) и представленный в наборе документов, включающих документы с порядковыми номерами 3G TS 25.211, 3G TS 25.212, 3G TS 25.213, и 3G TS 25.214 (стандарт W-CDMA (широкополосного МДКР)), (3) предложенный консорциумом стандарт, именуемый “3rd Generation Partnership Project 2” (3GPP2) (Проект 2 партнерства систем связи 3-го поколения, П2ПСС3П) и представленный в “TR-45.5 Physical Layer Standard for cdma2000 Spread Spectrum Systems” (стандарт IS-2000), (4) система высокоскоростной передачи данных (ВПД, HDR), которая соответствует стандарту TIA/EIA/IS-856 (стандарт IS-856 Ассоциация промышленности средств связи/Ассоциация электронной промышленности), и (5) редакция C стандарта IS-2000, включающая в состав документы C.S0001.C – C.S0006.C и связанные документы (включая представления последующей редакции D), обозначаемые как предложение 1xEV-DV.
В иллюстративной системе, Редакции D стандарта IS-2000 (находящегося в настоящее время в разработке), передача мобильными станциями по обратной линии связи управляется базовыми станциями. Базовая станция может принимать решение о максимальной скорости передачи или отношении сигнала трафика к пилот-сигналу (TPR), при которых мобильной станции разрешается осуществлять передачу. В настоящее время предлагаются два типа механизмов управления: на основе разрешения передачи и на основе управления скоростью.
В случае управления на основе разрешения передачи, мобильная станция возвращает обратно на базовую станцию информацию, относящуюся к мобильной станции, о возможности передачи, размере буфера данных и уровне качества (QoS) обслуживания и т.д. Базовая станция осуществляет контроль обратной связи от множества мобильных станций и решает, каким станциям допускается осуществлять передачу, и определяет соответствующую максимальную скорость передачи, допустимую для каждой. Эти решения доставляются на мобильные станции посредством сообщений разрешения передачи.
В случае управления на основе управления скоростью передачи, базовая станция корректирует скорость передачи мобильной станции на ограниченный диапазон (то есть, одна ступень изменения вверх, без изменения, или одна ступень изменения вниз). Команду корректировки передают на мобильные станции, используя простой двоичный бит (разряд) управления скоростью или многозначный индикатор.
При условиях заполненного буфера, когда активные мобильные станции имеют большие объемы данных, способы на основе разрешений передачи и способы на основе управления скоростью передачи имеют приблизительно одинаковую эффективность. Без учета вопросов служебных издержек, способ, основанный на разрешении передачи, может лучше управлять мобильной станцией в ситуациях с моделями трафика реального времени. Без учета вопросов служебных издержек, способ, основанный на разрешении передачи, может лучше управлять потоками с различными QoS. Могут быть выделены два вида управления скоростью передачи, включающие в себя подход специализированного управления скоростью передачи, задающий каждой мобильной станции отдельный бит, и общего управления скоростью передачи, использующий отдельный бит на сектор. Различные гибридные схемы этих двух подходов могут присваивать множеству мобильных станций бит управления скоростью передачи. Подход общего управления скоростью передачи может потребовать меньших служебных издержек. Однако он может предоставить меньшую степень управления мобильными станциями по сравнению со схемой более специализированного управления. По мере того, как количество мобильных устройств, осуществляющих передачу в каждый данный момент времени, уменьшается, способ общего управления скоростью передачи и способ специализированного управления скоростью передачи приближаются друг к другу.
Способы, основанные на разрешении передачи, могут быстро изменять скорость передачи мобильной станции. Однако способ чисто на основе разрешения передачи может испытывать высокие издержки, если имеют место непрерывные изменения скорости передачи. Точно так же способ исключительно на основе управления скоростью передачи может испытывать медленные линейные нарастания и одинаковые или более высокие издержки в течение времен линейного нарастания.
Никакой подход не обеспечивает пониженные непроизводительные издержки и значительные или быстрые корректировки скорости передачи. Следовательно, в технике имеется потребность в управлении с пониженными служебными издержками, с возможностью настраивать скорости передачи, как необходимо.
СУЩНОСТЬ ИЗОБРЕТЕНИЯ
Варианты осуществления, раскрытые в настоящем документе, направлены на имеющуюся в области техники потребность в управлении при сниженных служебных издержках и с возможностью настройки скорости передачи, как необходимо. В одном аспекте, первый сигнал указывает подтверждение приема декодированного подпакета и сформирована ли команда управления скоростью передачи, а второй сигнал условно указывает команду управления скоростью передачи, если таковая сформирована. В другом аспекте разрешение передачи может быть сформировано одновременно с подтверждением приема. В следующем аспекте мобильная станция контролирует первый сигнал, условно контролирует второй сигнал, как указано посредством первого сигнала, и может контролировать третий сигнал, содержащий разрешение передачи. В другом аспекте одна или более базовых станций передают один или более различных сигналов. Различные другие аспекты также представлены. Эти аспекты обеспечивают преимущество обеспечения гибкости управления, основанного на разрешении передачи, при меньшем объеме служебных издержек, если используются команды управления скоростью передачи, таким образом, повышая возможности использования системы, пропускную способность и производительность.
КРАТКОЕ ОПИСАНИЕ ЧЕРТЕЖЕЙ
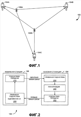
Фиг.1 – общая блок-схема системы беспроводной связи, способной поддерживать множество пользователей.
Фиг.2 – изображение примерной мобильной станции и базовой станции, включенных в конфигурацию системы, приспособленной для передачи данных.
Фиг.3 – блок-схема устройства беспроводной связи, такого как мобильная станция или базовая станция.
Фиг.4 – изображение примерного варианта осуществления передачи сигналов данных и управления для обратной линии связи.
Фиг.5 – примерный канал подтверждения.
Фиг.6 – примерный канал управления скоростью передачи.
Фиг.7 – примерный способ, применяемый в базовой станции для выделения ресурсных возможностей в ответ на запросы и передачи от одной или нескольких мобильных станций.
Фиг.8 – примерный способ формирования разрешений передачи, подтверждений приема и команд управления скоростью передачи.
Фиг.9 – примерный способ для мобильной станции, чтобы контролировать и отвечать на разрешения передачи, подтверждения приема и команды управления скоростью передачи.
Фиг.10 – временная диаграмма для примерного варианта осуществления с объединенными каналами подтверждения приема и управления скоростью передачи.
Фиг.11 – временная диаграмма для примерного варианта осуществления с объединенными каналами подтверждения приема и управления скоростью передачи, вместе с новым разрешением передачи.
Фиг.12 – временная диаграмма для примерного варианта осуществления с объединенными каналами подтверждения приема и управления скоростью передачи, без разрешения передачи.
ПОДРОБНОЕ ОПИСАНИЕ ИЗОБРЕТЕНИЯ
Примерные варианты осуществления, подробно представленные ниже, предусматривают выделение совместно используемого ресурса, например, совместно используемого одной или несколькими мобильными станциями в системе связи, посредством преимущественно управления или настройки одной или нескольких скоростей передачи данных в связи с различными сообщениями подтверждения приема, передаваемыми в системе.
В настоящем документе раскрыты способы объединения использования каналов разрешения передачи, каналов подтверждения и каналов управления скоростью передачи для обеспечения комбинации планирования, основанного на разрешении передачи, и планирования с управлением по скорости, и получаемые полезные результаты. Различные варианты осуществления обеспечивают достижение одного или более из следующих преимуществ: быстрое повышение скорости передачи мобильной станции, быстрый останов передачи мобильной станции, настройки скорости передачи мобильной станции с низкими непроизводительными издержками, подтверждения передачи мобильной станции с низкими непроизводительными издержками, низкие непроизводительные издержки в целом, и управление качеством (QoS) обслуживания для потоков от одной или более мобильных станций. Различные другие преимущества подробно представлены ниже.
Один или более описанных примерных вариантов осуществления сформулированы в контексте системы цифровой беспроводной связи. Хотя использование в данном контексте является преимущественным, другие варианты осуществления изобретения могут быть реализованы в отличающихся средах или конфигурациях. В целом, различные описываемые системы могут быть сформированы с использованием программно управляемых процессоров, интегральных схем или дискретной логики. Данные, инструкции, команды, информация, сигналы, символы и микросхемы, на которые могут делаться ссылки по всему описанию заявки, преимущественно представляются посредством напряжений, токов, электромагнитных волн, магнитных полей или частиц, оптических полей или частиц, или их комбинацией. Кроме того, блоки, показанные на каждой блок-схеме, могут представлять аппаратные средства или этапы способа.
Более конкретно, различные варианты осуществления изобретения могут быть реализованы в системе беспроводной связи, действующей в соответствии со стандартом связи, описанным и раскрытым в различных стандартах, опубликованных Ассоциацией (TIA) промышленности средств связи и другими организациями по стандартизации. Такие стандарты включают стандарт TIA/EIA-95, стандарт TIA/EIA-IS-2000, стандарт IMT-2000, стандарт UMTS (универсальная система мобильной связи, УСМС) и WCDMA (широкополосный множественный доступ с кодовым разделением каналов), стандарт GSM (глобальная система мобильной связи), которые полностью включены в настоящий документ путем ссылки. Экземпляр стандартов может быть получен путем письменного обращения в отдел TIA по стандартам и технологиям, по адресу: 2500 Wilson Boulevard, Arlington, VA 22201, United States of America. Стандарт, обычно идентифицируемый как стандарт UMTS, включенный в документ путем ссылки, может быть получен через контакты с офисом поддержки проекта 3GPP по адресу: 650 Route des Lucioles-Sophia Antipolis, Valbonne-France (Франция).
На Фиг.1 показана схема системы 100 беспроводной связи, которая может быть предназначена для поддержки одного или более стандартов и/или проектов CDMA (например, стандарт W-CDMA, стандарт IS-95, стандарт cdma2000, техническое описание HDR, система 1xEV-DV). В альтернативном варианте осуществления система 100 может дополнительно поддерживать любой стандарт беспроводной связи или проект, отличный от системы CDMA. В примерном варианте осуществления система 100 является системой 1xEV-DV.
Для простоты система 100 показана как включающая в себя три базовые станции 104 во взаимодействии с двумя мобильными станциями 106. Базовую станцию и ее область обслуживания обычно в совокупности обозначают “сотовая ячейка”. В системах IS-95, cdma2000, или 1xEV-DV, например, сотовая ячейка может включать в себя один или несколько секторов. В техническом описании W-CDMA каждый сектор базовой станции и область обслуживания сектора обозначают как сотовая ячейка. В настоящем документе термин “базовая станция” может использоваться взаимозаменяемо с терминами “точка доступа” или “узел B”. Термин “мобильная станция” может использоваться взаимозаменяемо с терминами “пользовательское оборудование” (ПО, UE), “абонентский модуль”, “абонентская станция”, “терминал доступа”, “удаленный терминал” или другие соответствующие термины, известные в области техники. Термин “мобильная станция” охватывает приложения стационарной беспроводной связи.
В зависимости от реализуемой системы CDMA, каждая мобильная станция 106 может взаимодействовать с одной (или возможно с несколькими) базовыми станциями 104 по прямой линии связи в любой заданный момент и может взаимодействовать с одной или несколькими базовыми станциями по обратной линии связи в зависимости от того, находится ли мобильная станция в режиме гибкой передачи обслуживания. Прямая линии связи (то есть, нисходящая линия связи) относится к передаче от базовой станции на мобильную станцию, и обратная линия связи (то есть, восходящая линия связи) относится к передаче от мобильной станции на базовую станцию.
Тогда как различные варианты осуществления, описанные в документе, направлены на обеспечение сигналов обратной линии связи или прямой линии связи для поддержки передачи по обратной линии связи, и некоторые могут хорошо подходить для характера передачи по обратной линии связи, специалистам в данной области техники должно быть понятно, что мобильные станции, а также базовые станции могут быть выполнены с возможностью передачи данных, как описано в настоящем документе, и аспекты настоящего изобретения также применимы и в этих ситуациях. Слово “примерный” используется при этом в смысле “используемый в качестве примера, экземпляра, или иллюстрации”. Любой вариант осуществления, описываемый в качестве “примерного”, не следует обязательно рассматривать в качестве предпочтительного или преимущественного над другими вариантами осуществления.
Передача данных по прямой линии связи системы 1xEV-DV
Система 100, такая как описанная в предложении 1xEV-DV, обычно содержит каналы прямой линии связи, которые соответствуют четырем группам: служебные каналы, динамически изменяющиеся каналы IS-95 и IS-2000, прямой канал передачи пакетных данных (F-PDCH) и некоторые резервные каналы. Распределения служебных каналов изменяются медленно; например, они могут не изменяться в течение месяцев. Их обычно изменяют, когда имеются изменения основной конфигурации сети. Динамически изменяющиеся каналы IS-95 и IS-2000 выделяют по принципу “на каждый вызов” или используются для услуг пакетной передачи и речевых согласно IS-95, или IS-2000, версий 0 – B. Обычно доступную мощность базовой станции, остающуюся после распределения служебных каналов и динамически изменяющихся каналов, выделяют каналу F-PDCH для остальных услуг данных.
Канал F-PDCH, подобно каналу трафика в стандарте IS-856, используется для посылки данных на самой высокой приемлемой скорости передачи данных одному или двум пользователям в каждой ячейке единовременно. В стандарте IS-856, полная мощность базовой станции и полное пространство функций Уолша являются доступными при передаче данных на мобильную станцию. Однако в системе 1xEV-DV некоторая мощность базовой станции и некоторые из функций Уолша выделяют служебным каналам и имеющимся услугам IS-95 и cdma2000. Скорость передачи данных, которая может поддерживаться, зависит прежде всего от доступных мощности и кодов Уолша после того, как были распределены мощности и коды Уолша для каналов служебных сигналов, IS-95, и IS-2000. Данные, передаваемые по каналу F-PDCH, подвергают расширению по спектру с использованием одного или нескольких кодов Уолша.
В системе 1xEV-DV базовая станция обычно осуществляет передачу по каналу F-PDCH на одну мобильную станцию единовременно, хотя многие пользователи в сотовой ячейке могут использовать услуги пакетной передачи. (Также возможно осуществлять передачу двум пользователям посредством планирования передач для этих двух пользователей и выделения мощности и каналов Уолша каждому пользователю надлежащим образом). Мобильные станции для передачи по прямой линии связи выбирают на основании некоторого алгоритма планирования.
В системе, подобной IS-856 или 1xEV-DV, планирование основано отчасти на информации обратной связи о качестве канала от обслуживаемых мобильных станций. Например, в IS-856 мобильные станции оценивают качество прямой линии связи и вычисляют скорость передачи, ожидаемую для поддержки в текущих условиях. Данные о желательной скорости передачи от каждой мобильной станции передаются на базовую станцию. Алгоритм планирования может, например, выбрать для передачи мобильную станцию, которая поддерживает относительно более высокую скорость передачи, чтобы повысить эффективность использования совместно используемого канала связи. В качестве другого примера, в системе 1xEV-DV каждая мобильная станция передает по обратному каналу индикации качества канала (R-CQICH) оценку отношения мощности несущей к уровню помехи (C/I) в качестве оценки качества канала. Алгоритм планирования используется, чтобы в соответствии с качеством канала определить мобильную станцию, выбираемую для передачи, а также подходящую скорость передачи и формат передачи.
Как описано выше, система 100 беспроводной связи может поддерживать множество пользователей, одновременно совместно использующих ресурс связи, например, систему IS-95, может выделять полный ресурс связи одному пользователю единовременно, например, систему IS-856, или может соразмерно распределять ресурс связи для обеспечения обоих типов доступа. Система 1xEV-DV является примером системы, которая разделяет ресурс связи между обоими типами доступа, и динамически выделяет пропорциональное распределение в соответствии с требованием пользователя. Примерный вариант осуществления прямой линии связи описан выше. Различные примерные варианты осуществления обратной линии связи подробно представлены далее ниже.
На Фиг.2 изображен пример мобильной станции 106 и базовой станции 104, которые сконфигурированы в систему 100, приспособленную для передачи данных. Базовая станция 104 и мобильная станция 106 показаны осуществляющими связь по прямой и обратной линии связи. Мобильная станция 106 принимает сигналы прямой линии связи в приемной подсистеме 220. Базовая станция 104, осуществляющая связь по прямым каналам данных и управления, подробно представленным ниже, может определяется как обслуживающая станция для мобильной станции 106. Пример приемной подсистемы подробно представлен ниже со ссылкой на Фиг.3. Оценка (C/I) отношения мощности несущей к уровню помехи для сигнала прямой линии связи, принятого от обслуживающей базовой станции, выполняется в мобильной станции 106. Измерение C/I является примером метрики качества канала, используемой в качестве оценки канала, и альтернативная метрика качества канала может быть применена в альтернативных вариантах осуществления. Результат измерения C/I доставляется в подсистему 210 передачи в базовой станции 104, пример которой подробно представлен ниже со ссылкой на Фиг.3.
Подсистема 210 передачи доставляет оценку C/I по обратной линии связи на обслуживающую базовую станцию. В ситуации гибкой передачи обслуживания, известной в области техники, сигналы обратной линии связи, передаваемые от мобильной станции, могут быть приняты одной или несколькими базовыми станциями, отличными от обслуживающей базовой станции, определяемыми как не-обслуживающие базовые станции. В базовой станции 104 приемная подсистема 230 принимает от мобильной станции 106 информацию C/I.
В базовой станции 104 используется блок 240 планирования для определения того, когда и как данные должны передаваться на одну или несколько мобильных станций в пределах области обслуживания обслуживающей сотовой ячейки. Любой тип алгоритма планирования может быть использован в рамках настоящего изобретения. Один пример раскрыт в патентной заявке США 08/798951 на “Способ и устройство для планирования скорости передачи прямой линии связи” от 11 февраля 1997 г., переуступленной правопреемнику настоящего изобретения.
В примере варианта осуществления 1xEV-DV, мобильная станция выбирается для передачи по прямой линии связи, если результат измерения C/I, принятый от этой мобильной станции, указывает, что данные могут быть переданы на конкретной скорости передачи. Предпочтительно, в смысле пропускной способности системы, выбирать целевую мобильную станцию так, чтобы совместно используемый ресурс связи всегда использовался на его максимальной поддерживаемой скорости передачи. Таким образом, типичной выбранной целевой мобильной станцией может быть та, которая имеет наибольшее переданное отношение C/I. Другие факторы также могут быть включены в принятие решение планирования. Например, гарантии минимального уровня качества обслуживания могли быть осуществлены для различных пользователей. Может быть, что для передачи выбирается мобильная станция с относительно более низким переданным C/I, чтобы поддерживать минимальную скорость передачи данных этому пользователю. Может быть, что для передачи выбирают мобильную станцию не с наибольшим переданным отношением C/I, чтобы поддерживать некоторый критерий справедливости между всеми пользователями.
В примере системы 1xEV-DV блок 240 планирования определяет, на какую мобильную станцию осуществлять передачу, а также скорость передачи данных, формат модуляции и уровень мощности для этой передачи. В альтернативном варианте осуществления, таком как система IS-856, например, решение по поддерживаемой скорости передачи/формату модуляции может быть принято на мобильной станции на основании качества канала, которое измерено на мобильной станции, и на обслуживающую базовую станцию может быть передан формат передачи вместо измерения отношения C/I. Специалистам в данной области техники будут очевидны многочисленные комбинации поддерживаемых скоростей передачи, форматов модуляции, уровней мощности и т.п., которые могут быть использованы в рамках настоящего изобретения. Кроме того, хотя в различных вариантах осуществления, описанных в документе, задачи планирования выполняются в базовой станции, в альтернативных вариантах осуществления некоторые или все процессы планирования могут иметь место в мобильной станции.
Блок 240 планирования предписывает подсистеме 250 передачи осуществлять передачу на выбранную мобильную станцию по прямой линии связи с использованием выбранной скорости, формата модуляции, уровня мощности и т.п.
В примерном варианте осуществления сообщения по каналу управления, или F-PDCCH (прямой канал управления пакетными данными), передают вместе с данными по каналу данных, или F-PDCH (прямой канал передачи пакетных данных). Канал управления может использоваться, чтобы идентифицировать мобильную станцию-получатель, принимающую данные по каналу F-PDCH, а также для идентификации других параметров связи, полезных в течение сеанса связи. Мобильная станция должна принимать данные из канала F-PDCH и демодулировать их, если канал F-PDCCH указывает, что мобильная станция является целевой для передачи. Мобильная станция после приема таких данных отвечает по обратной линии связи сообщением, указывающим на успешную или безуспешную передачу. Способы повторной передачи, известные в области техники, являются обычно применяемыми в системах передачи данных.
Мобильная станция может осуществлять связь более чем с одной базовой станцией, что определяется как состояние, известное как гибкая передача обслуживания. Гибкая передача обслуживания может включать в себя множество секторов из одной базовой станции (или одной базовой приемо-передающей подсистемы (BTS)), что известно как более гибкая передача обслуживания, а также секторы из множества BTS. Секторы базовой станции в ходе гибкой передачи обслуживания обычно сохранены в активном наборе, используемом мобильной станцией. В системе с одновременно совместно используемыми ресурсами связи, такой как IS-95, IS-2000, или соответствующая часть системы 1xEV-DV, мобильная станция может объединять сигналы прямой линии связи, переданные из всех секторов, находящихся в активном наборе. В системе передачи только данных такой, как IS-856, или соответствующая часть системы 1xEV-DV, мобильная станция принимает сигнал прямой линии связи от одной базовой станции из активного набора, т.е. обслуживающей базовой станции (определенной в соответствии с алгоритмом выбора мобильной станции, таким как описанный в стандарте C.S0002.C). Другие сигналы прямой линии связи, примеры которых подробно представлены далее ниже, также могут приниматься от не-обслуживающих базовых станций.
Сигналы обратной линии связи от мобильной станции могут приниматься на многих базовых станциях, и качество обратной линии связи обычно поддерживается для базовых станций из активного набора. Можно объединять сигналы обратной линии связи, принятые множеством базовых станций. В целом, гибкое объединение сигналов обратной линии связи от расположенных различным образом базовых станций потребует значительной ширины полосы сети связи с очень малой задержкой, так что перечисленные выше системы выполняют это требование. В случае более гибкой передачи обслуживания сигналы обратной линии связи, принятые множеством секторов отдельной BTS, могут быть объединены без сигнализации по сети. Тогда как в пределах объема настоящего изобретения может быть применен любой тип объединения сигналов обратной связи, в примерных системах, описанных выше, управление мощностью обратной линии связи поддерживает такое качество, что кадры обратной линии связи успешно декодируются в одной BTS (разнесение за счет переключения).
Передача данных обратной линии связи также может выполняться в системе 100. Описанные приемные подсистемы 210-230 и подсистемы 250 передачи могут применяться для посылки сигналов управления по прямой линии связи для управления передачей данных по обратной линии связи. Мобильные станции 106 также могут передавать управляющую информацию по обратной линии связи. Различные мобильные станции 106, осуществляющие связь с одной или несколькими базовыми станциями 104, могут осуществлять доступ к совместно используемому ресурсу связи (то есть обратному каналу, который может выделяться переменным образом, как в 1xEV-DV, или являться постоянно выделенным, как в IS-856), в соответствии с различными способами управления доступом и управления скоростью передачи, примеры которых подробно представлены ниже. Блок 240 планирования может применяться для определения выделения ресурсов обратной линии связи. Примеры сигналов управления и данных для передачи данных по обратной линии связи подробно представлены ниже.
Примерные варианты осуществления базовой станции и мобильной станции
На Фиг.3 показана блок-схема устройства беспроводной связи такого, как мобильная станция 106 или базовая станция 104. Блоки, изображенные в этом примерном варианте осуществления, в общем случае представляют собой поднабор компонентов, включенных в состав базовой станции 104 или мобильной станции 106. Специалисты в данной области техники смогут легко адаптировать вариант осуществления, показанный на Фиг.3, для использования в любом числе конфигураций базовых станций или мобильных станций.
Сигналы принимаются антенной 310 и подаются в приемник 320. Приемник 320 выполняет обработку в соответствии с одним или более стандартами для беспроводных систем, такими как перечисленные выше стандарты. Приемник 320 выполняет различную обработку, такую как преобразование радиочастоты (РЧ) в базовую полосу частот, усиление, аналого-цифровое преобразование, фильтрация и т.п. Различные способы приема известны в технике. Приемник 320 может быть использован для измерения качества канала прямой или обратной линии связи, если устройством является мобильная станция или базовая станция, соответственно, хотя для ясности обсуждения показан отдельный блок 335 оценки качества канала, подробно представленный ниже.
Сигналы с приемника 320 демодулируются в демодуляторе 325 в соответствии с одним или более стандартами связи. В примерном варианте осуществления использован демодулятор, способный демодулировать сигналы для 1xEV-DV. В альтернативных вариантах осуществления могут поддерживаться дополнительные стандарты, и варианты осуществления могут поддерживать множество форматов передачи информации. Демодулятор 330 может выполнять многоотводный прием, коррекцию, объединение, обратное перемежение, декодирование и различные другие функции, как требуется согласно формату принятых сигналов. Различные способы демодуляции известны в технике. В базовой станции 104 демодулятор 325 будет осуществлять демодулирование в соответствии с обратной линией связи. В мобильной станции 106 демодулятор 325 будет осуществлять демодулирование в соответствии с прямой линией связи. Описанные канал данных и канал управления являются примерами каналов, которые могут приниматься и демодулироваться в приемнике 320 и демодуляторе 325. Демодуляция данных прямого канала будет происходить в соответствии с сигнализацией по каналу управления, как описано выше.
Декодер 330 сообщений принимает демодулированные данные и выделяет сигналы или сообщения, направляемые на мобильную станцию 106 или базовую станцию 104 по прямой или обратной линии связи, соответственно. Декодер 330 сообщений декодирует различные сообщения, используемые при установке, поддержании и освобождении канала вызова (включающего сеансы передачи речи или данных) в системе. Сообщения могут включать в себя указания качества канала, такие как измерения отношения C/I, сообщения управления мощностью или сообщения канала управления, используемые для демодуляции прямого канала данных. Различные типы управляющих сообщений могут декодироваться в базовой станции 104 или в мобильной станции 106 при их передаче по обратной или прямой линиям связи, соответственно. Например, ниже описываются сообщения запросов и сообщения разрешения передачи для планирования передачи данных по обратной линии связи, которые формируются в мобильной станции или базовой станции, соответственно. Различные другие типы сообщений известны в технике и могут определяться в различных поддерживаемых стандартах связи. Сообщения подаются в процессор 350 для использования в последующей обработке. Некоторые или все функции декодера 330 сообщений могут выполняться в процессоре 350, хотя для ясности обсуждения показан отдельный блок. В качестве альтернативы, демодулятор 325 может декодировать определенную информацию и посылать ее непосредственно на процессор 350 (примерами являются одноразрядное сообщение такое, как ACK/NAK (подтверждение/отсутствие подтверждения приема) или команда “up/down” (повысить/понизить) управления мощностью). Различные сигналы и сообщения для использования в раскрытых вариантах осуществления подробно представлены ниже.
Блок 335 оценки качества канала соединен с приемником 320 и используется для выполнения различных оценок уровня мощности для использования в описанных процедурах, а также для использования в различной другой обработке, используемой в передаче информации, такой как демодуляция. В мобильной станции 106 могут выполняться измерения отношения C/I. Кроме того, измерения любого сигнала или канала, используемых в системе, могут осуществляться в блоке 335 оценки качества канала согласно данному варианту осуществления. В базовой станции 104 или мобильной станции 106 могут выполняться оценки уровня сигнала, например, мощности принятого пилот-сигнала. Блок 335 оценки качества канала показан в виде отдельного блока только для ясности обсуждения. Обычно такой блок включается в состав другого блока, такого как приемник 320 или демодулятор 325. Могут выполняться различные виды оценок уровня сигнала, в зависимости от того, какой сигнал, или какой тип системы оценивается. В общем случае, любой тип блока оценки метрики качества канала может использоваться вместо блока 335 оценки качества канала в пределах объема настоящего изобретения. В базовой станции 104 оценки качества канала подаются в процессор 350 для использования в планировании или определении качества обратной линии связи, как описано ниже. Оценки качества канала могут использоваться для определения того, какие команды управления мощностью – “повышения” или “понижения” – требуются для доведения мощности прямой или обратной линии связи до требуемого установленного значения. Требуемое установленное значение может определяться с помощью механизма управления мощностью во внешнем контуре.
Сигналы передаются через антенну 310. Передаваемые сигналы отформатированы в передатчике 370 согласно одному или более стандартам систем беспроводной связи, таких как перечисленные выше. Примерами компонентов, которые могут быть включены в передатчик 370, являются усилители, фильтры, цифроаналоговые преобразователи (ЦАП), преобразователи радиочастоты (РЧ) и т.п. Данные для передачи подаются на передатчик 370 модулятором 365. Каналы данных и управления могут форматироваться для передачи в соответствии с рядом форматов. Данные для передачи по прямому каналу передачи данных могут форматироваться в модуляторе 365 в соответствии со скоростью передачи и формату модуляции, указанным алгоритмом планирования в соответствии с отношением C/I или другим измерением качества канала. Блок планирования, такой как блок 240 планирования, описанный выше, может постоянно находиться в процессоре 350. Подобным образом передатчику 370 может предписываться осуществление передачи на уровне мощности в соответствии с алгоритмом планирования. Примеры компонентов, которые могут быть включены в состав модулятора 365, включают в себя кодеры, блоки перемежения, расширения и модуляторы различных видов. Структура обратной линии связи, включая примерные форматы модуляции и управление доступом, подходящая для применения на системе 1xEV-DV, также описана ниже.
Блок 360 формирования сообщений может использоваться для подготовки сообщений различных типов, как описано в настоящем документе. Например, сообщения C/I могут формироваться в мобильной станции для передачи по обратной линии связи. Различные типы управляющих сообщений могут формироваться в базовой станции 104 или в мобильной станции 106 для передачи по прямой линии связи или обратной линии связи, соответственно. Например, ниже описаны сообщения запроса и сообщения разрешения передачи для планирования передачи данных по обратной линии связи для формирования в мобильной станции или базовой станции, соответственно.
Данные, принятые и демодулированные в демодуляторе 325, могут подаваться в процессор 350 для использования в передачах речи или данных, а также в различные другие компоненты. Подобным образом данные для передачи могут направляться от процессора 350 на модулятор 365 и передатчик 370. Например, различные приложения данных могут присутствовать на процессоре 350 или на другом процессоре, включенном в состав устройства 104 или 106 беспроводной связи (не показано). Базовая станция 104 может быть соединена, через другое, не показанное оборудование, с одной или несколькими внешними сетями, такими как Internet (не показано). Мобильная станция 106 может включать в себя соединение с внешним устройством, таким как портативная ЭВМ (не показано).
Процессор 350 может быть универсальным микропроцессором, цифровым процессором сигналов (DSP) или специализированным процессором. Процессор 350 может выполнять некоторые или все функции приемника 320, демодулятора 325, декодера 330 сообщений, блока 335 оценки качества канала, блока 360 формирования сообщений, модулятора 365 или передатчика 370, а также любую другую обработку, требуемую устройством беспроводной связи. Процессор 350 может быть соединен со специализированными аппаратными средствами, чтобы содействовать выполнению этих задач (детально не показано). Приложения данных или речи могут быть внешними, такими как соединенная внешним образом портативная ЭВМ или соединение с сетью, могут исполняться на дополнительном процессоре в устройстве 104 или 106 беспроводной связи (не показано), или могут исполняться непосредственно на процессоре 350. Процессор 350 соединен с запоминающим устройством 355, которое может использоваться для хранения данных, а также команд для выполнения различных процедур и способов, описанных в настоящем документе. Специалистам в данной области техники должно быть понятно, что запоминающее устройство 355 может состоять из одного или более компонентов запоминающих устройств различных типов, которые могут встраиваться полностью или частично в процессор 350.
Типичная система передачи данных может включать в себя один или более каналов различных типов. Более конкретно, обычно применяются один или более каналов данных. Также обычно применяются один или более каналов управления, хотя внутриполосная управляющая сигнализация может быть включена в канал данных. Например, в системе 1xEV-DV прямой канал управления передачей пакетных данных (F-PDCCH) и прямой канал передачи пакетных данных (F-PDCH) определены для передачи по прямой линии связи управляющих сигналов и данных, соответственно. Различные примерные каналы для передачи данных по обратной линии связи подробно представлены ниже.
Структура обратной линии связи 1xEV-DV
В этом разделе описаны различные факторы, рассматриваемые при проектировании варианта осуществления обратной линии связи для системы беспроводной связи. Во многих вариантах осуществления, подробно представленных в нижеследующих разделах, используются сигналы, параметры и процедуры, соотнесенные со стандартом 1xEV-DV. Этот стандарт, описываемый только с иллюстративными целями, как каждый из описываемых при этом аспектов, и их комбинации могут быть применены к любому количеству систем связи в пределах объема настоящего изобретения. Этот раздел используется в качестве частичного краткого изложения различных аспектов изобретения, хотя оно не является исчерпывающим. Примерные варианты осуществления подробно представлены ниже в последующих разделах, в которых описаны дополнительные аспекты.
В многих случаях, пропускная способность обратной линии связи ограничена помехами. Базовые станции выделяют мобильным станциям доступные ресурсы обратной линии связи для эффективного использования, чтобы максимизировать пропускную способность в соответствии с требованиями качества обслуживания (QoS) для различных мобильных станций.
Обеспечение максимального использования ресурса обратной линии связи касается нескольких факторов. Одним рассматриваемым фактором является совокупность планируемых передач обратной линии связи от различных мобильных станций, каждая из которых может на практике испытывать изменяющееся качество канала в любой заданный момент времени. Чтобы повысить общую пропускную способность (совокупные данные, передаваемые всеми мобильными станциями в сотовой ячейке), желательно полностью использовать всю обратную линию связи всякий раз, когда имеются данные обратной линии связи, подлежащие пересылке. Для заполнения доступных ресурсов мобильным станциям может предоставляться доступ на самой высокой скорости передачи, которую они могут поддерживать, и дополнительным мобильным станциям может предоставляться доступ до достижения предела использования ресурсов. Одним из факторов, который базовая станция может учитывать при принятии решения, какие мобильные станции подлежат планированию, является максимальная скорость передачи, которую каждая мобильная станция может поддерживать, и количество данных, которые каждая мобильная станция должна передавать. Может быть выбрана мобильная станция с более высокой производительностью, вместо альтернативной мобильной станции, канал которой не поддерживает более высокую производительность.
Другим учитываемым фактором является качество обслуживания, требуемое каждой мобильной станцией. Хотя может быть допустимым задерживать доступ для одной мобильной станции в надеждах, что состояние канала улучшится, предпочитая вместо этого выбрать лучше расположенную мобильную станцию, может иметь место ситуация, когда потребуется предоставление доступа для условно оптимальной мобильной станции при удовлетворении минимальных гарантий качества обслуживания. Таким образом, спланированная пропускная способность данных может не являться абсолютно максимальной, а предпочтительнее максимизированной с учетом условий канала, доступной мощности передачи мобильной станции и требований обслуживания. Для любой конфигурации является желательным уменьшать отношение уровня сигнала к уровню помехи для выбранной совокупности.
Ниже описаны различные механизмы планирования для обеспечения возможности мобильной станции передавать данные по обратной линии связи. Одна категория передач по обратной линии связи включает в себя выполнение мобильной станцией запроса на передачу по обратной линии связи. Базовая станция определяет, имеются ли ресурсы для реализации запроса. Может быть выдано разрешение на выполнение передачи. Это подтверждение установления связи между мобильной станцией и базовой станцией вносит задержку прежде, чем данные смогут быть переданы обратной линии связи. Для некоторых категорий данных обратной линии связи задержка может быть допустимой. Другие категории могут быть более чувствительными к задержке, и ниже подробно представлены альтернативные способы передачи по обратной линии связи, чтобы уменьшать задержку.
Кроме того, ресурсы обратной линии связи расходуются на выполнение запроса передачи, а ресурсы прямой линии связи расходуются на ответ на запрос, то есть на разрешение передачи. Если качество канала мобильной станции является низким, то есть низкая геометрия или глубокое замирание, то мощность, требуемая в прямой линии связи для достижения мобильной станции, может быть относительно высокой. Ниже подробно представлены различные способы для уменьшения количества или требуемой мощности передачи запросов и разрешений передачи, требуемых для передачи данных по обратной линии связи.
Чтобы избегать задержки, вносимой подтверждением установления связи для запроса/разрешения передачи, а также сохранять ресурсы прямой и обратной линии связи, требуемые для их поддержки, поддерживают автономный режим передачи по обратной линии связи. Мобильная станция может передавать данные на ограниченной скорости передачи по обратной линии связи без выполнения запроса или ожидания разрешения передачи.
Также может быть желательным модифицировать скорость передачи мобильной станции, осуществляющей передачу, в соответствии с разрешением передачи, или автономно, без непроизводительных издержек на разрешение передачи. Чтобы выполнить это, команды управления скоростью передачи могут быть реализованы вместе с автономной передачей и планированием на основе запроса/разрешения передачи. Например, набор команд может включать в себя команду для повышения, уменьшения и сохранения неизменной текущей скорости передачи. Такие команды управления скоростью передачи могут адресоваться на каждую мобильную станцию индивидуально, или на группы мобильных станций. Различные примерные команды управления скоростью передачи, каналы и сигналы подробно представлены ниже.
Базовая станция выделяет часть ресурса обратной линии связи одной или нескольким мобильным станциям. Мобильной станции, которой разрешен доступ, предоставляется максимальный уровень мощности. В описанных вариантах осуществления ресурс обратной линии связи выделяется с использованием отношения сигнала трафика к пилот-сигналу (T/P). Поскольку пилот-сигнал каждой мобильной станции является адаптивно управляемым посредством управления мощностью, задание отношения T/P указывает доступную мощность для использования в передаче данных по обратной линии связи. Базовая станция может выдавать конкретные разрешения передачи для одной или нескольких мобильных станций, указывая значение T/P, конкретное для каждой мобильной станции. Базовая станция также может выдавать общее разрешение передачи для оставшихся мобильных станций, которые запросили доступ, указанием максимального значения T/P, которое является допустимым для этих оставшихся мобильных станций для передачи. Автономная и планируемая передача, индивидуальные и общие разрешения передачи и управление скоростью передачи подробно представлены ниже.
В технике известны и продолжают разрабатываться различные алгоритмы планирования, которые могут использоваться для определения различных конкретных и общих значений T/P для разрешений передачи, а также требуемые команды управления скоростью передачи в соответствии с количеством зарегистрированных мобильных станций, вероятностью автономной передачи мобильными станциями, количеством и размером незавершенных запросов, ожидаемым средним откликом на разрешения передачи и рядом других факторов. В одном примере выбор из набора запрашивающих мобильных станций осуществляется на основе приоритета качества обслуживания (QoS), эффективности и достижимой пропускной способности. Возможный метод планирования раскрыт в совместно поданной патентной заявке США 10/651810, на “Систему и способ для масштабируемого по времени и основанного на приоритетах планировщика” от 28 августа 2003 г., переуступленной правопреемнику настоящего изобретения. Дополнительные ссылки включают в себя патент США 5914950 на “Способ и устройство планирования скорости передачи по обратной линии связи” и патент США 5923650 с тем же названием, оба из которых переуступлены правопреемнику настоящего изобретения.
Мобильная станция может передавать пакет данных, используя один или несколько подпакетов, причем каждый подпакет содержит полную информацию пакета (каждый подпакет не обязательно одинаково кодирован, поскольку может быть применено различное кодирование или избыточность по всем различным подпакетам). Могут быть применены способы повторной передачи, чтобы гарантировать надежную передачу, например, автоматический запрос повторной передачи (ARQ). Таким образом, если первый подпакет принят без ошибки (с использованием, например, CRC (циклического избыточного кода)), то на мобильную станцию посылается положительное подтверждение приема (ACK), и дополнительные подпакеты не будут посылаться (каждый подпакет содержит полную информацию пакета, в той или другой форме). Если первый подпакет не принят правильно, то на мобильную станцию посылается сигнал отсутствия подтверждения приема (NAK), и будет передан второй подпакет. Базовая станция может объединять энергию из этих двух подпакетов и пытаться декодировать. Процесс может повторяться бесконечно, хотя обычно задается максимальное количество подпакетов. В описанных вариантах осуществления может быть передано до четырех подпакетов. Таким образом, вероятность корректного приема повышается по мере приема дополнительных подпакетов. Ниже подробно представлены различные способы объединения ответов ARQ, команд управления скоростью передачи и разрешений передачи для обеспечения требуемого уровня гибкости в выборе скоростей передачи с приемлемыми уровнями непроизводительных издержек.
Как описано выше, мобильная станция может выбирать компромисс между пропускной способностью и задержкой в ходе принятия решения, использовать ли автономную передачу, чтобы передавать данные с низким временем задержки, или запрашивать передачу на более высокой скорости и ожидать общего или конкретного разрешения передачи. Кроме того, для заданного T/P мобильная станция может выбирать скорость данных, чтобы соответствовать времени задержки или пропускной способности. Например, мобильная станция с относительно небольшим объемом в битах для передачи может принять решение, что желательно низкое время задержки. Для доступного T/P (возможно, максимального для автономной передачи в этом примере, но также может быть T/P конкретного или общего разрешения передачи), мобильная станция может выбирать скорость передачи и формат модуляции, так что вероятность, что базовая станция корректно принимает первый подпакет, является высокой. Хотя повторная передача будет доступна при необходимости, вероятно, что данная мобильная станция сможет передать свои информационные биты в одном подпакете. В различных описанных вариантах осуществления каждый подпакет передается в течение 5 мс. Следовательно, в этом примере, мобильная станция может осуществлять немедленную автономную передачу, которая, вероятно, будет принята на базовой станции спустя интервал 5 мс. В качестве альтернативы, мобильная станция может использовать дополнительные подпакеты, чтобы увеличить количество данных, передаваемых для заданного T/P. Поэтому, мобильная станция может выбирать автономную передачу, чтобы уменьшить время задержки, связанной с запросами и разрешениями передачи, и может дополнительно согласовать пропускную способность с конкретным T/P, чтобы свести к минимуму количество требуемых подпакетов (следовательно, время задержки). Даже если выбрано полное количество подпакетов, автономная передача будет осуществлена с меньшей задержкой, чем запрос и разрешение передачи для относительно небольших передач данных. Специалистам в данной области техники должно быть понятно, что по мере увеличения количества данных для передачи, требующей множество пакетов для передачи, полное время задержки может быть снижено посредством переключения на формат запроса и разрешения передачи, поскольку неудобства, связанные с запросом и разрешением передачи, будут в конечном счете возмещены повышенной пропускной способностью из-за более высокой скорости передачи данных в сравнении с передачей множества пакетов. Этот процесс подробно представлен ниже, с примерным набором скоростей передачи и форматов, которые могут быть связаны с различными распределениями T/P.
Передача данных по обратной линии связи
Одной из целей схемы обратной линии связи может быть поддержание на базовой станции относительно постоянным значения параметра превышения над тепловыми помехами (RoT) (отношение полной принятой мощности к мощности тепловой помехи), пока имеются данные обратной линии связи, которые подлежат передаче. Передача по каналу данных обратной линии связи обрабатывается в трех различных режимах:
Автономная передача: Этот случай используется для трафика, требующего малую задержку. Мобильной станции разрешается осуществлять передачу немедленно, до некоторой скорости передачи, определяемой обслуживающей базовой станцией (то есть, базовой станцией, на которую мобильная станция адресует свой индикатор качества канала (CQI)). Обслуживающая базовая станция также обозначается как базовая станция, выполняющая планирование, или базовая станция, выдающая разрешения передачи. Максимальная допустимая скорость для автономной передачи может сигнализироваться обслуживающей базовой станцией динамически на основании загрузки системы, перегрузки и т.д.
Планируемая передача: мобильная станция посылает оценку размера ее буфера, доступной мощности и, возможно, других параметров. Базовая станция определяет, когда мобильной станции разрешено осуществлять передачу. Целью планировщика является ограничить количество одновременных передач, таким образом снижая взаимное влияние между мобильными станциями. Планировщик может пытаться обеспечить передачи мобильных станций в зонах между сотовыми ячейками на более низких скоростях, чтобы уменьшить взаимное влияние на соседние сотовые ячейки, и непосредственно управлять параметром RoT повышения качества речи в канале R-FCH (обратный основной канал), обратную связь DV по каналу R-CQICH и подтверждение приема по каналу R-ACKCH (обратный канал подтверждения приема), а также стабильность системы.
Передача с управляемой скоростью: независимо от того, осуществляет ли мобильная станция передачу по плану (то есть, по разрешению) или автономно, базовая станция может осуществлять настройку скорости передачи посредством команд управления скоростью передачи. Команды управления скоростью передачи включают в себя повышение, понижение или поддержание текущей скорости передачи. Могут быть включены дополнительные команды для задания изменения скорости передачи (то есть, величины повышения или понижения). Команды управления скоростью передачи могут быть вероятностными или детерминированными.
Различные представленные варианты осуществления содержат один или несколько признаков, предназначенных для совершенствования пропускной способности, емкости и эффективности обратной линии связи в целом для системы беспроводной связи. Для иллюстрации описана информационная часть системы 1xEV-DV, в частности, оптимизация передачи различными мобильными станциями по обратному расширенному дополнительному каналу (R-ESCH). Различные каналы прямой и обратной линии связи, используемые в вариантах осуществления, подробно представлены в этом разделе. Эти каналы являются обычно поднабором каналов, используемых в системе связи.
На Фиг.4 изображен примерный вариант осуществления сигналов данных и управляющих сигналов для передачи данных по обратной линии связи. Мобильная станция 106 осуществляет связь по различным каналам, каждый канал соединен с одной или несколькими базовыми станциями 104A-104C. Базовая станция 104A обозначена как выполняющая планирование. Другие базовые станции 104B и 104C являются частью активного набора мобильной станции 106. Показаны четыре типа сигналов обратной линии связи и четыре типа сигналов прямой линии связи. Они описаны ниже.
R-REQCH
Обратный канал запроса (R-REQCH) используется мобильной станцией для запроса от выполняющей планирование базовой станции передачи данных по обратной линии связи. В примерном варианте осуществления запросы предназначены для передачи по каналу R-ESCH (подробно представлен ниже). В примерном варианте осуществления запрос по каналу R-REQCH включает в себя отношение T/P, которое может поддерживать мобильная станция, изменяющееся в соответствии с изменяющимися условиями канала, и размер буфера (то есть, количество данных, ожидающих передачу). Запрос может также задавать качество обслуживания (QoS) для данных, ожидающих передачу. Мобильная станция может иметь отдельный уровень QoS, указанный для мобильной станции, или, в качестве альтернативы, различные уровни QoS для различных типов вариантов услуг. Протоколы более высокого уровня могут указывать QoS или другие требуемые параметры (такие, как требования времени задержки или пропускная способность) для различных услуг данных. В альтернативном варианте осуществления, обратный выделенный канал управления (R-DCCH), используемый вместе с другими сигналами обратной линии связи, такими как обратный основной канал (R-FCH) (например, используемый для услуг речи), может использоваться для передачи запросов доступа. Обычно, запросы доступа могут быть описаны как содержащие логический канал, то есть обратный канал запроса планирования (R-SRCH), который может быть отображен на любой существующий физический канал, такой как R-DCCH. Примерный вариант осуществления обратно совместим с существующими системами CDMA, такими как система IS-2000 версии С, а канал R-REQCH является физическим каналом, который может быть использован в отсутствие R-FCH или R-DCCH. Для ясности, в описываемых вариантах осуществления термин R-REQCH используется для описания канала запроса доступа, хотя специалисты в данной области техники легко смогут распространить принципы изобретения на любой тип системы запроса доступа, независимо от того, является ли канал запроса доступа логическим или физическим. Канал R-REQCH может стробироваться, пока не потребуется запрос, обеспечивая тем самым снижение взаимных помех и экономию ресурсов системы.
В примерном варианте осуществления канал R-REQCH содержит 12 входных битов, включая следующее: 4 бита для указания максимального отношения T/P для канала R-ESCH, которое мобильное устройство может поддерживать, 4 бита для указания количества данных в буфере мобильного устройства и 4 бита для указания QoS. Специалистам в данной области техники должно быть понятно, что любое количество битов и различные другие поля могут быть включены в альтернативные варианты осуществления.
F-GCH
Прямой канал разрешения передачи (F-GCH) передается на мобильную станцию от выполняющей планирование базовой станции. Канал F-GCH может быть составлен из множества каналов. В примерном варианте осуществления общий канал F-GCH применяется для реализации общих разрешений передачи, и один или более индивидуальных каналов F-GCH применяются для реализации индивидуальных разрешений передачи. Разрешения передачи формирует выполняющая планирование базовая станция в ответ на один или несколько запросов от одной или нескольких мобильных станций по их соответствующим каналам R-REQCH. Каналы разрешения передачи могут быть помечены как GCHx, причем нижний индекс x идентифицирует номер канала. Номер 0 канала может использоваться для указания общего канала разрешения передачи. Если применены N индивидуальных каналов, нижний индекс x может изменяться в пределах от 1 до N.
Индивидуальное разрешение передачи может выполняться для одной или более мобильных станций, давая разрешение для идентифицированной мобильной станции на передачу по каналу R-ESCH при указанном отношении T/P или ниже. Реализация разрешений передачи по прямой линии связи естественно внесет непроизводительные издержки, которые используют часть ресурса прямой линии связи. Различные факультативные возможности для уменьшения непроизводительных издержек, связанных с разрешениями передачи, представлены в настоящем описании, а другие такие возможности будут очевидны специалистам в данной области техники в свете идеи изобретения.
Один из учитываемых факторов состоит в том, что мобильные станции будут расположены так, что каждая будет испытывать изменяющееся качество канала. Таким образом, например, мобильная станция высокой геометрии с прямым и обратным каналом связи хорошего качества может потребовать относительно малой мощности для сигнала разрешения передачи и, возможно, сможет использовать преимущества высокоскоростной передачи данных, и, следовательно, является желательной для индивидуального разрешения передачи. Мобильная станция низкой геометрии, испытывающая более глубокое затухание, может потребовать значительно большей мощности для надежного приема индивидуального разрешения передачи. Такая мобильная станция может не быть наилучшим претендентом на индивидуальное разрешение передачи. Общее разрешение передачи для такой мобильной станции, подробно представленное ниже, может быть связано с меньшими затратами, вносимыми в непроизводительные издержки прямой линии связи.
В примерном варианте осуществления применяется ряд индивидуальных каналов F-GCH, чтобы обеспечить соответствующее количество индивидуальных разрешений передачи в конкретное время. Каналы F-GCH являются мультиплексированными с кодовым разделением. Это позволяет передавать каждое разрешение передачи на уровне мощности, требуемой для достижения конкретной мобильной станции. В альтернативном варианте осуществления, отдельный канал индивидуального разрешения передачи может использоваться вместе с рядом мультиплексированных по времени индивидуальных разрешений передачи. Возможность изменения мощности каждого разрешения передачи по мультиплексированному с временным разделением индивидуальному каналу F-GCH может вносить дополнительную сложность. Любая техника сигнализации для доставки общих или индивидуальных разрешений передачи может быть применена в пределах объема настоящего изобретения.
В некоторых вариантах осуществления применяется относительно большое количество индивидуальных каналов разрешения передачи (то есть, каналов F-GCH), чтобы предусматривать относительно большое количество индивидуальных разрешений передачи в одно время. В таком случае, может быть желательным ограничить количество индивидуальных каналов разрешения передачи, которые должна контролировать каждая мобильная станция. В одном примерном варианте осуществления определены различные поднаборы из общего количества индивидуальных каналов разрешения передачи. Каждой мобильной станции назначается для контроля поднабор индивидуальных каналов разрешения передачи. Это дает возможность мобильной станции уменьшить сложность обработки и соответственно уменьшить потребление мощности. Компромисс заключается в гибкости планирования, поскольку выполняющая планирование базовая станция может оказаться неспособной произвольно назначать наборы индивидуальных разрешений передачи (например, все индивидуальные разрешения передачи не могут быть реализованы для элементов отдельной группы, поскольку эти элементы не предназначены для контроля одного или нескольких индивидуальных каналов разрешения передачи). Эта потеря гибкости не обязательно приводит к потере пропускной способности. Для иллюстрации можно рассмотреть пример с четырьмя индивидуальными каналами разрешения передачи. Пронумерованные четными номерами мобильные станции могут быть назначены для контроля двух первых каналов разрешения передачи, а пронумерованные нечетными номерами мобильные станции могут быть назначены для контроля двух последних. В другом примере, поднаборы могут перекрываться, так что четные мобильные станции осуществляют контроль первых трех каналов разрешения передачи, а нечетные мобильные станции осуществляют контроль последних трех каналов разрешения передачи. Понятно, что выполняющая планирование базовая станция не может произвольно распределять четыре мобильные станции из какой-либо группы (четных номеров или нечетных). Эти примеры являются лишь иллюстративными. Любое количество каналов с любой конфигурацией поднаборов могут быть использованы в рамках объема настоящего изобретения.
Оставшимся мобильным станциям, сделавшим запрос, но не принявшим индивидуального разрешения передачи, может быть дано разрешение на передачу по каналу R-ESCH с использованием общего разрешения передачи, которое задает максимальное отношение T/P, которого каждая из остальных мобильных станций должна строго придерживаться. Общий канал F-GCH также может быть обозначен как прямой общий канал разрешения передачи (F-CGCH). Мобильная станция осуществляет контроль одного или более индивидуальных каналов разрешения передачи (или их поднабор), а также общего канала F-GCH. Если не задано индивидуальное разрешение передачи, мобильная станция может осуществлять передачу, если выдано общее разрешение передачи. Общее разрешение передачи указывает максимальное отношение T/P, на котором остальные мобильные станции (мобильные станции общего разрешения передачи) могут осуществлять передачу данных с конкретным типом QoS.
В примерном варианте осуществления каждое общее разрешение передачи является действительным для некоторого числа интервалов передачи подпакета. Приняв общее разрешение передачи, мобильная станция, которая послала запрос, но не получила индивидуальное разрешение передачи, может начинать передачу одного или нескольких пакетов кодера (кодированных пакетов) в пределах последующих интервалов передачи. Информация разрешения передачи может быть повторена несколько раз. Это позволяет передавать общее разрешение передачи на пониженном уровне мощности относительно индивидуального разрешения передачи. Каждая мобильная станция может объединять энергию множества передач, чтобы надежно дешифровать общее разрешение передачи. Следовательно, общее разрешение передачи может быть выбрано для мобильных станций с низкой геометрией, например, в случае, если индивидуальное разрешение передачи считается слишком дорогостоящем в терминах пропускной способности прямой линии связи. Однако общие разрешения передачи тем не менее требуют непроизводительных издержек, и различные способы уменьшения этих непроизводительных издержек подробно представлены ниже.
Базовая станция посылает F-GCH на каждую мобильную станцию, которую базовая станция планирует для передачи нового пакета канала R-ESCH. Он также может быть послан в течение передачи или повторной передачи пакета кодера, вызывая в мобильной станции изменение отношения T/P, соответствующего ее передаче, для последующих подпакетов пакета кодера в случае, если становится необходимым управление перегрузкой.
В примерном варианте осуществления общее разрешение передачи состоит из 12 битов, включая 3-битовое поле типа, задающее формат последующих девяти разрядов. Оставшиеся биты указывают, что максимальное допустимое отношение T/P для 3-х категорий мобильных устройств, как указано в поле типа 3 битами, обозначающими максимальное допустимое отношение T/P для каждой категории. Категории мобильных устройств могут быть основаны на требованиях QoS, или на другом критерии. Предполагаются различные другие форматы общего разрешения передачи, которые будут очевидны специалисту в данной области техники.
В примерном варианте осуществления индивидуальное разрешение передачи содержит 12 битов, включая 11 битов для задания идентификатора (ID) мобильного устройства и максимального допустимого отношения T/P для мобильной станции, которой представлено разрешение на передачу, или для явной сигнализации мобильной станции об изменении ее максимального допустимого отношения T/P, включая установку в 0 максимального допустимого отношения T/P (то есть, мобильной станции предписывается не передавать R-ESCH). Биты указывают ID мобильной станции (1 из 192 значений) и максимальное допустимое T/P (1 из 10 значений) для указанного мобильного устройства. В альтернативном варианте осуществления может быть установлен бит длительного разрешения передачи для указанного мобильного устройства. Если бит длительного разрешения передачи установлен на единицу, то мобильной станции предоставлено разрешение передавать относительно большое фиксированное, заранее установленное количество (которое может быть обновлено с помощью сигнализации) пакетов в этом канале ARQ. Если бит длительного разрешения передачи установлен на ноль, то мобильной станции разрешено передавать один пакет. Мобильному устройству может быть предписано выключить передачи его канала R-ESCH указанием нулевого отношения T/P, и это может использоваться, чтобы сигнализировать мобильной станции выключить для отдельного пакета ее передачу по каналу R-ESCH для передачи одиночного подпакета, если бит длительного разрешения передачи выключен, или для более длительного периода, если бит длительного разрешения передачи включен.
В одном примерном варианте осуществления мобильная станция осуществляет только контроль канала F-GCH от обслуживающей базовой станции. Если мобильная станция принимает сообщение канала F-GCH, то мобильная станция действует в соответствии с информацией скорости передачи в сообщении канала F-GCH и игнорирует биты управления скоростью передачи. Альтернативой будет использование мобильной станцией правила, что если какой-либо индикатор управления скоростью передачи от базовой станции, отличной от обслуживающей базовой станции, указывает уменьшение скорости передачи (то есть, команду RATE_DECREASE, подробно представленную ниже), то мобильная станция будет уменьшать свою скорость, даже если канал F-GCH указывает усиление.
В альтернативном варианте осуществления мобильная станция может контролировать канал F-GCH от всех базовых станций или от поднабора базовых станций из своего активного набора. Более высокий уровень сигнализации указывает мобильной станции, какие каналы F-GCH контролировать и как объединять их при назначении каналов, посредством сообщения инструкции передачи обслуживания, или другие сообщения. Поднабор каналов F-GCH от различных базовых станций может объединяться гибким образом. Мобильная станция будет уведомлена об этой возможности. После возможного гибкого объединения каналов F-GCH от различных базовых станций, может все-таки иметься множество каналов F-GCH в любой момент. Мобильная станция может затем выбрать скорость передачи, как самую низкую разрешенную скорость передачи (или согласно некоторому другому правилу).
R-PICH
Обратный канал передачи пилот-сигнала (пилот-канал) (R-PICH) передается от мобильной станции на базовые станции, находящиеся в активном наборе. Мощность в канале R-PICH может измеряться на одной или более базовых станциях для использования в управлении мощностью обратной линии связи. Как известно в технике, пилот-сигналы могут использоваться, чтобы обеспечивать измерения амплитуды и фазы для использования при когерентной демодуляции. Как описано выше, величина мощности передачи, доступной для мобильной станции (ограниченная выполняющей планирование базовой станцией или собственными ограничениями усилителя мощности мобильной станции), разделяется между пилот-каналом, каналом или каналами трафика и каналами управления. Дополнительная мощность пилот-сигнала может быть необходимой для более высоких скоростей передачи данных и форматов модуляции. Чтобы упростить использование R-PICH для управления мощностью и избежать некоторых проблем, связанных с мгновенными изменениями в требуемой мощности пилот-сигнала, может быть выделен дополнительный канал для использования в качестве дополнительного или вторичного пилот-канала. Хотя, обычно, пилот-сигналы передаются с использованием известных последовательностей данных, сигнал передачи информации также может быть применен для использования в формировании опорной информации для демодуляции. В примерном варианте осуществления канал R-RICH используется для передачи дополнительной требуемой мощности пилот-сигнала.
R-RICH
Обратный канал индикации скорости передачи (R-RICH) используется мобильной станцией, чтобы указывать формат передачи по обратному каналу трафика R-ESCH. Этот канал альтернативно может быть обозначен как обратный канал управления передачей пакетных данных (R-PDCCH).
Канал R-RICH может передаваться всякий раз, когда мобильная станция осуществляет передачу подпакета. Канал R-RICH также может передаваться с индикацией нулевой скорости передачи, когда мобильная станция находится в состоянии ожидания в канале R-ESCH. Передача нулевой скорости передачи кадров R-RICH (R-RICH, который указывает, что R-ESCH не передается) помогает базовой станции обнаружить, что мобильная станция находится в состоянии ожидания, поддерживать управление мощностью обратной линии связи для мобильной станции и выполнять другие функции.
Началом кадра R-RICH является время, совпадающее с началом текущей передачи R-ESCH. Длительность кадра R-RICH может быть одинаковой или более короткой, чем таковая для соответствующей передачи R-ESCH. Канал R-RICH передает формат передачи для одновременной передачи R-ESCH, такой как полезная нагрузка, идентификатор (ID) подпакета и последовательный номер (AI_SN) экземпляра ARQ, и циклический избыточный код (CRC) для обнаружения ошибок. Примером AI_SN является бит, который “перебрасывается” в другое состояние каждый раз, когда передается новый пакет на конкретном ARQ, иногда обозначаемый “цветовой бит”. Это может применяться для асинхронного ARQ, в котором нет установленной синхронизации между передачами подпакета в составе пакета. Цветовой бит может использоваться для предотвращения того, чтобы приемник объединял подпакет(ы) для одного пакета с подпакетом(ами) соседнего пакета в том же канале ARQ. R-RICH может также нести дополнительную информацию.
R-ESCH
Обратный расширенный дополнительный канал (R-ESCH) используется в качестве канала трафика данных обратной линии связи в описанных примерных вариантах осуществления. Любое количество скоростей передачи и форматов модуляции может использоваться для R-ESCH. В примерном варианте осуществления R-ESCH имеет нижеследующие характеристики: поддерживаются повторные передачи физического уровня. Для повторных передач, когда первым кодом является код “1/4 скорости передачи” (Rate 1/4), повторная передача использует код “1/4 скорости передачи” Rate 1/4, и используют объединение энергии. Для повторной передачи, когда первым кодом является скорость передачи, которая больше 1/4, то используется возрастающая избыточность. Основной код является кодом 1/5 скорости передачи. В качестве альтернативы, также может быть использована возрастающая избыточность для всех случаев.
Гибридное автоматическое повторение запроса (HARQ) поддерживается для автономных и для планируемых пользователей, оба из которых могут осуществлять доступ к каналу R-ESCH.
Множество синхронных операций ARQ-канала могут поддерживаться с помощью установленной синхронизации между повторными передачами: может допускаться установленное количество подпакетов между последовательными подпакетами того же пакета. Допускаются также перемеженные передачи. В качестве примера, для кадров длительностью 5 мс могут поддерживаться 4 канала ARQ с задержкой в 3 подпакета между подпакетами.
В Таблице 1 приведен перечень примерных скоростей данных для расширенного обратного дополнительного канала. Описан подпакет размером 5 мс, и сопроводительные каналы предназначены для удовлетворения этого выбора. Также могут быть выбраны другие размеры подпакета, как будет очевидно специалистам в данной области техники. Опорный уровень пилот-сигнала не установлен для этих каналов, то есть, базовая станция имеет гибкость в выборе T/P для определения заданной рабочей точки. Это максимальное значение T/P передается по прямому каналу разрешения передачи. Мобильная станция может использовать более низкое T/P, если она выходит за пределы мощности передачи, позволяя HARQ удовлетворять требуемому QoS. Сообщения сигнализации уровня 3 также могут быть переданы по R-ESCH, позволяя системе работать без каналов R-FCH и/или R-DCCH.
Таблица 1 Параметры обратного расширенного дополнительного канала |
| Количество битов на пакет кодера |
Количество временных интервалов 5 мс |
Скорость передачи данных (Кбит/сек) |
Скорость передачи данных/ 9,6 Кбит/сек |
Кодовая скорость |
Коэффициент повторения символа перед перемежением |
Модуляция |
Каналы Уолша |
Количество двоичных кодовых символов во всех подпакетах |
Эффективная кодовая скорость, включая повторение |
| 192 |
4 |
9,6 |
1,000 |
1/4 |
2 |
BPSK по I |
+ + – – |
6,144 |
1/32 |
| 192 |
3 |
12,8 |
1,333 |
1/4 |
2 |
BPSK по I |
+ + – – |
4,608 |
1/24 |
| 192 |
2 |
19,2 |
2,000 |
1/4 |
2 |
BPSK по I |
+ + – – |
3,072 |
1/16 |
| 192 |
1 |
38,4 |
4,000 |
1/4 |
2 |
BPSK по I |
+ + – – |
1,536 |
1/8 |
| 384 |
4 |
19,2 |
2,000 |
1/4 |
1 |
BPSK по I |
+ + – – |
6,144 |
1/16 |
| 384 |
3 |
25,6 |
2,667 |
1/4 |
1 |
BPSK по I |
+ + – – |
4,608 |
1/12 |
| 384 |
2 |
38,4 |
4,000 |
1/4 |
1 |
BPSK по I |
+ + – – |
3,072 |
1/8 |
| 384 |
1 |
76,8 |
8,000 |
1/4 |
1 |
BPSK по I |
+ + – – |
1,536 |
1/4 |
| 768 |
4 |
76,8 |
4,000 |
1/4 |
1 |
QPSK |
+ + – – |
12,288 |
1/16 |
| 768 |
3 |
102,4 |
5,333 |
1/4 |
1 |
QPSK |
+ + – – |
9,216 |
1/12 |
| 768 |
2 |
153,6 |
8,000 |
1/4 |
1 |
QPSK |
+ + – – |
6,144 |
1/8 |
| 768 |
1 |
307,2 |
16,000 |
1/4 |
1 |
QPSK |
+ + – – |
3,072 |
1/4 |
| 1,536 |
4 |
76,8 |
8,000 |
1/4 |
1 |
QPSK |
+ – |
24,576 |
1/16 |
| 1,536 |
3 |
102,4 |
10,667 |
1/4 |
1 |
QPSK |
+ – |
18,432 |
1/12 |
| 1,536 |
2 |
153,6 |
16,000 |
1/4 |
1 |
QPSK |
+ – |
12,288 |
1/8 |
| 1,536 |
1 |
307,2 |
32,000 |
1/4 |
1 |
QPSK |
+ – |
6,144 |
1/4 |
| 2,304 |
4 |
115,2 |
12,000 |
1/4 |
1 |
QPSK |
+ + – – / + – |
36,864 |
1/16 |
| 2,304 |
3 |
153,6 |
16,000 |
1/4 |
1 |
QPSK |
+ + – – / + – |
27,648 |
1/12 |
| 2,304 |
2 |
230,4 |
24,000 |
1/4 |
1 |
QPSK |
+ + – – / + – |
18,432 |
1/8 |
| 2,304 |
1 |
460,8 |
48,000 |
1/4 |
1 |
QPSK |
+ + – – / + – |
9,216 |
1/4 |
| 3,072 |
4 |
153,6 |
16,000 |
1/5 |
1 |
QPSK |
+ + – – / + – |
36,864 |
1/12 |
| 3,072 |
3 |
204,8 |
21,333 |
1/5 |
1 |
QPSK |
+ + – – / + – |
27,648 |
1/9 |
| 3,072 |
2 |
307,2 |
32,000 |
1/5 |
1 |
QPSK |
+ + – – / + – |
18,432 |
1/6 |
| 3,072 |
1 |
614,4 |
64,000 |
1/5 |
1 |
QPSK |
+ + – – / + – |
9,216 |
1/3 |
| 4,608 |
4 |
230,4 |
24,000 |
1/5 |
1 |
QPSK |
+ + – – / + – |
36,864 |
1/8 |
| 4,608 |
3 |
307,2 |
32,000 |
1/5 |
1 |
QPSK |
+ + – – / + – |
27,648 |
1/6 |
| 4,608 |
2 |
460,8 |
48,000 |
1/5 |
1 |
QPSK |
+ + – – / + – |
18,432 |
1/4 |
| 4,608 |
1 |
921,6 |
96,000 |
1/5 |
1 |
QPSK |
+ + – – / + – |
9,216 |
1/2 |
| 6,144 |
4 |
307,2 |
32,000 |
1/5 |
1 |
QPSK |
+ + – – / + – |
36,864 |
1/6 |
| 6,144 |
3 |
409,6 |
42,667 |
1/5 |
1 |
QPSK |
+ + – – / + – |
27,648 |
2/9 |
| 6,144 |
2 |
614,4 |
64,000 |
1/5 |
1 |
QPSK |
+ + – – / + – |
18,432 |
1/3 |
| 6,144 |
1 |
1228,8 |
128,000 |
1/5 |
1 |
QPSK |
+ + – – / + – |
9,216 |
2/3 |
В примерном варианте осуществления используется турбокодирование для всех скоростей. При кодировании R=1/4, используется перемежитель, подобно существующей обратной линии связи cdma2000. При кодировании R=1/5, используется перемежитель подобно прямому каналу пакетных данных системы cdma2000.
Количество битов на пакет кодера включает в себя биты CRC и 6 битов концевой комбинации. Для размера 192 бита для пакета кодера, 12 битов используются для CRC; как вариант, для CRC используется 16 битов. Полагается, что временные интервалы 5 мс отделены интервалами 15 мс для обеспечения времени для ответов ACK/NAK. Если ACK принят, оставшиеся временные интервалы пакета не передаются.
Длительность 5 мс для подпакета и связанные параметры, описанные выше, служат лишь в качестве примера. Любое количество комбинаций скоростей, форматов, вариантов повторения подпакета, длительности подпакета и т.д. будут очевидны для специалистов в данной области техники в свете идеи изобретения. Может быть применен альтернативный вариант осуществления с длительностью 10 мс, использующий 3 канала ARQ. В одном варианте осуществления выбирается одна длительность подпакета или размер кадра. Например, может выбираться структура либо 5 мс, либо 10 мс. В альтернативном варианте осуществления, система может поддерживать множество длительностей кадров.
F-CPCCH
Прямой общий канал управления мощностью (F-CPCCH) может использоваться для управления мощностью различными обратными каналами линии связи, включая R-ESCH, если F-FCH (прямой основной канал) и F-DCCH (прямой выделенный канал управления) не присутствуют, или если F-FCH и F-DCCH присутствуют, но не выделены пользователю. После выделения канала, мобильной станции назначается обратный канал управления мощностью линии связи. F-CPCCH может содержать ряд подканалов управления мощностью.
Канал F-CPCCH может передавать подканал управления мощностью, называемый общим подканалом контроля перегрузки (F-OLCH). Примерный подканал контроля перегрузки передается обычно на скорости 100 бит/с, хотя могут использоваться другие скорости передачи. Одиночный бит (который может быть повторен для надежности), обозначаемый при этом как бит занятости, указывает мобильным станциям, находящимся в режиме автономной передачи и/или в режиме общего разрешения передачи, повышать или уменьшить их скорость. В альтернативном варианте осуществления, индивидуальные режимы разрешения передачи могут быть также чувствительными к этому биту. Различные варианты осуществления могут использоваться с любой комбинацией типов передач, реагирующих на F-OLCH. Это может выполняться вероятностным или детерминированным способом.
В одном варианте осуществления установка в “0” бита занятости указывает, что мобильные станции, отвечающие на бит занятости, должны уменьшить свою скорость передачи. Установка бита занятости на “1” указывает соответствующее повышение скорости передач. Могут применяться различные другие схемы сигнализации, как будет очевидно специалистам в данной области техники, и различные альтернативные примеры подробно представлены ниже.
При распределении каналов, мобильной станции назначаются эти специальные каналы управления мощностью. Канал управления мощностью может управлять всеми мобильными устройствами в системе, или в качестве альтернативы, переменные поднаборы мобильных станций могут управляться одним или несколькими каналами управления мощностью. Использование данного конкретного канала для контроля перегрузки является всего лишь одним примером.
F-ACKCH
Прямой канал подтверждения приема F-ACKCH используется базовой станцией для подтверждения правильного приема канала R-ESCH, а также может использоваться для продления текущего разрешения передачи. Подтверждение приема (ACK) в канале F-ACKCH указывает на правильный прием подпакета. Дополнительная передача этого подпакета мобильной станцией не обязательна. Отрицательное подтверждение приема (NAK) в канале F-ACKCH позволяет мобильной станции передавать другой подпакет с ограничением согласно максимально допустимому количеству подпакетов на каждый пакет.
В описанных вариантах осуществления канал F-ACKCH используется для обеспечения положительного или отрицательного подтверждения приема принятого подпакета, а также для указания того, будут ли выдаваться команды управления скоростью передачи (описанные ниже для канала F-RCCH).
На Фиг.5 показан примерный вариант осуществления, иллюстрирующий трехзначный канал F-ACKCH. Этот канал F-ACKCH состоит из отдельного индикатора, передаваемого от одной или нескольких базовых станций на мобильную станцию, чтобы указывать, была ли корректно принята соответствующей базовой станцией передача по R-ESCH от мобильной станции. В примерном варианте осуществления, индикатор канала F-ACKCH передается каждой базовой станцией из активного набора. В качестве альтернативы, канал F-ACKCH может передаваться заданным поднабором из активного набора. Набор базовых станций, передающих канал F-ACKCH, может определяться как активный набор F-ACKCH. Активный набор F-ACKCH может сигнализироваться мобильной станции посредством уровня 3 (L3) сигнализации и может определяться при распределении каналов, в сообщении управления передачи обслуживания (HDM), или другими способами, известными в технике.
Например, F-ACKCH может быть каналом с 3-мя состояниями с нижеследующими значениями: NAK, ACK_RC, и ACK_STOP. NAK означает, что пакет от мобильной станции должен быть передаваться повторно (однако, если последний подпакет был уже послан, мобильной станции может потребоваться повторная посылка пакета с использованием любого доступного способа, такого как запрос/разрешение передачи, управление скоростью передачи, или автономная передача). Мобильной станции может потребоваться контролировать индикатор управления скоростью в соответствующем канале F-RCCH (подробно представлено ниже), если NAK соответствует подпакету последнего пакета.
ACK_RC означает, что не требуются повторные передачи пакета от мобильной станции, а мобильная станция должна контролировать индикатор управления скоростью в соответствующем канале F-RCCH. ACK_STOP также указывает, что не требуется повторная передача. Однако, в этом случае, мобильная станция должна возвратиться в автономный режим для следующей передачи, если только мобильная станция не принимает сообщения разрешения передачи по каналу F-GCH, как описано выше.
Передача сигналов уровня L3 может указывать, объединяет ли гибким образом мобильная станция индикаторы F-ACKCH от различных базовых станций из ее активного набора. Это может быть эквивалентным обработке битов управления мощностью в соответствии с IS-2000 версии С. Например, индикатор, например, ACK_COMB_IND может посылаться после выделения канала и в сообщениях передачи обслуживания, который указывает, должна ли мобильная станция объединять индикаторы F-ACKCH от различных базовых станций. Могут использоваться различные способы, чтобы осуществлять передачу F-ACKCH, примеры которых даны ниже. Некоторые примеры включают в себя отдельный канал TDM (мультиплексная передача с временным разделением), канал TDM/CDM (мультиплексная передача с кодовым разделением), или некоторый другой формат.
В этом примере имеются две группы результатов контроля каналов F-ACK, в зависимости от того, имеет ли пакет подтверждение, или не имеет. Если принято NAK, то доступен ряд опций. Мобильная станция может посылать дополнительные подпакеты, пока не будет послано максимальное количество подпакетов. (В примерном варианте осуществления подпакеты посылают, используя одинаковый формат передачи, для любой инициированной через автономную или разрешенную передачу, и являющейся или нет объектом модификации управления скоростью передачи. В альтернативном варианте осуществления, формат передачи подпакета может быть изменен с использованием любого из описанных способов). После приема NAK для заключительного подпакета, мобильная станция может либо предпринять действия относительно соответствующих команд управления скоростью передачи (для контроля F-RCCH), остановить передачу согласно предыдущему разрешению передачи или команде управления скоростью передачи (то есть, возвратиться к автономной передаче, при необходимости), или ответить на новое принятое разрешение передачи.
Если принято ACK, это может соответствовать команде управления скоростью передачи или указанию останова. Если указано управление скоростью передачи, то осуществляется проверка и отслеживание канала управления скоростью передачи (F-RCCH). Если результатом является останов, то мобильная станция не следует индикаторам управления скоростью передачи на F-RCCH и возвращается в автономный режим (осуществляя передачу вплоть до назначенной максимальной автономной скорости передачи). Если явное разрешение передачи принято в то же время, что и ACK_STOP, то мобильная станция следует команде, содержащейся в явном разрешении передачи.
Например, сначала рассмотрим одиночный элемент активного набора или случай, когда индикаторы от всех секторов являются одинаковыми (и обозначены таким образом посредством ACK_COMB_IND). В этом случае, имеется единственный результирующий индикатор. Если мобильная станция принимает NAK (индикатор не передан), то мобильная станция повторно передает следующий подпакет (в соответствующее время). Если мобильная станция не принимает ACK для последнего подпакета, то мобильная станция переходит к следующему пакету (ошибочный пакет может быть повторно передан согласно соответствующему исполняемому алгоритму повторной передачи). Однако мобильная станция воспринимает это в качестве указания управления скоростью передачи (то есть, осуществляет контроль канала управления скоростью передачи).
В этом примере общим правилом является нижеследующее (применимо и к одиночному элементу активного набора, и ко множеству отдельных элементов активного набора F-ACKCH). Если индикатором является ACK_STOP или ACK_RC, результатом является ACK. Если ни один из индикаторов не является ни ACK_STOP, ни ACK_RC, то результатом является NAK. Тогда, в отношении управления скоростью передачи, если какой-либо индикатор является ACK_STOP, то мобильная станция осуществит останов (то есть, возвратится в автономный режим, или ответит на разрешение передачи, если таковое имеется). Если никакой индикатор не является ACK_STOP, и по меньшей мере одним индикатором является ACK_RC, то декодируется индикатор в канале управления скоростью передачи (F-RCCH), который соответствует базовой станции. Если был передан последний подпакет, и все индикаторы являются NAK, то декодируется индикатор в каналах управления скоростью передачи (F-RCCH) для всех базовых станций. Ответ на команды управления скоростью передачи в этих сценариях подробно представлен ниже в отношении описания канала F-RCCH.
Команду ACK_RC, объединенную с каналом управления скоростью передачи, можно рассматривать как группу команд, обозначенных как команды ACK-and-Continue (подтверждение приема и продолжение). Мобильная станция может продолжать передавать последующие пакеты и действовать в соответствии с различными командами управления скоростью передачи, которые могут быть выданы (примеры, подробно представленные ниже). Команда ACK-and-Continue дает возможность базовой станции подтверждать успешный прием пакета и, в то же время, разрешать мобильной станции осуществлять передачу с использованием разрешения передачи, которое привело к успешно принятому пакету (с возможными изменениями в соответствии с командами управления скоростью передачи). Это сокращает непроизводительные издержки для нового разрешения передачи.
В варианте осуществления F-ACKCH, изображенного на Фиг.5, используются положительное значение для символа ACK_STOP, символа NULL для NAK и отрицательное значение для символа ACK_RC. Манипуляция (включено-выключено) (то есть, не передавая NAK) в канале F-ACKCH предоставляет базовым станциям (особенно не выполняющим планирование базовым станциям) опцию не передавать ACK, когда затраты на выполнение этого (требуемая мощность) слишком высоки. Это обеспечивает базовой станции компромисс между пропускной способностью прямой линии связи и обратной линии связи, поскольку корректно принятый пакет, который не подтвержден посредством ACK, вероятно запустит повторную передачу в более поздний момент времени.
В рамках объема настоящего изобретения может быть применен ряд способов для посылки F-ACKCH. Индивидуальные сигналы для каждой мобильной станции могут быть объединены в общем канале. Например, ответы подтверждения для множества мобильных станций могут мультиплексироваться во времени. В примерном варианте осуществления, до 96 идентификаторов мобильных устройств могут поддерживаться в одном канале F-ACKCH. Дополнительные каналы F-ACKCH могут использоваться для поддержки дополнительных идентификаторов мобильных устройств.
Другим примером является отображение множества сигналов подтверждения приема для множества мобильных станций на набор ортогональных функций. Кодер Адамара является примером кодера, предназначенного для отображения на набор ортогональных функций. Различные другие способы также могут использоваться. Например, может использоваться любой код Уолша или другие подобные коды с исправлением ошибок для кодирования информационных битов. Для различных пользователей передачи могут осуществляться на различных уровнях мощности, если независимо каждый подканал имеет независимое усиление канала. Примерный канал F-ACKCH передает один специализированный трехзначный флаг на каждого пользователя. Каждый пользователь контролирует канал F-ACKCH от всех базовых станций в своем активном наборе (или, в качестве альтернативы, сигнализация может задать сокращенный активный набор, чтобы уменьшить сложность).
В различных вариантах осуществления, каждый из двух каналов использует накрывающую последовательность Уолша из 128 элементарных сигналов. Один канал передается по каналу I (синфазный канал), а другой – по каналу Q (квадратурный канал). Другой вариант осуществления канала F-ACKCH использует отдельную накрывающую последовательность Уолша из 128 элементарных сигналов для поддержки до 192 мобильных станций одновременно. В примерном варианте осуществления используется трехзначный флаг длительностью 10 мс.
Если мобильная станция имеет пакет для передачи, который требует использования канала R-ESCH, она может послать запрос по каналу R-REQCH. Базовая станция может ответить разрешением передачи, используя канал F-GCH. Однако эта операция может быть относительно дорогостоящей. Чтобы уменьшить непроизводительные издержки прямой линии связи, канал F-ACKCH может послать флаг ACK_RC, который расширяет имеющееся разрешение передачи (предназначенное для управления скоростью передачи) при низких издержках посредством выполняющей планирование базовой станции (или другими, если поддерживаются разрешения передачи гибкой передачи обслуживания от множества базовых станций). Этот способ работает и для индивидуальных, и для общих разрешений передачи. ACK_RC используется от базовой станции, осуществляющей разрешения передачи (или базовых станций), и распространяет текущее разрешение передачи еще на один пакет кодера в том же канале ARQ (предназначенный для управления скоростью передачи).
Как показано на Фиг.4, не каждой базовой станции в активном наборе требуется осуществлять обратную передачу по каналу F-ACKCH. Набор базовых станций, передающих по каналу F-ACKCH в ходе гибкой передачи обслуживания, может быть поднабором активного набора. Способы передачи F-ACKCH раскрыты в совместно поданной патентной заявке США 10/611333 на “Команды мультиплексирования с кодовым разделением в мультиплексированном канале с кодовым разделением” от 30 июня 2003 г., переуступленной правопреемнику настоящего изобретения.
F-RCCH
Прямой канал управления скоростью передачи (F-RCCH) передается от одной или нескольких базовых станций на мобильную станцию, чтобы сигнализировать о настройке скорости для последующей передачи. Мобильная станция может назначаться для контроля индикатора от каждого элемента активного набора F-ACKCH или его поднабора. Для ясности, набор базовых станций, передающих канал F-RCCH, предназначенный для контроля мобильной станцией, будет обозначаться как активный набор F-RCCH. Активный набор F-RCCH может сигнализироваться посредством сигнализации уровня 3 (L3), что может быть задано при распределении каналов, в сообщении управления передачей обслуживания (HDM), или любым из различных других способов, известных специалистам в данной области техники.
На Фиг.6 изображен примерный канал F-RCCH. Канал F-RCCH является каналом с 3-мя состояниями с нижеследующими значениями: RATE_HOLD (поддержание скорости), указывающим, что мобильная станция может осуществлять передачу следующего пакета на скорости, которая не выше скорости передачи текущего пакета; RATE_INCREASE (повышение скорости), указывающим, что мобильная станция может детерминированным или вероятностным способом повысить максимальную скорость для передачи следующего пакета относительно скорости передачи текущего пакета; и RATE_DECREASE (уменьшение скорости передачи), указывающим, что мобильная станция может детерминированным или вероятностным способом уменьшить максимальную скорость передачи следующего пакета относительно скорости передачи текущего пакета.
Сигнализация L3 может указывать, должна ли мобильная станция объединять индикаторы управления скоростью от различных базовых станций. Это сходно с тем, что делается с битами управления мощностью в системе IS-2000 версии C. Таким образом, может иметься индикатор, например, RATE_COMB_IND (объединенный индикатор скорости), посылаемый после распределения каналов и в сообщениях передачи обслуживания, который укажет, должна ли мобильная станция гибким образом объединять биты канала F-RCCH от различных базовых станций. Специалистам в данной области техники должно быть понятно, что имеется множество форматов для передачи каналов, таких как F-RCCH, включая отдельные каналы TDM, объединенные каналы TDM/CDM, или другие форматы.
В различных вариантах осуществления возможны различные конфигурации управления скоростью передачи. Например, все мобильные станции могут управляться единственным индикатором на один сектор. В качестве альтернативы, каждая мобильная станция может управляться отдельным индикатором на один сектор, выделенным каждой мобильной станции. Или группы мобильных станций могут управляться своим собственным назначенным индикатором. Такая конфигурация дает возможность назначать одинаковый индикатор мобильным станциям с одинаковым максимальным уровнем качества QoS. Например, все мобильные станции, единственный поток которых указывается как “наилучший из возможного”, могут управляться в соответствии с одним назначенным индикатором, таким образом давая возможность сокращения загрузки для этих потоков наилучшего из возможного.
Кроме того, сигнализация может использоваться для задания конфигурации мобильной станции, чтобы мобильная станция принимала во внимание только индикатор F-RCCH от обслуживающей базовой станции или от всех базовых станций из активного набора F-RCCH. Если мобильная станция контролирует только индикатор от обслуживающей базовой станции, и RATE_COMB_IND указывает, что индикатор является одним и тем же от множества базовых станций, то мобильная станция может объединять все индикаторы в той же группе, что и обслуживающая базовая станция, перед принятием решения. Набор базовых станций с отличительными индикаторами управления скоростью передачи, используемыми в произвольное время, будет обозначен как текущий набор F-RCCH. Таким образом, если мобильной станции конфигурация задана так, чтобы мобильная станция принимала во внимание только индикатор F-RCCH от обслуживающей базовой станции, то размер текущего набора F-RCCH равен 1.
Предполагается, что правила использования F-RCCH могут настраиваться базовой станцией. Нижеследующее является примерным набором правил для мобильной станции с одноэлементным текущим набором F-RCCH. Если принято RATE_HOLD, то мобильная станция не изменяет свою скорость. Если принято RATE_INCREASE, мобильная станция увеличивает свою скорость на единицу (то есть, один уровень скорости, примеры которого подробно представлены выше в Таблице 1). Если принято RATE_DECREASE, мобильная станция уменьшает свою скорость на единицу. Мобильная станция контролирует эти индикаторы, только если предписывают обстоятельства (то есть, действие, как результат процесса ACK, подробно представленного ниже, указывающее, что управление скоростью передачи является активным).
Ниже приведен примерный набор правил для мобильной станции при наличии множества элементов текущего набора F-RCCH. Простое правило увеличения/уменьшения скорости на 1 уровень скорости модифицировано. Если принято ACK_STOP, мобильная станция возвращается к автономным скоростям. В противном случае, если какой-либо индикатор является RATE_DECREASE, то мобильная станция уменьшает свою скорость на единицу. Если отсутствует индикатор RATE_DECREASE, и, по меньшей мере, одна базовая станция предписывает действие управления скоростью передачи (как результат процесса ACK), которое указывает RATE_HOLD, то мобильная станция поддерживает ту же скорость. Если никакой индикатор не является RATE_DECREASE, никакая базовая станция не указывает управления скоростью передачи и RATE_HOLD, и, по меньшей мере, одна базовая станция предписывает действие управления скоростью передачи и указание RATE_INCREASE, тогда мобильная станция увеличивает свою скорость на единицу.
Примерные варианты осуществления объединенных разрешения передачи, ARQ и команды управления скоростью передачи
Подводя итоги некоторых представленных выше аспектов, мобильные станции могут быть авторизованы для выполнения автономных передач, которые, при возможных ограничениях в пропускной способности, допускают малую задержку. В таком случае, мобильная станция может осуществлять передачу без запроса вплоть до максимального отношения T/P для R-ESCH, T/PMax_auto, которое может быть установлено и настроено базовой станцией через сигнализацию.
Планирование может быть определено на одной или нескольких выполняющих планирование базовых станциях, и выделение ресурсов обратной линии связи может быть выполнено через разрешения передачи, передаваемые по каналу F-GCH на относительно высокой скорости передачи. Дополнительно, могут использоваться команды управления скоростью передачи, чтобы модифицировать предварительно разрешенные передачи или автономные передачи, с низкими непроизводительными издержками, таким образом подстраивая выделение ресурсов обратной линии связи. Планирование, таким образом, может быть применено для непосредственного управления нагрузкой обратной линии связи и, таким образом, защитить качество (передачи) речи (R-FCH), обратную связь DV (R-CQICH) и подтверждение приема DV (R-ACKCH).
Индивидуальное разрешение передачи допускает детализированное управление передачей мобильной станции. Мобильные станции могут выбираться на основе геометрии и QoS для максимального увеличения пропускной способности при поддержании требуемых уровней услуг. Общее разрешение передачи обеспечивает эффективное уведомление, особенно для мобильных станций с низкой геометрией.
Канал F-ACKCH в комбинации с каналом F-RCCH эффективно осуществляет команды “ACK-and-Continue”, которые расширяют имеющиеся разрешения передачи при низких издержках. (Продолжение может предусматривать управление по скорости передачи, как описано выше, и подробно представлено ниже). Это работает и с индивидуальными разрешениями передачи, и с общими разрешениями передачи. Различные варианты осуществления и способы планирования, разрешения передачи и выполнения передачи для совместно используемого ресурса, такого как обратная линии связи системы 1xEV-DV, раскрыты в совместно поданной патентной заявке США 10/646955 на “Планируемую и автономную передачу и подтверждение приема” от 21 августа 2003 г., переуступленной правопреемнику настоящего изобретения и включенной в настоящий документ путем ссылки.
На Фиг.7 изображен примерный способ 700, который одна или несколько базовых станций могут реализовывать для выделения ресурсов в ответ на запросы и передачи от одной или более мобильных станций. Порядок показанных этапов является всего лишь примером, и порядок различных этапов может быть взаимозаменяемым или объединенным с другими, не показанными, этапами без выхода за рамки объема настоящего изобретения. Процесс начинается на этапе 710. Базовая станция принимает запросы передачи, которые могут передаваться одной или более мобильными станциями. Поскольку способ 700 может повторяться неограниченно, могут иметься предшествующие запросы, также принятые, возможно еще не получившие разрешения, которые могут быть объединены с новыми запросами, чтобы оценить объем потребностей в передаче в соответствии с запросами.
На этапе 720 одна или более мобильных станций могут осуществлять передачу подпакетов, принятых базовой станцией. Эти передаваемые подпакеты могут передаваться в соответствии с предыдущими разрешениями передачи (возможно, модифицированными с помощью предыдущих команд управления скоростью передачи) или автономно (также, возможно, модифицированными предыдущими командами управления скоростью передачи). Количество автономных передач, количество зарегистрированных мобильных станций и/или другие факторы могут использоваться для оценки объема потребностей в автономной передаче.
На этапе 730 базовая станция декодирует принятые подпакеты, факультативно объединяя гибким образом с соответственными предварительно принятыми подпакетами, чтобы определить, были ли пакеты приняты без ошибки. Эти решения будут использованы для посылки положительного или отрицательного подтверждения приема на соответствующие передающие мобильные станции. Для пакетной передачи по каналу R-ESCH может использоваться HARQ. То есть, пакет может передаваться вплоть до некоторого количества раз, пока он не будет принят корректно, по меньшей мере, одной базовой станцией. На каждой границе кадра, каждая базовая станция декодирует кадр R-RICH и определяет формат передачи по R-ESCH. Базовая станция также может выполнять такое определение, используя текущий кадр R-RICH и предыдущие кадры R-RICH. В качестве альтернативы, базовая станция также может выполнять определение, используя другую информацию, извлеченную из обратного вторичного пилот-канала (R-SPICH) и/или R-ESCH. С помощью определенного формата передачи базовая станция пытается декодировать пакет для R-ESCH, используя предварительно принятые подпакеты надлежащим образом.
На этапе 740 базовая станция выполняет планирование. Может быть применена любая методика планирования. Базовая станция может задавать критерии требования на передачу в соответствии с запросами, предполагаемыми автономными передачами, оценками текущих условий канала и/или различными другими параметрами для выполнения планирования для выделения совместно используемого ресурса (ресурса обратной линии связи в данном примере). Планирование может принимать различные формы для различных мобильных станций. Примеры включают в себя реализацию разрешения передачи (выделение в соответствии с запросом, повышение предыдущего разрешения передачи или снижение предыдущего разрешения передачи), формирование команды управления скоростью передачи, чтобы повышать, уменьшать, или удерживать предварительно разрешенную скорость передачи или автономную передачу, или игнорировать запрос (переводя мобильную станцию к автономной передаче).
На этапе 750 базовая станция обрабатывает принятые передачи для каждой мобильной станции. Это может включать в себя, среди других функций, подтверждение принятых подпакетов и условное формирование разрешений передачи в ответ на запросы передачи. На Фиг.8 изображен примерный способ 750 формирования разрешений передачи, подтверждений приема и команд управления скоростью передачи. Это может использоваться в примерном способе 700, изображенном на Фиг.7, и может быть адаптировано для использования с другими способами, как будет очевидно специалистам в данной области техники. Способ 750 может быть повторен для каждой активной мобильной станции путем прохождения каждый раз процедуры 700, как описано выше.
На этапе 805 принятия решения, если подпакет для текущей обрабатываемой мобильной станции не был принят, переходят на этап 810. Нет необходимости в подтверждении, и никакая команда управления скоростью передачи не подлежит выдаче. Ни F-ACKCH, ни F-RCCH не должны передаваться, и оба символа могут быть обозначены DTX (не переданы). На этапе принятия решения 815, если запрос был принят, то переходят на этап принятия решения 820. В противном случае процесс может остановиться.
На этапе 820 принятия решения, если разрешение передачи было определено для этой мобильной станции в течение планирования, переходят на этап 825, чтобы передать разрешение передачи по соответствующему каналу F-GCH. Затем процесс может остановиться. Мобильная станция может осуществлять передачу в соответствии с этим разрешением передачи в течение следующего подходящего кадра (примеры синхронизации подробно представлены ниже со ссылкой на фиг.10-12).
Согласно этапу 805 принятия решения, если был принят подпакет от мобильной станции, переходят на этап 830 принятия решения. (Возможно, что будут приниматься подпакет и запрос, и в этом случае обе ветви этапа 805 принятия решения могут выполняться для мобильной станции, что не показано для ясности обсуждения).
На этапе 830 принятия решения, если принятый подпакет был декодирован корректно, формируется ACK и осуществляется переход на этап 835 принятия решения. Если требуется управление скоростью (включая удержание скорости, то есть, “Продолжение”), переходят на этап 845. Если не требуется управление скоростью передачи, переходят на этап 840. На этапе 840 ACK_STOP передается по каналу F-ACKCH. Передача F-RCCH не требуется, то есть, может быть сформировано DTX. Если в это время разрешение передачи не формируется, то мобильная станция будет переведена на автономную передачу (или должен выполняться останов, если автономная передача не доступна, или не применяется). В качестве альтернативы, может быть выдано новое разрешение передачи, которое отменит команду останова. Осуществляется переход на этап 820 принятия решения для обработки этого решения, как описано выше.
На этапе 845 было указано управление скоростью передачи. Как таковое, ACK_RC будет передаваться по каналу F-ACKCH. Осуществляется переход на этап принятия решения 850. Если требуется повышение, то передается RATE_INCREASE по каналу F-RCCH. Затем процесс может остановиться. Если повышение не требуется, то происходит переход на этап 860 принятия решения. На этапе 860 принятия решения, если требуется уменьшение, передается RATE_DECREASE по каналу F-RCCH. Затем процесс может остановиться. В противном случае, передается RATE_DECREASE по каналу F-RCCH. В этом примере удержание обозначено как DTX. Затем процесс может остановиться.
Согласно этапу 830 принятия решения, если принятый подпакет не был декодирован корректно, формируется NAK. Осуществляется переход на этап 875 для передачи NAK по каналу F-ACKCH. В этом примере NAK обозначено как DTX. Осуществляется переход на этап принятия решения 880, чтобы определить, был ли принятый подпакет последним подпакетом (то есть, было достигнуто максимальное количество повторных передач подпакета). Если не было, то в этом примере мобильная станция может повторно осуществлять передачу в соответствии с форматом предыдущей передачи. DTX может быть передан по каналу F-RCCH, как указано на этапе 895. (Альтернативные варианты осуществления могут выполнять чередующуюся сигнализацию в этом случае, примеры которой описаны ниже). Затем процесс может остановиться.
Если принятый и подтвержденный посредством NAK подпакет является последним подпакетом, то осуществляется переход от этапа 880 принятия решения на этап 885 принятия решения, чтобы определить, требуется ли управление скоростью передачи (включая удержание). Это является примером способа расширения предыдущего разрешения передачи или автономной передачи (включая предыдущее управление скоростью передачи, если таковое было) при малых непроизводительных издержках. Если не требуется управление скоростью передачи, то формируется DTX для канала F-RCCH. В этом примере, мобильная станция будет передавать следующий подпакет. Подобно этапу 835 принятия решения, если новое разрешение передачи не формируется для мобильной станции, то мобильная станция будет переведена на автономную передачу (если доступна). В качестве альтернативы, может быть сформировано новое разрешение передачи, которое будет предписывать доступную передачу для мобильной станции. Осуществляется переход на этап 820 принятия решения для выполнения этого определения, как описано выше.
На этапе 885 принятия решения, если требуется управление скоростью передачи, переходят на этап 850 принятия решения. Повышение, уменьшение или удержание могут быть сформированы для передачи по каналу F-RCCH, как описано выше. Затем процесс может остановиться.
Таким образом, если пакет принят корректно, базовая станция может послать положительное подтверждение приема и условно может послать на мобильную станцию сообщение управления скоростью передачи.
Базовая станция может послать ACK_STOP (по каналу F-ACKCH), чтобы сигнализировать, что пакет был доставлен, и мобильная станция возвращается в автономный режим для следующей передачи. Базовая станция может также послать новое разрешение передачи, если требуется. Мобильная станция может осуществлять передачу вплоть до допустимой скорости для следующей передачи. В любом случае, канал F-RCCH обозначается как DTX. В одном варианте осуществления, только обслуживающая (или разрешающая передачи) базовая станция может формировать разрешения передачи. В альтернативном варианте осуществления, одна или несколько базовых станций могут формировать разрешения передачи (подробности обработки этой возможности подробно представлены ниже).
Базовая станция может послать ACK_RC (по каналу F-ACKCH) и RATE_HOLD (по каналу F-RCCH), чтобы сигнализировать, что пакет был доставлен и что максимальная скорость передачи, на которой мобильная станция может осуществлять передачу следующего пакета, является такой же, как скорость передачи для текущего пакета.
Базовая станция может послать ACK_RC (по каналу F-ACKCH) и RATE_INCREASE (по каналу F-RCCH), чтобы сигнализировать, что пакет был доставлен, и что мобильная станция может повысить максимальную скорость для передачи следующего пакета относительно скорости передачи для текущего пакета. Мобильная станция может повышать скорость, следуя некоторым правилам, известным и базовой станции, и мобильной станции. Повышение может быть либо детерминированным, либо вероятностным. Специалистам в данной области техники будут очевидны многочисленные правила для повышения скорости.
Базовая станция может послать ACK_RC (по каналу F-ACKCH) и RATE_DECREASE (по каналу F-RCCH), чтобы сигнализировать, что пакет был доставлен и что мобильная станция должна уменьшить максимальную скорость для передачи следующего пакета относительно скорости передачи для текущего пакета. Мобильная станция может уменьшать скорость, следуя некоторым правилам, известным и базовой станции, и мобильной станции. Уменьшение может быть либо детерминированным, либо вероятностным. Специалистам в данной области техники будут очевидны многочисленные правила для уменьшения скорости.
Если пакет не принят успешно базовой станцией, и пакет может быть повторно передан (то есть, не является последним подпакетом), базовая станция посылает NAK по каналу F-ACKCH. Отметим, что канал F-RCCH указывается как DTX в этом примере.
Если для пакета дальнейшая повторная передача не допускается (то есть, последний подпакет), нижеследующее представляет возможные действия, которые может осуществлять базовая станция. Базовая станция может посылать NAK (по каналу F-ACKCH) и сообщение разрешения передачи одновременно по каналу F-GCH, чтобы сигнализировать мобильной станции, что пакет не был доставлен, и что мобильная станция может осуществлять передачу вплоть до допустимой скорости для следующей передачи. Канал F-RCCH обозначается посредством DTX в этом случае. В одном варианте осуществления, только обслуживающая (или разрешающая передачи) базовая станция может формировать разрешения передачи. В альтернативном варианте осуществления одна или несколько базовых станций могут формировать разрешения передачи (подробности для обработки этой возможности подробно представлены ниже).
Базовая станция может также послать NAK (по каналу F-ACKCH) и RATE_HOLD (по каналу F-RCCH), чтобы сигнализировать, что пакет не был доставлен и что максимальная скорость передачи, на которой мобильная станция может осуществлять передачу следующего пакета, является такой же, как скорость передачи для текущего пакета.
Базовая станция может также послать NAK (по каналу F-ACKCH) и RATE_INCREASE (по каналу F-RCCH), чтобы сигнализировать, что пакет не был доставлен и что мобильная станция может повысить максимальную скорость для передачи следующего пакета относительно скорости передачи для текущего пакета. Мобильная станция может повышать скорость, следуя некоторым правилам, известным и базовой станции, и мобильной станции. Повышение может быть либо детерминированным, либо вероятностным.
Базовая станция может также послать NAK (по каналу F-ACKCH) и RATE_DECREASE (по каналу F-RCCH), чтобы сигнализировать, что пакет не был доставлен и что мобильная станция должна уменьшить максимальную скорость для передачи следующего пакета относительно скорости передачи для текущего пакета. Мобильная станция может уменьшать скорость, следуя некоторым правилам, известным и базовой станции, и мобильной станции. Уменьшение может быть либо детерминированным, либо вероятностным.
В альтернативном варианте осуществления (подробности не показаны на Фиг.8) может быть создана альтернатива для NAK и останова. Например, в вышеупомянутом сценарии, DTX в канале F-RCCH, соответствующее NAK, не может быть отличительным от “NAK-and-hold”. Если требуется иметь команду, чтобы вызвать останов (или возврат к автономной передаче), базовая станция может также использовать NAK и управление скоростью передачи, перед последним подпакетом, чтобы указать, что удержание скорости (или повышение, или уменьшение) на последнем подпакете должно означать останов. Например, любая из команд управления скоростью передачи (то есть, RATE_INCREASE, RATE_DECREASE, или RATE_HOLD) может быть выделена, чтобы означать останов в этом особом случае. Мобильная станция будет знать, когда последний подпакет был передан, и затем может соответственно анализировать команды управления скоростью передачи. Если базовая станция знает, что, если за передачей заключительного подпакета должен следовать останов в случае NAK, выбранная команда управления скоростью передачи может быть выдана вместе с NAK предыдущего подпакета. Мобильная станция, принимающая идентифицированную команду управления скоростью передачи вместе с NAK подпакета (не заключительного), будет знать, что NAK (и RATE_HOLD, например) на заключительном подпакете будет означать, что любое предыдущее разрешение передачи будет отменено, и мобильная станция должна возвратиться к автономной передаче. Команды управления скоростью передачи, не используемые для этой цели (то есть, RATE_INCREASE или RATE_DECREASE), переданные с заключительным подпакетом NAK, будут все еще доступны. Альтернативным вариантом было бы передавать разрешение передачи с нулевой (или пониженной) скоростью передачи вместе с заключительным NAK, хотя это потребует дополнительных служебных сигналов. Специалисты в данной области техники легко смогут принять компромиссное решение в соответствии с вероятностью “NAK-and-Stop” с другими возможностями. Требуемые непроизводительные издержки могут затем оптимизироваться на основании вероятностей различных событий.
На Фиг.9 изображен примерный способ 900 для мобильной станции, чтобы контролировать и отвечать на разрешения передачи, подтверждения приема и команды управления скоростью передачи. Этот способ является подходящим для применения в одной или более мобильных станций для использования вместе с одной или несколькими базовыми станциями, использующими способ 700, как описано выше, а также другие варианты осуществления базовой станции.
Процесс начинается на этапе 910. Мобильная станция осуществляет контроль каналов F-GCH, F-ACKCH и F-RCCH. В различных вариантах осуществления, как описано выше, мобильная станция может контролировать один или более из этих каналов. Например, может иметься множество каналов разрешения передачи, и каждая мобильная станция может контролировать один или более из них. Каждый из этих каналов может быть принят от одной базовой станции, или нескольких, когда мобильная станция находится в режиме гибкой передачи обслуживания. Канал может включать в состав сообщения, или команды, адресованные (направленные) на многие мобильные станции, и поэтому мобильная станция может извлекать сообщения или команды, адресованные конкретно ей.
Другие правила могут использоваться, чтобы дать возможность мобильной станции условно контролировать один или более каналов управления. Например, как описано выше, канал F-RCCH может не передаваться при выдаче ACK_STOP. Таким образом, в таком случае, мобильной станции не требуется контролировать канал F-RCCH, если принято ACK_STOP. Может быть задано правило, что мобильная станция осуществит поиск сообщений разрешения передачи и/или команд управления скоростью передачи, только если мобильная станция послала запрос, для которого эти сообщения могут быть ответными.
В нижеследующем описании Фиг.9 предполагается, что мобильная станция предварительно передала подпакет, для которого ожидается ответ подтверждения (включая потенциальные разрешения передачи или команды управления скоростью передачи). Если запрос предварительно не был разрешен, мобильная станция может тем не менее контролировать наличие разрешения передачи в ответ на предварительно переданный запрос. Специалисты в данной области техники смогут легко адаптировать способ 900 с учетом этой ситуации. Эти и другие потенциальные этапы обработки для мобильной станции опущены для ясности обсуждения.
Обработка канала F-ACKCH начинается на этапе 915 принятия решения. Мобильная станция извлекает информацию относительно всех каналов F-ACKCH, которые она контролирует. Напомним, что канал F-ACKCH может иметься между мобильной станцией и каждым элементом из ее активного набора F-ACKCH. Некоторые из команд F-ACKCH могут быть объединенными гибким образом, как определено посредством сигнализации L3. Если мобильная станция принимает, по меньшей мере, одно положительное подтверждение приема, либо ACK_RC, либо ACK_STOP (по каналу F-ACKCH), то текущий пакет был принят корректно, и дополнительные подпакеты не требуют передачи. Допустимая скорость для передачи следующего пакета, если таковой имеется, должна быть определена.
На этапе 915 принятия решения, если был принят ACK_STOP, мобильная станция знает, что предварительно переданный подпакет был принят корректно, и что команды управления скоростью передачи не требуется декодировать.
На этапе 920 принятия решения мобильная станция определяет, было ли принято по каналу F-GCH разрешение передачи. Если это так, мобильная станция передает следующий пакет в соответствии с разрешением передачи, как указано для этапа 930. В одном варианте осуществления только одна базовая станция, осуществляющая разрешения передачи, реализует разрешения передачи. Если от базовой станции приняты ACK_STOP и сообщение разрешения передачи, то мобильная станция передает новый пакет по тому же каналу ARQ, на произвольной скорости, равной или ниже допустимой скорости передачи.
В альтернативном варианте осуществления, несколько базовых станций могут посылать разрешение передачи. Если базовые станции координируют разрешение передачи и посылают идентичное сообщение, мобильная станция может гибко объединять эти разрешения передачи. Могут быть применены различные правила для обработки случаев, когда принимаются различающиеся разрешения передачи. Один пример состоит в том, что мобильная станция должна осуществлять передачу на самой низкой скорости, указанной в принятом разрешении передачи, чтобы избегать чрезмерного взаимного влияния в сотовой ячейке, соответствующей базовой станции, разрешающей передачи (включая ACK_STOP без соответствующего разрешения передачи для указания, что передача должна возвратиться в автономный режим). Различные другие альтернативы будут очевидны специалистам в данной области техники. Если разрешение передачи не было принято на этапе 920 принятия решения, мобильная станция должна возвратиться к автономной скорости передачи, как показано на этапе 925. Затем процесс может остановиться.
Согласно этапу 915 принятия решения, если не принято ACK_STOP, то осуществляется переход на этап 940 принятия решения. Если принято ACK_RC, то мобильная станция осуществляет контроль соответствующего канала F-RCCH для базовых станций, от которых принято положительное подтверждение(я) приема, если таковое имеется. Может не иметься канала F-RCCH между базовой станцией и мобильной станцией, поскольку активный набор F-RCCH является поднабором активного набора F-ACKCH. Если мобильная станция принимает F-ACKCH от множества базовых станций, соответствующие сообщения могут находиться в конфликте. Например, могут быть приняты одна или более команд ACK_STOP, могут быть приняты одна или более команд ACK_RC, могут быть приняты одно или более разрешений передачи, или любая их комбинация. Специалистам в данной области техники будут очевидны различные правила для практической реализации, с учетом любой из возможностей. Например, мобильная станция может определять самое низкое возможное разрешение передачи (которое может быть получено либо из ACK_STOP без разрешения передачи, ACK_RC с уменьшением, или разрешение передачи с более низким значением) и соответственно осуществлять передачу. Это является сходным со способом, известным как правило “OR-of-Downs” (или из понижений). Такой способ может использоваться, чтобы надежным образом избегать чрезмерных взаимных помех соседних сотовых ячеек. Или одна или более базовых станций могут иметь назначенный им приоритет, так что одна или более базовых станций могут иметь возможность превосходить другие (со связанными условиями, возможно). Например, выполняющая планирование (или разрешение передачи) базовая станция может иметь некоторый приоритет над другими базовыми станциями в гибкой передаче обслуживания. Также предполагаются другие правила. (Одно или более NAK также могут приниматься, но мобильной станции не требуется повторно осуществлять передачу. Однако мобильная станция может включать в состав команды управления скоростью передачи или разрешения передачи, подобным образом, от базовой станции, выдающей NAK, если требуется). При этом, когда говорят, что мобильная станция определяет, принято ли ACK_STOP, ACK_RC, NAK, или разрешение передачи, это может быть результатом применения к множеству принятых команд требуемого набора правил, и результатом является идентифицированная команда.
Если было принято ACK_RC, то осуществляется переход на этап 945 принятия решения, чтобы начать определение, какому типу команды управления скоростью передачи нужно следовать. Если указано повышение, переходят на этап 950. Следующая передача может передаваться на том же канале ARQ на повышенной скорости относительно текущей скорости передачи. Затем процесс может остановиться. Вновь, повышение может быть детерминированным или вероятностным. Также, RATE_INCREASE может не обязательно приводить к немедленному повышению скорости передачи, но повысит скорость передачи от мобильной станции в будущем (то есть, на мобильной станции используется кредитоподобный алгоритм), или RATE_INCREASE может приводить к повышению, охватывающему множество скоростей. В примерном алгоритме, использующем кредиты, мобильная станция поддерживает внутренний параметр “баланс/кредит”. Всякий раз, когда она принимает RATE_INCREASE, но не может повысить свою скорость (потому что она выходит за пределы либо мощности, либо данных), мобильная станция увеличивает параметр. Когда мощность или данные становятся доступными для мобильной станции, она может использовать сохраненный “кредит/баланс” в выборе скоростей передачи данных. Различные способы повышения скорости будут очевидны специалистам в данной области техники.
Если повышение не указано на этапе 945 принятия решения, переходят на этап 955 принятия решения, чтобы определить, указано ли уменьшение. Если уменьшение указано, переходят на этап 960. Следующая передача может быть передана на том же канале ARQ на пониженной скорости передачи относительно текущей скорости передачи. Затем процесс может остановиться. Вновь, уменьшение может быть детерминированным или вероятностным. Также, RATE_DECREASE может не обязательно приводить к немедленному уменьшению скорости, но скорость передачи от мобильной станции будет уменьшена в будущем (то есть, на мобильной станции используется кредитоподобный алгоритм), или RATE_DECREASE может приводить к уменьшению, охватывающему множество скоростей передачи. Если примерный алгоритм, применяющий кредиты, используется в контексте RATE_DECREASE, когда мобильная станция получает RATE_DECREASE, но не следует ему по некоторым причинам (например, срочные данные, которые должны быть выданы), она получает отрицательный кредит, и этот отрицательный кредит должен быть возвращен, в некотором смысле, позднее. Различные способы уменьшения скорости будут очевидны специалистам в данной области техники.
Если ни повышение, ни уменьшение не указаны, то принято RATE_HOLD. Мобильная станция может осуществлять передачу следующего пакета на максимальной скорости, равной скорости передачи текущего пакета, как указано на этапе 965. Затем процесс может остановиться.
Согласно этапу 940 принятия решения, если никакой тип ACK не был идентифицирован, то определяется, что был принят NAK. На этапе 970 принятия решения, если повторная передача все еще возможна для пакета (то есть, текущий подпакет не был последним подпакетом), мобильная станция повторно передает подпакет на том же канале ARQ с увеличенным (на 1) идентификатором подпакета ID, как изображено на этапе 980.
На этапе принятия решения 970, если текущий пакет был последним подпакетом, мобильная станция исчерпала повторные передачи для пакета. Осуществляется переход на этап 975 принятия решения, чтобы определить, было ли принято разрешение передачи (способом, подобным описанному выше для блока 920). Если сообщение разрешения передачи предназначается для мобильной станции (либо от единственной базовой станции, либо от нескольких, как описано выше), мобильная станция может осуществлять передачу нового пакета на том же канале ARQ на скорости, равной или ниже допустимой скорости передачи. Затем осуществляется переход на этап 930, описанный выше.
На этапе 975 принятия решения, если разрешение передачи не было принято, мобильная станция может контролировать активный набор F-RCCH, получать команды управления скоростью передачи и принимать решение о максимальной скорости, допустимой для передачи следующего пакета на том же канале ARQ. Выбор скоростей передачи, когда приняты несколько команд управления скоростью, может быть осуществлен, как описано выше. Осуществляется переход на этап принятия решения 945, и обработка продолжается, как описано выше.
Различные другие способы могут использоваться примерным вариантом осуществления мобильной станции. Мобильная станция может контролировать некоторое количество стираний пакета (то есть, нет положительного подтверждения приема после последнего подпакета). Может быть выполнено измерение, посредством подсчета количества последовательных стираний пакета или подсчета количества стертых пакетов в пределах (временного) окна (то есть, скользящего окна). Если мобильная станция распознает слишком много стертых пакетов, она может уменьшить свою скорость передачи, даже если команды управления скоростью передачи указывают другую команду (то есть, RATE_HOLD или RATE_INCREASE).
В одном варианте осуществления, сообщение разрешения передачи может иметь более высокий приоритет, чем бит управления скоростью передачи. В качестве альтернативы, сообщение разрешения передачи может быть обработано с тем же приоритетом, что и бит управления скоростью передачи. В таком случае, определение скорости передачи может быть модифицировано. Например, если никакое сообщение разрешения передачи не предназначено для мобильной станции, скорость для следующей передачи определяется, исходя из всех команд управления скоростью передачи (RATE_INCREASE, RATE_HOLD, RATE_DECREASE и ACK_STOP) с использованием “OR-of-DOWN” или подобного правила. Если разрешение передачи также принято, скорость для следующей передачи может определяться, исходя из всех команд управления скоростью передачи (RATE_INCREASE, RATE_HOLD, RATE_DECREASE и ACK_STOP) с использованием “OR-of-DOWN или подобного правила, результат которого сравнивается с допустимой скоростью передачи и с выбранной наименьшей скоростью передачи.
Сигнализация может быть применена, чтобы задать конфигурацию мобильной станции так, чтобы мобильная станция контролировала только индикатор F-RCCH или от обслуживающей базовой станции, или от всех базовых станций из активного набора F-RCCH. Например, если RATE_COMB_IND может определять, что команда управления скоростью передачи является одинаковой от множества базовых станций, то мобильная станция может объединить все индикаторы в идентифицированной группе перед принятием решения. Количество отдельных индикаторов для использования в произвольное время может быть указано в качестве текущего набора F-RCCH. В одном примере, мобильная станция может быть настроена с возможностью контроля только индикатора F-RCCH от обслуживающей базовой станции, в этом случае размер текущего набора F-RCCH равен 1.
Кроме того, как описано выше, различные правила могут быть применены для настройки скоростей передачи в ответ на команды по F-RCCH. Любое из этих правил может быть настроено посредством сигнализации от базовой станции. В одном примере может иметься набор вероятностей и размеров шагов, используемых в ходе определения, независимо от того, увеличивает ли мобильная станция или уменьшает свою скорость, и насколько. Эти вероятности и возможные размеры шагов скорости передачи могут обновляться посредством сигнализации, по мере необходимости.
Способ 900 может быть адаптирован для включения в себя различных альтернатив, описанных для базовой станции, использующей описанный выше способ 750. Например, в одном варианте осуществления, NAK и команда останова не задаются в явном виде, поскольку DTX по F-RCCH вместе с NAK указывает удержание скорости. В альтернативном варианте осуществления могут быть использованы NAK и функциональность останова в ответ на любой из возможных методов, описанных выше для способа 750. Так же, как отмечено выше по отношению к способу 750, в примерном варианте осуществления, изменение скорости передачи на основе управления скоростью или на основе разрешения передач выполняется на границах пакета. Предполагается, что описанные способы могут быть модифицированы для включения также изменений скорости передачи внутри подпакета.
Специалистам в данной области техники должно быть понятно в свете описанных решений, что любые описанные процедуры и признаки могут комбинироваться различными способами. Например, мобильная станция может управляться только ведущей базовой станцией посредством разрешений передачи, но не будет управляться другими базовыми станциями посредством битов управления скоростью передачи. В качестве альтернативы, мобильная станция может управляться посредством разрешений передачи от всех базовых станций, или поднабора базовых станций из ее активного набора. Некоторые F-GCH могут объединяться гибким образом. Режим, в котором действует мобильная станция, может быть установлен посредством сигнализации L3 при назначении канала или посредством других сообщений при вызове для передачи пакетных данных.
В качестве другого примера, если пакет принят корректно, ведущая базовая станция может посылать ACK_STOP, или ACK_RC. Команды управления скоростью передачи могут не использоваться, таким образом, ACK_RC может использоваться, чтобы означать “ACK и продолжение” для этого режима. В этом контексте “ACK и продолжение” указывает, что мобильная станция может осуществлять передачу нового пакета на той же скорости, что и подтверждаемый пакет. Как прежде, если посылается ACK_STOP, базовая станция также может посылать замещающее разрешение передачи по F-GCH, намеченном на MS. В этом примере, NAK будет означать “NAK и останов”, если соответствующее разрешение передачи не передается вместе с NAK. В этом сценарии не-ведущие базовые станции также посылают ACK_STOP или ACK_RC, в которых ACK_RC не сопровождается командой управления скоростью передачи и означает “ACK и продолжение”.
В другом примерном специальном режиме, реализующем поднабор описанных признаков, мобильная станция может управляться посредством битов управления скоростью передачи (от базовых станций из ее активного набора F-RCCH). Этот режим может быть установлен посредством сигнализации L3 при выделении канала или других сообщений в течение вызова пакетных данных. В этом режиме базовая станция посылает NAK, если пакет не принят успешно. Если пакет принят корректно, базовая станция посылает ACK_STOP или ACK_RC вместе с F-RCCH (RATE_HOLD, RATE_INCREASE или RATE_DECREASE). NAK после последнего подпакета может сопровождаться каналом F-RCCH (RATE_HOLD, RATE_INCREASE или RATE_DECREASE).
На Фиг.10-12 показаны примеры синхронизации различных описанных каналов. Примеры не представляют какого-либо конкретного выбора длительности кадра, но иллюстрируют относительную синхронизацию индикаторов разрешения передачи, ACK и управления скоростью передачи (RC). Индикатор ACK, индикатор RC и разрешение передачи могут возникать на одном и том же интервале времени, так что мобильная станция принимает ACK, RC и информацию разрешения передачи приблизительно в одно время для применения к передаче следующего пакета. В этих примерах мобильная станция не требует контроля индикаторов RC, за исключением того, когда она принимает подтверждение приема или когда все подпакеты переданы (как описано в примерных вариантах осуществления выше). Мобильная станция контролирует назначенный для нее бит ACK и индикатора RC, соответствующий конкретной последовательности ARQ. Например, если имеются четыре последовательности ARQ, и мобильная станция осуществляет передачу на всех последовательностях ARQ, то мобильная станция контролирует индикатор ACK для каждого кадра и индикатор RC (если применим) для каждого кадра. Пустые кадры между различными передачами введены, чтобы предоставить время базовой станции или мобильной станции, если применимо, для приема и декодирования запросов, передач подпакетов, разрешений передачи, подтверждений приема и команд управления скоростью передачи.
Эти схемы синхронизации не являются исчерпывающими, а используются только для иллюстрации различных, описанных выше аспектов. Специалистам в данной области техники должны быть очевидны многочисленные комбинации последовательностей.
На Фиг.10 изображена временная диаграмма для примерного варианта осуществления с объединенными каналами подтверждения приема и управления скоростью передачи. Мобильная станция передает запрос на передачу по каналу R-REQCH. Базовая станция затем передает разрешение на передачу по каналу F-GCH в ответ на запрос. Мобильная станция затем передает первый подпакет, используя параметры в соответствии с разрешением передачи. Подпакет не декодируется корректным образом на базовой станции, как указано посредством зачеркнутой передачи подпакета. Базовая станция посылает ACK/NAK по каналу F-ACKCH вместе с командой управления скоростью передачи по каналу F-RCCH. В этом примере передается NAK, а канал F-RCCH представлен посредством DTX. Мобильная станция принимает NAK и в ответ повторно передает второй подпакет. На этот раз базовая станция корректно декодирует второй подпакет и вновь посылает ACK/NAK по каналу F-ACKCH вместе с командой управления скоростью передачи по каналу F-RCCH. В этом примере не передается какое-либо дополнительное разрешение передачи. Передается ACK_RC, и выдается команда управления скоростью передачи (она может указывать повышение, уменьшение или удержание, как определено в соответствии с требуемым планированием). Мобильная станция затем передает первый подпакет следующего пакета, используя параметры, связанные с разрешением передачи, модифицированным, если необходимо, посредством команды управления скоростью передачи по каналу F-RCCH.
На Фиг.11 изображена временная диаграмма для примерного варианта осуществления с объединенными каналами подтверждения приема и управления скоростью передачи вместе с новым разрешением передачи. Запрос, разрешение передачи, передача подпакета (не декодированного корректно) и NAK передаются так же, как первые восемь кадров, описанных выше для Фиг.10. В этом примере передача второго подпакета также принята и декодирована корректно. Однако, вместо ACK_RC, посылаемого базовой станцией, передается ACK_STOP. Если разрешение передачи не сопровождает ACK_STOP, то мобильная станция возвращается к автономной передаче. Вместо этого передается новое разрешение передачи. Мобильной станции не требуется контроль канала F-RCCH для этого кадра. Мобильная станция затем передает первый подпакет для следующего пакета в соответствии с новым разрешением передачи.
На Фиг.12 изображена временная диаграмма для примерного варианта осуществления с объединенными каналами подтверждения приема и управления скоростью передачи, без разрешения передачи. Этот пример сходен с Фиг.10 за исключением того, что разрешение передачи не посылается в ответ на исходный запрос мобильной станции. Таким образом, передача первого подпакета для первого пакета осуществляется на скорости автономной передачи. Опять этот подпакет декодирован некорректно на базовой станции. Второй подпакет опять декодирован корректно, и передается ACK_RC вместе с командой управления скоростью передачи. Мобильная станция затем посылает следующий пакет на потенциально скорректированной скорости передачи. Этот пример иллюстрирует возможность изменения скорости передачи мобильной станции произвольно, используя только команды управления скоростью передачи, без какого-либо разрешения передачи.
В альтернативном варианте осуществления базовая станция может использовать управление скоростью с помощью автономных передач с наличием предшествующего запроса или без него. Могут использоваться уменьшения, чтобы снизить перегрузки, и может быть предоставлено повышение, если имеются дополнительные ресурсы, даже если BS может не знать требования к данным, поскольку запрос не передавался.
Следует отметить, что во всех описанных выше вариантах осуществления, этапы способа могут взаимозаменяться в пределах объема изобретения. Раскрытые описания во многих случаях ссылаются на сигналы, параметры и процедуры, связанные с системой 1xEV-DV, но объем настоящего изобретения не ограничивается этим. Специалисты в данной области техники легко смогут применить раскрытые принципы к различным другим системам связи. Эти и другие модификации будут очевидны специалистам в данной области техники.
Специалистам в данной области техники должно быть понятно, что информация и сигналы могут быть представлены с использованием любой технологии и способа из множества различных возможных. Например, данные, инструкции, команды, информация, сигналы, биты, символы и микросхемы, на которые даются ссылки по всему описанию, могут быть представлены посредством напряжений, токов, электромагнитных волн, магнитных полей или частиц, оптических полей или частиц, или любой их комбинацией.
Специалистам в данной области техники также должно быть понятно, что различные иллюстративные логические блоки, модули, схемы и этапы алгоритма, описанные в связи с раскрытыми вариантами осуществления, могут осуществляться в виде электронных аппаратных средств, программного обеспечения или их комбинации. Чтобы ясно проиллюстрировать эту взаимозаменяемость аппаратных средств и программного обеспечения, различные иллюстративные компоненты, этапы, модули, схемы и этапы описаны выше обобщенно в терминах их функциональных возможностей. Осуществлены ли такие функциональные возможности в виде аппаратных средств, или программного обеспечения, зависит от конкретного применения и проектных ограничений, наложенных на систему в целом. Специалисты в данной области техники могут осуществлять описанные функциональные возможности различным образом для каждого конкретного применения, но такие решения не следует интерпретировать как вызывающие изменение объема настоящего изобретения.
Различные иллюстративные логические блоки, модули и схемы, описанные в связи с вариантами осуществления, раскрытыми в документе, могут быть осуществлены или выполнены с помощью универсального микропроцессора, цифрового процессора (DSP) сигналов, ориентированной на приложение интегральной микросхемы (ASIC), программируемой вентильной матрицы (FPGA) или другого программируемого логического устройства, дискретной матричной или транзисторной логики, дискретных компонентов аппаратных средств или любой их комбинацией, разработанной для выполнения функций, описанных в документе. Универсальный процессор может быть микропроцессором, но в качестве альтернативы, процессор может быть любым обычным процессором, контроллером, микроконтроллером или конечным автоматом. Процессор также может быть осуществлен в виде комбинации вычислительных устройств, например, комбинации DSP и микропроцессора, нескольких микропроцессоров, одного или нескольких микропроцессоров вместе с базовыми средствами DSP, или любой другой такой конфигурации.
Этапы способа или алгоритма, описанного в связи с раскрытыми вариантами осуществления, могут быть воплощены непосредственно в виде аппаратных средств, в виде программного модуля, исполняемого процессором, или в виде комбинации обоих. Программный модуль может постоянно находиться в оперативном запоминающем устройстве (ОЗУ, RAM), флеш-памяти, постоянном запоминающем устройстве (ПЗУ, ROM), стираемом программируемом постоянном запоминающем устройстве (СППЗУ, EPROM), электрически стираемом программируемом постоянном запоминающем устройстве (ЭСППЗУ, EEPROM), регистрах, накопителе на жестком диске, сменном диске, ПЗУ на компакт-диске (CD-ROM) или любой другой форме носителя данных, известного в области техники. Примерный носитель данных соединен с процессором, так что процессор может считывать информацию носителя данных и записывать информацию на него. В качестве альтернативы, носитель данных может быть выполнен заодно с процессором. Процессор и носитель данных могут постоянно находиться в ASIC. ASIC может постоянно находиться в пользовательском терминале. В качестве альтернативы, процессор и носитель данных могут постоянно находиться в пользовательском терминале в качестве отдельных компонентов.
Предшествующее описание раскрытых вариантов осуществления предусмотрено, чтобы дать возможность любому специалисту в данной области техники создавать или использовать настоящее изобретение. Различные модификации этих вариантов осуществления будут без труда очевидны специалистам в данной области техники, а общие принципы, определенные в документе, могут применяться к другим вариантам осуществления без изменения сущности или объема настоящего изобретения. Таким образом, настоящее изобретение не ограничивается раскрытыми вариантами осуществления, а должно соответствовать самому широкому объему, совместимому с раскрытыми принципами и новыми признаками.
Формула изобретения
1. Устройство для управления скоростью передачи, содержащее: формирователь сообщений для: формирования первого сообщения, содержащего индикатор подтверждения приема передачи и индикатор управления скоростью передачи, и формирования второго сообщения, в зависимости от индикатора управления скоростью передачи, при этом второе сообщение содержит команду управления скоростью передачи.
2. Устройство по п.1, в котором команда управления скоростью передачи является одним из множества значений, при этом одно или более из множества значений указывают повышение скорости передачи.
3. Устройство по п.1, в котором команда управления скоростью передачи является одним из множества значений, при этом одно или более из множества значений указывают уменьшение скорости передачи.
4. Устройство по п.1, в котором команда управления скоростью передачи является одним из множества значений, при этом одно или более из множества значений указывают удержание скорости передачи.
5. Устройство для управления скоростью передачи, содержащее: приемник для приема пакета данных; декодер для декодирования принятого пакета данных и формирователь сообщений для: формирования первого сигнала, содержащего одно из первого множества значений, причем каждое значение связано с подтверждением приема (АСК) пакета данных или отрицательным подтверждением приема (NAK) пакета данных, и одно или более значений, указывающих команду управления скоростью передачи, и формирования второго сигнала, содержащего одно из второго множества значений, соответствующих соответственному множеству команд управления скоростью передачи, если значение первого сигнала указывает команду управления скоростью передачи; и передатчик для передачи первого сигнала и, в зависимости от него, второго сигнала.
6. Устройство по п.5, в котором приемник дополнительно действует для приема одного или более запросов передачи и одной или более автономных передач, причем устройство дополнительно содержит планировщик для выделения совместно используемого ресурса в ответ на один или более запросов передачи и одну или более автономных передач.
7. Устройство по п.6, в котором формирователь сообщений дополнительно формирует сообщение разрешения передачи в ответ на запрос передачи в соответствии с упомянутым выделением.
8. Устройство для управления скоростью передачи, содержащее: приемник для приема первого сигнала, содержащего подтверждение приема передачи, и для приема, если первый сигнал содержит индикатор управления скоростью передачи, второго сигнала, содержащего команду управления скоростью передачи, и декодер сообщений для декодирования индикатора управления скоростью передачи из принятого первого сигнала.
9. Устройство по п.8, в котором команда управления скоростью передачи является одним из множества значений, при этом одно или более из множества значений указывают повышение скорости передачи.
10. Устройство по п.8, в котором команда управления скоростью передачи является одним из множества значений, при этом одно или более из множества значений указывают уменьшение скорости передачи.
11. Устройство по п.8, в котором команда управления скоростью передачи является одним из множества значений, при этом одно или более из множества значений указывают удержание скорости передачи.
12. Устройство по п.8, дополнительно содержащее передатчик для передачи пакета данных.
13. Устройство по п.12, в котором передатчик повторно передает пакет данных, если первый сигнал указывает, что переданный пакет данных не подтвержден как принятый.
14. Устройство по п.12, в котором передатчик передает второй пакет данных на скорости, определенной в соответствии с командой управления скоростью передачи, содержащейся во втором сигнале.
15. Базовая станция, содержащая: формирователь сообщений для: формирования первого сообщения, содержащего индикатор подтверждения приема передачи и индикатор управления скоростью передачи, и формирования второго сообщения в зависимости от индикатора управления скоростью передачи, при этом второе сообщение содержит команду управления скоростью.
16. Удаленная станция, содержащая: приемник для приема первого сигнала, содержащего подтверждение приема передачи, и для приема, если первый сигнал содержит индикатор управления скоростью передачи, второго сигнала, содержащего команду управления скоростью передачи, и декодер сообщений для декодирования индикатора управления скоростью передачи из принятого первого сигнала.
17. Система беспроводной связи, включающая в себя базовую станцию, содержащая: формирователь сообщений для: формирования первого сообщения, содержащего индикатор подтверждения приема передачи и индикатор управления скоростью передачи, и формирования второго сообщения, в зависимости от индикатора управления скоростью передачи, при этом второе сообщение содержит команду управления скоростью.
18. Система беспроводной связи, включающая в себя удаленную станцию, содержащая: приемник для приема первого сигнала, содержащего подтверждение приема передачи, и для приема, если первый сигнал содержит индикатор управления скоростью передачи, второго сигнала, содержащего команду управления скоростью передачи, и декодер сообщений для декодирования индикатора управления скоростью передачи из принятого первого сигнала.
19. Способ управления скоростью передачи, содержащий формирование первого сигнала, содержащего одно из первого множества значений, причем каждое значение связано с подтверждением приема (АСК) передачи или отрицательным подтверждением приема (NAK) передачи, и одно или более значений, указывающих команду управления скоростью передачи, и формирование второго сигнала, содержащего одно из второго множества значений, соответствующих соответственному множеству команд управления скоростью передачи, если значение первого сигнала указывает команду управления скоростью передачи.
20. Способ управления скоростью передачи, содержащий прием пакета данных; декодирование пакета данных; формирование первого сигнала, указывающего, был ли принятый пакет данных декодирован корректно, и указывающий, будет ли выдана команда управления скоростью передачи; и формирование второго сигнала, содержащего команду управления скоростью передачи, если выдана команда управления скоростью передачи.
21. Способ по п.20, в котором первый сигнал содержит одно из первого множества значений, причем одно из первого множества значений указывает подтверждение корректного декодирования и отсутствие команды управления скоростью передачи.
22. Способ по п.21, в котором значение, указывающее подтверждение корректного декодирования и отсутствие команды управления скоростью передачи, отменяет предшествующее разрешение передачи.
23. Способ по п.20, в котором первый сигнал содержит одно из первого множества значений, причем упомянутое одно из первого множества значений указывает подтверждение корректного декодирования и команду управления скоростью передачи.
24. Способ по п.20, в котором первый сигнал содержит значение, указывающее отсутствие передачи, соответствующее отрицательному подтверждению декодированного пакета, и отсутствие команды управления скоростью передачи.
25. Способ по п.20, в котором команда управления скоростью передачи является одним из второго множества значений, при этом одно или более из второго множества значений указывают повышение скорости передачи.
26. Способ по п.20, в котором команда управления скоростью передачи является одним из второго множества значений, при этом одно или более из второго множества значений указывают уменьшение скорости передачи.
27. Способ по п.20, в котором команда управления скоростью передачи является одним из второго множества значений, при этом одно из второго множества значений указывает удержание скорости передачи.
28. Способ по п.27, в котором второй сигнал содержит значение, указывающее отсутствие передачи для удержания скорости передачи.
29. Способ по п.20, дополнительно содержащий прием одного или более запросов передачи; прием одной или более автономных передач; и выделение совместно используемого ресурса в ответ на один или более запросов передачи и одну или более автономных передач.
30. Способ по п.20, дополнительно содержащий формирование разрешения передачи в ответ на принятый запрос передачи.
31. Способ по п.30, в котором второй сигнал не формируется, если формируется разрешение передачи.
32. Способ по п.20, дополнительно содержащий передачу первого сигнала, и передачу второго сигнала, если выдана команда управления скоростью передачи.
33. Способ по п.32, дополнительно содержащий передачу разрешения передачи, если выдано разрешение передачи.
34. Способ по п.20, в котором принятый пакет данных является подпакетом данных.
35. Способ по п.34, в котором декодирование выполняется в ответ на ранее принятые соответствующие подпакеты данных, если они имеются.
36. Способ управления скоростью передачи, содержащий прием первого сигнала, содержащего одно из первого множества значений, причем каждое значение связано с подтверждением приема (АСК) передачи или отрицательным подтверждением приема (NAK) передачи, и одно или более значений, указывающих команду управления скоростью передачи, и прием второго сигнала, содержащего одно из второго множества значений, соответствующих соответственному множеству команд управления скоростью передачи, если значение первого принятого сигнала указывает команду управления скоростью передачи.
37. Способ управления скоростью передачи, содержащий передачу пакета данных; прием первого сигнала, указывающего, был ли переданный пакет данных подтвержден как принятый, и указывающего, будет ли выдана команда управления скоростью передачи; и прием второго сигнала, содержащего команду управления скоростью, если выдана команда управления скоростью передачи.
38. Способ по п.37, в котором первый сигнал содержит одно из первого множества значений, причем одно из первого множества значений указывает подтверждение корректного декодирования и отсутствие команды управления скоростью передачи.
39. Способ по п.38, в котором значение, указывающее подтверждение корректного декодирования и отсутствие команды управления скоростью передачи, отменяет предшествующее разрешение передачи.
40. Способ по п.37, в котором первый сигнал содержит одно из первого множества значений, причем одно из первого множества значений указывает подтверждение корректного декодирования и команду управления скоростью передачи.
41. Способ по п.37, в котором первый сигнал содержит значение, указывающее отсутствие передачи, соответствующее отрицательному подтверждению декодированного пакета данных, и отсутствие команды управления скоростью передачи.
42. Способ по п.37, в котором команда управления скоростью передачи является одним из второго множества значений, при этом одно или более из второго множества значений указывают повышение скорости передачи.
43. Способ по п.37, в котором команда управления скоростью передачи является одним из второго множества значений, при этом одно или более из второго множества значений указывают уменьшение скорости передачи.
44. Способ по п.37, в котором команда управления скоростью передачи является одним из второго множества значений, при этом одно из второго множества значений указывает удержание скорости передачи.
45. Способ по п.44, в котором второй сигнал содержит значение, указывающее отсутствие передачи для удержания скорости передачи.
46. Способ по п.37, дополнительно содержащий повторную передачу пакета данных, если первый принятый сигнал указывает, что переданный пакет данных не был подтвержден как принятый.
47. Способ по п.37, дополнительно содержащий передачу второго пакета данных, если первый принятый сигнал указывает, что переданный пакет данных был подтвержден как принятый.
48. Способ по п.47, в котором второй пакет передается на скорости передачи, определенной в соответствии с командой управления скоростью передачи, если команда управления скоростью передачи принята во втором сигнале.
49. Способ по п.37, в котором переданный пакет данных является подпакетом данных.
50. Устройство для управления скоростью передачи, содержащее: средство для формирования первого сигнала, содержащего одно из первого множества значений, причем каждое значение связано с подтверждением приема (АСК) передачи или отрицательным подтверждением приема (NAK) передачи, и одно или более значений, указывающих команду управления скоростью, и средство для формирования второго сигнала, содержащего одно из второго множества значений, соответствующих соответственному множеству команд управления скоростью передачи, если значение первого сигнала указывает команду управления скоростью передачи.
51. Устройство для управления скоростью передачи, содержащее: средство для приема пакета данных; средство для декодирования пакета данных; средство для формирования первого сигнала, указывающего, был ли принятый пакет данных декодирован корректно, и указывающего, будет ли выдана команда управления скоростью передачи; и средство для формирования второго сигнала, содержащего команду управления скоростью передачи, если выдана команда управления скоростью передачи.
52. Устройство для управления скоростью передачи, содержащее: средство для приема первого сигнала, содержащего одно из первого множества значений, причем каждое значение связано с подтверждением приема (АСК) передачи или отрицательным подтверждением приема (NAK) передачи, и одно или более значений, указывающих команду управления скоростью передачи, и средство для приема второго сигнала, содержащего одно из второго множества значений, соответствующих соответственному множеству команд управления скоростью передачи, если значение первого принятого сигнала указывает команду управления скоростью передачи.
53. Устройство для управления скоростью передачи, содержащее: средство для передачи пакета; средство для приема первого сигнала, указывающего, был ли подтвержден переданный пакет и будет ли выдана команда управления скоростью передачи; и средство для приема второго сигнала, содержащего команду управления скоростью, если выдана команда управления скоростью передачи.
54. Система беспроводной связи, содержащая: средство для формирования первого сигнала, содержащего одно из первого множества значений, причем каждое значение связано с подтверждением приема (АСК) передачи или отрицательным подтверждением приема (NAK) передачи, и одно или более значений, указывающих команду управления скоростью, и средство для формирования второго сигнала, содержащего одно из второго множества значений, соответствующих соответственному. множеству команд управления скоростью передачи, если значение первого сигнала указывает команду управления скоростью передачи.
55. Система беспроводной связи, содержащая: средство для приема первого сигнала, содержащего одно из первого множества значений, причем каждое значение связано с подтверждением приема (АСК) передачи или отрицательным подтверждением приема (NAK) передачи, и одно или более значений, указывающих команду управления скоростью, и средство для приема второго сигнала, содержащего одно из второго множества значений, соответствующих соответственному множеству команд управления скоростью передачи, если значение первого принятого сигнала указывает команду управления скоростью передачи.
56. Считываемый процессором носитель, на который записана информация для осуществления способа управления скоростью передачи, при этом способ содержит следующие этапы: формирование первого сигнала, содержащего одно из первого множества значений, причем каждое значение связано с подтверждением приема (АСК) передачи или отрицательным подтверждением приема (NAK) передачи, и одно или более значений, указывающих команду управления скоростью передачи, и формирование второго сигнала, содержащего одно из второго множества значений, соответствующих соответственному множеству команд управления скоростью передачи, если значение первого сигнала указывает команду управления скоростью передачи.
57. Считываемый процессором носитель, на который записана информация для осуществления способа управления скоростью передачи, при этом способ содержит следующие этапы: прием пакета данных; декодирование пакета данных; формирование первого сигнала, указывающего, был ли принятый пакет данных декодирован корректно, и указывающего, будет ли выдана команда управления скоростью передачи; и формирование второго сигнала, содержащего команду управления скоростью передачи, если выдана команда управления скоростью передачи.
58. Считываемый процессором носитель, на который записана информация для осуществления способа управления скоростью передачи, при этом способ содержит следующие этапы: прием первого сигнала, содержащего одно из первого множества значений, причем каждое значение связано с подтверждением приема (АСК) передачи или отрицательным подтверждением приема (NAK) передачи, и одно или более значений, указывающих команду управления скоростью передачи, и прием второго сигнала, содержащего одно из второго множества значений, соответствующих соответственному множеству команд управления скоростью передачи, если значение первого принятого сигнала указывает команду управления скоростью передачи.
59. Считываемый процессором носитель, на который записана информация для осуществления способа управления скоростью передачи, при этом способ содержит следующие этапы: передача пакета данных; прием первого сигнала, указывающего, был ли переданный пакет данных подтвержден как принятый, и указывающего, будет ли выдана команда управления скоростью передачи; и прием второго сигнала, содержащего команду управления скоростью передачи, если выдана команда управления скоростью передачи.
РИСУНКИ
TK4A – Поправки к публикациям сведений об изобретениях в бюллетенях “Изобретения (заявки и патенты)” и “Изобретения. Полезные модели”
Напечатано: (57) 48. Способ по п. 47, в котором второй пакет передается на скорости передачи,
Следует читать: (57) 48. Способ по п. 47, в котором второй пакет данных передается на скорости передачи,
Номер и год публикации бюллетеня: 12-2009
Код раздела: FG4A
Извещение опубликовано: 20.05.2009 БИ: 14/2009
|
|