|
|
(21), (22) Заявка: 2006121126/09, 15.12.2003
(24) Дата начала отсчета срока действия патента:
15.12.2003
(43) Дата публикации заявки: 27.12.2007
(46) Опубликовано: 27.04.2009
(56) Список документов, цитированных в отчете о поиске:
WO 02/05453 A1, 17.01.2002. RU 99113030 A, 20.05.2001. RU 2193823 C2, 27.11.2002. RU 2173028 C2, 27.08.2001. WO 02/15520 A1, 21.02.2002.
(85) Дата перевода заявки PCT на национальную фазу:
14.06.2006
(86) Заявка PCT:
EP 03/14243 20031215
(87) Публикация PCT:
WO 2005/060174 20050630
Адрес для переписки:
129090, Москва, ул. Б.Спасская, 25, стр.3, ООО “Юридическая фирма Городисский и Партнеры”, пат.пов. Ю.Д.Кузнецову, рег. 595
|
(72) Автор(ы):
ДИ ЛОДОВИКО Аким (IT), БУСКАТО Массимильяно (IT), ФЬЕРЕТТИ Марко (IT), ПУЛЕРИ Марцио (IT)
(73) Патентообладатель(и):
ТЕЛЕФОНАКТИЕБОЛАГЕТ Л М ЭРИКССОН (ПАБЛ) (SE)
|
(54) РАСПРЕДЕЛЕННОЕ УПРАВЛЕНИЕ ДОСТУПОМ К СРЕДЕ ПЕРЕДАЧИ ДЛЯ СИСТЕМ ШИРОКОПОЛОСНОГО ДОСТУПА
(57) Реферат:
Заявлен распределенный диспетчер для обмена данными на основе кадров между множеством терминалов и ведущим контроллером. Техническим результатом является улучшение пересылки данных внутри канала передачи данных. Для этого такой диспетчер содержит множество элементов концентрации для локальной диспетчеризации данных восходящего потока, причем множество элементов концентрации и множество терминалов разделены по множеству сот, распределенных в звездообразной топологии с несколькими иерархическими уровнями, причем каждая сота принадлежит иерархическому уровню I, где I находится между верхним уровнем N, соответствующим одной соте, которой выделен ведущий контроллер, и нижним уровнем; в каждой соте на уровне I один элемент концентрации является ведущим элементом соты, а остальные элементы концентрации и терминалы в соте являются ведомыми элементами ведущего элемента соты, причем каждый ведущий элемент соты на уровне I, в свою очередь, является ведомым для ведущего элемента в одной из сот на уровне I+1, ведущий элемент на самом верхнем уровне является ведущим контроллером; каждый ведущий элемент на уровне I содержит средство накапливания совокупных запросов и потоков восходящей линии связи, исходящих из его ведомых элементов, и средство генерирования совокупного потока и совокупных запросов восходящей линии связи, которые входят в ведущий элемент на уровне I+1, для которого ведущий элемент на уровне I является ведомым. 2 н. и 8 з.п. ф-лы, 13 ил., 2 табл.
Область техники, к которой относится изобретение
Настоящее изобретение относится к сетям многоточечного (PMP) доступа и, в частности, к распределенному способу и системе управления доступом к среде передачи (MAC) на физическом канале, совместно используемом несколькими терминалами и управляемом ведущим контроллером.
Уровень техники
За последние годы быстрый рост сетей передачи данных и значительный постоянно растущий объем услуг, ставший доступным пользователям в таких сетях, привел к значительному увеличению трафика, что серьезно влияет на производительность сети.
Многоточечные (PMP) системы наземного широкополосного беспроводного доступа (BWA) с динамическим выделением пропускной способности, таким образом, ожидаемо должны поддерживать и предоставлять все возрастающее число приложений и услуг, в том числе очень ресурсоемких мультимедийных услуг, например, быстрое Интернет-видео и видео по запросу (VoD), и инфраструктуру мобильной сети последнего поколения, в том числе инфраструктуру мобильной сети 2G/3G, в частности, что касается соединения между мобильными базовыми станциями и коммутационными узлами.
В типичной системе схема системной топологии PMP содержит множество базовых станций, соединяющих несколько терминалов доступа посредством конкретной среды передачи и с помощью конкретных нескольких схем доступа.
Чтобы справляться с этими постоянно растущими потребностями, сеть широкополосного доступа должна осуществлять максимально эффективное использование общих ресурсов для того, чтобы экономить полосу частот и дифференцировать услуги. Как следствие, полоса частот должна выделяться только по запросу, автоматически и без человеческого вмешательства, и в то же время должна быть возможность обслуживать каждый из различных потоков согласно контрактам на трафик и характеристикам реального времени.
Чтобы выполнить эти требования, контроллер или диспетчер управления доступом к среде передачи (MAC) должен непрерывно отслеживать все потоки трафика, входящие в канал, и предоставлять доступ каждому потоку согласно его привилегиям. В общем, эти привилегии задаются посредством набора параметров качества обслуживания (QoS), которые могут различаться в соответствии с участвующей транспортной сетью, к примеру, ATM (асинхронный режим передачи), IP (Интернет протокол) и т.п.
В отношении трафика нисходящего потока, который традиционно идентифицирует данные, протекающие из магистральной сети к находящемуся у абонента оборудованию (CPE), и источники, и диспетчер находятся на одном конце канала. Диспетчер поэтому полностью знает о состоянии трафика и имеет необходимую информацию, чтобы надлежащим образом управлять выделением полосы частот. Фактически, диспетчер или контроллер знает на каждый момент времени состояние всех очередей, которыми он управляет, и выбирает следующую очередь, которая должна быть обслуживаема, согласно хорошо известным методикам данной области техники.
Наоборот, что касается трафика восходящего потока, который традиционно идентифицирует данные, текущие от CPE к магистральной сети, диспетчер и источники физически расположены на противоположных концах канала. Поэтому необходим обмен управляющей информацией по причине того, что состояние каждой очереди CPE неизвестно диспетчеру и контроллеру и должно быть каким-то образом передано, по меньшей мере частично, для надлежащей диспетчеризации связи.
В системах BWA/PMP, как и в большинстве сетей связи, информация передается в кадрах. Кадр – это блок данных, содержащий фактические данные и вспомогательную информацию, чтобы синхронизировать передачу и доставлять передаваемые данные.
В предшествующем уровне техники известны и используются различные способы, чтобы удаленно мультиплексировать доступ посредством канала TDMA, удовлетворяя и контракты на трафик, и требования реального времени.
Самая основная методика – не допускать какого-либо канала обмена данными между центральным диспетчером и CPE. В этом случае канал восходящего потока статистически разделяется между всеми активными абонентскими терминалами, которые настраиваются в ходе конфигурирования. Эта методика не тратит какую-либо дополнительную полосу частот, но (основной ее недостаток) не предоставляет возможность какого-либо статистического мультиплексирования. Более того, чтобы добавить одно подключение к сети, оператор может быть вынужден заново настраивать все остальные терминалы, которые совместно используют один канал, даже несмотря на то, что их потребности не изменились.
Другой широко известный способ – сохранять информацию о мультиплексировании внутри центрального диспетчера, который в таком случае отвечает за отправку разрешений на передачу в восходящем потоке, по одному за раз, авторизованным терминалам. Не возникает необходимости перепрограммировать терминалы, и выделение полосы может быть изменено вручную достаточно легко. Тем не менее, результирующая система вновь имеет статический характер, так что когда терминал временно находится в ситуации отсутствия находящихся в состоянии ожидания данных, чтобы отправить в направлении восходящего потока, выделенные ей временные интервалы кадров не могут быть перераспределены другим терминалам и поэтому полностью теряются.
В идеале, терминалы должны опрашиваться на периодической основе, и разрешения на передачу в восходящем потоке должны отправляться только тем терминалам, очереди которых не пусты. Основная проблема в данном случае состоит в том, что для того, чтобы диспетчер имел корректную информацию обо всех находящихся в состоянии ожидания очередях, слишком большая полоса частот в канале восходящего потока должна быть зарезервирована, легко приводя к ухудшению обслуживания.
Вместо этого полоса частот для служебных сигналов, которая является полосой частот, которая выделена передаче служебных данных, предоставляющих информацию о состоянии терминала диспетчеру, должна быть минимизирована. В этом отношении наиболее распространенными решениями по передаче запросов базовой станции, где расположен диспетчер, являются управление конфликтами, совмещение передачи и опроса.
Временные интервалы разрешения конфликтов – это части кадра восходящей линии связи, которые выделены запросам терминала, без указания того, какой терминал имеет право использовать его. Есть возможность для большего числа терминалов пытаться и осуществлять доступ к одному временному интервалу одновременно, вызывая коллизии – основной недостаток основанных на разрешении конфликтов способов, что приводит к недостаточной надежности и не устанавливает верхнего предела задержки.
Совмещение передачи выполняется, когда запросы не выдаются в данной части кадра, а в данной части кадра выдаются единицы данных MAC, с тем чтобы скорость обновления информации зависела от активности терминала. Этот способ обычно уменьшает среднюю задержку, но все еще нестабилен, чтобы гарантировать, что верхний предел не превышен. По этой причине он всегда объединяется с, по меньшей мере, еще одним способом, чтобы дать терминалу возможность отправлять запросы повторно после того, как предыдущий период активности истек. Как правило, когда трафик является пакетным, эффективность способов совмещения передачи зависит от эффективности другого ассоциативно связанного способа.
Опрос означает, что базовая станция, т.е. диспетчер, выполняющийся на ней, назначает определенную полосу частот терминалам для выдачи своих запросов. Это выполняется либо на периодической основе посредством выделения данной части кадра восходящей линии связи, в котором каждый терминал назначен конкретному временному интервалу. Варьирование задержки, вводимой в трафик восходящей линии связи, зависит от периода опроса, но обычно достаточно ограничено.
Хотя все вышеуказанные способы могут быть в равной степени использованы, системы реального времени, в которых должно быть обеспечено, что базовая станция принимает запросы от терминалов за меньший период времени, чем данные ограничения по задержке реального времени, обычно реализуются посредством механизмов опроса. Основной недостаток опроса обусловлен его статическим характером. Фактически, ограничения по задержке задают ограничение на период опроса: чем строже требования реального времени, тем чаще ресурсы должны быть выделены полям запроса. Эти ресурсы остаются статически выделенными и поэтому недоступны для трафика передачи данных. Как следствие этого, канал статической передачи служебных сигналов должен быть создан и масштабирован, чтобы удовлетворять требованиям по задержке в условиях наихудшего трафика, тем самым серьезно влияя на доступную полосу частот даже при условиях низкого трафика передачи данных. Более того, если либо количество терминалов в системе, либо классы услуг, которым требуется отправлять информацию базовой станции, увеличивается со временем, часть полосы частот, которая сделана недоступной для трафика передачи данных, растет параллельно, затрагивая эффективность и производительность системы.
В этом отношении PCT-заявка WO 02/05453 повышает эффективность процесса запроса на выделение полосы частот путем использования комбинации инкрементных и совокупных запросов. Полоса частот определенной ширины выделяется каждому терминалу, который в свою очередь свободно перераспределяет ее между своими услугами. Если терминал не имеет достаточной полосы частот для удовлетворения требований своих услуг, он запрашивает выделение дополнительной полосы частот через инкрементные запросы. Периодически также передается запрос, который содержит общее количество требуемой полосы частот. PCT-заявка WO 02/15520 раскрывает основанный на древовидной схеме способ диспетчеризации, предназначенный для улучшения пересылки данных внутри канала передачи данных.
Сущность изобретения
Цель настоящего изобретения – разрешить вышеуказанные проблемы посредством предоставления способа минимизации потребления полосы частот для передачи служебных сигналов, с конкретной применимостью к многоточечным широкополосным сетям.
В рамках этой цели задача настоящего изобретения – поддерживать различные политики динамической диспетчеризации и несколько категорий услуг и предоставить систему диспетчеризации, которая масштабирована до множества уровней иерархии.
Еще одна задача настоящего изобретения – эффективно отслеживать в реальном времени фактические потребности каждого терминала, с тем, чтобы предоставлять полосу пропускания только в том случае, когда имеются данные, которые должны быть отправлены, перераспределяя доступную полосу пропускания, если у терминала нет данных, чтобы отправлять.
Дополнительная задача изобретения – распространять противодавление самопроизвольно до самого нижнего уровня без дополнительных явных команд.
Еще одна задача изобретения – усовершенствовать механизмы опроса, известные в предшествующем уровне техники.
Эта цель, эти и другие задачи, которые станут очевидными в дальнейшем, достигаются посредством способа диспетчеризации данных восходящего потока для обмена данными на основе кадров между множеством терминалов 20 и ведущим контроллером 10, при этом способ содержит этапы, на которых предоставляют множество элементов концентрации для локальной диспетчеризации данных восходящего потока; разделяют множество элементов концентрации и множество терминалов по множеству сот, распределенных в звездообразной топологии с несколькими иерархическими уровнями, причем каждая сота принадлежит иерархическому уровню N, где N находится между верхним уровнем, соответствующим одной соте, которой выделен ведущий контроллер, и нижним уровнем; в каждой соте на уровне N выбирают один элемент концентрации в качестве ведущего элемента соты и выбирают оставшиеся элементы и терминалы в соте в качестве ведомых элементов ведущего элемента соты, причем каждый ведущий элемент соты на уровне N, в свою очередь, является ведомым для ведущего элемента в одной из сот на уровне N+1, ведущий элемент на верхнем уровне является ведущим контроллером; задают, по меньшей мере, одну категорию потоковых услуг; в каждом ведущем элементе на уровне N накапливают совокупные запросы восходящей линии связи и потоки, исходящие из ведомых элементов и для каждой категории услуг агрегируют потоки в один совокупный поток, генерирующий новые запросы восходящей линии связи для каждого потока, которые входят в ведущий элемент на уровне N+1, для которого ведущий элемент на уровне N является ведомым.
В каждом ведущем элементе полоса частот выделяется каждому подключенному ведомому элементу согласно совокупным запросам и доступной полосе частот.
Эта цель и эти задачи также достигаются посредством распределенного диспетчера для обмена данными на основе кадров между множеством терминалов и ведущим контроллером, при этом диспетчер содержит множество элементов концентрации для локальной диспетчеризации данных восходящего потока, причем множество элементов концентрации и множество терминалов разделены по множеству сот, распределенных в звездообразной топологии с несколькими иерархическими уровнями, причем каждая сота принадлежит иерархическому уровню N, где N находится между верхним уровнем, соответствующим одной соте, которой выделен ведущий контроллер, и нижним уровнем; в каждой соте на уровне N один элемент концентрации является ведущим элементом соты, а остальные элементы концентрации и терминалы в соте являются ведомыми элементами ведущего элемента соты, причем каждый ведущий элемент соты на уровне N, в свою очередь, является ведомым для ведущего элемента в одной из сот на уровне N+1, ведущий элемент на верхнем уровне является ведущим контроллером; каждый ведущий элемент на уровне N содержит средство накапливания совокупных запросов восходящей линии связи и потоков, исходящих из ведомых элементов, и средство генерирования совокупного потока и совокупных запросов восходящей линии связи, которые входят в ведущий элемент на уровне N+1, для которого ведущий элемент на уровне N является ведомым.
Преимущественно, изобретение основано на механизме опроса, и совокупные запросы вычисляются заново в каждом периоде опроса или в нескольких из них.
Когда большее число категорий или классов услуг включено, каждый ведомый элемент предпочтительно снабжен селектором потока, который агрегирует потоки согласно категориям потоков и на каждое разрешение выбирает и отправляет одну единицу (блок) данных одного из совокупных потоков соответствующему ведущему элементу.
Первая часть кадра восходящего потока может быть использована для сохранения информации о запросах на полосу частот, причем размер первой части кадра достаточен, чтобы адресовать все временные интервалы в кадре. Альтернативно, первая часть кадра резервируется для сохранения информации о запросах на полосу частот, причем размер первой части кадра достаточен, чтобы адресовать RTT+(NRG-1) временных интервалов в кадре, где RTT – время на полный обход, а NRG – число различных групп запросов в терминале, и передача оставшейся информации о запросах совмещается во временных интервалах трафика в кадре восходящего потока.
Когда информация о запросах на полосу частот содержит требования по гарантированной полосе частот и требования по избыточной полосе частот, каждый ведущий элемент интегрирует запросы предоставляемой полосы частот за временное окно продолжительности IT, где IT – целое число, кратное периоду времени опроса, с тем чтобы динамически корректировать гарантированную квоту для каждого ведомого элемента.
Краткое описание чертежей
Дополнительные характеристики и преимущества настоящего изобретения станут очевидными из последующего подробного описания, даваемого посредством неограничивающего примера и проиллюстрированного на прилагаемых чертежах, на которых:
фиг.1 – схематическое представление, показывающее ведущую базовую станцию и множество ведомых терминалов согласно предшествующему уровню техники;
фиг.2 – блок-схема, показывающая иерархическую сетевую топологию согласно настоящему изобретению;
фиг.3 – блок-схема, показывающая селектор базового потока;
фиг.4 – блок-схема, показывающая архитектуру диспетчеризации согласно настоящему изобретению, включающую в себя селекторы параллельных потоков;
фиг.5 – блок-схема, дополнительно детализирующая архитектуру многоуровневой совокупной диспетчеризации согласно настоящему изобретению;
фиг.6 – схема, показывающая логику обмена данными по схеме “ведущий – ведомый” во временной области согласно настоящему изобретению;
фиг.7 – схема, сравнивающая характеристики произведения задержки на полосу частот для служебных сигналов, получаемые посредством способа диспетчеризации согласно настоящему изобретению и традиционному способу согласно предшествующему уровню техники;
фиг.8a – блок-схема, показывающая информацию о запросе, выделяемом в кадре, согласно предшествующему уровню техники;
фиг.8b – блок-схема, показывающая информацию о запросе, выделяемом в кадре, посредством перемежающегося распределенного опроса согласно настоящему изобретению;
фиг.9 и 10 – схемы, сравнивающие процент потребленной полосы частот, применяющей перемежающийся распределенный опрос согласно настоящему изобретению, с чистым опросом в системе распределенной диспетчеризации;
фиг.11 – блок-схема, показывающая накопление и агрегирование запросов на гарантированную и избыточную полосу частот согласно дополнительному аспекту настоящего изобретения;
фиг.12 и 13 – блок-схемы, показывающие накопление гарантированной и избыточной полосы частот в ведомом элементе и диспетчеризацию в ведущем элементе.
Подробное описание изобретения
Фиг.1 – схематическое представление, показывающее традиционную сеть связи согласно предшествующему уровню техники, содержащую базовую узловую станцию 10 и множество терминалов 20 доступа.
Контроллер и диспетчер выполняется на ведущей базовой станции и выступает в качестве ведущего элемента для терминалов 20 доступа, которые являются ведомыми в системе. Передача данных от ведущего узла 10 к ведомым терминалам традиционно называется передачей данных по “нисходящей линии связи” или “нисходящему потоку”, тогда как передача данных от ведомого терминала 20 к узловой станции 10 называется передачей данных по “восходящей линии связи” или “восходящему потоку”. Потоки связи обычно делятся на кадры времени.
Узловая станция оснащена традиционным аппаратным или программным средством вычисления для обработки передачи данных от терминалов 20 и к ним на одной стороне и от сети связи и к ней на другой стороне. Более конкретно, это средство вычисления запрограммировано посредством традиционных методик согласно алгоритмам диспетчеризации MAC, раскрываемым настоящим изобретением.
Фиг.2 – блок-схема, которая показывает звездообразную топологию с несколькими уровнями, реализующую архитектуру распределенной диспетчеризации согласно настоящему изобретению.
Уровни в иерархии располагаются в диапазоне от 0 до N, где 0 идентифицирует нижний уровень, а N идентифицирует верхний уровень.
Каждый из уровней 1-N содержит множество сот, каждая из которых содержит, в свою очередь, множество элементов, в настоящем документе называемых элементами концентрации.
В рамках каждой соты один из элементов концентрации выбирается в качестве ведущего элемента соты, при этом оставшиеся элементы являются ведомыми элементами для ведущего элемента. Каждый ведущий элемент в соте на уровне I задается, в свою очередь, в качестве ведомого элемента для ведущего элемента, принадлежащего соте на уровне I+1.
Каждый из терминалов 20 назначается соте на любом из уровней 0-N. В принципе, терминалы назначаются соте на нижнем уровне 0, но также могут быть назначены другой соте на более высоком уровне.
Как результат, на каждом уровне иерархии каждая сота содержит несколько элементов концентрации, один из которых является ведущим элементом для всех оставшихся элементов в сотах, которые дополнительно могут быть элементами 30 концентрации или терминалами 20. Ведущий элемент на уровне N не является ведомым по отношению к какому-либо другому элементу.
Работа системы излагается ниже.
Каждый ведущий элемент в соте на уровне I обменивается данными в двунаправленном режиме со всеми своими ведомыми элементами в соте и с собственным ведущим элементом в соответствующей соте на уровне I+1.
Более подробно, каждый ведущий элемент накапливает трафик восходящей линии связи и запросы восходящей линии связи от своих ведомых элементов и генерирует трафик восходящей линии связи и запрос восходящей линии связи своему соответствующему ведущему элементу на более высоком уровне.
Трафик и запросы восходящей линии связи генерируются терминалами 20. Каждый запрос восходящей линии связи затем передается ведущему элементу 30 концентрации, которому назначены, по меньшей мере, некоторые из терминалов. Элемент 32 концентрации накапливает потоки, исходящие из подключенных терминалов, и генерирует совокупный поток, который включает в себя совокупный запрос, которым в простейшем случае является сумма всех одинарных запросов, принимаемых от терминалов 20.
Поток подается в элемент 31 концентрации в соте на более высоком уровне, на котором ведущий элемент 31 концентрации является ведомым.
Элемент 31 концентрации накапливает, в свою очередь, все потоки, исходящие из соединенных ведомых элементов 32 концентрации и/или терминалов 20, и генерирует соответствующий совокупный поток, включающий в себя совокупный запрос.
Процесс проходит через все уровни звездообразной топологии до тех пор, пока сота на верхнем уровне N и ведущий контроллер 10 не будут достигнуты.
В предпочтительном варианте осуществления изобретения ведущий контроллер 10 выполняет свои традиционные действия согласно любому выбранному алгоритму диспетчеризации и выделяет полосу частот согласно информации, передаваемой ему ведомыми элементами. Решение о диспетчеризации или выделение полосы частот, таким образом, принимается на основе совокупной информации и сообщается ведомым элементам. Если ведомый элемент является элементом концентрации, то аналогичная процедура диспетчеризации выполняется на основе доступной полосы частот, передаваемой ведущим контроллером 10 и согласно тому же или какому-либо другому подходящему алгоритму диспетчеризации.
Процесс итеративно проходит через все уровни и соты в архитектуре распределенной диспетчеризации до тех пор, пока нижний уровень не будет достигнут и все терминалы 20 не будут обслужены.
Безусловно, трафик нисходящей линии связи очевидно разрешен посредством элементов концентрации. Тем не менее, поскольку это не существенно для изобретательской концепции, лежащей в основе настоящего изобретения, трафик нисходящей линии связи не будет рассмотрен в настоящем описании.
Специалисты в данной области техники должны принимать во внимание, что соты согласно изобретению даже на одном уровне могут иметь весьма отличающиеся физические структуры. Например, ведущий элемент и все ведомые элементы соты могут быть целыми блоками, географически распределенными по области MAN/WAN (городская вычислительная сеть/глобальная вычислительная сеть), тогда как ведущий и ведомые элементы другой соты могут быть просто различными платами или даже их частями внутри одного отдельного терминала CPE (центрального обрабатывающего элемента).
На каждом уровне иерархии каждый поток, исходящий из ведомого элемента и конкурирующий за полосу частот в соте, является совокупным потоком, генерируемым ведомым элементом, выступающим в качестве ведущего для соответствующей соты на уровне I-1, потоков, исходящих или сходящихся к ведомым элементам из сот, в которых он является ведущим.
Ведущий элемент соты знает только о параметрах и характеристиках совокупного потока и выделяет полосу частот, согласно принимаемым совокупным запросам вне зависимости от того, как совокупный поток и запросы восходящей линии связи были сгенерированы ведомым элементом, или из распределения полосы частот среди потоков в ведомых элементах. Фактически, каждому ведомому элементу ведущего элемента на уровне I выделяется определенной величины полоса частот своим ведущим элементом в той же соте и перераспределяется своему ведомому элементу в соте на уровне I-1, для которого он является ведущим.
Выделение полосы частот только на основе совокупной информации позволяет минимизировать полосу частот для служебных сигналов, необходимую, чтобы передавать запросы восходящего потока, требуемые для обслуживания терминалов 20 в целом.
Совокупный поток, генерируемый каждым элементом концентрации, может быть статическим или динамическим, составленным из различных субпотоков в любом периоде опроса. В частности, совокупный поток, отправляемый по восходящему потоку элементом концентрации, может быть обработан селектором потоков, который принимает во внимание для вычисления и отправки по восходящему потоку параметров трафика только очереди, которые не являются пустыми.
В предпочтительном варианте осуществления каждый элемент концентрации содержит один или более селекторов 40 потоков, как станет очевидно из дальнейшего описания. Фиг.3 показывает селектор базового потока, который является устройством, основанным на аппаратных средствах, программном обеспечении или на том и другом, который служит для того, чтобы выбирать один из входов 41 и переадресовывать его по восходящему потоку.
В частности, параметры совокупного потока, которые изменяются в реальном времени с текущим состоянием очередей каждого потока, предпочтительно вычисляются, по меньшей мере, один раз на период опроса ведомым устройством, и только результат передается по восходящему потоку ведущему элементу как запрос, идущий из одного отдельного источника трафика.
Как только ведущий элемент накопил всю информацию о состоянии от всех своих ведомых элементов, селектор потока в ведущем элементе определяет, какие ведомые элементы имеют единицы данных, ожидающие передачи, и для текущего периода опроса игнорирует все остальные.
Для каждого интервала передачи в рамках текущего периода опроса селектор потока решает, какому элементу дается разрешение использовать его. Для этого селектор потока может применять любые критерии, в том числе методики простых циклических алгоритмов, к любому сложному алгоритму совместного использования полосы частот.
Наиболее важное требование заключается в том, что селектор потока реализован, чтобы принимать во внимание, по меньшей мере, в каждом периоде опроса состояние каждой из очередей на входе и, в частности, состояние “пусто” или “не пусто”, чтобы временно не принимать во внимание те потоки, которые в данный момент находятся в состоянии ожидания.
Это представляет фундаментальную важность для недопущения потерь полосы частот, поскольку конкуренция становится ограниченной только теми потоками, которым необходима полоса частот в текущем периоде опроса.
Безусловно, множество параметров может быть использовано, чтобы взвешивать и оценивать все требования каждого потока, и может быть применено селектором потока, чтобы принимать решение о том, какой поток должен обслуживаться далее. Эти параметры могут быть постоянными и статически предоставляемыми во время, когда поток настраивается, или могут варьироваться в соответствии со временем дня, например, чтобы разрешать различные политики диспетчеризации в рабочее время, ночью и т.д., либо варьироваться один раз каждые T периодов опроса, например, чтобы интегрировать вычисления полосы частот и корректировать случайные ошибки округления, которые могут возникать в ограниченные временные окна.
Селектор 40 потока работает, предпочтительно, с потоками трафика, имеющими те же или аналогичные характеристики, т.е. полностью задаваемыми посредством того же общего набора параметров. Это означает, что каждый предшествующий поток в отношении других и выбор потока селектором потоков зависит только от значений самих параметров.
Тем не менее, система распределенной диспетчеризации согласно настоящему изобретению может обрабатывать различные категории или классы потоков одновременно, причем эти категории могут, таким образом, сосуществовать на одном уровне иерархии диспетчеризации.
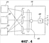
В этом случае, как схематически показано на фиг.4, отдельный селектор потока приписывается каждой категории, которая должна быть обслужена в определенном тракте системы, исходящем из терминала 20 к ведущему контроллеру 10.
Отдельные диспетчеры также используются в каждом элементе концентрации и в ведущем контроллере, чтобы обрабатывать различные категории потоков данных.
Более подробно, каждый из ведомых элементов, который порождает поток в различных категориях, подает свои выходные потоки в селектор потоков в ведущем элементе соответствующей выходной категории.
Фиг.4 иллюстративно показывает соту, содержащую ведущий элемент 15 и три ведомых элемента 21-23, которыми могут быть либо терминалы 20, либо элементы 30 концентрации. Ведомые элементы генерируют потоки, принадлежащие различным категориям k: ведомый элемент 21 генерирует два потока, принадлежащих категориям k=1 и k=3, ведомый элемент 22 генерирует только поток, принадлежащий категории k=2, ведомый элемент 23 генерирует три потока, принадлежащих категориям k=1, k=2 и k=3.
Запрос на обслуживание каждым ведомым элементом для каждого потока передается ведущему элементу 15 и подается согласно категории, которой он принадлежит, одному из трех различных селекторов потока, которые отвечают за выбор потока, который должен обслуживаться в соответствующей категории. Дополнительный селектор 45 потока или альтернативное средство управления оценивает, какой поток должен обслуживаться далее. Каждая единица данных, принимаемая от ведомого элемента, буферизуется в соответствующей очереди на поток в ведущем элементе 15. Запросы на обслуживание для каждого совокупного потока ведущего элемента 15 затем переадресуются посредством передающего устройства 48 соответствующему селектору потока в элементе концентрации или ведущем контроллере, для которого он является ведомым.
Как схематично проиллюстрировано на фиг.5, архитектура, описанная на фиг.4, может быть каскадно размещена даже в рамках одной соты, так чтобы решение о диспетчеризации распределялось во времени и в пространстве. Более подробно, решение о том, какому потоку будет назначено следующее время передачи по восходящему потоку, принимается и в ведущем элементе, который выбирает ведомый элемент, который должен быть обслужен, и самим ведомым элементом, который, когда достигнут посредством решения от ведущего элемента, выбрал поток из множества своих локальных ведомых, который получит выгоду от решения ведущего.
Фиг.6 показывает базовый процесс распределенной диспетчеризации во временном домене, используемом в предпочтительном варианте осуществления согласно настоящему изобретению.
В частности, команда опроса выдается ведущим элементом в момент времени T0 и принимается его ведомыми элементами после определенной задержки во времени T1. Когда команда опроса принята, ведомый проверяет потоки своих ведомых элементов, чтобы идентифицировать непустые, и, необязательно, сохраняет эту информацию до следующей команды опроса. Ведомый элемент затем вычисляет все параметры совокупного потока, составленного из потоков, которые являются активными в этот момент, и отправляет совокупную информацию ведущему элементу, который принимает ее в момент времени T2. Если селектор потока ведущего элемента далее в периоде опроса принимает решение о том, что текущие параметры совокупного потока ведомого элемента уполномочены на разрешение, разрешение передается по нисходящему потоку ведомому элементу. Как только ведомый элемент принимает его в момент времени T3, процесс диспетчеризации повторяется его локальным селектором потока.
Последний фактически может принять решение посредством выбора своего потока-получателя из очередей, которые не пусты, когда вычисление состояния было выполнено и передано ведущему элементу, или из очередей, которые не пусты, когда разрешение принято, например, чтобы принимать во внимание потоки высокого приоритета, как подробнее описано далее.
Поэтому согласно раскрытому способу распределенной диспетчеризации каждый элемент концентрации обрабатывает агрегации потоков без учета отдельных потоков элементов. Это уменьшает объем полосы частот для служебных сигналов, которая должна быть выделена в физическом канале.
С этой целью фиг.7 – схема, сравнивающая характеристики задержки на полосу частот для служебных сигналов, получаемую посредством способа диспетчеризации согласно настоящему изобретению и традиционному способу согласно предшествующему уровню техники.
В конфигурации предшествующего уровня техники, показанной на фиг.1, значение произведения “задержка – полоса частот для служебных сигналов” при диспетчеризации трафика в реальном времени пропорционально числу источников трафика.
В последующих выражениях t – задержка на генерирование разрешения, T – время задержки передачи пакета, SB – полоса частот для служебных сигналов, Z – размер запросов, максимальное значение которых соответствует размеру кадра, а Y – число источников трафика. Для простоты число ведомых элементов на уровень иерархии считается постоянным и равным X, так что если n – число уровней в иерархии, то общее число источников трафика равно Xn. При условии, что тот же период опроса используется и в предшествующем уровне техники, и в системе согласно настоящему изобретению, среднее время задержки может считаться таким же.
Чтобы сравнить предшествующий уровень техники с настоящим изобретением, предполагается, что то же число источников трафика присутствует и в системе предшествующего уровня техники, показанной на фиг.1, и в системе согласно настоящему изобретению. Поэтому предполагается, что Y=Xn.
В системе предшествующего уровня техники, показанной на фиг.1, t=1, T=t, а Y=Xn, так что T·SB=Xn·Z.
В системе согласно настоящему изобретению t=1, T=n·t=n, так что T·SB = n·X·Z.
Фиг.7 показывает, как система согласно настоящему изобретению безусловно превосходит предшествующий уровень техники. На графике линия 701 относится к произведению T·SB согласно предшествующему уровню техники, линия 702 относится к тому же значению “задержка – полоса частот для служебных сигналов”, когда применено настоящее изобретение. Результаты, показанные на фиг.7, относятся к случаю X=10 и Z=80.
Чтобы дополнительно повысить производительность вышеописанного способа и системы распределенной диспетчеризации, применяется новейший способ опроса. Известно, что в многоточечной системе, содержащей многоинтервальный MAC-кадр и основанной на опросе, часть полосы частот восходящей линии связи, соответствующая определенному числу временных интервалов, зарезервирована для выполнения запросов восходящей линии связи от терминалов к диспетчеру и контроллеру, обычно в начале кадра. Кадр опроса фактически задается как общее число временных интервалов между началом двух последовательных областей запроса. Период опроса – это продолжительность или размер кадра, выраженный как число временных интервалов, сохраненных в нем. Выбор способа опроса зависит от максимальной задержки, допустимой для трафика восходящей линии связи. Чтобы избежать коллизии между запросами, исходящими из различных терминалов, каждый терминал назначается выделенной области, будь то временной интервал или часть временного интервала, чтобы конкретно вставить все запросы. Фиг.8a изображает традиционную структуру кадра 800 восходящей линии связи, в котором область 801 запросов, содержащая поля 802 запросов, резервируется в начале кадра. Период 803 опроса, таким образом, задается числом временных интервалов 805 между началом области 801 запросов, принадлежащей кадру F, и началом области запросов 801′, принадлежащей кадру F+1.
Объем информации, переносимой полями запросов, обычно связан с объемом данных, который помещен в очередь в каждом терминале, повторенным для каждой группы запросов. Информации должно быть достаточно, чтобы разрешить терминалу использовать временные интервалы 805 трафика данных во всем периоде опроса. Поэтому период опроса определяет длину полей запросов, тогда как терминалы и группы запросов определяют количество требуемых полей запросов.
Как следствие, процент полосы частот, которая недоступна для данных трафика, когда используется кадр чистого опроса, может быть выражен следующим образом:
Bp = NAT/ (SL · 8)/(OH + NRG · log2 PP ) · 100/PP,
где NAT – число терминалов, NRG – число групп запросов, PP – число временных интервалов в периоде опроса, SL – размер временного интервала, выраженный в байтах, а OH – служебные сигналы, связанные с каждым временным интервалом.
Величина полосы частот, вычисленная согласно вышеприведенному выражению, которое представляет потерянную полосу частот, когда применяется механизм чистого опроса, в данном документе учитывается, чтобы оценить производительность нового способа опроса согласно второму аспекту настоящего изобретения.
Фактически, чтобы дополнительно улучшить производительность способа и системы распределенной диспетчеризации согласно настоящему изобретению, далее описывается усовершенствованный механизм опроса, в данном документе называемый “распределенным опросом”, со ссылкой на фиг.8b.
Фиг.8b показывает кадр 820 нисходящей линии связи, содержащий множество временных интервалов, которые содержат части 824, указывающие на соответствующие предоставления разрешений по восходящей линии связи.
Фиг.8b также показывает кадр 810 восходящей линии связи, содержащий область 811 запросов, содержащую поля 812 запросов, и временные интервалы 813 данных трафика. В каждом временном интервале 813 данных трафика часть 814 выделяется для переноса полей запросов. Поэтому часть запросов сохраняется в первой области 811 кадра, тогда как обновления запросов совмещаются с передачей фактических временных интервалов данных. Часть 811, выделяемая только полям запросов, таким образом, значительно уменьшается по сравнению с механизмом чистого опроса, в том, что она масштабируется таким образом, чтобы охватывать только число временных интервалов, соответствующее времени на полный обход (RTT) 815, который является интервалом времени между отправкой разрешения и приемом временного интервала в узле назначения, как показано на фиг.8b, и больше не должен охватывать весь кадр опроса.
После приема части запроса кадра диспетчер начинает распределять разрешения. В худшем случае все разрешения назначаются одному терминалу. Поскольку первый временной интервал трафика, переносящий поле совмещения передачи, обновляющее находящиеся в состоянии ожидания запросы, принимается только через RTT временных интервалов, поля запросов могут быть укорочены, чтобы охватывать только log2 RTT временных интервалов.
Вышеописанный механизм распределенного опроса применим также в случае, когда более одного класса или категории услуг представлено в терминале. В этом случае размер полей запросов должен быть, по меньшей мере, log2 (RTT+NRG-1) бит.
Часть кадра периода опроса, выделенная запросам, содержит поле запроса для каждого терминала и каждой группы запросов, которая должна быть обслужена посредством механизма распределенного опроса, тогда как временной интервал данных восходящей линии связи переносит только одно поле запроса, заполненное информацией, связанной только с одной группой запросов. Последовательность запросов, связанных с каждой группой, должна быть известна на обеих сторонах канала связи, с тем, чтобы информация обращалась, и ведущий узел принимает полное обновление каждые NRG временных интервалов из одного терминала.
Ведущий узел, таким образом, принимает сведения о находящихся в состоянии ожидания запросах в начале каждого кадра, причем этих сведений достаточно, чтобы охватить, по меньшей мере, следующие RTT+NRG-1 временных интервалов. Эта информация далее динамически обновляется в течение каждого периода опроса посредством информации, переносимой в кадре. Информация перемежается между временными интервалами, идущими из различных терминалов и различных групп запросов из одного терминала.
Процент полосы частот, которая недоступна для данных в случае перемежающегося распределенного опроса, вычисляется посредством следующего выражения, которое указывает число временных интервалов, требуемых в секции опроса восходящей линии связи:

Требуемая полоса частот в случае перемежающегося опроса равна BDIP=(req_slots·SL·8+(PP-req_slots)· log2(RTT+NRG-1) )·100/(PP·SL·8).
Первое выражение показывает, что период опроса PP более не является членом в вычислении, что делает раскрываемый механизм перемежающегося распределенного опроса более эффективным, чем механизм чистого опроса согласно предшествующему уровню техники, как показано на схемах фиг.9 и 10 и посредством следующих таблиц 1 и 2. Размер временного интервала считается равным соте ATM.
Таблица 1 и фиг.9 идентифицируют процент полосы частот, занимаемый запросами восходящей линии связи, когда применяется механизм распределенного опроса согласно настоящему изобретению, как показано строкой 901, в сравнении с механизмом чистого опроса, показанным строкой 902. Число терминалов (NAT) фиксировано до 64.
| Таблица 1 |
 |
 |
% потребленной полосы частот |
 |
| NAT |
PP |
Чистый опрос |
I.D.P. |
Дельта |
Прирост |
| 64 |
36 |
27,78 |
22,87 |
4,91 |
17,67 |
| 64 |
64 |
15,63 |
13,23 |
2,40 |
15,33 |
| 64 |
80 |
13,75 |
10,75 |
3,00 |
21,82 |
| 64 |
128 |
8,59 |
7,03 |
1,56 |
18,18 |
| 64 |
180 |
6,11 |
5,24 |
0,87 |
14,24 |
| 64 |
256 |
4,30 |
3,93 |
0,36 |
8,48 |
Данные, приведенные в таблице 1, вычислены при условии, что RTT=10, а NRG=3. Фиг.9 показывает значительное преимущество достаточно низких значений периода опроса (PP), что обычно требуется чувствительными к задержке приложениями.
Таблица 2 и фиг.10 показывают процент полосы частот, занимаемой запросами восходящей линии связи, когда применяется механизм распределенного опроса согласно настоящему изобретению, показанный строкой 911, в сравнении с механизмом чистого опроса, показанным строкой 912. К тому же, все вычисления предполагают, что RTT=10, а NRG=3, тогда как период опроса (PP) задается равным 80 временным интервалам на кадр.
| Таблица 2 |
 |
 |
% потребленной полосы частот |
 |
| NAT |
PP |
Чистый опрос |
I.D.P. |
Дельта |
Прирост |
| 2 |
80 |
1,25 |
2,07 |
-0,82 |
65,83 |
| 8 |
80 |
2,50 |
2,07 |
0,43 |
17,08 |
| 16 |
80 |
3,75 |
3,31 |
0,44 |
11,67 |
| 32 |
80 |
7,50 |
5,79 |
1,71 |
22,78 |
| 64 |
80 |
13,75 |
10,75 |
3,00 |
21,82 |
| 128 |
80 |
27,50 |
20,67 |
6,83 |
24,85 |
| 256 |
80 |
53,75 |
40,50 |
13,25 |
24,65 |
Вышеприведенные данные показывают, что механизм распределенного опроса согласно настоящему изобретению предоставляет эффективное использование полосы частот, обеспечивая надежное управление задержкой в случае строгих ограничений по задержке, которые являются основной характеристикой опроса. Фиг.10 показывает сразу, что экономия пропускной способности быстро возрастает по мере того, как увеличивается число терминалов.
Специалисты в данной области техники должны принимать во внимание, что масштабирование полей запросов всегда надлежащее, экономя полосу частот. Период опроса может варьироваться согласно требованиям реального времени, только RTT необходимо оставаться константой для надлежащего согласования терминалов. Изобретение не увеличивает затраты на вычисления в системе, поскольку требует только вставки текущего состояния очереди терминалами в надлежащее поле и перезаписи текущего состояния запроса в базовой станции без влияния на механизм диспетчеризации. Более того, та же величина пропускной способности, выделяемая механизму опроса, обеспечивает возможность увеличения числа категорий трафика или терминалов в системе.
Показано, что если применяются функциональные возможности распределенного MAC, запросы терминалов передаются как совокупные на категорию трафика, минимизируя информацию служебных сигналов и уменьшая задержку. При распределенном MAC базовая станция обрабатывает только выделение полосы частот среди терминалов без учета одного соединения.
Совокупный запрос на гарантированные и избыточные квоты варьируется во времени вследствие пакетного характера трафика; например, некоторые соединения терминала могут быть тихими в течение определенного периода времени. Поэтому выделение терминалу стационарной гарантированной квоты, равной максимальному совокупному гарантированному трафику, и статическая пропорция избытка приводят к некорректному распределению полосы частот.
Когда в терминале некоторые соединения являются тихими, тогда как другие просят больше трафика, чем их гарантированная квота, последние на уровне базовой станции могут “украсть” гарантированную и избыточную полосу частот тихих соединений терминала, поскольку базовая станция видит только агрегированные значения. Результат – неправильное распределение трафика по терминалам и, как следствие, по соединениям. Механизм, который допускает динамическое выделение гарантированной полосы частот и разбиение избытка на терминалы, может решить проблему.
Чтобы дополнительно повысить производительность способа и системы согласно настоящему изобретению, новый способ обработки пакетного трафика с помощью требований по гарантированной полосе частот раскрывается в настоящем документе.
Для надлежащей обработки категории услуги с гарантированной полосой частот в запросе на обслуживание терминалы должны передать базовой станции не только совокупный объем данных в очередях, т.е. состояние очереди, связанное с соединениями этой категории услуги, но также информацию о совокупной гарантированной скорости. Пусть qax,c(t) и wax,c(t) – совокупное состояние очереди и совокупная гарантированная скорость соответственно для категории с услуги терминала x.
Совокупное состояние очереди задается , где ncx – число активных соединений, а qc,x,i(t) – состояние очереди соединения i, связанного с категорией с услуги в терминале x.
Совокупная гарантированная скорость – , где – это функция Хевисайда, а wx,c,i – гарантированная скорость, обычно постоянный параметр, выделенный соединению i категории c услуги в терминале x. Это означает, что wax,c(t) равно сумме гарантированных скоростей соединений, которые имеют, по меньшей мере, одну соту в соответствующей очереди терминала.
Запрос на обслуживание, который терминал x отправляет базовой станции, состоит из пары (qax,c(t),wax,c(t)) для категории c услуги.
Функция диспетчеризации в базовой станции динамически обрабатывает выделение гарантированной полосы частот терминалам согласно потребностям соединений, не являющихся тихими в терминале. Таким образом, только необходимая полоса частот выделяется как разрешенная, тогда как остальная может быть распределена по всем соединениям как избыточная полоса частот.
Распределение избыточной полосы частот может следовать стандартной схеме диспетчеризации, например, циклическому алгоритму для обоснованного распределения по всем соединениям, взвешенному циклическому алгоритму или взвешенному перемежающемуся циклическому алгоритму для распределения пропорционально гарантированной скорости. В случае, если применяется распределение избытка в пропорции к гарантированной скорости, динамическое обновление весов пропорционально wax,c(t), используемое, чтобы распределить избыточный трафик по терминалами, должно быть предоставлено. Чтобы надлежащим образом распределить трафик, необходимо отделить гарантированную квоту от избыточной. Гарантированная часть должна иметь более высокий приоритет, чем избыточный трафик, с тем, чтобы она проходила первой, и затем оставшаяся полоса частот распределялась по терминалами как избыточная.
Разрешенная часть работает следующим образом. Информация запроса необходима, чтобы достигать базовой станции периодически каждые T секунд. Как следствие, qax,c(t) и wax,c(t) – это поэтапные функции на уровне базовой станции. Поскольку wax,c(t) представляет скорость, чтобы определить часть запроса qax,c(t), который должен обслуживаться как гарантированный, вводится временной кадр, идентифицируемый как время интеграции (IT). Параметр IT представляет временное окно, в течение которого отслеживается мгновенный трафик, и вычисление гарантированной квоты в отношении сот определяется на терминал. Концепция заключается в том, что в течение времени интеграции разрешения, запрошенные терминалами, обслуживаются как гарантированные до тех пор, пока число обслуженных сот не достигнет величины, которая может быть передана как разрешенная в течение текущего IT, согласно совокупной скорости, передаваемой терминалом. Запросы, превышающие лимит, могут обрабатываться только как избыточный трафик. Таким образом, простая граница между гарантированным и избыточным трафиками может быть определена на основе терминала. Лимит, ограничивающий гарантированную квоту, упоминается во временном кадре, задаваемом посредством IT, но обновляется каждый период опроса T, с тем, чтобы обеспечить возможность динамической корректировки гарантированной квоты согласно фактическим потребностям каждого терминала.
Более подробно, время интеграции IT задается кратным T: IT=k·T, где k – целое число от 1 и больше. Интегрируя совокупную скорость по IT, максимальное число гарантированных сот на IT в момент времени m·T для терминала x получается: . Эта интеграция повторяется каждый раз, когда новая пара параметров запроса приходит от терминала, т.е. каждый T. Результирующая функция является поэтапной. Вычисление Qax,c(m·T), далее представленной как последовательность Qax,c(m), каждые T секунд предоставляет возможность динамической корректировки гарантированной квоты для терминала согласно его реальным потребностям. Совокупности соединений категории c услуги, связанной с терминалом x, разрешено принимать участие в диспетчеризации гарантированной квоты до тех пор, пока есть соты, которые должны быть отправлены, и следующее отношение между обслуживаемыми сотами sx(t) в IT для этого терминала и Qax,c(m) сохраняется: Qax,c(m) > sx(t) для t в диапазоне между ti и ti + IT, где ti – время начала интеграции. Поэтому если, например, базовая станция принимает Qax,c(m1) и затем Qax,c(m2), возможны следующие варианты:
Qax,c(m2)>=Qax,c(m1), то совокупность соединений принимает больше гарантированной полосы частот до тех пор, пока Qax,c(m2)>sx(t);
sx(t)x,c(m2)x,c(m1), тогда совокупность соединений принимает больше гарантированного трафика до Qax,c(m2), в противном случае – ничего, поскольку гарантированная квота уже потрачена для этого времени интеграции. Если это состояние сохраняется, терминал x принимает новую гарантированную квоту только в начале следующего времени интеграции, когда sx(t) возвращается к нулю.
Иллюстративная реализации описанного усовершенствования показана на фиг.11-13. Элемент 110, которым может быть либо ведомый элемент 30 концентрации, либо терминал 20, оснащен средством 111, 112 агрегирования, работающим на множестве соединений C1, C2, Cn.
Средство 112 выполняет агрегирование состояний очередей соединения и для вывода совокупного состояния очереди. Обычно совокупное состояние очереди задается суммой каждого из отдельных состояний очереди.
Средство 111 выполняет генерирование информации о совокупной гарантированной скорости.
Блок-схема фиг.12 схематически изображает этапы, которые выполняются для этой цели ведомым элементом, когда несколько категорий участвует в процессе.
На этапе 120 выбирается первая категория CAT.
На этапе 121 счетчик I инициализируется и задается равным 1. Этот счетчик циклически проходит от первого соединения в категории CAT до общего числа соединений в категории CAT.
На этапе 122 проверяется, пусто или нет состояние очереди соединения I. Если состояние очереди не пусто, на этапе 123 общая величина требуемой полосы частот для текущей категории Q(CAT) увеличивается на величину находящихся в состоянии ожидания сот данных в I-том соединении Q(CAT,I). В то же время общая величина требуемой гарантированной полосы частот для текущей категории W(CAT) увеличивается на величину находящихся в состоянии ожидания сот данных, которые требуют гарантированной полосы частот в I-том соединении W(CAT,I).
На этапе 124 (на который система также переходит, если на этапе 122 определено, что состояние очереди пусто) проверяется, доступны ли еще соединения в текущей категории. Если да, работа системы в цикле возвращается к этапу 122 после увеличения I на этапе 125 до тех пор, пока не будут проверены все соединения.
На этапе 126 проверяется, доступны ли еще категории. Если да, индекс категории CAT увеличивается на одну единицу на этапе 128, возвращаясь затем к этапу 122. Если нет, на этапе 127 принимается запрос на опрос в ведомом элементе, который затем переадресует совокупную информацию для каждой категории своему ведущему элементу, и затем готов возобновить подсчет сначала на этапе 120.
Блок-схема фиг.13 схематически изображает этапы, которые выполняются ведущим элементом, чтобы обслуживать гарантированную и избыточную полосу частот. Для ясности процесс изображается относительно категории CAT, но он, несомненно, итеративно проходит через все доступные категории в элементе.
На этапе 130 время интеграции IT, которое равно периоду опроса T, умноженному на целое значение K, начинается.
На этапе 131 переменная M, которая подсчитывает периоды опроса в рамках времени интеграции IT, инициализируется равной 0.
На этапе 132 переменная J, которая находится в диапазоне от 1 до числа соединений, которые должны быть обслужены, задается равной 1.
На этапе 133 начиная с информации, относящейся к величине гарантированной полосы частот, запрашиваемой J-соединением или источником трафика, вычисляется фактическое число запрошенных сот данных C(CAT,J).
На этапе 134 диспетчер проверяет, находится ли J-й источник трафика в текущей категории SOURCE(CAT,J) в списке на диспетчеризацию. Если да, на этапе 135 количество обслуживаемых сот данных S(CAT,J), относящееся к сотам данных, которые должны обслуживаться как гарантированные для SOURCE(CAT,J), увеличивается на число разрешений, предоставленных диспетчером.
На этапе 136 проверяется, достигло ли количество обслуживаемых сот данных S(CAT,J) количества запрошенных сот C(CAT,J). Если да, J-й источник трафика SOURCE(J) удаляется из диспетчеризации на этапе 137.
На этапе 138 проверяется, был ли полностью просканирован список источников трафика.
Если да, на этапе 139 индекс J сбрасывается до точки в первом источнике трафика, иначе он увеличивается до точки в следующем источнике трафика в списке на этапе 140.
На этапе 141 проверяется, истек ли период опроса T.
Если период опроса T не истек, диспетчер проверяет на этапе 142, что все гарантированные соты данных, запрошенные находящимися в режиме ожидания источниками трафика, были обслужены.
Если результат проверки положительный, диспетчер начинает действия по избыточной диспетчеризации, обобщенные на этапе 143, в противном случае процесс возобновляется на этапе 134.
Когда период опроса истекает, диспетчер проверяет на этапе 144, закончилось ли также время итераций IT, и если да, начинается новое время интеграции. В противном случае счетчик M увеличивается на одну единицу на этапе 145, и те же операции, описанные со ссылкой на этапы 132-141, повторяются снова.
Таким образом, продемонстрировано, что настоящее изобретение удовлетворяет предложенной цели и задачам.
Обобщая, было продемонстрировано, что новое MAC согласно изобретению использует распределенную диспетчеризацию в иерархической сети многоточечного доступа, где на каждом уровне иерархии элемент концентрации (ведущий элемент) обрабатывает трафик, идущий от каждого терминала (ведомого элемента) как совокупный (один для каждого класса трафика) без учета элементарных потоков на более низком уровне.
Ведущий элемент выделяет величину полосы частот своим ведомым элементам, чтобы затем распределить ее среди своих ведомых элементов. Поэтому решение по диспетчеризации распределяется во времени и пространстве. Это решение уменьшает произведение “полоса частот для служебных сигналов – задержка”, которое становится пропорциональным числу ведомых элементов на одном уровне иерархии, вместо числа источников трафика.
Новое предложенное MAC преимущественно основано на опросе. Информация запросов от терминалов разбирается по кадру вместо концентрации ее в конкретных временных интервалах служебных сигналов.
Размер поля, необходимый, чтобы кодировать запросы, более не зависит от периода опроса, но он связан с RTT и числом классов трафика, которые должны быть обслужены. Таким образом, масштабирование поля запроса всегда надлежащее, экономя полосу частот. Фактически, хотя период опроса может варьироваться согласно требованиям реального времени, RTT и число запрашиваемых групп постоянно.
Преимущественно распределенная диспетчеризации также предусмотрена, чтобы обрабатывать трафик с гарантированной квотой. Поэтому предоставлена функция, которая интегрирует в ведущем элементе запросы на выделенную полосу частот в течение определенного временного кадра (времени интеграции). Это дает возможность динамической корректировки гарантированной квоты для каждого ведомого элемента согласно его реальным неотложным потребностям.
Более того, использование времени интеграции позволяет деление части совокупного трафика, который должен быть обязательно обслужен из дополнительных квот. Поэтому диспетчер в каждом элементе концентрации распределяет полосу частот, выделенную ему, между гарантированным и избыточным трафиками на основе элементарных потоков.
Безусловно, некоторые модификации должны быть очевидны и могут легко быть осуществлены специалистами в данной области техники без отступления от объема настоящего изобретения. Поэтому объем формулы изобретения не должен быть ограничен иллюстрациями предпочтительных вариантов осуществления, приведенных в описании в виде примеров, но вместо этого формула изобретения должна включать в себя все новые признаки, которые предусмотрены в настоящем изобретении, в том числе все признаки, которые должны трактоваться как эквиваленты специалистами в данной области техники.
Формула изобретения
1. Основанный на опросе способ диспетчеризации данных восходящего потока для обмена данными на основе кадров между множеством терминалов (20) и ведущим контроллером (10), заключающийся в том, что a) предоставляют множество элементов концентрации для локальной диспетчеризации данных восходящего потока и разделяют множество элементов концентрации и множество терминалов по множеству сот, отличающийся тем, что b) распределяют упомянутое множество сот по многоуровневой иерархической звездообразной топологии, содержащей несколько иерархических уровней, причем каждый уровень I содержит множество сот, где I находится между верхним уровнем N, соответствующим одной соте, которой выделен ведущий контроллер, и нижним уровнем; c) в каждой соте на уровне I выбирают один элемент концентрации в качестве ведущего элемента соты и выбирают оставшиеся элементы концентрации и терминалы в соте в качестве ведомых элементов ведущего элемента соты; d) причем каждый ведущий элемент соты на уровне I, в свою очередь, является ведомым для ведущего элемента в одной из сот на уровне I+1, при этом ведущий элемент на верхнем уровне является ведущим контроллером; e) задают категории потоковых услуг; f) в каждом ведущем элементе на уровне I накапливают совокупные запросы восходящей линии связи и потоки, исходящие из ведомых элементов, и для каждой категории услуг агрегируют потоки в один совокупный поток, генерирующий новые запросы восходящей линии связи для каждого потока, которые входят в ведущий элемент на уровне I+1, для которого ведущий элемент на уровне I является ведомым; g) в каждом ведущем элементе выделяют полосу частот каждому подключенному ведомому элементу согласно упомянутым новым совокупным запросам восходящей линии связи и доступной полосе частот; h) в каждом ведомом элементе на уровне I агрегируют потоки согласно упомянутым категориям потоков, и в каждом периоде опроса отправляют совокупные запросы на полосу частот соответствующему ведущему элементу на уровне I, причем упомянутые запросы содержат, для каждой категории, совокупное состояние очереди активных соединений и совокупную гарантированную скорость, равную сумме гарантированных скоростей этих соединений, которые имеют, по меньшей мере, одну соту в соответствующей очереди в ведомом элементе; i) в каждом ведущем элементе и в каждый период времени опроса интегрируют совокупную гарантированную скорость за временное окно продолжительности IT, где IT – целое число, кратное периоду времени опроса, с тем, чтобы динамически корректировать гарантированную квоту для каждого ведомого элемента.
2. Способ по п.1, в котором дополнительно в каждом ведущем элементе повторно подсчитывают запросы для каждого совокупного потока в каждом периоде опроса или нескольких из них.
3. Способ по п.1 или 2, в котором дополнительно резервируют первую часть кадра восходящего потока для сохранения информации о запросах на полосу частот, при этом размер первой части кадра достаточен для того, чтобы адресовать все временные интервалы в кадре.
4. Способ по п.1 или 2, в котором дополнительно резервируют первую часть кадра для сохранения информации о запросах на полосу частот, при этом размер первой части кадра достаточен, чтобы адресовать RTT+(NRG-1) временных интервалов в кадре, где RTT – время на полный обход, a NRG – число различных групп запросов в терминале, и совмещают передачу оставшейся информации о запросах во временных интервалах графика в кадре восходящего потока.
5. Способ по п.1, отличающийся тем, что информация о запросах на полосу частот содержит требования по гарантированной полосе частот и требования по избыточной полосе частот.
6. Основанный на опросе распределенный диспетчер для обмена данными на основе кадров между множеством терминалов 20 и ведущим контроллером 10, содержащий множество элементов концентрации для локальной диспетчеризации данных восходящего потока, отличающийся тем, что содержит множество элементов концентрации и множество терминалов, разделенных по множеству сот, распределенных в многоуровневой иерархической звездообразной топологии, содержащей несколько уровней, причем каждый уровень I содержит множество сот, где I находится между верхним уровнем N, соответствующим одной соте, которой выделен ведущий контроллер, и нижним уровнем; в каждой соте на уровне I один элемент концентрации является ведущим элементом соты, а остальные элементы концентрации и терминалы в упомянутой соте являются ведомыми элементами ведущего элемента соты; причем каждый ведущий элемент соты на уровне I, в свою очередь, является ведомым для ведущего элемента в одной из сот на уровне I+1, при этом ведущий элемент на верхнем уровне является ведущим контроллером; каждый ведущий элемент на уровне I содержит средство накапливания совокупных запросов восходящей линии связи и потоков, исходящих из его ведомых элементов, средство генерирования, согласно категориям потоковых услуг, совокупного потока и совокупных запросов восходящей линии связи, которые входят в ведущий элемент на уровне I+1, для которого ведущий элемент на уровне I является ведомым, и средство выделения полосы частот каждому подключенному ведомому элементу согласно упомянутым совокупным запросам и доступной полосе частот; в каждом ведомом элементе на уровне I средство агрегирования потоков, которое агрегирует потоки согласно упомянутым категориям потоков, и в каждом периоде опроса отправляет совокупные запросы на полосу частот соответствующему ведущему элементу на уровне I, причем упомянутые запросы содержат, для каждой категории, совокупное состояние очереди активных соединений и совокупную гарантированную скорость, равную сумме гарантированных скоростей этих соединений, которые имеют, по меньшей мере, одну соту в соответствующей очереди в ведомом элементе; в каждом ведущем элементе средство интегрирования в каждом периоде времени опроса совокупной гарантированной скорости за временное окно продолжительности IT, где IT – целое число, кратное периоду времени опроса, с тем, чтобы динамически корректировать гарантированную квоту для каждого ведомого элемента.
7. Диспетчер по п.6, отличающийся тем, что он содержит средство опроса, которое в каждом ведущем элементе установлено для того, чтобы повторно подсчитывать совокупные запросы в каждом периоде опроса или нескольких периодах.
8. Диспетчер по п.6 или 7, отличающийся тем, что первая часть кадра восходящего потока сохраняет информацию о запросах на полосу частот, при этом размер первой части кадра достаточен, чтобы адресовать все временные интервалы в кадре.
9. Диспетчер по п.6 или 7, отличающийся тем, что первая часть кадра резервируется для сохранения информации о запросах на полосу частот, при этом размер первой части кадра достаточен, чтобы адресовать RTT+(NRG-1) временных интервалов в кадре, где RTT – время на полный обход, a NRG – число различных групп запросов в терминале, и передача оставшейся информации о запросах совмещается во временных интервалах графика в кадре восходящего потока.
10. Диспетчер по п.6, отличающийся тем, что информация о запросах на полосу частот содержит требования по гарантированной полосе частот и требования по избыточной полосе частот.
РИСУНКИ
|
|