|
|
(21), (22) Заявка: 2007113242/02, 09.04.2007
(24) Дата начала отсчета срока действия патента:
09.04.2007
(30) Конвенционный приоритет:
16.10.2006 UA A200610881
(43) Дата публикации заявки: 20.10.2008
(46) Опубликовано: 27.04.2009
(56) Список документов, цитированных в отчете о поиске:
RU 2049301 C1, 27.11.1995. SU 1636643 A1, 23.03.1991. RU 2239664 C1, 10.11.2004. RU 2191839 C1, 27.10.2002. DE 3120856 A, 23.12.1982.
Адрес для переписки:
49027, Украина, г. Днепропетровск, ул. Дзержинского, 35Б, корп.1, кв.13, А.Т.Неклесе
|
(72) Автор(ы):
Неклеса Анатолий Тимофеевич (UA)
(73) Патентообладатель(и):
Неклеса Анатолий Тимофеевич (UA)
|
(54) УСТРОЙСТВО ДЛЯ НАБЛЮДЕНИЯ РЕАКЦИОННОГО ПРОСТРАНСТВА ВЫСОКОТЕМПЕРАТУРНОГО РЕАКТОРА
(57) Реферат:
Устройство предназначено для наблюдения реакционного пространства высокотемпературного реактора и может быть использовано для контроля технологических процессов в металлургической, химической и других отраслях промышленности. Видеокамера, в которой с помощью зажимного кольца закреплен поляроид, установлена во втулке, выполненной с равномерно разнесенными по ее боковой поверхности радиальными прорезями. Втулка установлена во внутренней трубе с возможностью вращения вокруг продольной оси совместно с видеокамерой. Второй поляроид и защитное стекло вмонтированы в неподвижную обойму с образованием между ними замкнутой полости. В боковой наклонной стенке обоймы выполнены продольные пазы для транспортирования продувочного газа. Видеокамера электрически связана с блоком питания и монитором видеонаблюдения. Изобретение обеспечивает удобство и безопасность работы оператора, повышает информативность, улучшает возможность обработки полученной информации и достоверность результатов. 2 з.п. ф-лы, 2 ил.
Изобретение относится к технике наблюдения за технологическими процессами и может быть использовано в металлургической, химической и других отраслях промышленности.
Известно смотровое окно с протиром, содержащее стекло, размещенное в охлаждаемом водой корпусе, протир, закрепленный на конце штока, а второй конец штока с рукояткой выставлен наружу корпуса (Вакуумная техника. Справочник под общей редакцией Н.С.Фролова и В.Е.Минайчева. Машиностроение, 1985, с.142).
Недостатком известного устройства является отсутствие какой-либо защиты стекла от прямого воздействия частиц, образующихся при прохождении технологического процесса внутри закрытого объема. К недостатку известного устройства можно отнести и то, что скребок воздействует не на всю открытую поверхность стекла, т.к. он может совершать только поступательное перемещение в двух направлениях: вперед-назад, а стекло имеет круглую форму.
Известно также смотровое окно для технологических аппаратов, содержащее цилиндрический корпус с вмонтированным в него стеклом, скребок для очистки внутренней поверхности стекла, поводок с рукояткой, согласно изобретению корпус выполнен с кольцевой полостью для охлаждающей воды, скребок в виде диска с плоским и сферическим торцами, поводок выполнен с коромыслом, причем коромысло установлено на поводке с возможностью нажима на скребок посредством пружины, а конец коромысла выполнен в виде сферической поверхности, при этом скребок установлен в дугообразный паз с минимальным зазором по боковой поверхности с возможностью взаимодействия плоским торцом со стеклом, а пружина установлена на поводке, причем поводок с пружиной размещены в отдельном водоохлаждаемом корпусе, причем пружина установлена с упором одним концом в корпусе посредством направляющей втулки и упорного подшипника, противоположным – в штифт, соединенный с коромыслом посредством соосного с поводком стержня, при этом на одном конце стержня выполнено отверстие, а штифт размещен в пазу поводка и отверстия стержня (патент России 2049301, кл. F27D 21/02, заявл. 25.11.91, опубл. 27.11.95).
Однако данная конструкция смотрового окна имеет низкую эксплуатационную надежность в условиях высоких температур плавильных печей.
Наиболее близким по технической сущности и достигаемому результату (прототип) принят перископ для передачи оптических сигналов из реакционного пространства высокотемпературных реакторов, содержащий цилиндрическую водоохлаждаемую оболочку с выходным соплом, имеющим конфузорный участок, соосно охватывающую с образованием кольцевого канала трубу для наблюдений, снабженную системой линз, фронтальная из которых обращена в сторону реакционного пространства, согласно изобретению труба для наблюдений снабжена конусным сужающимся насадком с центральным отверстием и продольными сквозными щелями, охватывающим фронтальную линзу и размещенным с образованием кольцевой щели в конфузорном участке выходного сопла оболочки, угол сужения конфузорного участка которого равен или больше угла сужения внешней поверхности насадка, а суммарная площадь проходного сечения щелей в последнем превышает соответствующую площадь его центрального отверстия (а.с. СССР 1636643, кл. F23M 11/04, заявл. 16.05.83, опубл. бюл. 11, 1991).
Однако данное техническое решение, как и приведенные выше аналоги, предназначены для периодического визуального наблюдения, конструкции которых не позволяют осуществлять дистанционное наблюдение, особенно при работе оператора вблизи представляющих опасность объектов или в труднодоступном для него месте.
В основу изобретения поставлена задача усовершенствования устройства для наблюдения реакционного пространства высокотемпературного реактора путем создания простого конструктивно и технологичного при эксплуатации устройства, в котором в качестве оптического элемента установлена видеокамера с поляризационным светофильтром, электрически связанная с монитором видеонаблюдения, и за счет этого повышается информативность, улучшается возможность обработки полученной информации и достоверность результатов.
Поставленная задача решается тем, что устройство для наблюдения реакционного пространства высокотемпературного реактора, содержащее цилиндрическую водоохлаждаемую оболочку, соосно охватывающую трубу с оптическим элементом во внутренней полости с образованием канала для транспортирования продувочного газа, с продольными сквозными щелями в выходном торце устройства, направленными в сторону центрального отверстия, согласно изобретению в качестве оптического элемента во втулке установлена видеокамера, в которой с помощью зажимного кольца закреплен поляроид, при этом втулка выполнена с радиальными прорезями, равномерно разнесенными по ее боковой поверхности, и установлена во внутренней трубе с минимальным зазором с возможностью вращения с помощью штока вокруг продольной оси совместно с видеокамерой, взаимодействуя торцевыми стенками зажимного кольца с внутренним упором втулки, контактирующей с другой стороны с неподвижной обоймой, в которую вмонтированы второй поляроид и защитное стекло, образующие между собой замкнутую полость, в боковой наклонной стенке обоймы выполнены с постоянным шагом продольные пазы для транспортирования продувочного газа, причем видеокамера электрически связана с блоком питания и с монитором видеонаблюдения, при этом зажимное кольцо с закрепленным в нем поляроидом выполнено, например, из полистирола и установлено на корпусе видеокамеры с натягом, а шток видеокамеры связан с электроприводом.
Для уменьшения интенсивности потока частиц пыли на защитное стекло, расположенное перед поляроидом, конструкцией устройства предусмотрена защита его струей воздуха или инертного газа. При определенной плотности струя воздуха (газа), омывающая стекло, рассеивает поток частиц пыли, защищая его от загрязнения.
Применение видеокамеры в устройстве для наблюдения позволяет выводить информацию на монитор и записывать на различные информационные носители, что улучшает удобства эксплуатации и расширяет эксплуатационные возможности. За счет визуализации фрагмента изображения, по свечению разогретого тела можно определить его температуру.
Поляроиды в данном устройстве служат для плавной регулировки интенсивности светового пучка. Последовательно расположенные на одной оси параллельные поляроиды применяются как затемняющие светофильтры переменной плотности и при повороте одного поляроида относительно второго – неподвижного – интенсивность проходящего через них излучения изменяется от ~40% до ~0,01%. Особое удобство этого устройства обусловливает его преимущественное применение в плазменных металлургических плавильных печах для наблюдения реакционного пространства.
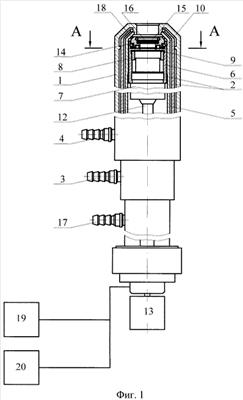
Сущность изобретения поясняется чертежами, где на фиг.1 представлен общий вид устройства, продольный разрез; на фиг.2 – сечение А-А фиг.1.
Устройство для наблюдения реакционного пространства высокотемпературного реактора содержит цилиндрическую водоохлаждаемую оболочку 1 с кольцевыми полостями 2, связанными с патрубками 3 и 4, подводящими и отводящими охлаждающую воду. Оболочка 1 соосно охватывает трубу 5, во внутренней полости которой с помощью втулки 6 установлена видеокамера 7. На объективе видеокамеры 7 с помощью зажимного кольца 8 закреплен поляроид 9. Торцевая стенка зажимного кольца 8 установлена с возможностью взаимодействия с внутренним упором 10 втулки 6. Втулка 6 выполнена с радиальными прорезями 11, равномерно разделенными по ее боковой поверхности, и установлена во внутренней полости трубы 5 с минимальным зазором с возможностью вращения с помощью штока 12 и электропривода 13 вокруг продольной оси совместно с видеокамерой 7. С другой стороны внутреннего упора 10 расположена неподвижная обойма 14, в которой вмонтированы второй поляроид 15 и защитное стекло 16, образующие между собой замкнутую полость. Канал продувочного газа проходит через патрубок 17, внутреннюю полость трубы 5, радиальные прорези 11 во втулке 6 и продольные пазы 18, выполненные с постоянным шагом в боковой наклонной стенке обоймы 14. Видеокамера 7 электрически связана с блоком питания 19 и с монитором 20 видеонаблюдения.
Устройство работает следующим образом.
В оболочку 1 через патрубок 3 поступает охлаждающая вода и, пройдя через систему водяного охлаждения, возвращается через патрубок 4. Продувочный газ (воздух) подается через патрубок 17 в пространство перед защитным стеклом 16 и обеспечивает надежную защиту последнего от воздействия частиц в виде пыли, искр, возникающих при проведении, например, плавки металла в металлургической печи. Защитное стекло 16 не подвергается воздействию силовых нагрузок, так как давления по обе стороны от него одинаковые.
Принцип работы устройства основан на том, что последовательно расположенные на одной оси поляроиды, плоскости поляризации которых взаимно перпендикулярны, не пропускают свет, а изменение угла между подвижным и неподвижным поляроидами приводит к изменению интенсивности проходящего через них света.
При наблюдении за поверхностью расплава в плавильной печи необходимо уменьшать освещенность видеоприемника для получения детальной информации. Двухполяроидный фильтр выполняет роль согласующего элемента между интенсивно излучающей поверхностью расплава и видеоприемником. Угол поворота одного из поляроидов является этим согласующим элементом.
Работа устройства начинается с нулевой освещенности, когда оси поляроидов взаимно перпендикулярны. Вращая один из поляроидов, выбирают оптимальный для видеоприемника уровень освещенности, позволяющий определить детали процесса на поверхности шихты или расплава.
Данное устройство позволяет передать сигнал изображения с видеокамеры на монитор, что повышает эксплуатационные характеристики установки, улучшает возможность обработки полученной информации и достоверность результатов.
Устройство изготовлено и опробовано в условиях работы плазменной плавильной печи.
Формула изобретения
1. Устройство для наблюдения реакционного пространства высокотемпературного реактора, содержащее цилиндрическую водоохлаждаемую оболочку, соосно охватывающую трубу с оптическим элементом во внутренней полости с образованием канала для транспортирования продувочного газа, с продольными сквозными щелями в выходном торце устройства, направленными в сторону центрального отверстия, отличающееся тем, что в качестве оптического элемента во втулке установлена видеокамера, в которой с помощью зажимного кольца закреплен поляроид, при этом втулка выполнена с радиальными прорезями, равномерно разнесенными по ее боковой поверхности, и установлена во внутренней трубе с минимальным зазором с возможностью вращения с помощью штока вокруг продольной оси совместно с видеокамерой, взаимодействуя торцевыми стенками зажимного кольца с внутренним упором втулки, контактирующей с другой стороны с неподвижной обоймой, в которую вмонтированы второй поляроид и защитное стекло, образующие между собой замкнутую полость, в боковой наклонной стенке обоймы выполнены с постоянным шагом продольные пазы для транспортирования продувочного газа, причем видеокамера электрически связана с блоком питания и с монитором видеонаблюдения.
2. Устройство по п.1, отличающееся тем, что зажимное кольцо с закрепленным в нем поляроидом выполнено, например, из полистирола и установлено на корпусе видеокамеры с натягом.
3. Устройство по п.1, отличающееся тем, что шток видеокамеры связан с электроприводом.
РИСУНКИ
|
|