|
|
(21), (22) Заявка: 2007112298/06, 03.04.2007
(24) Дата начала отсчета срока действия патента:
03.04.2007
(43) Дата публикации заявки: 10.10.2008
(46) Опубликовано: 27.04.2009
(56) Список документов, цитированных в отчете о поиске:
FR 1500258 А, 18.01.1968. WO 94 27095 А, 24.11.1994. RU 2178133 А, 10.01.2002. SU 1776924 A1, 23.11.1992. ЕР 0728994 А, 28.08.1996. ЕР 0533514 А, 24.03.1993.
Адрес для переписки:
129327, Москва, а/я 64, Н.А.Туленинову
|
(73) Патентообладатель(и):
Общество с ограниченной ответственностью “СТП-РЕГИОН” (RU)
|
(54) РАДИАТОР С ТЕРМОРЕГУЛИРУЮЩИМ КЛАПАНОМ
(57) Реферат:
Изобретение предназначено для теплообмена и может быть использовано для обогрева помещений. Радиатор выполнен из секций, состоящих из верхней и нижней трубок, соединенных вертикальными трубками. В верхней трубке крайней секции установлен терморегулирующий клапан, а в нижней трубке крайней секции выполнено нижнее входное отверстие и одно боковое резьбовое отверстие. В нижней трубке крайней секции перед резьбовой втулкой установлена перегородка, разделяющая полость крайней нижней трубки крайней секции на две части, одна из которых сообщена с нижним входным отверстием, вертикальной трубкой крайней секции и указанным боковым отверстием, а в другой ее части разделенной полости крайней нижней трубки расположена перегородка и резьбовая втулка. Перегородка выполнена цилиндрической, состыкована с торцом втулки и расположена между линией разъема нижней трубки крайней секции и нижней трубки смежной с ней секции. В верхней трубке крайней секции перед терморегулирующим клапаном установлен гидрораспределитель, корпус которого разделяет полость крайней верхней трубки на две части, в одной из которых установлен упомянутый клапан, а в другой части полости расположена резьбовая втулка. В гидрораспределителе выполнен центральный канал, сообщающий вертикальную трубку с терморегулирующим клапаном, и горизонтальный канал, сообщающий указанные части разделенной полости крайней верхней трубки. Изобретение обеспечивает повышение эффективности работы радиатора. 2 з.п. ф-лы, 3 ил.
Изобретение относится к средствам обогрева помещений, используемым преимущественно в строительстве.
Известны радиаторы, каждый из которых включает секцию с терморегулирующим клапаном, при этом секция содержит верхнюю трубку, с которой вертикальной трубкой жестко соединена нижняя трубка секции, при этом верхняя трубка секции образует с другими верхними трубками других секций радиатора верхнюю магистраль, нижние трубки образуют с другими нижними трубками других секций нижнюю магистраль для теплоносителя, и установленный в верхней трубке секции радиатора терморегулирующий клапан [1-8].
В радиаторах [1, 8] смежные верхние и нижние трубки секций соединены резьбовыми соединительными втулками, терморегулирующий клапан и гидрораспределитель (регулирующе-присоединительная гарнитура) расположены за пределами радиатора на перепускной трубке.
Снаружи радиатора [4] в нижней его части установлен сообщенный вертикальной трубкой с терморегулирующим клапаном многоканальный гидрораспределитель для нижнего и бокового подвода теплоносителя в радиатор.
В известном техническом решении [8] терморегулирующий клапан и гидрораспределитель (регулирующе-присоединительная гарнитура) расположены за пределами радиатора.
Из известных технических решений наиболее близким к представленному в данном описании техническому решению является радиатор с терморегулирующим клапаном, содержащим соединенные между собой резьбовыми втулками трубчатые секции, каждая из которых выполнена из верхней и нижней трубок, соединенных вертикальными трубками, при этом в верхней трубке крайней секции установлен терморегулирующий клапан, а в нижней трубке крайней секции выполнено по крайней мере одно нижнее входное отверстие и одно боковое отверстие, при этом состыкованные верхние и нижние трубки секций образуют верхнюю и нижнюю магистрали, сообщенные между собой вертикальными трубками [8].
Существенным для обеспечения эффективности работы радиатора является эффективная работа терморегулирующего клапана, зависящая от подачи теплоносителя непосредственно в рабочую камеру терморегулирующего клапана на входе в радиатор до процесса передачи тепла секциям радиатора. Другой важной составляющей с точки зрения направления теплоносителя к терморегулирующему клапану является месторасположение канала, подводящего теплоноситель к клапану.
Техническим результатом данного решения является повышение эффективности работы радиатора.
Решаемой и достигаемой задачей данного технического решения является повышение универсальности радиатора и эффективности его работы.
Для достижения этого технического результата в радиаторе с терморегулирующим клапаном, содержащим соединенные между собой резьбовыми втулками трубчатые секции, каждая из которых выполнена из верхней и нижней трубок, соединенных вертикальными трубками, при этом в верхней трубке крайней секции установлен терморегулирующий клапан, а в нижней трубке крайней секции выполнено по крайней мере одно нижнее входное отверстие и одно боковое отверстие, при этом состыкованные верхние и нижние трубки секций образуют верхнюю и нижнюю магистрали, сообщенные между собой вертикальными трубками, в нижней трубке крайней секции перед резьбовой втулкой установлена перегородка, разделяющая полость крайней нижней трубки крайней секции на две части, одна из которых сообщена с нижним входным отверстием, вертикальной трубкой крайней секции и указанным боковым отверстием, а в другой ее части разделенной полости крайней нижней трубки расположена перегородка и резьбовая втулка, при этом перегородка выполнена цилиндрической, с резьбой на ее внешней поверхности, завинченной в резьбу, выполненную под резьбовую втулку, состыкована с торцом этой втулки и расположена между линией разъема нижней трубки крайней секции и нижней трубки смежной с ней секции, а в верхней трубке крайней секции перед терморегулирующим клапаном установлен гидрораспределитель, разделяющий полость крайней верхней трубки на две части, в одной из которых установлен терморегулирующий клапан, а в другой части полости расположена резьбовая втулка, соединяющая смежные верхние трубки, причем в гидрораспределителе выполнен центральный канал, сообщающий вертикальную трубку с терморегулирующим клапаном, и горизонтальный канал, сообщающий указанные части разделенной полости крайней верхней трубки.
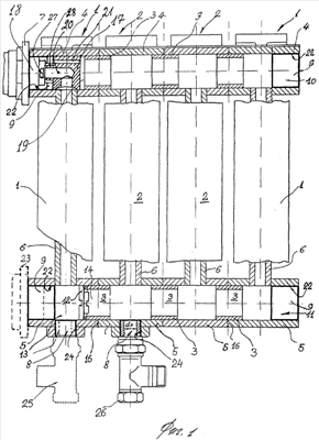
На фиг.1 представлен радиатор с терморегулирующим клапаном, на фиг.2 – терморегулирующий клапан и гидрораспределитель в верхней крайней трубке крайней секции радиатора, на фиг.3 – заглушка и перегородка в нижней крайней трубке крайней секции радиатора.
Радиатор с терморегулирующим клапаном (фиг.1) выполнен из двух крайних трубчатых секций 1 и нескольких промежуточных секций 2. Смежные секции радиатора соединены между собой резьбовыми втулками 3, завинченными в верхние смежные трубки 4 и нижние смежные трубки 5 секций. Каждая верхняя трубка 4 соединена вертикальной трубкой 6 с каждой нижней трубкой 5 любой из секций радиатора.
В верхней трубке 4 крайней левой (по чертежу) секции 1 установлен корпус терморегулирующего клапана 7 (фиг.2), а в нижней трубке 5 крайней левой секции 1 выполнено по крайней мере одно резьбовое нижнее отверстие 8 или два нижних резьбовых отверстия 8 и одно боковое резьбовое отверстие 9. Резьбовые боковые отверстия 9 выполнены также в других крайних трубках 5. Все указанные резьбовые отверстия крайних трубок 5 представляют собой резьбовые ниппели для крепления в них средств соединения труб системы отопления с радиатором, в частности, для крепления в них труб или заглушек.
Состыкованные верхние и нижние трубки секций образуют, соответственно, верхнюю и нижнюю магистрали 10 и 11 (фиг.1), сообщенные между собой вертикальными трубками 6. В нижней трубке 5 крайней левой секции перед резьбовой втулкой 3 установлена перегородка 12, разделяющая полость крайней нижней трубки 5 крайней секции на две части. Одна часть 13 указанной полости сообщена с нижним отверстием 8, вертикальной трубкой 6 крайней левой секции 1 и указанным боковым отверстием 9 нижней трубки 5 крайней левой секции 1. В другой части 14 разделенной указанной полости крайней нижней трубки 5 расположена перегородка 12 и часть резьбовой втулки 3. Перегородка 12 выполнена цилиндрической, с резьбой на ее внешней поверхности, завинченной в резьбу 15 нижней крайней трубки 5 (фиг.3). Резьба 15 выполнена под резьбовую втулку 3 и резьбу перегородки 12. Перегородка 12 (фиг.1) состыкована с торцом резьбовой втулки 3 и расположена между линией 16 разъема нижней трубки 5 крайней секции и нижней трубки 5 смежной с ней секции.
В нижней трубке 5 промежуточной секции 2 радиатора, примыкающей к крайней левой секции 1, выполнено дополнительное нижнее входное отверстие 8 (правое по чертежу, фиг.1).
В верхней трубке 4 крайней левой секции перед терморегулирующим клапаном 7 установлен корпус гидрораспределителя 17, причем этот корпус разделяет полость крайней верхней трубки 4 на две части. В одной части 18 полости верхней трубки 4 установлен терморегулирующий клапан 7, в другой части 19 указанной полости верхней трубки расположена резьбовая втулка 3, соединяющая смежные верхние трубки 4.
В корпусе гидрораспределителя 17 (фиг.2) выполнен центральный канал 20, сообщающий вертикальную трубку 6 с терморегулирующим клапаном 7, в частности – с его рабочей камерой, в которой расположен термоэлемент (не показан). В корпусе гидрораспределителя 17 выполнен, по крайней мере, один дополнительный горизонтальный канал 21, сообщающий части 18 и 19 разделенной полости крайней верхней трубки 4. Канал 21 является дополнительным. Проходное сечение горизонтального канала меньше проходного сечения центрального канала.
Каждая крайняя верхняя трубка 4 и каждая крайняя нижняя трубка 5 (фиг.1) имеют на внутренних поверхностях резьбу 22 под заглушку 23 или под терморегулирущий клапан 7, или под соединительные элементы (не показаны), соединяющие радиатор с трубами (не показаны) системы отопления. Нижние отверстия 8 имеют на внутренних поверхностях резьбу 24 (фиг.1) под присоединительные клапаны 25 и 26 для нижнего подвода теплоносителя. В гидрораспределителе 17 выполнено окно 27, которое сообщено через канал 28 с дополнительным горизонтальным каналом 21.
Работает радиатор следующим образом.
Если в резьбовых нижних входных отверстиях 8 установлены присоединительные клапаны 25 и 26, в резьбовом отверстии верхней трубки 4 крайней левой секции 1 радиатора установлен терморегулирующий клапан 7, в полости верхней трубки 4 установлен гидрораспределитель, а в нижней крайней трубке 5 установлена заглушка 23, то радиатор может быть включен в однотрубную систему отопления, которая характеризуется одной трубой для подвода и отвода теплоносителя через радиатор.
Если в резьбовых нижних входных отверстиях 8 вместо показанных присоединительных клапанов 25 и 26 установлены заглушки (не показаны), терморегулирующий клапан 7 и гидрораспределитель 17 сняты, то радиатор может быть включен в однотрубную или двухтрубную системы отопления с боковым подводом теплоносителя в радиатор.
Если в резьбовых нижних входных отверстиях 8 установлены присоединительные клапаны 25 и 26, а терморегулирующий клапан 7 и гидрораспределитель 17 сняты, то радиатор может быть включен в однотрубную и двухтрубную системы отопления с нижним подводом теплоносителя в радиатор. При этом также возможны другие комбинации подключения радиатора.
В представленном компоновочном решении радиатора, показанном на фиг.1, при снятой заглушке 23 теплоноситель проходит через верхнюю и нижнюю магистрали 10 и 11, трубки 6 правой стороны от перегородки 16, а затем выходит из радиатора через нижнее боковое отверстие 9 крайней секции радиатора.
При необходимости подключения к радиатору труб системы отопления снизу, снимают с радиатора заглушки и на их места устанавливают регулируемые клапаны 25 и 26, затем с ними соединяют подводящую и отводящую трубы системы (не показаны), а в боковые нижние и боковое верхнее отверстия 9 вставляют заглушки 23. В первом случае, при подключении к радиатору труб системы отопления снизу, теплоноситель от подводящей трубы системы отопления проходит через регулируемый клапан 26 справа от перегородки 12, через нижнюю магистраль 11 и трубки 6, расположенные справа от перегородки 12, верхнюю магистраль 11, трубку 6, расположенную слева от перегородки 12, и через регулируемый клапан 26 выходит в отводящую трубу системы отопления.
Во втором случае, при подключении к радиатору труб системы отопления снизу, теплоноситель от подводящей трубы системы отопления проходит через регулируемый клапан 25 слева от перегородки 12, далее через магистраль 10 и трубки 6 – в нижнюю магистраль 11 и выходит через регулируемый клапан 26 в отводящую трубу системы отопления
Аналогичным образом теплоноситель может быть введен в радиатор через нижние или верхние боковые отверстия 9.
В случае, если в радиаторе установлен терморегулирующий клапан 7 и гидрораспределитель 17, то при подаче теплоносителя, например, горячей воды под давлением через входное отверстие 8 радиатора слева от перегородки 12, теплоноситель заполняет пространство между перегородкой и заглушкой 23, проходит по вертикальной трубке 6 вверх, через центральный канал 20 гидрораспределителя 17 и его окно 27 направляется к терморегулирующему клапану 7. При этом образованная гидрораспределителем 17 и терморегулирующим клапаном 7 рабочая полость распределяет теплоноситель на два потока, один из которых поступает в рабочую камеру терморегулирующего клапана 7, где он нагревает термочувствительный элемент, регулирующий расход теплоносителя, подаваемый в радиатор, а другой поток теплоносителя поступает через канал 28, горизонтальный дополнительный канал 21 гидрораспределителя 17 в верхнюю магистраль 10 радиатора и через нее распространяется по вертикальным трубкам 6 секций радиатора в нижней магистрали 11 радиатора. Теплоноситель заполняет радиатор, передает ему тепло, выходит из радиатора через отверстие 8, расположенное с правой стороны от перегородки 12, и поступает по трубопроводу системы отопления в следующий радиатор этой системы.
В процессе теплообмена изменяется температура теплоносителя, радиатора и среды, в которой находится радиатор. В соответствии с указанными изменениями температуры изменяется температура термочувствительного элемента терморегулирующего клапана. Однако при подаче теплоносителя на терморегулирующий клапан, практически на входе в радиатор, в первую очередь температура термочувствительного элемента изменяется в зависимости от температуры введенного в радиатор теплоносителя, контактирующего непосредственно с термочувствительным элементом терморегулирующего клапана. Это приводит к повышению точности регулировки отдачи тепла от радиатора в обогреваемое помещение, эффективности перераспределения тепла между радиаторами системы отопления помещений, исключению перегрева и снижению потерь тепла.
По сути представленный радиатор в максимальной мере является универсальным, обладающим возможностями оптимального перераспределения тепла в системе отопления между другими радиаторами.
Источники информации
1. Биметаллический секционный радиатор «САНТЕХПРОМ БМ», Каталог отопительного оборудования «САНТЕХПРОМ», с.2, 2004.
2. SU 823772, 23.04.1981.
3. WO 00/55548, 21.09.2000.
4. WO 94/27095, 24.11.1994.
5. DE 10135215, 25.07.2002.
6.SU 1413381, 30.07.1988.
7. Радиаторные терморегуляторы RTD, Каталог фирмы Danfoss, с.33.
8. Радиатор биметаллический секционный «САНТЕХПРОМ БМ», Каталог «Отопительные приборы для современного строительства», «САНТЕХПРОМ», 2006 г., с.3, 22 и 23 (прототип, копии прилагаются).
Формула изобретения
1. Радиатор с терморегулирующим клапаном, выполненный из соединенных между собой резьбовыми втулками трубчатых секций, каждая из которых выполнена из верхней и нижней трубок, соединенных вертикальными трубками, при этом в верхней трубке крайней секции установлен терморегулирующий клапан, а в нижней трубке крайней секции выполнено по крайней мере одно нижнее входное отверстие и одно боковое резьбовое отверстие под заглушку или под элемент для соединения радиатора с трубой системы отопления, при этом состыкованные верхние и нижние трубки секций образуют верхнюю и нижнюю магистрали, сообщенные между собой вертикальными трубками, отличающийся тем, что в нижней трубке крайней секции перед резьбовой втулкой установлена перегородка, разделяющая полость крайней нижней трубки крайней секции на две части, одна из которых сообщена с нижним входным отверстием, вертикальной трубкой крайней секции и указанным боковым отверстием, а в другой ее части разделенной полости крайней нижней трубки расположена перегородка и резьбовая втулка, при этом перегородка выполнена цилиндрической, с резьбой на ее внешней поверхности, завинченной в резьбу, выполненную под резьбовую втулку, состыкована с торцом этой втулки и расположена между линией разъема нижней трубки крайней секции и нижней трубки смежной с ней секции, а в верхней трубке крайней секции перед терморегулирующим клапаном установлен гидрораспределитель, корпус которого разделяет полость крайней верхней трубки на две части, в одной из которых установлен терморегулирующий клапан, а в другой части полости расположена резьбовая втулка, соединяющая смежные верхние трубки, причем в гидрораспределителе выполнен центральный канал, сообщающий вертикальную трубку с терморегулирующим клапаном, и, по крайней мере, один горизонтальный канал, сообщающий указанные части разделенной полости крайней верхней трубки.
2. Радиатор по п.1, отличающийся тем, что перегородка завинчена в резьбу крайней нижней трубки, образующей собой ниппель для присоединения к нему заглушки или трубы системы отопления.
3. Радиатор по п.1, отличающийся тем, что проходное сечение горизонтального канала меньше проходного сечения центрального канала.
РИСУНКИ
|
|