|
|
(21), (22) Заявка: 2007148760/06, 25.12.2007
(24) Дата начала отсчета срока действия патента:
25.12.2007
(46) Опубликовано: 27.04.2009
(56) Список документов, цитированных в отчете о поиске:
КОНДАКОВ Л.А. и др. Уплотнения и уплотнительная техника. Справочник. – М.: Машиностроение, 1994, с.161. RU 2173422 C1, 10.09.2001. SU 1040255 A1, 07.09.1983. RU 2132499 С1, 27.06.1999. US 5433452 А, 18.07.1995. US 6497415 B2, 24.12.2002.
Адрес для переписки:
430000, Республика Мордовия, г.Саранск, ул. Большевистская, 68, ГОУ ВПО “МГУ им. Н.П. Огарева”, отдел патентов и стандартов
|
(72) Автор(ы):
Водяков Владимир Николаевич (RU), Кузнецов Вячеслав Викторович (RU), Березин Михаил Александрович (RU), Борисов Виталий Иванович (RU)
(73) Патентообладатель(и):
Государственное образовательное учреждение высшего профессионального образования “Мордовский государственный университет им. Н.П. Огарева” (RU)
|
(54) КОМБИНИРОВАННОЕ УПЛОТНИТЕЛЬНОЕ СОЕДИНЕНИЕ
(57) Реферат:
Изобретение относится к уплотнительной технике. Комбинированное уплотнительное соединение включает герметизируемую деталь, содержащую кольцевую канавку прямоугольного сечения и размещенные в ней кольцевой элемент прямоугольного сечения из антифрикционного материала с шириной, равной ширине кольцевой канавки, взаимодействующий с герметизируемой контрдеталью, и эластомерное кольцо исходно круглого сечения, взаимодействующее с кольцевым элементом и дном канавки. В кольцевом элементе и на дне канавки прямоугольного сечения выполнены кольцевые канавки с поперечными сечениями в виде сегментов эллипса, имеющего оси, совпадающие с осями деформированного поперечного сечения эластомерного кольца. Изобретение повышает надежность уплотнения. 2 ил.
Изобретение относится к уплотнительной технике и может быть использовано, преимущественно, для герметизации соединений с возвратно-поступательным движением деталей.
Известно уплотнительное соединение, включающее герметизируемые детали, одна из которых содержит кольцевую канавку прямоугольного сечения, и размещенное в ней эластомерное уплотнительное кольцо исходно круглого сечения с объемом, меньшим объема кольцевой канавки, взаимодействующее с контрдеталью (ГОСТ 9833-73. Кольца резиновые уплотнительные круглого сечения для гидравлических и пневматических устройств. Конструкция и размеры).
Недостатками такого соединения являются: низкий ресурс эксплуатации из-за высокой скорости релаксации контактных напряжений, обусловленной значительной неоднородностью их распределения, склонность к скручиванию под действием сил трения, ведущая к потере герметичности и повреждениям колец, возрастающая с увеличением их диаметров. При использовании такого уплотнения из-за значительной силы трения по уплотняемой поверхности требуется большое усилие для относительного перемещения уплотняемых деталей, что приводит к быстрому износу как кольца, так и уплотняемых поверхностей.
Наиболее близким техническим решением является комбинированное уплотнение для подвижных соединений, включающее герметизируемые детали, одна из которых содержит кольцевую канавку прямоугольного сечения и размещенные в ней кольцевой элемент прямоугольного сечения из антифрикционного материала с шириной, равной ширине канавки, взаимодействующий с контрдеталью, и эластомерное кольцо исходно круглого сечения, взаимодействующее с кольцевым элементом и дном канавки (Уплотнения и уплотнительная техника: Справочник. Л.А.Кондаков, А.И.Голубев, О.Б.Овандер и др., под общей ред. А.И.Голубева и Л.А.Кондакова. – М.: Машиностроение, 1994, с.161, рис.4.22, а).
Такое уплотнение предотвращает скручивание и повреждение эластомерных колец, имеет невысокую интенсивность механического износа уплотняемых и уплотняющих деталей, но имеет недостаточный ресурс также из-за быстрой релаксации контактных напряжений в эластомерном кольце.
Технический результат заключается в повышении ресурса комбинированного уплотнительного соединения за счет снижения скорости релаксации контактных напряжений в эластомерном кольце.
Сущность изобретения заключается в том, что в комбинированном уплотнительном соединении, включающем герметизируемые детали, одна из которых содержит кольцевую канавку прямоугольного сечения и размещенные в ней кольцевой элемент прямоугольного сечения из антифрикционного материала с шириной, равной ширине кольцевой канавки, взаимодействующий с контрдеталью, и эластомерное кольцо исходно круглого сечения, взаимодействующее с кольцевым элементом и дном канавки, в кольцевом элементе и на дне канавки прямоугольного сечения выполнены кольцевые канавки с поперечными сечениями в виде сегментов эллипса, имеющего оси, совпадающие с осями деформированного поперечного сечения эластомерного кольца. На дне кольцевой канавки установлен дополнительный кольцевой элемент с поперечным сечением, симметричным сечению кольцевого элемента, выполненный из идентичного материала.
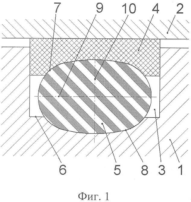
На фиг.1 показано уплотнительное соединение в рабочем состоянии, на фиг.2 – уплотнительное соединение до сжатия эластомерного кольца круглого сечения.
Комбинированное уплотнительное соединение включает герметизируемые деталь 1 и контрдеталь 2 (фиг.1). Герметизируемая деталь 1 содержит кольцевую канавку прямоугольного сечения 3 и размещенные в ней кольцевой элемент 4 прямоугольного сечения из антифрикционного материала с шириной, равной ширине кольцевой канавки 3, взаимодействующий с герметизируемой контрдеталыо 2, и эластомерное кольцо 5 исходно круглого сечения, взаимодействующее с кольцевым элементом 4 и дном 6 кольцевой канавки 3. В кольцевом элементе 4 и на дне 6 кольцевой канавки 3 прямоугольного сечения выполнены кольцевые канавки 7 и 8 с поперечными сечениями в виде сегментов эллипса, имеющего оси 9 и 10, совпадающие с осями деформированного поперечного сечения эластомерного кольца 5.
Уплотнительное соединение работает следующим образом. При монтаже соединения кольцевой элемент 4 радиально деформируется, передавая нагрузку эластомерному кольцу 5, которое, упруго деформируясь, заполняет объем кольцевых канавок 7, 8 в деталях 1 и 4, обеспечивая требуемые начальные напряжения на границах контакта с деталями 1, 4, и на подвижной границе контакта кольцевого элемента 4 с контрдеталью 2.
В предлагаемом уплотнительном соединении релаксация контактных напряжений происходит с существенно меньшей скоростью, что вызвано повышением доли нерелаксирующих гидростатических напряжений в областях массива эластомерного кольца 5, располагающихся в дополнительных кольцевых канавках 7 и 8. Из-за различия коэффициентов трения у взаимодействующих пар 4, 5 и 1, 5 при монтаже уплотнительного соединения в контактных областях эластомерного кольца формируются несимметричные эпюры контактных напряжений, что снижает ресурс соединения из-за разной скорости релаксации последних. Установка на дне 6 кольцевой канавки 3 дополнительного кольцевого элемента 11 с поперечным сечением, симметричным сечению кольцевого элемента 4, выполненного из идентичного материала, позволяет сформировать симметричные эпюры контактных напряжений, что также способствует повышению ресурса уплотнительного соединения.
Таким образом, предлагаемое уплотнительное соединение обеспечивает повышение ресурса эксплуатации за счет существенного снижения скорости релаксации контактных напряжений.
Формула изобретения
Комбинированное уплотнительное соединение, включающее герметизируемую деталь, содержащую кольцевую канавку прямоугольного сечения и размещенные в ней кольцевой элемент прямоугольного сечения из антифрикционного материала с шириной, равной ширине кольцевой канавки, взаимодействующий с герметизируемой контрдеталью, и эластомерное кольцо исходно круглого сечения, взаимодействующее с кольцевым элементом и дном канавки, отличающееся тем, что в кольцевом элементе и на дне канавки прямоугольного сечения выполнены кольцевые канавки с поперечными сечениями в виде сегментов эллипса, имеющего оси, совпадающие с осями деформированного поперечного сечения эластомерного кольца.
РИСУНКИ
|
|