|
|
(21), (22) Заявка: 2007114694/03, 18.04.2007
(24) Дата начала отсчета срока действия патента:
18.04.2007
(43) Дата публикации заявки: 27.10.2008
(46) Опубликовано: 27.04.2009
(56) Список документов, цитированных в отчете о поиске:
РД 39-2-1182-84. Инструкция по оборудованию устьев и стволов опорных, параметрических, поисковых, разведочных, эксплуатационных, наблюдательных, нагнетательных, структурных, структурно-геохимических и специальных скважин при их ликвидации или консервации. – М.: Миннефтепром, Мингазпром, Мингеологии, Госгортехнадзор СССР, 1985, с.10-13. RU 2203304C2, 27.04.2003. RU 2187532 C1, 20.08.2002. RU 2283337 C1, 10.09.2006. RU 2262588 C1, 20.10.2005. US 5990050 A, 23.11.1999.
Адрес для переписки:
625051, г.Тюмень, а/я 5825, Л.П. Кустышевой
|
(72) Автор(ы):
Кустышев Александр Васильевич (RU), Гейхман Михаил Григорьевич (RU), Маринин Валерий Иванович (RU), Кустышев Игорь Александрович (RU), Немков Алексей Владимирович (RU)
(73) Патентообладатель(и):
Кустышев Александр Васильевич (RU), Гейхман Михаил Григорьевич (RU), Маринин Валерий Иванович (RU), Кустышев Игорь Александрович (RU), Немков Алексей Владимирович (RU)
|
(54) СПОСОБ КОНСЕРВАЦИИ ГАЗОВЫХ И ГАЗОКОНДЕНСАТНЫХ СКВАЖИН С ВЫСОКОЙ ПРОНИЦАЕМОСТЬЮ ПРОДУКТИВНОГО ПЛАСТА В УСЛОВИЯХ АНОМАЛЬНО НИЗКИХ ПЛАСТОВЫХ ДАВЛЕНИЙ
(57) Реферат:
Изобретение относится к нефтегазодобывающей промышленности, а именно к консервации газовых и газоконденсатных скважин с высокой проницаемостью продуктивного пласта в условиях аномально низких пластовых давлений. Технический результат изобретения состоит в устранении загрязнения продуктивного пласта за счет блокирования продуктивного пласта, предотвращающего попадания в него заливаемой в скважину жидкости, и облегчении вызова притока газа из продуктивного пласта после завершения периода консервации скважины. В способе консервации газовых и газоконденсатных скважин с высокой проницаемостью продуктивного пласта в условиях аномально низких пластовых давлений, включающем заполнение ствола скважины жидкостью через фонтанную арматуру, закрытие задвижки фонтанной арматуры и выдержку скважины под давлением, в качестве жидкости используют метанольную воду, содержащую дополнительно алюмосиликатные микросферы при равной плотности воды и микросфер, объем смеси указанных метанольной воды и алюмосиликатных микросфер определяют по уравнению: Vж= ·D2 вн·(h1+h2)/4, где Vж – объем смеси водометанольной воды с алюмосиликатными микросферами, м; Dвн – внутренний диаметр эксплуатационной колонны, м; h1 – интервал перфорационных отверстий, м; h2 – глубина забоя, м. 1 ил.
Изобретение относится к нефтегазодобывающей промышленности, а именно к консервации газовых и газоконденсатных скважин с высокой проницаемостью продуктивного пласта в условиях аномально низких пластовых давлений (АНПД).
Известен способ консервации скважины, включающий заполнение ствола скважины жидкостью через фонтанную арматуру, закрытие задвижки фонтанной арматуры и выдержку скважины под давлением [РД 39-2-1182-84. Инструкция по оборудованию устьев и стволов опорных, параметрических, поисковых, разведочных, эксплуатационных, наблюдательных, нагнетательных, структурных, структурно-геохимических и специальных скважин при их ликвидации или консервации. – М.: Миннефтепром, Мингазпром, Мингеологии, Госгортехнадзор СССР, 1985. – С.10-13].
Недостатком этого способа при консервации скважин в условиях АНПД, расположенных в зоне многолетнемерзлых пород (ММП), является обязательное глушение скважины, извлечение из скважины лифтовой колонны с внутрискважинным оборудованием, спуск в скважину промывочных труб, промывка ствола скважины и интервала перфорационных отверстий промывочной жидкостью, замена ее на инертную жидкость, а в зоне ММП для предотвращения смятия эксплуатационной колонны при обратном промерзании горных пород – на незамерзающую жидкость. В результате этого продолжительность работ по консервации скважин достаточно большая, при этом происходит загрязнение продуктивного пласта жидкостью глушения и заполнение фильтрационных каналов и пор продуктивного пласта инертной жидкостью, которая не коррозирует с металлом труб эксплуатационной и лифтовой колонн, но негативно сказывается на продуктивной характеристике скважины. В результате затруднен вызов притока газа из продуктивного пласта после окончания консервации скважины вплоть до невозможности освоить скважину.
Известен способ консервации скважины, включающий заполнение ствола скважины жидкостью через фонтанную арматуру, закрытие задвижки фонтанной арматуры и выдержку скважины под давлением [РД 08-347-00. Инструкция о порядке ликвидации, консервации скважин и оборудовании их устьев и стволов. – М.: Госгортехнадзор, 2000. – С.24-26].
Недостатком этого способа при консервации газовых и газоконденсатных скважин в условиях АНПД, расположенных в зоне ММП, является обязательное глушение скважины, извлечения из скважины лифтовой колонны с внутрискважинным оборудованием, спуск в скважину промывочных труб, промывка ствола скважины и интервала перфорационных отверстий промывочной жидкостью, замена ее на инертную жидкость, а в зоне ММП для предотвращения смятия эксплуатационной колонны при обратном промерзании горных пород – на незамерзающую жидкость. В результате этого продолжительность работ по консервации скважин достаточно большая, при этом происходит загрязнение продуктивного пласта жидкостью глушения и заполнение фильтрационных каналов и пор продуктивного пласта инертной жидкостью, которая не коррозирует с металлом труб эксплуатационной и лифтовой колонн, но негативно сказывается на продуктивной характеристике скважины. В результате затруднен вызов притока газа из продуктивного пласта после окончания консервации скважины вплоть до невозможности освоить скважину.
Задача, стоящая при создании изобретения, состоит в разработке надежного способа консервации скважины в условиях АНПД.
Достигаемый технический результат, который получается в результате создания изобретения, состоит в устранении загрязнения продуктивного пласта за счет блокирования продуктивного пласта, предотвращающего попадания в него заливаемой в скважину жидкости, и облегчении вызова притока газа из продуктивного пласта после завершения периода консервации скважины.
Технический результат достигается тем, что в известном способе консервации газовых и газоконденсатных скважин с высокой проницаемостью продуктивного пласта в условиях АНПД, включающем заполнение ствола скважины жидкостью через фонтанную арматуру, закрытие задвижки фонтанной арматуры и выдержку скважины под давлением, в отличие от прототипа в качестве жидкости используют метанольную воду, содержащую дополнительно алюмосиликатные микросферы при равной плотности воды и микросфер, объем смеси указанных метанольной воды и алюмосиликатных микросфер определяют по уравнению:
Vж= ·D2 вн·(h1+h2)/4,
где Vж – объем смеси водометанольной воды с алюмосиликатными микросферами,
м3;
Dвн – внутренний диаметр эксплуатационной колонны, м;
h1 – интервал перфорационных отверстий, м;
h2 – глубина забоя, м.
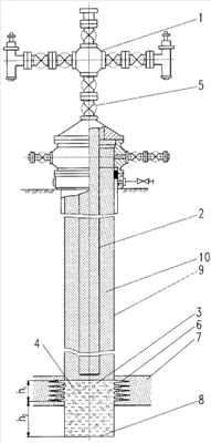
На чертеже показан способ реализации заявляемого изобретения.
Способ реализуется следующим образом. Ствол газовых и газоконденсатных скважин заполняют через фонтанную арматуру 1 и находящуюся в скважине лифтовую колонну 2 смесью жидкости 3, в качестве которой используют метанольную воду, содержащую дополнительно алюмосиликатные микросферы 4, закрывают задвижки 5 фонтанной арматурой 1 и оставляют газовые и газоконденсатные скважины под давлением. При этом плотности метанольной воды 3 и алюмосиликатных микросфер 4 равны, а объем смеси определяют по уравнению:
Vж= ·D2 вн·(h1+h2)/4,
где Vж – объем смеси метанольной воды с алюмосиликатными микросферами, м3;
Dвн – внутренний диаметр эксплуатационной колонны, м;
h1 – интервал перфорационных отверстий, м;
h2 – глубина забоя, м.
В результате метанольная вода 3 с алюмосиликатными микросферами 4 под воздействием столба этой смеси заполняет перфорационные отверстия 6 и блокирует продуктивный пласт 7, не позволяя оставшейся на забое 8 метанольной воде 3 проникнуть в него и снизить продуктивную характеристику скважины.
Для большего эффекта блокирования продуктивного пласта 7 в лифтовой колонне 2 создают избыточное давление, под воздействием которого алюмосиликатные микросферы 4, находящиеся в составе смеси, перекроют перфорационные отверстия 6. Избыточное давление в лифтовой колонне 2 поддерживают до тех пор, пока ее величина не начинает увеличиваться, что свидетельствует о полном блокировании продуктивного пласта 7.
После заполнения ствола газовых и газоконденсатных скважин смесью метанольной воды 3 с алюмосиликатными микросферами 4 и закрытия задвижек 5 фонтанной арматуры 1 штурвалы с задвижек 5 фонтанной арматуры 1 при необходимости снимают.
Применение алюмосиликатных микросфер 4 позволяет надежно заблокировать продуктивный пласт 7, а затем легко его разблокировать. Применение метанольной воды 3 обеспечивает коррозионо- и морозостойкость эксплуатационной колонны 9, лифтовой колонны 2 и фонтанной арматуры 1, предотвращает загрязнение продуктивного пласта 7. Наличие смеси метанольной воды 3 с алюмосиликатными микросферами 4 на забое 8 скважины в расчетном объеме обеспечивает надежное блокирование продуктивного пласта 7 и необходимое противодавление, препятствуя поступлению газа из продуктивного пласта 7 с одной стороны, а с другой обеспечивает сохранность продуктивной характеристики скважины. Наличие смеси метанольной воды 3 с алюмосиликатными микросферами 4 небольшого объема и столба газа 10 над нею облегчает вызов притока газа из продуктивного пласта 7.
Пример реализации способа.
Ствол газоконденсатной скважины глубиной 3500 м, оборудованной эксплуатационной колонной диаметром 168 мм (с внутренним диаметром Dвн 150,3 мм), и имеющей забой h2 глубиной 40 м и интервал перфорационных отверстий h1, равный 80 м, через фонтанную арматуру и находящуюся в скважине лифтовую колонну заполнили расчетным объемом смеси метанольной воды с алюмосиликатными микросферами, имеющими равные плотности, Vж, определенный по уравнению:
Vж= ·D2 вн·(h1+h2)/4.
Объем смеси метанольной воды с алюмосиликатными микросферами рассчитан без учета толщины стенки лифтовой колонны, так как погрешность незначительная.
Vж=3,14·0,0225·(80+40)/4=2,12 м3.
После заполнения ствола скважины смесью метанольной воды с алюмосиликатными микросферами создали в скважине избыточное давление, под воздействием которого алюмосиликатные микросферы, находящиеся в составе смеси, перекрыли перфорационные отверстия, о чем свидетельствовало небольшое увеличение давления в скважине. После этого избыточное давление снизили до величины, на 10% превышающей пластовое.
Закрыли задвижки на фонтанной арматуре и скважину оставили под давлением. Штурвалы с задвижек фонтанной арматуры сняли.
Предлагаемый способ консервации газовых и газоконденсатных скважин с высокой проницаемостью продуктивного пласта в условиях АНПД эффективен, когда любое загрязнение продуктивного пласта может привести к большим временным и материальным затратам и даже к невозможности вообще освоить и пустить газовую или газоконденсатную скважину в работу после завершения периода ее консервации. Способ более надежен, так как устраняет загрязнение продуктивного пласта за счет его блокирования алюмосиликатными микросферами, препятствующими проникновению в него метанольной воды или поступлению на забой газовых и газоконденсатных скважин газа из продуктивного пласта. Устраняет заполнение фильтрационных каналов и пор жидкостью, которую удалить из них практически полностью не удается, что ведет к снижению продуктивной характеристики газовых и газоконденсатных скважин. Обеспечивает экологическую чистоту и безопасность газовых и газоконденсатных скважин, находящихся в консервации.
Формула изобретения
Способ консервации газовых и газоконденсатных скважин с высокой проницаемостью продуктивного пласта в условиях аномально низких пластовых давлений, включающий заполнение ствола скважины жидкостью через фонтанную арматуру, закрытие задвижки фонтанной арматуры и выдержку скважины под давлением, отличающийся тем, что в качестве жидкости используют метанольную воду, содержащую дополнительно алюмосиликатные микросферы при равной плотности воды и микросфер, объем смеси указанных метанольной воды и алюмосиликатных микросфер определяют по уравнению Vж= ·D2 вн·(h1+h2)/4, где Vж – объем смеси водометанольной воды с алюмосиликатными микросферами, м3; Dвн – внутренний диаметр эксплуатационной колонны, м; h1 – интервал перфорационных отверстий, м; h2 – глубина забоя, м.
РИСУНКИ
|
|