|
(21), (22) Заявка: 2006129482/06, 05.05.2004
(24) Дата начала отсчета срока действия патента:
05.05.2004
(30) Конвенционный приоритет:
15.01.2004 IT MI2004A000040
(43) Дата публикации заявки: 20.02.2008
(46) Опубликовано: 27.04.2009
(56) Список документов, цитированных в отчете о поиске:
SU 1908667 А, 01.01.1967. RU 2061019 C1, 27.05.1996. SU 1560546 A1, 30.04.1994. GB 813565 A, 21.05.1959. DE 3702963 A, 11.08.1988.
(85) Дата перевода заявки PCT на национальную фазу:
15.08.2006
(86) Заявка PCT:
EP 2004/004756 20040505
(87) Публикация PCT:
WO 2005/068926 20050728
Адрес для переписки:
103735, Москва, ул. Ильинка, 5/2, ООО “Союзпатент”, пат.пов. С.Б.Фелицыной, рег. 303
|
(72) Автор(ы):
СПОТО Маурицио (IT), СПОТО Бенедетто (IT)
(73) Патентообладатель(и):
ПАЙКОС ЭНДЖИНИРИНГ (ЮК) ЛТД. (GB)
|
(54) УЛУЧШЕННЫЙ РАДИАЦИОННЫЙ ТЕПЛООБМЕННИК
(57) Реферат:
Изобретение предназначено для теплообмена и может быть использовано в печи для осуществления крекинга в паровой фазе. Печь содержит топку и радиационный змеевик. Радиационный змеевик содержит несколько радиационных теплообменников, размещенных последовательно внутри топки. Каждый из радиационных теплообменников содержит трубу, нагреваемую с помощью горелок, а внутри трубы размещено тело таким образом, что текучая среда обтекает тело. Тело выполнено с возможностью приема лучистой энергии, излучаемой трубой, охватывающей тело. Тело имеет форму цилиндра, снабженного на двух концах оживалами. Один оживал расположен на конце, обращенном в сторону набегающего потока, а другой оживал выполнен на противоположном конце, расположенном ниже по потоку. Тело центрировано внутри трубы для образования кольцевого зазора постоянной ширины. Способ повышения селективности и уменьшения отложений кокса, уменьшения их нарастания и коксования в печи для проведения парофазного крекинга в установках для производства этилена заключатся в том, что сокращают время контактирования газа со стенкой труб, причем в печи температура металла находится в интервале от 900 до 1175°C, а температура технологического газа находится в интервале от 600 до 900°С. Изобретение обеспечивает увеличение эффективности теплообмена. 2 н. и 6 з.п. ф-лы, 4 ил.
Область техники, к которой относится изобретение
Настоящее изобретение относится к более эффективному теплообменнику. Настоящее изобретение относится также к теплообменному устройству, образованному из нескольких таких улучшенных теплообменников. Кроме того, изобретение относится к способу интенсификации теплообмена.
Конкретное применение изобретения заключается в размещении нескольких таких усовершенствованных теплообменников в радиационном змеевике, установленном в печи для осуществления крекинга в паровой фазе.
Уровень техники
Различают три основных вида переноса тепла, а именно теплопроводность, конвекция и излучение.
В традиционных теплообменниках теплота передается от горячей текучей среды к холодной текучей среде через стенку трубы, главным образом, за счет двух механизмов: конвекции и теплопроводности.
Тепловой поток является функцией поверхности теплообмена, коэффициента теплоотдачи и разности температур стенки трубы и нагреваемой (или охлаждаемой) текучей среды.
Существующие в настоящее время технические решения, направленные на повышение эффективности теплообмена, заключаются в использовании оребренных труб для увеличения поверхности теплообмена или в реализации развитого режима турбулентного течения текучей среды.
В случае функционирования теплообменников при высокой температуре, например при температуре более 400°С, и, в частности, в радиационном змеевике технологической печи для проведения парофазного крекинга углеводородов (когда температура стенок труб может достигать величины до 1150°С или даже более) дополнительные требования процесса возрастают.
В установке для производства этилена важным условием является функционирование печей парофазного крекинга как можно при более высоких глубине превращения и селективности.
Повышение селективности означает увеличение процентного содержания более ценных продуктов, например этилена, пропилена, бутадиена при расходовании менее ценных продуктов (метан, нефтяное топливо и т.п.).
Высокая селективность достигается в том случае, если продолжительность обработки мала, а температура технологического газа достаточно высока, чтобы обеспечить высокую степень превращения исходного сырья.
Решение вышеуказанных проблем достигается за счет увеличения теплового потока (следствием чего является рост температуры металла до величины, близкой к металлургическому пределу).
Высокая температура металла приводит к нежелательным эффектам, а именно высокой интенсивности отложения кокса, его накапливанию и закоксовыванию труб.
В определенных случаях технические решения ориентированы также на повышение коэффициента теплоотдачи за счет использования труб с внутренними ребрами различного профиля (поперечные, продольные или расположенные под определенными углами ребра).
Недостаток использования выступающих поверхностей заключается в высокой стоимости изготовления и трудности формирования ребер внутри радиационного змеевика в существующих крекинг-печах для производства этилена.
Иногда внутренние выступы в трубах крекинг-печи могут быть причиной коксования из-за образования застойных зон поступающего газа, что приводит к чрезмерно глубокому крекингу,
Известная технология сконцентрирована на улучшении передачи тепла путем конвекции.
Сущность изобретения
Заявитель считает, что перенос теплоты может быть значительно увеличен за счет третьего механизма: передачи теплоты путем излучения.
В частности, теплообмен излучением играет важную роль, когда для проведения технологического процесса требуются высокие температуры, например более 400°С, поскольку величина теплового потока излучения пропорциональна четвертой степени абсолютной температуры (К) излучающего тела. Эта зависимость известна как закон Стефана-Больцмана.
Другими словами, обмен энергией между двумя поверхностями с различной температурой пропорционален разности четвертых степеней абсолютных температур этих двух тел.
В печах для проведения парофазного крекинга температура металла находится в интервале от 900 до 1175°С, в то время как температура технологического газа составляет от 600 до 900°С.
При таких рабочих условиях лучистый теплообмен должен достигать значительной величины, но на практике в радиационных змеевиках существующих печей теплообмен излучением по существу не происходит по следующим причинам:
1. Труба, в силу геометрических факторов, излучает сама на себя и, следовательно, общая передача лучистой энергии пренебрежимо мала.
2. Теплота излучения, поглощаемая газом, подвергаемым крекингу, пренебрежимо мала, поскольку плотность газа слишком мала.
Задача настоящего изобретения заключается в создании теплообменника, способного увеличить коэффициент конвективной теплопередачи, поверхность теплообмена, прежде всего величину теплового потока благодаря вкладу механизма излучения.
Другая задача данного изобретения заключается в создании улучшенного теплообменника, который можно использовать во всех типах печей, но, в особенности, в крекинг-печах для производства этилена. Еще одна задача изобретения заключается в обеспечении способа повышения величины передаваемого теплового потока.
Преимущество использования улучшенного радиационного теплообменника (УРТ) в соответствии с изобретением заключается в том, что он позволяет резко повысить теплообмен в крекинг-печи для получения этилена, в то же время поддерживая температуру внешней стенки трубы низкой.
Помимо увеличения длительности последовательных циклов работы печи, за счет уменьшенной интенсивности коксования можно ожидать большую селективность (т.е. больший выход этилена и пропилена по сравнению с неоребренными трубами).
Кроме того, будут снижены эксплуатационные затраты из-за увеличения интервалов коксоудаления.
Для рентабельности производственного процесса интенсивность коксообразования и его накапливания, имеющие отношение к ТМТ и отложению кокса, должны быть сведены к минимуму.
Эти и другие возможности и преимущества, предоставляемые настоящим изобретением, могут быть достигнуты за счет применения предложенного УРТ в печи для проведения крекинга в паровой фазе, которая содержит топку, подовые горелки и радиационный змеевик, при этом радиационный змеевик содержит несколько радиационных теплообменников, размещенных последовательно внутри топки, при этом каждый из радиационных теплообменников содержит трубу, нагреваемую с помощью горелок, а внутри трубы размещено, по меньшей мере, одно тело таким образом, что текучая среда (F) обтекает тело, при этом тело выполнено с возможностью приема лучистой энергии, излучаемой трубой, охватывающей тело, причем тело имеет форму цилиндра, снабженного на двух концах оживалами, при этом один оживал расположен на конце, обращенном в сторону набегающего потока, а другой оживал выполнен на противоположном конце, расположенном ниже по потоку, при этом труба образует с телом кольцевой зазор для протекания через него потока текучей среды (F), а тело центрировано внутри трубы для образования кольцевого канала постоянной ширины для обеспечения равномерной передачи теплоты текучей среде (F).
Дополнительные особенности настоящего изобретения характеризуются тем, что концы тела, расположенные ниже и выше по ходу течения потока, имеют форму, которая не возмущает набегающий на тело или покидающий тело поток текучей среды (F), протекающий через кольцевой зазор, образованный между трубой и телом. Кроме того, центрированное расположение тела обеспечивается с помощью, по меньшей мере, одной распорки, предпочтительно с помощью множества распорок, каждая из которых состоит из трех элементов, расположенных под углом 120° относительно друг друга, для того чтобы избежать нерегулярных возмущений потока текучей среды. Предпочтительно тело поддерживается с помощью опорного элемента вблизи конца, находящегося ниже по потоку.
Способ улучшения теплообмена между трубой и текучей средой, протекающей внутри самой трубы и, в частности, через радиационный змеевик печи для проведения парофазного крекинга, является объектом изобретения по пункту 5 формулы. Для повышения селективности и уменьшения отложений кокса, уменьшения их нарастания и коксования в печи для проведения парофазного крекинга в установках для производства этилена путем увеличения теплообмена предложено сокращать время контактирования газа со стенкой труб, причем в печи, охарактеризованной в пункте 1, температура металла находится в интервале от 900 до 1175°С, а температура технологического газа находится в интервале от 600 до 900°С.
УРТ, соответствующий настоящему изобретению, включает в себя трубу, нагреваемую внешним источником теплоты.
Внутри трубы установлено, по меньшей мере, одно тело, которое воспринимает лучистую энергию от этой трубы и передает ее путем конвекции технологическому газу, протекающему по кольцевому зазору.
Настоящее изобретение будет более понятно, а другие решаемые задачи будут ясны из нижеследующего подробного описания изобретения со ссылками на чертежи.
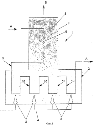
Фиг.1 – схематическое изображение печи для проведения парофазного крекинга с радиационным змеевиком, снабженным несколькими улучшенными радиационными теплообменниками, соответствующими настоящему изобретению.
Фиг.2а и 2b – схематические виды спереди и сверху одного возможного воплощения УРТ, соответствующего настоящему изобретению.
Фиг.3 – схематическое изображение другого воплощения УРТ, соответствующего настоящему изобретению.
Подробное описание предпочтительных примеров осуществления изобретения
Печь для проведения крекинга в паровой фазе, показанная на фиг.1, выбрана для иллюстрации преимуществ использования УРТ, соответствующего настоящему изобретению.
Тем не менее, должно быть очевидным, что каждый теплообменник, используемый во множестве технологических процессах, проводимых при высоких температурах, например, более 400°С, может быть снабжен УРТ, в котором согласно настоящему изобретению для увеличения теплопередачи эффективно используется энергия излучения.
Печь 1 содержит топку 2, подовые горелки 3 и трубопроводы 4, служащие для распределения горючего газа и его подвода к горелкам.
В топке 2 установлен радиационный змеевик 5, через который проходит текучая среда F с параметрами, соответствующими конкретным требованиям технологического процесса (нагревание, крекинг или, в целом, передача теплоты).
Радиационный змеевик 5 подсоединен к конвективному пучку труб 6.
В конвективном теплообменнике 6 текучая среда F подогревается горячими топочными газами 8, покидающими топку через конвективную зону в направлении дымовой трубы В.
Радиационный змеевик 5 состоит из нескольких улучшенных радиационных теплообменников 10, расположенных последовательно и имеющих расчетную поверхность, обеспечивающую поглощение теплового потока, необходимого для технологического газа, протекающего внутри теплообменника.
На фиг.2а и 2b показана часть УРТ, выполненного в соответствии с настоящим изобретением.
Теплообменник 10 согласно данному изобретению содержит цилиндрическую трубу 11, хотя технически возможно использование различных форм труб и конфигураций теплообменника.
В трубе 11 размещено, по меньшей мере, одно тело 12, которое воспринимает лучистую энергию, излучаемую трубой 11.
Радиационный змеевик поглощает энергию (поступающую от горелок, отходящего газа и огнеупорных стенок) и нагревает текучую среду F.
В первом воплощении изобретения (фиг.2а и 2b) тело 12 представляет собой цилиндр, имеющий с двух концов оживальную форму: один оживал 15 расположен выше по ходу течения потока и обращен навстречу потоку текучей среды и другой оживал 15′ – на противоположном, находящемся ниже по потоку конце тела 12.
Аэродинамический профиль двух оживалов уменьшает перепад давления текучей среды, протекающей через кольцевой зазор, в месте входа в трубу 11 и в месте выхода из трубы 11. Уменьшенный объем радиационного змеевика приводит к снижению времени контактирования газа со стенкой труб, что обеспечивает большую селективность (отношение количества полученных ценных продуктов к общему количеству отработанной текучей среды).
Диаметр и длина трубы 16 рассчитываются так, чтобы уменьшить перепад давления в УРТ и в то же время поддерживать необходимую величину скорости текучей среды F в кольцевом зазоре.
В результате генерируемая в топке тепловая энергия передается текучей среде F более эффективно, поскольку
a) увеличена поверхность теплоотдачи, т.к. и труба 11, и тело 16 эффективно участвуют в процессе теплообмена;
b) увеличивается коэффициент теплопередачи.
Тело 16 центрировано внутри трубы 11 для того, чтобы кольцевой зазор в поперечном сечении имел постоянную ширину для получения равномерно распределенного теплового потока.
Такое центрирование осуществляется с помощью, по меньшей мере, одной распорки 13, предпочтительно с помощью пары распорок, каждая из которых выполнена из трех элементов, размещенных под углом 120° относительно друг друга, что позволяет избежать образование нерегулярных возмущений в потоке текучей среды.
Предпочтительно тело 12 вблизи конца 15′, расположенного ниже по потоку, должно быть снабжено опорными элементами 14.
Кроме того, для увеличения теплопередачи по всей длине радиационного змеевика 5 внутри трубы 11 может быть установлено несколько тел 12.
Несколько тел 12, используемых в соответствии с данным изобретением, могут быть установлены внутри теплообменника-змеевика в уже существующих печах.
Фиг.3 иллюстрирует еще одно, упрощенное, воплощение изобретения.
Вместо размещения внутри трубы 11 тел 12, имеющих форму снаряда, труба может быть заполнена металлическими сферами (или металлическими пустотелыми цилиндрами) или другим излучающим элементом, диаметр которого составляет больше половины величины внутреннего диаметра трубы.
Такие сферы 12 не нужно снабжать какими-либо распорками или иными опорными элементами. Они предназначены для заполнения свободных объемов всех труб 10 и U-образных колен 10′. Нагнетаемая текучая среда F обтекает излучающие элементы, представляющие собой сферические элементы 12′, заполняющие трубы.
Конечно, могут быть использованы любые конфигурация и форма таких заполняющих элементов, которые выполнены из инертного и излучающего материала, способного повысить теплопередачу, при условии, что перепад давления увеличивается незначительно.
Способ повышения теплопередачи в технологических печах и, в частности, в радиационных змеевиках, установленных в печах для проведения крекинга в паровой фазе, заключается в использовании нескольких отдельных УРТ 10, таких как описаны выше, размещенных последовательно.
Хотя в данном описании показаны и раскрыты предпочтительные воплощения изобретения, следует ясно понимать, что данное изобретение не ограничено этими примерами воплощений и может быть осуществлено и практически реализовано иными путями в пределах объема нижеследующих пунктов формулы изобретения.
Формула изобретения
1. Печь для проведения крекинга в паровой фазе, содержащая топку (2), подовые горелки (3) и радиационный змеевик (5), отличающаяся тем, что радиационный змеевик содержит несколько радиационных теплообменников (10), размещенных последовательно внутри топки (2), при этом каждый из радиационных теплообменников (10) содержит трубу (11), нагреваемую с помощью горелок (3), а внутри трубы (11) размещено, по меньшей мере, одно тело (12) таким образом, что текучая среда (F) обтекает тело (12), при этом тело (12) выполнено с возможностью приема лучистой энергии, излучаемой трубой (11), охватывающей тело (12), причем тело (12) имеет форму цилиндра (16), снабженного на двух концах оживалами, при этом один оживал расположен на конце (15), обращенном в сторону набегающего потока, а другой оживал (15′) выполнен на противоположном конце, расположенном ниже по потоку, при этом труба (11) образует с телом (12) кольцевой зазор (18) для протекания через него потока текучей среды (F), а тело (12) центрировано внутри трубы (11) для образования кольцевого зазора (18) постоянной ширины для обеспечения равномерной передачи теплоты текучей среде (F).
2. Печь для проведения крекинга в паровой фазе по п.1, в которой концы тела (12), расположенные ниже и выше по ходу течения потока, имеют форму, которая не возмущает набегающий на тело или покидающий тело поток текучей среды (F), протекающий через кольцевой зазор (18), образованный между трубой и телом.
3. Печь для проведения крекинга в паровой фазе по п.1, в которой центрированное расположение тела обеспечивается с помощью, по меньшей мере, одной распорки (13), предпочтительно с помощью множества распорок, каждая из которых состоит из трех элементов, расположенных под углом 120° относительно друг друга, для того, чтобы избежать нерегулярных возмущений потока текучей среды.
4. Печь для проведения крекинга в паровой фазе по п.1, в которой тело (12) поддерживается с помощью опорного элемента (14) предпочтительно вблизи конца (15′), находящегося ниже по потоку.
5. Способ повышения селективности и уменьшения отложений кокса, уменьшения их нарастания и коксования в печи для проведения парофазного крекинга в установках для производства этилена путем увеличения теплообмена, отличающийся тем, что сокращают время контактирования газа со стенкой труб, причем в печи температура металла находится в интервале от 900 до 1175°С, а температура технологического газа находится в интервале от 600 до 900°С, при этом радиационный змеевик (5) содержит несколько радиационных теплообменников (10), каждый из которых содержит трубу (11), причем труба внутри снабжена, по меньшей мере, одним телом (12), размещенным внутри трубы (11) таким образом, что текучая среда (F) обтекает тело (12), при этом тело (12) выполнено с возможностью приема лучистой энергии от нагретой трубы (11) и передачи ее путем конвекции технологическому газу, протекающему через трубу, а тело (12) имеет форму цилиндра (16), снабженного на двух концах оживалами, причем один оживал (15) расположен на конце, обращенном в сторону набегающего потока, а другой оживал (15′) расположен на противоположном конце ниже по потоку, при этом труба (11) образует с телом (12) кольцевой зазор (18) для протекания через него потока текучей среды (F), а тело (12) центрировано внутри трубы (11) для образования кольцевого зазор (18) постоянной ширины для обеспечения равномерной передачи теплоты текучей среде (F).
6. Способ по п.5, в котором концы тела (12), расположенные ниже и выше по потоку, имеют форму, которая не возмущает набегающий на тело поток или покидающий тело поток текучей среды (F), протекающий через кольцевой зазор (18), образованный между трубой и телом.
7. Способ по п.5, в котором центрированное расположение тела обеспечивается с помощью, по меньшей мере, одной распорки (13), предпочтительно с помощью множества распорок, каждая из которых состоит из трех элементов, расположенных под углом 120° относительно друг друга, для того, чтобы избежать возникновение нерегулярных возмущений потока текучей среды.
8. Способ по п.5, в котором тело (12) поддерживается с помощью опорного элемента (14), предпочтительно вблизи конца (15′), находящегося ниже по потоку.
РИСУНКИ
PC4A – Регистрация договора об уступке патента СССР или патента Российской Федерации на изобретение
Прежний патентообладатель:
ПАЙКОС ЭНДЖИНИРИНГ (ЮК) ЛТД. (GB)
(73) Патентообладатель:
Пайкос Энджиниринг ЛТД. (VG)
Договор № РД0052764 зарегистрирован 20.07.2009
Извещение опубликовано: 27.08.2009 БИ: 24/2009
|