|
|
(21), (22) Заявка: 2004136602/04, 28.09.2004
(24) Дата начала отсчета срока действия патента:
28.09.2004
(30) Конвенционный приоритет:
19.03.2004 JP 2004-80725
(43) Дата публикации заявки: 20.03.2006
(46) Опубликовано: 27.04.2009
(56) Список документов, цитированных в отчете о поиске:
JP 3-240753 А, 28.10.1991. RU 1799613 A1, 07.03.1993.
(85) Дата перевода заявки PCT на национальную фазу:
14.12.2004
(86) Заявка PCT:
JP 2004/014154 20040928
(87) Публикация PCT:
WO 2005/090279 20050929
Адрес для переписки:
129090, Москва, ул. Б.Спасская, 25, стр.3, ООО “Юридическая фирма Городисский и Партнеры”, пат.пов. Е.Е.Назиной
|
(72) Автор(ы):
ЯДА Сухеи (JP), ТАКАСАКИ Кендзи (JP), СУЗУКИ Йосиро (JP), ОГАВА Ясуси (JP)
(73) Патентообладатель(и):
МИЦУБИСИ КЕМИКАЛ КОРПОРЕЙШН (JP)
|
(54) СПОСОБ ПОЛУЧЕНИЯ (МЕТ)АКРИЛОВЫХ СЛОЖНЫХ ЭФИРОВ
(57) Реферат:
Изобретение относится к усовершенствованному способу получения (мет)акрилового эфира, включающему стадию реакции этерификации (мет)акриловой кислоты С1-С4спиртом в присутствии катализатора из сильнокислотной катионообменной смолы в виде неподвижного слоя для получения (мет)акрилового эфира; добавление ингибитора полимеризации в реактор или в дистилляционную колонну для извлечения; стадию извлечения, на которой отделяют непрореагировавшую (мет)акриловую кислоту от реакционного раствора, полученного на стадии реакции, где температура в кубе дистилляционной колонны находится в интервале от 60 до 100°С, и давление вверху дистилляционной колонны находится в интервале от 1,33 до 26,7 кПа; и стадию рециркуляции для возвращения извлеченной таким образом непрореагировавшей (мет)акриловой кислоты на стадию реакции, где твердые вещества, содержащиеся в извлеченной непрореагировавшей (мет)акриловой кислоте, возвращаемой на стадию реакции, отделяют от нее. Промышленно используемый способ получения (мет)акриловых эфиров улучшен таким образом, чтобы продлить срок жизни используемого в нем катализатора из сильнокислотной катионообменной смолы. 4 з.п. ф-лы, 1 ил.
Область техники
Настоящее изобретение относится к способу получения (мет)акриловых сложных эфиров. В частности, в настоящей заявке “(мет)акриловые сложные эфиры” в общем включают акриловые сложные эфиры и метакриловые сложные эфиры.
Уровень техники
В качестве катализаторов для получения (мет)акриловых сложных эфиров путем этерификации (мет)акриловой кислоты спиртом С1-С4 широко применяли катионообменные смолы сильных кислот. Катализаторы для процесса реакции этерификации обычно использовались в виде неподвижного слоя, но могут также быть использованы в виде псевдоожиженного слоя. Далее, поскольку реакция этерификации является равновесной реакцией, при промышленном производстве (мет)акриловых эфиров была использована такая стадия извлечения, при которой непрореагировавшие исходные вещества отделяются от реакционного раствора путем дистилляции и возвращаются в рецикл на стадию реакции этерификации (например, японские патентные публикации (KOKOKU)  6-86405 и 6-86406).
Сущность изобретения
Проблемы, которые должны быть решены в изобретении
Между тем, при промышленном производстве (мет)акриловых эфиров важной задачей является продление жизни используемых в нем катализаторов.
Настоящее изобретение было разработано для решения этих обычных проблем. Цель настоящего изобретения – предложить промышленно выгодный способ получения (мет)акриловых эфиров, который является улучшенным так, чтобы продлить срок жизни используемого в нем катализатора из катионообменной смолы сильной кислоты.
Средства решения проблемы
В результате серьезных исследований авторов настоящего изобретения было найдено, что когда следовые количества твердых веществ, таких как тяжелые полимерные компоненты и мелко измельченная смола, содержащиеся в реакционном растворе, удаляются из него, срок жизни используемого в нем катализатора из катионообменной смолы сильной кислоты может быть неожиданно продлен.
Между тем, считают, что вышеупомянутые тяжелые полимерные компоненты и мелко измельченная смола образуются следующим образом. А именно, несмотря на добавление ингибитора полимеризации к (мет)акриловой кислоте во время переработки следовое количество полимерных тяжелых компонентов необратимо образуется из (мет)акриловых эфиров под действием тепла, генерируемого в дистилляционных колоннах, используемых на стадии реакции и стадии извлечения. Далее, используемый в производстве катализатор из катионообменной смолы сильной кислоты претерпевает окислительное разрушение с течением времени, а также от повторяющихся набухания и усадки, что приводит к появлению в нем трещин и потому к образованию мелко измельченных смол.
Далее, считают, что более короткий срок жизни катализатора из катионообменной смолы сильной кислоты из-за образования твердых веществ вызывается следующим. А именно, активные центры катализатора покрываются полимерными тяжелыми компонентами по мере того, как они образуются, приводя к снижению срока жизни катализатора. В частности, в случае катализаторов неподвижного слоя результаты реакции имеют тенденцию ухудшаться из-за отклоняющегося потока, который приписывают забивке полимерными тяжелыми компонентами и мелко раскрошенными смолами.
Настоящее изобретение было разработано на основе вышеуказанных заключений. Для достижения цели в аспекте настоящего изобретения предложен способ получения (мет)акрилового эфира, включающий
стадию реакции этерификации (мет)акриловой кислоты спиртом С1-С4 в присутствии катализатора из катионообменной смолы сильной кислоты для получения (мет)акрилового эфира;
стадию извлечения, отделяющего непрореагировавшую (мет)акриловую кислоту от реакционного раствора, полученного на стадии реакции; и
стадию рециркуляции, возвращающей извлеченную таким образом непрореагировавшую (мет)акриловую кислоту на стадию реакции, где твердые вещества, содержащиеся в извлеченной непрореагировавшей (мет)акриловой кислоте, возвращаемой на стадию реакции, отделяются от нее.
Эффект изобретения
Согласно настоящему изобретению предложен способ получения (мет)акриловых эфиров, который способен продлить срок жизни используемого в нем катализатора из катионообменной смолы сильной кислоты и улучшить стабильность его непрерывной работы в течение длительного периода времени.
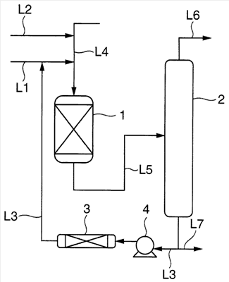
Краткое описание чертежа
Чертеж представляет собой поясняющую схему, показывающую существенную часть предпочтительного осуществления способа получения согласно настоящему изобретению.
Объяснение цифровых обозначений
1 – реактор; 2 – дистилляционная колонна; 3 – устройство для отделения твердых веществ.
Предпочтительное осуществление изобретения
Настоящее изобретение описано подробно ниже.
Спирт, используемый в качестве исходного вещества в способе получения по настоящему изобретению, представляет собой спирт С1-С4. Конкретные примеры спирта могут включать метанол, этанол, изопропанол, н-пропанол, н-бутанол, изо-бутанол, втор-бутанол и трет-бутанол. В добавление, непрореагировавший спирт, выделенный и извлеченный на рассматриваемой ниже стадии извлечения, может быть возвращен в цикл и повторно использован в качестве сырьевого спирта. Конкретные примеры эфиров (мет)акриловой кислоты, получаемых в способе получения по настоящему изобретению, могут включать метил(мет)акрилат, этил(мет)акрилат, изопропил(мет)акрилат и бутил(мет)акрилат. Среди данных (мет)акриловых эфиров особо предпочтительными являются метилакрилат, этилакрилат и метилметакрилат.
Катионообменная смола сильной кислоты, используемая в качестве катализатора, может быть или пористого типа или гелевого типа. Катионообменная смола сильной кислоты обычно имеет степень сшивки от 2 до 16%. Примеры доступной на рынке катионообменной смолы сильной кислоты могут включать катионообменные смолы сильной кислоты пористого типа “PK-208”, “PK-216” и “PK-228”, все производимые Mitsubishi Chemical Corporation, или им подобные.
На чертеже показана главная часть предпочтительного осуществления способа получения согласно настоящему изобретению. Способ получения по настоящему изобретению включает стадию реакции этерификации (мет)акриловой кислоты спиртом С1-С4 в присутствии катализатора из катионообменной смолы сильной кислоты для получения (мет)акрилового эфира; стадию извлечения с отделением непрореагировавшей (мет)акриловой кислоты от реакционного раствора, полученного на стадии реакции; и стадию рециркуляции, возвращающей извлеченную непрореагировавшую (мет)акриловую кислоту на стадию реакции подобно обычным известным способам.
Более конкретно, на стадии реакции в реактор (1), загруженный катализатором из катионообменной смолы сильной кислоты, подают (мет)акриловую кислоту по линии (L1) и спирт по линии (L2). Цифровая пометка (L3) обозначает линию циркуляции для извлеченной (мет)акриловой кислоты, как упомянуто ниже, и цифровая пометка (L4) обозначает линию циркуляции для извлеченного спирта, как упомянуто ниже.
Условия реакции могут быть надлежащим образом выбраны соответственно используемым исходным веществам. Мольное отношение спирта к (мет)акриловой кислоте обычно составляет от 0,5 до 2,0. Температура реакции обычно составляет от 50 до 90°С, и время реакции (время пребывания) обычно составляет от 1 до 5 часов. При реакции этерификации вода является побочным продуктом, образующимся вместе с целевыми (мет)акриловыми эфирами. Поэтому реакционный раствор представляет собой смесь данных продуктов и непрореагировавших (мет)акриловой кислоты и спирта. В то же время, стадию реакции, как она показана на фиг. 1, проводят в неподвижном слое непрерывного типа. Однако стадия реакции может также проводиться в псевдоожиженном слое или периодически.
Более конкретно, на стадии извлечения реакционный раствор выводят из реактора (1) по линии (L5) и подают на питание дистилляционной колонны (2) для его переработки. В большинстве случаев, когда в процессе производства используют спирт С1-С4, образовавшаяся в процессе азеотропная смесь может быть любой из смесей вода/спирт, вода/(мет)акриловый эфир, спирт/(мет)акриловый эфир и вода/спирт/(мет)акриловый эфир. По этой причине (мет)акриловая кислота может часто отделяться от других трех компонентов путем азеотропии данных смесей или отличия их температуры кипения от температуры кипения (мет)акрилового эфира.
Примеры дистилляционных колонн могут включать колонны с перфорированными тарелками, колонны с колпачковыми тарелками, насадочные колонны и комбинации таких колонн (например, комбинацию колонны с перфорированными тарелками и насадочной колонны). Любая из данных дистилляционных колонн может быть использована безотносительно к наличию переточных перегородок или сливных стаканов.
Примеры тарелок могут включать тарелки, имеющие сливные стаканы, такие как колпачковые тарелки, тарелки с перфорированной пластиной, барботажные тарелки, тарелки суперфлюкс и тарелки максифлюкс, и тарелки, не имеющие сливных стаканов, такие как тарелки двунаправленного потока.
Примеры насадочных материалов, используемых в дистилляционной колонне, могут включать обычные насадочные материалы, имеющие различные формы, такие как сплошная цилиндрическая форма, ячеистая цилиндрическая форма, форма седла, сферическая форма, кубическая форма и пирамидальная форма, а также доступные промышленно регулярные или иррегулярные насадочные материалы, имеющие специфические формы, которые были в последнее время отмечены как высокоэффективные насадочные материалы.
Примеры промышленно доступных регулярных насадочных материалов могут включать регулярные насадочные материалы типа проволочной сетки, такие как “SULZER PACKING”, выпускаемые Sulzer Brothers Limited, “SUMITOMO SULZER PACKING”, выпускаемые Sumitomo Heavy Industries Ltd., “TECHNO PACK”, выпускаемые Mitsui & Co., Ltd., регулярные насадочные материалы листового типа, такие как “MELAPACK”, выпускаемые Sumitomo Heavy Industries Ltd., “MC PACK”, выпускаемые Mitsubishi Chemical Engineering Corporation”, и регулярные насадочные материалы решетчатого типа, такие как “FLEXI-GRID”, выпускаемые Cork Co. Ltd., а также “JEMPACK”, выпускаемые Grich Inc., “MONTZPACK”, выпускаемые Montz Inc., “GOODROLL PACKING”, выпускаемые Tokyo Special Wire Netting Co. Ltd., “HONEYCOMB PACK”, выпускаемые NGK Insulators, Ltd., и “IMPULSE PACKING”, выпускаемые Nagaoka Corporation.
Примеры промышленно доступных иррегулярных насадочных материалов могут включать кольца Рашига, кольца Паля, оба выпускаемые BASF AG, “CASCADE MINI-RING”, выпускаемые Mass-Transfer Inc., IMPT и “INTERLOCKS SADDLES”, оба выпускаемые Norton Inc., “TELLERET”, выпускаемые Nittetu Chemical Engineering Ltd., и “FLEXI-RING”, выпускаемые JGC Corporations.
Данные насадочные материалы могут быть использованы в сочетании любых двух или нескольких из них, и могут быть также использованы в сочетании с обычно используемыми тарелками.
Рабочие условия вышеописанной дистилляционной колонны могут варьироваться в зависимости от составов исходного сырья, которое должно подвергаться дистилляции, степени извлечения и т.д. Однако, поскольку (мет)акриловый эфир является легко полимеризующимся соединением, температуру и давление дистилляции предпочтительно устанавливают настолько низкими, насколько это возможно. Более конкретно, температура в кубе дистилляционной колонны обычно находится в интервале от 60 до 100°С, и давление вверху дистилляционной колонны обычно находится в интервале от 1,33 до 26,7 кПа.
В то же время дистиллятные компоненты, извлеченные с верха дистилляционной колонны, такие как (мет)акриловые эфиры, вода и непрореагировавший спирт, выводят по линии (L6) и подают на питание другой дистилляционной колонны для извлечения из нее непрореагировавшего спирта.
В то же время во время реакции и дистилляции для того, чтобы подавить потерю производительности из-за нежелательной полимеризации (мет)акриловой кислоты или ее соответствующих эфиров, в реактор или в дистилляционные колонны может быть добавлен ингибитор полимеризации или предотвращающий полимеризацию агент, такой как кислородсодержащие газы.
Средства отделения непрореагировавшей (мет)акриловой кислоты от реакционного раствора не ограничиваются средствами дистилляции, и могут быть использованы также экстракционные средства, включающие различные экстрагенты, такие как щелочи, а также сочетание дистилляционных средств с экстракционными средствами.
Настоящее изобретение отличается тем, что твердые вещества, содержащиеся в непрореагировавшей (мет)акриловой кислоте, которая должна быть подана в рецикл на стадию реакции, отделяются от нее. В осуществлении, показанном на чертеже, предусмотрено устройство (3) по ходу циркуляционной линии (L3) для извлеченной (мет)акриловой кислоты. Между тем, цифровое обозначение (4) означает насос, предусмотренный на циркуляционной линии (L3) для рециркуляции, и цифровое обозначение (7) означает линию вывода для вывода кубовой жидкости из дистилляционной колонны (2).
Устройство для отделения твердых веществ (3) не ограничено конкретным типом, поскольку следовое количество твердых веществ, содержащихся в непрореагировавшей (мет)акриловой кислоте, которая должна быть направлена в рецикл, может быть отделено от нее. Учитывая работоспособность и требуемые капиталовложения, в качестве средств разделения твердых веществ могут быть использованы фильтрующие устройства, такие как сетчатые фильтры, фильтры и центробежные фильтры. В частности, из данных фильтрующих устройств наиболее предпочтительными являются фильтры патронного типа из-за способности к непрерывной работе, низких капиталовложений и хороших рабочих свойств. Диаметр частиц, проникающих через фильтры, предпочтительно находится в интервале от 1 до 10 мкм, поскольку почти все диаметры твердых частиц, которые должны быть отделены, находятся в определенном выше интервале. Что касается материала фильтров, то могут быть использованы стекловолокна, сложные полиэфиры, тефлон (зарегистрированный товарный знак), полипропилен, полиамиды или подобные материалы. Из данных материалов предпочтительным является полипропилен из соображений высокой прочности, хорошей кислотостойкости и низкой цены.
Твердые вещества, которые должны быть отделены, представляют собой полимерные тяжелые компоненты или мелко раскрошенные смолы, как описано выше. Примеры полимерных тяжелых компонентов могут включать поли(мет)акриловую кислоту, поли(мет)акриловые эфиры и высокомолекулярные эфиры типа аддуктов Михаэля. Кроме того, твердые вещества включают шлам, такой как железная ржавчина. Температура, используемая при разделении твердых веществ, обычно составляет от 50 до 90°С из соображения поддержания твердого состояния вышеуказанных полимерных тяжелых компонентов.
ПРИМЕРЫ
Настоящее изобретение описано более подробно ниже на примерах, но примеры являются только иллюстративными и не предназначены для того, чтобы ограничить объем настоящего изобретения.
Пример 1
Согласно способу, показанному на чертеже, непрерывно получали метилакрилат. В качестве катализатора в процессе получения использовали катионообменную смолу сильной кислоты “РК-216”, произведенную Mitsubishi Chemical Corporation, в форме неподвижного слоя. Кроме того, в качестве устройства для отделения твердых веществ (3) использовали патронный фильтр, способный пропускать через себя частицы, имеющие диаметр 3 мкм или меньше.
В реактор, загруженный катализатором, подают акриловую кислоту, метанол, извлеченную акриловую кислоту и извлеченный метанол по линии (L1), линии (L2), циркуляционной линии (L3) и циркуляционной линии (L4), соответственно. Скорости потоков свежего сырья и извлеченных исходных материалов регулируют так, чтобы мольное отношение акриловой кислоты к метанольному питанию составляло около 1,25:1, и температуру реакции поддерживают постоянной около 75°C.
Было подтверждено, что реакционная смесь, полученная на выходе из реактора этерификации, состоит из 12,2 мас.% воды, 4,1 мас.% метанола, 38,4 мас.% метилакрилата, 23,3 мас.% акриловой кислоты и 22,0 мас.% других компонентов, и средний расход ее составлял 7,5 т/ч и поэтому поддерживался практически неизменным.
С другой стороны, реакционный раствор выводят из реактора (1) и затем перерабатывают в дистилляционной колонне (2). В это время метанольный раствор, содержащий 5 мас.% гидрохинона (ингибитор полимеризации), вводили в дистилляционную колонну (2) со скоростью подачи 35,4 кг/ч. Давление верха дистилляционной колонны составляло 26 кПа, флегмовое число было 1, и температура куба составляла в среднем 80°С. Далее, дистиллятные компоненты, полученные с верха дистилляционной колонны, состояли из 16 мас.% воды, 8,3 мас.% метанола, 70,2 мас.% метилакрилата и 5,2 мас.% других компонентов, и их средний расход составлял 4,1 т/ч и поэтому поддерживался практически неизменным. В добавление, кубовые компоненты, полученные из куба дистилляционной колонны, состояли из 7,5 мас.% воды, 0,1 мас.% метилакрилата, 50,5 мас.% акриловой кислоты и 41,8 мас.% других компонентов, и их средний расход составлял 3,4 т/ч и поэтому поддерживался практически неизменным.
Вышеуказанные кубовые компоненты подавали в рецикл по циркуляционной линии (L3) в вышеуказанный реактор (1). В это время температуру средства для отделения твердых веществ (3) (патронный фильтр) поддерживали постоянной около 80°С. В то же время, используя другую дистилляционную колонну, непрореагировавший метанол отделяли и извлекали от вышеуказанных верхних компонентов и затем подавали в рецикл в реактор (1).
Вышеописанную непрерывную операцию осуществляли в течение 2 лет. В результате было подтверждено, что после прохождения 2 лет степень конверсии акриловой кислоты на выходе из реактора (1) понизилась в среднем лишь менее чем на 1% по сравнению с началом операции.
Сравнительный пример 1
Была проведена такая же процедура, как описана в примере 1, за исключением того, что не был предусмотрен фильтр при проведении непрерывного процесса. Было установлено, что по прохождении 1,1 месяца степень конверсии акриловой кислоты снизилась на 3,7% по сравнению с началом операции. Таким образом, поскольку работа системы очистки достигла своего предела, используемый в процессе катализатор был заменен новым во время периодического ремонта.
Формула изобретения
1. Способ получения (мет)акрилового эфира, включающий стадию реакции этерификации (мет)акриловой кислоты С1-С4спиртом в присутствии катализатора из сильнокислотной катионообменной смолы в виде неподвижного слоя для получения (мет)акрилового эфира; добавление ингибитора полимеризации в реактор или в дистилляционную колонну для извлечения; стадию извлечения, на которой отделяют непрореагировавшую (мет)акриловую кислоту от реакционного раствора, полученного на стадии реакции, где температура в кубе дистилляционной колонны находится в интервале от 60 до 100°С, и давление вверху дистилляционной колонны находится в интервале от 1,33 до 26,7 кПа; и стадию рециркуляции для возвращения извлеченной таким образом непрореагировавшей (мет)акриловой кислоты на стадию реакции, где твердые вещества, содержащиеся в извлеченной непрореагировавшей (мет)акриловой кислоте, возвращаемой на стадию реакции, отделяют от нее.
2. Способ по п.1, в котором средством для отделения твердых веществ является фильтр.
3. Способ по п.1 или 2, в котором твердые вещества отделяют от извлеченной непрореагировавшей (мет)акриловой кислоты при температуре от 50 до 90°С.
4. Способ по п.1 или 2, в котором (мет)акриловый эфир представляет собой метилакрилат, этилакрилат или метилметакрилат.
5. Способ по п.3, в котором (мет)акриловый эфир представляет собой метилакрилат, этилакрилат или метилметакрилат.
РИСУНКИ
|
|